| Périodicité d'entretien | Procédure d'entretien |
|---|---|
| À chaque utilisation ou une fois par jour |
|
Ce véhicule utilitaire est principalement destiné à un usage hors route pour le transport de personnes et de matériaux. L'utilisation de ce produit à d'autres fins que celle prévue peut être dangereuse pour vous-même et toute personne à proximité.
Lisez attentivement cette notice pour apprendre comment utiliser et entretenir correctement votre produit, et éviter ainsi de l'endommager ou de vous blesser. Vous êtes responsable de l'utilisation sûre et correcte du produit.
Rendez-vous sur www.Toro.com pour tout document de formation à la sécurité et à l'utilisation des produits, pour tout renseignement concernant un produit ou un accessoire, pour obtenir l'adresse des dépositaires ou pour enregistrer votre produit.
Pour obtenir des prestations de service, des pièces Toro d'origine ou des renseignements complémentaires, munissez-vous des numéros de modèle et de série du produit et contactez un dépositaire-réparateur ou le service client Toro agréé. La Figure 1 indique l'emplacement des numéros de modèle et de série du produit. Inscrivez les numéros dans l'espace réservé à cet effet.
Important: Avec votre appareil mobile, vous pouvez scanner le code QR sur l'autocollant du numéro de série (le cas échéant) pour accéder à l'information sur la garantie, les pièces détachées et autres renseignements concernant le produit.

Ce manuel utilise deux termes pour faire passer des renseignements essentiels. Important, pour attirer l'attention sur une information d'ordre mécanique spécifique, et Remarque, pour souligner une information d'ordre général méritant une attention particulière.
Le symbole de sécurité (Figure 2) apparaît à la fois dans ce manuel et sur la machine pour identifier d'importants messages de sécurité dont il est nécessaire de tenir compte pour éviter les accidents. Ce symbole apparaît avec la mention Danger, Attention ou Prudence.
Danger signale un danger immédiat qui, s'il n'est pas évité, entraînera obligatoirement des blessures graves ou mortelles.
Attention signale un danger potentiel qui, s'il n'est pas évité, peut entraîner des blessures graves ou mortelles.
Prudence signale un danger potentiel qui, s'il n'est pas évité, peut entraîner des blessures légères ou modérées.

Ce produit est conforme à toutes les directives européennes pertinentes. Pour plus de renseignements, reportez-vous à la Déclaration de conformité spécifique du produit fournie séparément.
CALIFORNIE
Proposition 65 - Avertissement
Le cordon d'alimentation de cette machine contient du plomb, une substance chimique considérée par l'état de Californie comme susceptible de provoquer des malformations congénitales et autres troubles de la reproduction. Lavez-vous les mains après avoir manipulé la batterie.
Les bornes de la batterie et accessoires connexes contiennent du plomb et des composés de plomb. L'état de Californie considère ces substances chimiques comme susceptibles de provoquer des cancers et des troubles de la reproduction. Lavez-vous les mains après avoir manipulé la batterie.
Cette machine est conçue en conformité avec les exigences de la norme SAE J2258 (novembre 2016).
Ce produit peut vous blesser. Respectez toujours toutes les consignes de sécurité pour éviter des blessures graves.
Vous devez lire et comprendre le contenu de ce Manuel de l'utilisateur avant de démarrer la machine. Assurez-vous que tous les utilisateurs de ce produit en connaissent le maniement et comprennent les mises en garde.
Accordez toute votre attention à l'utilisation de la machine. Ne vous livrez à aucune activité risquant de vous distraire, au risque de causer des dommages corporels ou matériels.
N'approchez pas les mains ou les pieds des composants mobiles de la machine.
N'utilisez pas la machine si tous les capots et autres dispositifs de protection appropriés ne sont pas en place et en bon état de marche.
N'admettez personne, notamment les enfants, dans le périmètre de travail. N'autorisez jamais un enfant à utiliser la machine.
Arrêtez la machine, coupez le moteur et enlevez la clé avant d'effectuer tout entretien.
L'usage ou l'entretien incorrect de cette machine
peut occasionner des accidents. Pour réduire les risques d'accidents
et de blessures, respectez les consignes de sécurité
qui suivent. Tenez toujours compte des mises en garde signalées
par le symbole de sécurité (
) et la mention Prudence,
Attention ou Danger. Le non respect de ces instructions peut entraîner
des blessures graves voire mortelles.
![]() |
Des autocollants de sécurité et des instructions bien visibles par l'opérateur sont placés près de tous les endroits potentiellement dangereux. Remplacez tout autocollant endommagé ou manquant. |











Note: Les côtés gauche et droit de la machine sont déterminés d'après la position d'utilisation normale.
Pièces nécessaires pour cette opération:
| Volant | 1 |
| Couvre-moyeu du volant | 1 |
| Rondelle (½ po) | 1 |
| Pare-poussière | 1 |
Si le couvre-moyeu est monté, déposez-le du volant (Figure 3).
Retirez le contre-écrou (½ po) de l'arbre de direction (Figure 3).
Glissez le volant, le couvre-moyeu et la rondelle (½ po) sur l'arbre de direction (Figure 3).
Note: Placez les roues en position ligne droite, puis tournez le volant pour placer la petite branche à la verticale.
Fixez le volant sur l'arbre à l'aide d'un contre-écrou (½ po) serré à un couple de 18 à 30 N·m (13 à 22 pi-lb).
Reposez le couvre-moyeu sur le volant (Figure 3).

Contrôlez le niveau d'eau dans les batteries avant d'utiliser la machine; voir Contrôle du niveau d'eau des batteries.
Vérifiez que les batteries sont chargées; voir Charge des batteries.
Contrôlez le niveau de liquide de frein avant d'utiliser la machine; voir Contrôle du niveau de liquide de frein.
Contrôlez la pression des pneus; voir Contrôle de la pression des pneus.
Pour assurer l'efficacité optimale du système de freinage, rodez les freins avant d'utiliser la machine.
Amenez la machine à la vitesse maximum, appuyez rapidement sur la pédale de frein pour arrêter la machine sans bloquer les roues.
Répétez 10 fois cette procédure, avec 1 minute d'intervalle entre chaque arrêt pour éviter de faire surchauffer les freins.
Important: Cette procédure est particulièrement efficace si la machine transporte une charge de 227 kg (500 lb).
Pièces nécessaires pour cette opération:
| Manuel de l'utilisateur | 1 |
| Manuel du propriétaire du moteur | 1 |
| Fiche d'enregistrement | 1 |
| Fiche de contrôle avant livraison | 1 |
| Certificat de qualité | 1 |
| Clé | 2 |
Lisez le Manuel de l'utilisateur et le manuel du propriétaire du moteur.
Remplissez la fiche d'enregistrement.
Remplissez la Fiche de contrôle avant livraison.
Lisez le Certificat de qualité.


Familiarisez-vous avec toutes les commandes avant de mettre le moteur en marche et d'utiliser la machine.

Utilisez la pédale d'accélérateur (Figure 6) pour varier la vitesse de déplacement de la machine. Appuyez sur la pédale d'accélérateur pour démarrer la machine. Enfoncez davantage la pédale pour augmenter la vitesse de déplacement. Relâchez la pédale pour ralentir la machine et pour l'arrêter.
La vitesse de pointe en marche avant en mode performance est 26 km/h (16 mi/h) comme montré à la Figure 9.
La vitesse de pointe en marche avant en mode économie est 19 km/h (12 mi/h), comme montré à la Figure 9.
Elle permet d'arrêter la machine ou de réduire la vitesse de déplacement (Figure 6).
Un accident est possible si vous utilisez la machine alors que les freins sont usés ou mal réglés.
Si la pédale en bout de course se trouve à moins de 25 mm (1 po) du plancher, réglez ou réparez les freins.
Le levier du frein de stationnement se trouve sur le panneau de commande (Figure 6).
Chaque fois que vous arrêtez la machine, serrez le frein de stationnement pour éviter tout déplacement accidentel de la machine. Serrez toujours le frein de stationnement lorsque vous garez la machine sur une pente raide.
Pour serrer le frein de stationnement, tirez le levier vers vous (Figure 7).

Pour desserrer le frein de stationnement, appuyez sur le bouton au bout du levier, tirez le levier vers vous pour le libérer, puis poussez-le en avant (Figure 8).

Le sélecteur de direction est situé à gauche du levier du frein de stationnement. Le sélecteur de direction a 3 positions de réglage : MARCHE AVANT, MARCHE ARRIèRE et POINT MORT (Figure 6).
Note: La machine fonctionne à n'importe laquelle des 3 positions, mais elle ne se déplace qu'aux positions de MARCHE AVANT et de MARCHE ARRIèRE.
Important: Arrêtez toujours la machine avant de changer la direction de déplacement.
L'interrupteur de l'avertisseur sonore est situé sur le panneau de commande (Figure 6). Appuyez dessus pour actionner l'avertisseur sonore.
L'interrupteur (Figure 6) permet d'allumer les phares. Appuyez sur le haut de l'interrupteur pour allumer les phares. Appuyez sur le bas de l'interrupteur pour éteindre les phares.
L'indicateur de décharge des batteries est situé sur la gauche de la colonne de direction (Figure 6). L'indicateur de décharge indique la charge restante des batteries. Lorsque les batteries sont chargées au maximum, 10 barres apparaissent de la position 0 à la position 1. À mesure que vous utilisez la charge, les barres de l'indicateur disparaissent, en commençant sur la droite de l'indicateur. Pour plus de précisions sur l'indicateur de décharge des batteries, voir Comprendre et utiliser le système de batteries.
Le compteur horaire est situé à droite de l'interrupteur d'éclairage (Figure 6). Il indique le nombre total d'heures de fonctionnement de la machine. Le compteur horaire se déclenche chaque fois que vous tournez la clé à la position MARCHE ou que la machine est en marche.
Note: Lorsque la machine est en marche, le compteur horaire clignote continuellement en enregistrant les heures d'utilisation.
Le port USB est situé à gauche du levier du frein de stationnement (Figure 6). Il permet d'alimenter des appareils mobiles.
Important: Lorsque vous n'utilisez pas le port USB, insérez l'obturateur en caoutchouc pour le protéger d'éventuels dommages.
Le commutateur à clé (Figure 6) sert à démarrer et arrêter la machine.
Le commutateur à clé a 2 positions : MARCHE et ARRêT. Tournez la clé à la position MARCHE pour utiliser la machine. Pour arrêter la machine, tournez la clé dans le sens antihoraire à la position ARRêT. Enlevez la clé du commutateur chaque fois que vous quittez la machine.
Le sélecteur de mode superviseur est situé sous l'ensemble sièges et comprend 2 positions : PERFORMANCE et ÉCONOMIE. Tournez le sélecteur dans le sens horaire à la position ÉCONOMIE pour limiter la vitesse maximale de la machine à 19 km/h (12 mi/h). Tournez le sélecteur dans le sens antihoraire à la position PERFORMANCE pour rétablir la vitesse maximale de la machine à 26 km/h (16 mi/h), comme montré à la Figure 9.

Le voyant d'état est situé à droite du levier du frein de stationnement sur le panneau de commande (Figure 6).
Lorsque vous démarrez la machine, le voyant d'état vert s'allume en continu ou clignote.
Si le voyant est allumé en continu, cela indique que la machine est prête à l'utilisation normale. Si le voyant clignote, cela signifie qu'une anomalie doit être corrigée avant de reprendre l'utilisation normale de la machine.
Si le voyant d'état clignote 2 fois, cela signifie que le frein de stationnement est serré alors que le sélecteur de direction est en position MARCHE AVANT ou MARCHE ARRIèRE. Desserrez le frein de stationnement pour éteindre le voyant d'état.
Voir si le voyant d'état clignote plus de 2 fois.
Les poignées de maintien des passagers sont situées sur le côté extérieur de chaque siège (Figure 10).

Note: Les spécifications et la conception peuvent faire l'objet de modifications sans préavis.
| Poids de base | 633 kg (1 395 lb) à sec |
| Capacité nominale (sur surface plane et horizontale) | 544 kg (1 200 lb) au total, comprend 91 kg (200 lb) pour l'utilisateur et 91 kg (200 lb) pour le passager, le chargement, les accessoires et les outils |
| Poids nominal brut du véhicule (PNVB) – sur surface plane et horizontale | 1 177 kg (2 595 lb) au total, tous les poids susmentionnés compris |
| Capacité de charge maximale (sur surface plane et horizontale) | 363 kg (800 lb) au total, accessoires montés à l'arrière compris |
| Capacité maximale du support d'accessoire arrière du plateau de chargement | 45 kg (100 lb) total |
| Capacité de remorquage | Poids à la flèche : 91 kg (200 lb) |
| Poids maximum de la remorque : 680 kg (1 500 lb) | |
| Largeur hors tout | 119 cm (47 po) |
| Longueur hors tout | 302 cm (119 po) |
| Hauteur hors tout | 127,5 cm (50-3/16 po) |
| Garde au sol | 21,6 cm (8½ po) à l'avant, à vide et sans utilisateur |
| 14 cm (5½ po) à l'arrière, à vide et sans utilisateur | |
| Empattement | 220 cm (86⅝ po) |
| Voie (entraxe) | Avant : 119 cm (47 po) |
| Arrière : 119 cm (47 po) | |
| Longueur du plateau de chargement | Intérieur : 102 cm (40 po) |
| Extérieur : 114,3 cm (45 po) | |
| Largeur du plateau de chargement | Intérieur : 98 cm (38½ po) |
| Extérieur des ailes moulées : 107,3 cm (42-5/16 po) | |
| Hauteur du plateau de chargement | 28 cm (11 po) à l'intérieur |
Les spécifications mentionnées s'appliquent aux batteries Trojan T-125.
L'installation de batteries non standard peut réduire la capacité du plateau de chargement.
Une sélection d'outils et accessoires agréés par Toro est disponible pour augmenter et améliorer les capacités de la machine. Pour obtenir la liste de tous les accessoires et outils agréés, contactez votre dépositaire-réparateur ou votre distributeur Toro agréé, ou rendez-vous sur www.Toro.com.
Pour garantir un rendement optimal et conserver la certification de sécurité de la machine, utilisez uniquement des pièces de rechange et accessoires Toro d'origine. Les pièces de rechange et accessoires d'autres constructeurs peuvent être dangereux et leur utilisation risque d'annuler la garantie de la machine.
Ne confiez jamais l'utilisation ou l'entretien de la machine à des enfants ou des personnes qui n'ont pas les compétences nécessaires ou ne sont physiquement aptes. La réglementation locale peut imposer un âge minimum pour les utilisateurs. Le propriétaire de la machine doit assurer la formation de tous les utilisateurs et mécaniciens.
Familiarisez-vous avec le maniement correct du matériel, les commandes et les symboles de sécurité.
Avant de quitter la position d'utilisation, coupez le moteur de la machine, enlevez la clé et attendez l'arrêt complet de tout mouvement. Laissez refroidir la machine avant de la régler, d'en faire l'entretien, de la nettoyer ou de la remiser.
Apprenez à arrêter la machine et à couper le moteur rapidement.
Assurez-vous que le nombre d'occupants (vous et votre ou vos passagers) n'est pas supérieur au nombre de poignées de maintien prévues sur la machine.
Assurez-vous que tous les dispositifs de protection et tous les autocollants sont présents. Réparez ou remplacez tous les dispositifs de sécurité et remplacez tous les autocollants illisibles ou manquants. N'utilisez pas la machine s'ils sont absents et ne fonctionnent pas correctement.
| Périodicité d'entretien | Procédure d'entretien |
|---|---|
| À chaque utilisation ou une fois par jour |
|
Avant de démarrer la machine chaque jour, effectuez les procédures décrites à la section .
| Périodicité d'entretien | Procédure d'entretien |
|---|---|
| À chaque utilisation ou une fois par jour |
|
Spécifications de gonflage des pneus avant et arrière : 1,65 à 2,07 bar (24 à 30 psi)
Important: Ne dépassez pas la pression de gonflage maximale indiquée sur le flanc des pneus.
Note: La pression de gonflage des pneus est déterminée par la charge que vous avez l'intention de transporter.
Contrôlez la pression des pneus.
Réduisez la pression des pneus pour transporter des charges légères, pour réduire le compactage du sol, pour un plus grand confort de roulement et pour minimiser les traces laissées sur le sol.
Augmentez la pression de gonflage pour transporter de lourdes charges à des vitesses plus élevées.
Si nécessaire, gonflez ou dégonflez les pneus pour obtenir la pression correcte.

La machine contient 8 batteries au plomb à décharge profonde qui assurent l'alimentation du moteur et des accessoires. Une batterie à décharge profonde est différente d'une batterie automobile. Une batterie automobile est conçue pour fournir une pointe de courant pour démarrer le moteur et un courant modéré pour alimenter les éclairages et les accessoires quand le moteur est coupé ou tourne au ralenti. L'alternateur la charge alors continuellement pendant que le véhicule roule. Ainsi, la charge d'une batterie automobile descend rarement en dessous de 90 % du niveau maximum.
Une batterie à décharge profonde constitue une source d'alimentation principale qui fournit un courant régulier. Les batteries à décharge profonde se déchargent généralement à 20 ou 30 % du niveau de charge maximum. Une décharge aussi importante est dite décharge profonde.
Important: Les cycles répétés de décharge profonde réduisent la vie des batteries.
Les batteries au plomb produisent de l'électricité par la réaction chimique qui se produit entre les plaques plombées et l'acide sulfurique. La mise en charge d'une batterie inverse la réaction chimique, ce qui lui permet de produire à nouveau de l'électricité.
Les batteries sont des composants périssables dont la durée de vie est limitée (Figure 12). Une batterie neuve doit passer par une période de rodage pour établir une production d'électricité efficace. Cette période de rodage nécessite généralement 100 à 150 cycles de décharge/charge.

Après la période de rodage, la batterie conserve une haute capacité pendant de nombreux cycles. Le nombre de cycles effectués par une batterie dépend des facteurs suivants :
Entretien des batteries – un entretien inadéquat réduit considérablement la durée de vie des batteries.
Degré de décharge entre cycles de charge – plus la décharge des batteries est importante et régulière entre les charges, plus la durée de vie des batteries est réduite.
Fréquence de charge – chargez les batteries au maximum chaque fois que possible.
Important: Une décharge complète endommage les batteries et réduit leur durée de vie.
Niveaux d'eau insuffisants – si les plaques plombées sont exposées, les batteries peuvent être définitivement endommagées. Procédez comme suit pour maintenir l'électrolyte au niveau correct :
Après avoir chargé les batteries au maximum, remplissez-les d'eau distillée ou déminéralisée; voir Contrôle du niveau d'eau des batteries et Ajout d'eau distillée ou déminéralisée dans les batteries.
Important: Chargez les batteries au maximum avant d'y ajouter de l'eau. L'électrolyte augmente de volume pendant la charge; pour cette raison, si vous remplissez une batterie faible avant de la charger au maximum, l'électrolyte peut déborder et fuir par l'évent.
Lorsque les batteries arrivent en fin de vie, leur capacité électrique baisse progressivement.
Lorsque les batteries sont chargées au maximum, la dixième barre (à l'extrême droite) s'allume sur l'indicateur de charge des batteries (Figure 13).

Pendant l'utilisation de la machine, les barres disparaissent à mesure que la capacité électrique des batteries est consommée.
Lorsqu'il ne reste que la deuxième barre à partir de la gauche sur l'indicateur de décharge, il est temps de recharger les batteries (Figure 14).

Si vous continuez d'utiliser la machine alors qu'il ne reste que 2 barres, les barres 1 et 2 clignotent alternativement.
Important: Lorsqu'il ne reste que la deuxième barre à partir de la gauche sur l'indicateur de décharge, la machine peut passer en mode vitesse réduite; ce mode permet de protéger les batteries, mais une utilisation prolongée dans ce mode peut endommager les batteries et/ou la machine. Pour prévenir ce problème, évitez de décharger les batteries jusqu'à la deuxième barre à partir de la gauche. Rechargez les batteries immédiatement.Si les batteries de déchargent complètement, la machine s'arrête et toutes ses fonctions sont désactivées. N'attendez pas que les batteries soient complètement déchargées.
Important: Pour maximiser la vie des batteries, chargez-les toujours avant que la charge n'atteigne la deuxième barre à partir de la gauche sur l'écran. La vie des batteries sera réduite si elles se déchargent régulièrement en dessous de la deuxième barre à partir de la gauche.
| Périodicité d'entretien | Procédure d'entretien |
|---|---|
| Après les 100 premières heures de fonctionnement |
|
Rodez les machines neuves conformément aux directives pour assurer des performances correctes et prolonger la vie de la machine.
Contrôlez régulièrement le niveau de liquide de frein et et le niveau d'eau des batteries.
Évitez de freiner brutalement pendant les premières heures de rodage d'une machine neuve. Les garnitures de frein ne deviennent véritablement performantes qu'après plusieurs heures de rodage; voir Rodage des freins.
Voir les contrôles spéciaux à effectuer pendant le rodage à la section .
Contrôlez la suspension avant et réglez sa position si nécessaire; voir Réglage de la géométrie du train avant.
Le propriétaire/l'utilisateur est responsable des accidents pouvant entraîner des dommages corporels et matériels et peut les prévenir.
Les passagers ne doivent s'asseoir qu'aux emplacements désignés. Ne transportez pas de passagers sur le plateau de chargement. Tenez tout le monde et tous les animaux à l'écart de la machine en marche.
Portez des vêtements appropriés, y compris une protection oculaire, un pantalon et des chaussures solides à semelle antidérapante. Si vos cheveux sont longs, attachez-les et ne portez pas de vêtements amples ni de bijoux pendants.
Accordez toute votre attention à l'utilisation de la machine. Ne vous livrez à aucune activité risquant de vous distraire, au risque de causer des dommages corporels ou matériels.
N'utilisez pas la machine si vous êtes malade ou fatigué(e), ni sous l'emprise de l'alcool, de drogues ou de médicaments.
Ne dépassez pas le poids brut (PBV) maximum de la machine.
Si le plateau transporte une lourde charge, redoublez de prudence en roulant, lorsque vous freinez ou changez de direction.
Le transport de charges surdimensionnées sur le plateau réduit la stabilité de la machine. Ne dépassez pas la capacité de transport du plateau de chargement.
Le transport d'une charge qui ne peut pas être arrimée sur le plateau peut affecter la direction, le freinage et la stabilité de la machine. Lorsque vous transportez une charge qui ne peut pas être arrimée sur la machine, changez de direction et freinez avec prudence.
Ralentissez et allégez la charge transportée sur les terrains accidenté et inégaux, ainsi que près de bordures, trous et autres accidents de terrain. Le chargement peut se déplacer et rendre la machine instable.
Avant de mettre la machine en marche, assurez-vous que la transmission est au point mort, que le frein de stationnement est serré et que vous êtes au poste d'utilisation.
Vous et vos passagers devez rester assis pendant le déplacement de la machine. Gardez les mains sur le volant; les passagers doivent se tenir aux poignées de maintien prévues à cet effet. Gardez toujours les bras et les jambes à l'intérieur de la machine.
Utilisez la machine uniquement quand la visibilité est bonne. Méfiez-vous des trous, ornières, bosses, rochers ou autres obstacles cachés. Les irrégularités du terrain peuvent provoquer le retournement de la machine. L'herbe haute peut masquer les accidents du terrain. Faites preuve de prudence à l'approche de tournants sans visibilité, de buissons, d'arbres ou d'autres objets susceptibles masquer la vue.
Ne conduisez pas la machine près de fortes dénivellations, de fossés ou de berges. La machine pourrait se retourner brusquement si une roue passe par-dessus une dénivellation quelconque et se retrouve dans le vide, ou si un bord s'effondre.
Méfiez-vous des obstacles en surplomb, tels que branches d'arbres, jambages de portes, passerelles, etc., et évitez-les.
Avant de faire marche arrière, vérifiez que la voie est libre juste derrière la machine et sur sa trajectoire.
Lorsque vous utilisez la machine sur la voie publique, respectez le code de la route et utilisez les accessoires supplémentaires éventuellement exigés par la loi, tels éclairages, clignotants, panneau « véhicule lent » (SMV) et autres.
Si la machine vibre de façon anormale, arrêtez-la immédiatement, coupez le moteur, attendez l'arrêt complet de tout mouvement et recherchez d'éventuels dommages. Réparez tout dommage de la machine avant de recommencer à travailler.
L'arrêt de la machine peut demander plus de temps sur les surfaces mouillées que sur les surfaces sèches. Pour sécher les freins par temps de pluie, conduisez lentement sur une surface plane en appuyant légèrement sur la pédale de frein.
Si vous conduisez la machine à grande vitesse et que vous freinez brusquement, les roues arrière peuvent se bloquer et vous risquez alors de perdre le contrôle de la machine.
Ne touchez pas le moteur pendant qu’il tourne ou juste après son arrêt au risque de vous brûler.
Ne laissez pas la machine en marche sans surveillance.
Avant de quitter la position d'utilisation :
Garez la machine sur une surface plane et horizontale.
Placez le sélecteur de direction à la position POINT MORT.
Serrez le frein de stationnement.
Coupez le moteur de la machine et enlevez la clé.
Attendez l'arrêt complet de tout mouvement.
N'utilisez pas la machine si la foudre menace.
Utilisez uniquement des accessoires et équipements agréés par The Toro® Company.
Ne dépassez pas le poids brut (PBV) de la machine. Votre poids, celui de vos passagers et celui de la charge transportée contribuent tous au poids brut total de la machine.
Les passagers ne doivent s'asseoir qu'aux emplacements désignés. N'autorisez pas les passagers à s'asseoir sur le plateau de chargement.
Vous et vos passagers devez rester assis pendant le déplacement de la machine.
Le fait d'allonger la machine augmente le rayon de braquage; pour cette raison, prévoyez un espace suffisant pour manœuvrer la machine.
Note: Un système de protection antiretournement (ROPS) à 2 montants est un accessoire disponible pour cette machine. Utilisez un système ROPS si vous tondez près de fortes dénivellations, d'étendues d'eau, sur un terrain accidenté ou sur une pente qui pourrait entraîner le retournement de la machine. Pour plus de renseignements, contactez un distributeur Toro agréé.
Les pentes augmentent significativement les risques de perte de contrôle et de basculement de la machine pouvant entraîner des accidents graves, voire mortels.
Examinez le site avec attention pour identifier les pentes permettant d'utiliser la machine sans risque, et établissez vos propres procédures et règles de travail à appliquer sur les pentes en question. Faites toujours preuve de bon sens et de discernement quand vous réalisez cette étude.
N'utilisez pas la machine sur une pente si vous ne vous sentez pas à l'aise.
Déplacez-vous à vitesse réduite et progressivement sur les pentes. Ne changez pas brusquement de vitesse ou de direction.
Évitez d'utiliser la machine sur les terrains humides. Les pneus pourraient perdre de l'adhérence. La machine peut se retourner avant que les pneus perdent de l'adhérence.
Montez et descendez toujours les pentes en ligne droite.
Si la machine commence à perdre de la puissance pendant la montée d'une pente, freinez progressivement et redescendez lentement la pente en ligne droite et en marche arrière.
Il est dangereux de faire demi-tour pendant que vous montez ou descendez une pente. Si vous devez tourner sur une pente, faites-le lentement et avec prudence.
Les lourdes charges compromettent la stabilité de la machine sur les pentes. Allégez la charge transportée et ralentissez sur les pentes ou si le centre de gravité de la charge est très élevé. Arrimez solidement la charge sur le plateau de chargement de la machine pour l'empêcher de se déplacer. Redoublez de prudence lorsque vous transportez des charges qui se déplacent facilement (liquide, pierres, sable, etc.).
Évitez de démarrer, de vous arrêter ou de tourner sur les pentes, surtout quand vous transportez une charge. Il faut plus longtemps à la machine pour s'arrêter sur une pente que sur une surface horizontale. Si vous devez arrêter la machine, évitez les variations de vitesse soudaines qui pourraient la faire se renverser ou se retourner. Ne freinez pas brutalement en marche arrière, car la machine pourrait se retourner.
Ne dépassez pas le poids brut (PBV) de la machine lorsque le plateau est chargé et/ou lorsque vous tractez une remorque; voir Caractéristiques techniques.
Répartissez la charge uniformément sur le plateau pour améliorer la stabilité et le contrôle de la machine.
Avant de décharger le plateau, vérifiez que personne ne se trouve derrière la machine.
Ne déchargez pas le plateau quand la machine est garée transversalement sur une pente. La modification de la répartition de la charge peut causer le retournement de la machine.
Le plateau levé peut retomber et blesser toute personne qui travaille dessous.
Calez toujours le plateau avec la béquille avant de travailler dessous.
Déchargez le plateau avant de le lever.
Ne conduisez pas la machine en laissant le plateau de chargement levé, car elle pourrait se renverser ou se retourner facilement. Vous risquez d'endommager la structure du plateau de chargement si vous conduisez la machine en le laissant levé.
Conduisez la machine avec le plateau de chargement baissé.
Baissez le plateau de chargement après l'avoir déchargé.
Si une charge est concentrée à l'arrière du plateau de chargement, celui-ci peut basculer brusquement lorsque vous le déverrouillez, et vous blesser ou blesser d'autres personnes.
Centrez les charges sur le plateau si possible.
Maintenez le plateau de chargement baissé et assurez-vous que personne n'est penché dessus ou ne se tient juste derrière lorsque vous le déverrouillez.
Déchargez complètement le plateau avant de le lever pour effectuer l'entretien de la machine.
Le plateau de chargement peut être lourd. Il peut écraser les mains ou d'autres parties du corps.
N'approchez pas les mains ni aucune autre partie du corps du plateau de chargement pendant qu'il s'abaisse.
Après avoir déchargé des matériaux en vrac (sable, pierres pour aménagement paysager ou copeaux de bois) du plateau, une petite partie peut rester coincée au niveau des charnières du hayon. Effectuez la procédure suivante avant de refermer le hayon.
Enlevez à la main autant des débris logés dans les charnières que possible.
Inclinez le hayon à environ 45° (Figure 18).

Agitez légèrement le hayon pour le faire pivoter d'avant en arrière plusieurs fois (Figure 18).
Note: Cela facilite l'élimination des débris présents aux niveau des charnières.
Baissez le hayon et vérifiez qu'il ne reste aucun débris au niveau des charnières.
Répétez les opérations 1 à 4 jusqu'à ce qu'il ne reste plus de débris dans les charnières.
Faites pivoter le hayon vers le haut et soulevez-le dans les encoches du plateau de chargement.
Utilisez le support arrière du plateau de chargement pour fixer des accessoires à l'arrière de la machine.
Capacité : 45 kg (100 lb)
Desserrez la poignée en « T » en la tournant dans le sens horaire (Figure 19).

Insérez l'accessoire dans le récepteur jusqu'à ce que les trous soient alignés (Figure 19).
Fixez l'accessoire dans le tube récepteur à l'aide de l'axe de chape et de la goupille fendue fournis avec l'accessoire.
Resserrez la poignée en « T » en la tournant dans le sens antihoraire (Figure 20).

Important: Lorsque vous vous arrêtez sur un plan incliné, utilisez les freins de service pour arrêter la machine et le frein de stationnement pour l'immobiliser. Le moteur peut surchauffer ou les batteries peuvent se décharger si vous utilisez l'accélérateur pour arrêter la machine sur une pente.
Enlevez le pied de la pédale d'accélérateur.
Enfoncez lentement la pédale de frein pour serrer les freins de service jusqu'à ce que la machine s'immobilise complètement.
Note: La distance d'arrêt peut varier selon la charge et la vitesse de la machine.
Respectez les consignes suivantes pour charger le plateau et utiliser la machine :
Respectez la capacité de charge de la machine et limitez le poids de la charge transportée sur le plateau comme décrit à la section Caractéristiques techniques, et comme indiqué sur l'étiquette du poids nominal brut de la machine.
Note: La charge nominale spécifiée n'est valable que si la machine est utilisée sur une surface plane.
Allégez la charge transportée sur le plateau de chargement lorsque vous utilisez la machine sur un terrain en pente ou accidenté.
Allégez la charge transportée sur le plateau si elle est haute (et que son centre de gravité est élevé), par exemple un tas de briques, des éléments en bois pour aménagements paysagers ou des sacs d'engrais. Répartissez la charge aussi bas que possible pour qu'elle ne réduise pas la visibilité derrière la machine pendant l'utilisation.
Maintenez les charges au centre du plateau en procédant comme suit :
Répartissez la charge uniformément d'un côté à l'autre du plateau de chargement.
Important: La charge est plus susceptible de basculer si elle est rassemblée d'un seul côté sur le plateau.
Répartissez la charge uniformément de l'avant à l'arrière du plateau.
Important: Vous risquez de perdre le contrôle de la direction ou la machine risque de basculer si vous placez la charge derrière l'essieu arrière car l'adhérence des roues avant sera alors réduite.
Redoublez de prudence lorsque vous transportez des charges surdimensionnées sur le plateau de chargement, surtout s'il est impossible de centrer le poids de la charge.
Dans la mesure du possible, arrimez la charge sur le plateau pour l'empêcher de bouger.
Lorsque vous transportez du liquide, faites preuve de prudence quand vous montez ou descendez une pente, quand vous changez de vitesse ou que vous arrêtez la machine soudainement, ou quand vous traversez des surfaces accidentées.
Le plateau de chargement a une capacité de charge de 0,28 m3 (10 pi3). La quantité (le volume) de matériau que le plateau peut transporter sans dépasser les charges nominales de la machine peut varier largement suivant la densité du matériau en question.
Les volumes de charge maximum pour divers matériaux sont indiqués dans le tableau suivant :
| Matériau | Densité | Capacité de charge maximale du plateau(sur surface horizontale) |
| Gravier, sec | 1522 kg/m3 (95 lb/pi3) | Niveau maximum |
| Gravier, humide | 1922 kg/m3 (120 lb/pi3) | 3/4 plein |
| Sable, sec | 1442 kg/m3 (90 lb/pi3) | Niveau maximum |
| Sable, humide | 1922 kg/m3 (120 lb/pi3) | 3/4 plein |
| Bois | 721 kg/m3 (45 lb/pi3) | Niveau maximum |
| Écorce | <721 kg/m3 (<45 lb/pi3) | Niveau maximum |
| Terre, compacte | 1602 kg/m3 (100 lb/pi3) | 3/4 plein (approximativement) |
Avant de quitter la position d'utilisation :
Garez la machine sur une surface plane et horizontale.
Placez le sélecteur de direction à la position POINT MORT.
Serrez le frein de stationnement.
Coupez le moteur de la machine et enlevez la clé.
Attendez l'arrêt complet de tout mouvement.
Laissez refroidir la machine avant de la régler, d'en faire l'entretien, de la nettoyer ou de la remiser.
Ne remisez pas la machine à proximité d'une flamme nue, d'une source d'étincelles ou d'une veilleuse, telle celle d'un chauffe-eau ou autre appareil.
Maintenez toutes les pièces de la machine en bon état de marche et toutes les fixations bien serrées.
Faites l'entretien de la ou des ceintures de sécurité et nettoyez-les au besoin.
Remplacez tous les autocollants usés, endommagés ou manquants.
Procédez avec prudence pour charger la machine sur une remorque ou un camion, ainsi que pour la décharger.
Utilisez des rampes d'une seule pièce pour charger la machine sur une remorque ou un camion.
Arrimez solidement la machine.
L'emplacement des points d'arrimage sur la machine est indiqué à la Figure 21 et la Figure 22.
Note: Chargez la machine sur la remorque en dirigeant l'avant vers l'avant de la remorque. Si cela s'avère impossible, fixez le capot de la machine au cadre avec une sangle, ou déposez le capot et fixez-le et transportez-le séparément, car il pourrait s'envoler pendant le transport.
Les sièges non fixés peuvent tomber de la machine et de la remorque pendant le transport de la machine, et atterrir sur une autre machine ou bloquer la voie.
Déposez les sièges ou fixez-les en place avec les axes de pivot.


En cas d'urgence, vous pouvez remorquer la machine sur une courte distance; toutefois cette procédure ne doit pas être employée de manière habituelle.
Le remorquage à des vitesses excessives peut entraîner la perte du contrôle de la direction et provoquer des accidents.
Ne remorquez jamais la machine à plus de 8 km/h (5 mi/h).
Le remorquage de la machine nécessite l'intervention de 2 personnes. Si vous devez déplacer la machine sur une longue distance, faites-la transporter par camion ou chargez-la sur une remorque; voir Tracter une remorque.
Coupez le moteur de la machine et enlevez la clé.
Important: Si vous remorquez la machine en laissant la clé à la position MARCHE, le système électrique peut être endommagé.
Accrochez un câble de remorquage à la flèche d'attelage à l'avant du cadre de la machine (Figure 21).
Desserrez le frein de stationnement.
La machine peut tracter des remorques. Des attelages sont disponibles pour la machine; contactez un distributeur Toro agréé pour plus de détails.
Lorsque vous transportez une charge ou tractez une remorque, ne surchargez pas la machine ou la remorque. La surcharge de la machine ou de la remorque peut réduire les performances de la machine ou endommager les freins, l'essieu, le moteur, la boîte-pont, la direction, la suspension, la structure de la caisse ou les pneus.
Lorsque vous chargez la remorque, placez toujours 60 % de la charge à l'avant. Cela place environ 10 % du poids brut de la remorque (PBR) sur la flèche d'attelage de la machine.
Pour assurer un freinage et une motricité adéquats, chargez toujours le plateau quand vous tractez une remorque. Ne dépassez pas le PBR ou PBV maximum.
Évitez de garer la machine attelée d'une remorque sur une pente. S'il est impossible de faire autrement, serrez le frein de stationnement et calez les roues de la remorque.
Ne confiez pas l'entretien de la machine à des personnes non qualifiées.
Avant de quitter la position d'utilisation :
Garez la machine sur une surface plane et horizontale.
Placez le sélecteur de direction à la position POINT MORT.
Serrez le frein de stationnement.
Coupez le moteur de la machine et enlevez la clé.
Attendez l'arrêt complet de tout mouvement.
Laissez refroidir la machine avant de la régler, d'en faire l'entretien, de la nettoyer ou de la remiser.
Soutenez la machine avec des chandelles chaque fois que vous devez travailler dessous.
Ne travaillez pas sous le plateau levé sans mettre la béquille de sécurité en place.
Ne chargez pas les batteries pendant l'entretien de la machine
Vérifiez l'état de la machine dans son ensemble et maintenez toutes les fixations serrées au couple prescrit.
Pour réduire les risques d'incendie, débarrassez la machine de tout excès de graisse, débris d'herbe, feuilles et saletés.
Si possible, n'effectuez aucun entretien pendant que le moteur tourne. Ne vous approchez pas des pièces mobiles.
Si le moteur de la machine doit tourner pour effectuer un réglage, n'approchez pas les mains, les pieds et autres parties du corps, ou les vêtements du moteur et des pièces mobiles. N'autorisez personne à s'approcher de la machine.
Contrôlez le fonctionnement du frein de stationnement comme recommandé dans le programme d'entretien, et réglez-le ou révisez-le selon les besoins.
Maintenez toutes les pièces de la machine en bon état de marche et toutes les fixations serrées au couple correct. Remplacez tous les autocollants usés ou endommagés.
Ne cherchez jamais à modifier la fonction prévue d'un dispositif de sécurité ni à réduire la protection qu'il assure.
Si la machine nécessite une réparation importante ou si vous avez besoin de renseignements, adressez-vous à un distributeur Toro agréé.
Toute modification de la machine susceptible d'en altérer le fonctionnement, les performances, la durabilité ou l'utilisation peut entraîner des blessures parfois mortelles. Une telle utilisation risque d'annuler la garantie produit offerte par The Toro® Company.
| Périodicité d'entretien | Procédure d'entretien |
|---|---|
| Après les 100 premières heures de fonctionnement |
|
| À chaque utilisation ou une fois par jour |
|
| Toutes les 25 heures |
|
| Toutes les 100 heures |
|
| Toutes les 300 heures |
|
| Toutes les 400 heures |
|
| Toutes les 800 heures |
|
| Toutes les 1000 heures |
|
Note: Téléchargez gratuitement un exemplaire du schéma électrique recherché en vous rendant sur www.Toro.com et en cherchant votre machine sous le lien Manuels sur la page d'accueil.
Un mauvais entretien de la machine peut entraîner la défaillance prématurée des divers systèmes et vous blesser ou blesser les personnes à proximité.
Maintenez la machine bien entretenue et en bon état de marche, conformément aux instructions du présent manuel.
Copiez cette page pour pouvoir vous en servir régulièrement.
| Entretiens à effectuer | Pour la semaine du : | ||||||
|---|---|---|---|---|---|---|---|
| Lundi | Mardi | Mercredi | Jeudi | Vendredi | Samedi | Dimanche | |
| Contrôlez le fonctionnement du frein et du frein de stationnement. | |||||||
| Contrôlez le fonctionnement de l'inverseur de marche/du point mort. | |||||||
| Contrôlez le niveau d'eau des batteries. | |||||||
| Contrôlez le niveau de liquide de frein. | |||||||
| Vérifiez les bruits de fonctionnement anormaux. | |||||||
| Contrôlez la pression des pneus. | |||||||
| Recherchez les fuites éventuelles. | |||||||
| Vérifiez le fonctionnement des instruments. | |||||||
| Vérifiez le fonctionnement de l'accélérateur. | |||||||
| Retouchez les peintures endommagées. | |||||||
| Lavez la machine. | |||||||
Important: Doublez la fréquence des entretiens si vous utilisez la machine dans les conditions suivantes :
Utilisation dans le désert
Utilisation sous climat froid – en dessous de 10 °C (50 °F)
Traction d'une remorque
Utilisation fréquente dans une atmosphère poussiéreuse
Travaux de construction
Après une utilisation prolongée dans la boue, le sable, l'eau ou autres environnements sales, effectuez les opérations suivantes :
Faites vérifier et nettoyer vos freins dès que possible. Cela évite que des particules abrasives causent une usure excessive.
Lavez la machine avec de l'eau pure ou additionnée de détergent doux.
Important: Ne nettoyez pas la machine avec de l'eau saumâtre ou recyclée.
Beaucoup des sujets abordés dans cette section consacrée à l'entretien nécessitent de lever et de baisser le plateau. Pour prévenir les blessures graves ou les accidents mortels, prenez les précautions suivantes.
Levez le plateau de chargement avant d'effectuer un entretien. Le plateau levé peut retomber et blesser toute personne qui se trouve dessous.
Calez toujours le plateau avec la béquille avant de travailler dessous.
Déchargez le plateau de chargement avant de travailler dessous.
Garez la machine sur une surface plane et horizontale.
Placez le sélecteur de direction à la position POINT MORT.
Serrez le frein de stationnement.
Coupez le moteur de la machine et enlevez la clé.
Videz et levez le plateau de chargement.
La machine peut être instable si elle soutenue par un cric. Elle pourrait glisser duc cric et blesser la personne qui se trouve dessous.
Ne mettez pas la machine en marche lorsqu'elle est en appui sur un cric.
Retirez toujours la clé du commutateur avant de descendre de la machine.
Calez les roues lorsque la machine est soutenue par un équipement de levage.
Soutenez la machine avec des chandelles après l'avoir levée.
Important: Si le moteur de la machine doit tourner à des fins d'entretien et/ou de diagnostic, placez des chandelles sous l'essieu arrière afin de soulever les roues arrière à 25 mm (1 po) au-dessus du sol.
Le point de levage avant de la machine est situé à l'avant du cadre, derrière la flèche d'attelage (Figure 23).

Le point de levage arrière de la machine est situé sous les tubes d'essieu (Figure 24).

Soulevez la poignée des loquets en caoutchouc de chaque côté du capot (Figure 25).

Ouvrez le capot.
Baissez le capot avec précaution.
Fixez le capot en place en alignant les loquets en caoutchouc sur les ancrages de verrouillage de chaque côté du capot (Figure 25).
Glissez l'ensemble sièges sur les goupilles et abaissez-le (Figure 28).

| Périodicité d'entretien | Procédure d'entretien |
|---|---|
| Toutes les 300 heures |
|
Spécifications de la graisse : Mobilgrease XHP™-222
Soulevez l'avant de la machine et soutenez-le avec des chandelles.
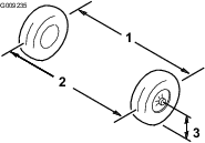
Retirez les 4 écrous qui fixent la roue sur le moyeu (Figure 29).

Retirez les boulons à embase (⅜ x ¾ po) qui fixent le support du frein à la fusée et séparez le frein de la fusée (Figure 30).
Note: Soutenez le frein avant de passer à l'opération suivante.

Déposez le couvre-moyeu du moyeu (Figure 31).

Retirez la goupille fendue et l'arrêt d'écrou de la fusée et de son écrou (Figure 31).
Retirez l'écrou de la fusée et déposez l'ensemble moyeu et disque de la fusée (Figure 31 et Figure 32).

Essuyez la fusée avec un chiffon.
Répétez les opérations 1 à 7 pour le moyeu et le disque de l'autre côté de la machine.
Déposez le roulement extérieur et la bague de roulement du moyeu (Figure 33).

Déposez le joint et le roulement intérieur du moyeu (Figure 33).
Essuyez le joint et vérifiez s'il est usé ou endommagé.
Note: Ne nettoyez pas le joint avec un solvant de nettoyage. Remplacez le joint s'il est usé ou endommagé.
Nettoyez les roulements et les bagues, et vérifiez s'ils sont usés ou endommagés.
Note: Remplacez toutes les pièces usées ou endommagées. Vérifiez que les roulements et les bagues sont propres et secs.
Éliminez la graisse, la saleté et les débris à l'intérieur de la cavité du moyeu (Figure 33).
Garnissez les roulements avec la graisse spécifiée.
Remplissez 50 à 80 % de la cavité du moyeu avec la graisse spécifiée (Figure 33).
Montez le roulement intérieur sur la bague, sur le côté intérieur du moyeu, puis posez le joint (Figure 33).
Répétez les opérations 1 à 8 pour les roulements de l'autre moyeu.
Appliquez une fine couche de la graisse spécifiée sur la fusée (Figure 34).

Montez le moyeu et le disque sur la fusée, en plaçant le disque à l'intérieur (Figure 34).
Montez le roulement extérieur sur la fusée et poussez-le contre la bague extérieure (Figure 34).
Placez la rondelle à languette sur la fusée (Figure 34).
Vissez l'écrou de fusée sur la fusée et serrez-le à 15 N·m (11 pi-lb) tout en tournant le moyeu pour asseoir le roulement (Figure 34).
Serrez l'écrou de fusée jusqu'à ce que le moyeu tourne librement.
Serrez l'écrou de fusée à un couple de 1,70 à 2,25 N·m (15 à 20 po-lb).
Placez l'arrêt d'écrou sur l'écrou et vérifiez que la fente dans l'arrêt et le trou dans la fusée sont alignés afin de pouvoir insérer la goupille fendue (Figure 35).
Note: Si la fente dans l'arrêt d'écrou et le trou dans la fusée ne sont pas alignés, alignez-les en serrant l'écrou de fusée à 2,26 N·m (20 po-lb) maximum.

Insérez la goupille fendue et repliez chacune de ses pattes autour de l'arrêt d'écrou (Figure 35).
Reposez le couvre-moyeu sur le moyeu (Figure 35).
Répétez les opérations 1 à 10 pour le moyeu et le disque de l'autre côté de la machine.
Nettoyez les 2 boulons à embase (⅜ x ¾ po) et appliquez une couche de frein-filet moyenne résistance sur le filetage des boulons.
Placez les plaquettes de frein de chaque côté du disque (Figure 30), puis alignez les trous du support d'étrier et les trous du support de frein sur le porte-fusée (Figure 34).
Fixez le support d'étrier au porte-fusée (Figure 30) à l'aide des 2 boulons à embase (⅜ x ¾ po).
Serrez les 2 boulons à embase à un couple de 47 à 54 N·m (35 à 40 pi-lb).
Alignez les trous de la roue et les goujons du moyeu, puis montez la roue sur le moyeu en plaçant la valve à l'extérieur (Figure 29).
Note: Vérifiez que la surface de montage de la roue affleure le moyeu.
Fixez la roue au moyeu avec les écrous de roue (Figure 29).
Serrez les écrous de roues à un couple de 108 à 122 N·m (80 à 90 pi-lb).
Répétez les opérations 1 à 5 pour le frein et la roue de l'autre côté de la machine.
Débranchez la batterie avant de réparer la machine. Débranchez toujours la borne négative de la batterie avant la borne positive. Rebranchez la borne positive avant la borne négative.
Chargez la batterie dans un endroit dégagé et bien aéré, à l'écart des flammes ou sources d'étincelles. Débranchez le chargeur avant de brancher ou de débrancher la batterie. Portez des vêtements de protection et utilisez des outils isolés.
Pour réduire les risques d'incendie, débarrassez les batteries et le moteur de tout excès de graisse, débris d'herbe, feuilles et saletés.
Enlevez bijoux et montres avant d'effectuer l'entretien des batteries.
Ne chargez pas les batteries pendant l'entretien de la machine
Débranchez toujours tous les câbles des batteries avant d'effectuer l'entretien des composants électriques; voir Débranchement des batteries.
Note: En débranchant tous les câbles des batteries, vous coupez l'alimentation du système électrique.
L'électrolyte contient de l'acide sulfurique qui produit de l'hydrogène, un gaz qui est explosif dans certaines conditions. L'acide sulfurique peut brûler la peau et endommager les vêtements; sous sa forme gazeuse, il peut être nocif pour les poumons.
L'entretien de la machine, son remisage et la charge de la batterie doivent toujours s'effectuer dans un endroit bien aéré.
Gardez les batteries à l'écart des flammes nues et des sources d'étincelles.
Ne fumez pas à côté des batteries.
Ne vérifiez pas le niveau ou les fuites d'électrolyte à l'aide d'une flamme nue.
Portez une protection adéquate pour les yeux, les mains et le visage.
Ne vous penchez jamais au-dessus des batteries.
Évitez de respirer les vapeurs d'électrolyte.
Faites le plein d'électrolyte à proximité d'une arrivée d'eau propre, de manière à pouvoir rincer abondamment la peau en cas d'accident.
Si de l'électrolyte rejaillit sur la peau ou dans les yeux, rincez la zone affectée pendant 20 minutes à l'eau propre. Retirez les vêtements contaminés. Consultez immédiatement un médecin.
Tenez les enfants et les animaux à l'écart des batteries et de l'électrolyte.
L'électrolyte est toxique.
Ne buvez pas l'électrolyte.
Si jamais quelqu'un avale de l'électrolyte, faites-lui boire immédiatement, si possible, de grandes quantités d'eau pour diluer l'électrolyte.
N'essayez pas de faire vomir la personne.
Contactez un centre anti-poison et consultez immédiatement un médecin.
Gardez toujours les bouchons d'aération en place et bien serrés sur les batteries, sauf pour les remplir. N'utilisez pas la machine si l'un des bouchons d'aération manque ou est endommagé.
Lorsque vous enlevez ou installez les batteries, ne touchez aucune partie métallique de la machine avec les bornes des batteries.
Évitez de créer des courts-circuits entre les bornes de la batterie et les parties métalliques de la machine avec des outils en métal.
Ne vérifiez pas l'état de charge des batteries en reliant les bornes avec un objet métallique. Cela créera des étincelles qui peuvent causer une explosion.
Laissez toujours le dispositif de maintien en place pour protéger et immobiliser les batteries.
Vous devez lire et comprendre les instructions de charge avant de mettre les batteries en charge; voir Charge des batteries. De plus, prenez toujours les précautions suivantes pour charger les batteries :
Tournez la clé de la machine sur ARRêT avant de connecter le chargeur à une source d'alimentation.
Utilisez uniquement le chargeur de batteries fourni avec la machine pour charger les batteries.
Ne chargez pas les batteries si elles sont endommagées ou gelées.
Débranchez toujours le cordon d'alimentation de la prise d'alimentation avant de le débrancher de la prise de charge de la machine pour éviter les étincelles.
Si une batterie en charge commence à chauffer, à produire du gaz en grande quantité ou à rejeter de l'électrolyte, débranchez immédiatement le cordon d'alimentation du chargeur de la prise d'alimentation. Faites réviser la machine par un dépositaire-réparateur agréé avant de la remettre en service.
Levez l'ensemble sièges et le plateau de chargement avant de faire l'entretien des batteries; voir Lever et baisser l'ensemble sièges et Levage du plateau de chargement en position de déchargement.
Les bornes de la batterie ou les outils en métal peuvent causer des courts-circuits au contact des pièces métalliques et produire des étincelles. Les étincelles risquent de provoquer l'explosion des gaz de la batterie et de vous blesser.
Lors du retrait ou de la mise en place de la batterie, évitez que les bornes touchent les parties métalliques de la machine.
Évitez de créer des courts-circuits entre les bornes de la batterie et les parties métalliques de la machine avec des outils en métal.
Utilisez des outils isolés pour effectuer l'entretien des batteries.
Laissez toujours le dispositif de maintien en place pour protéger et immobiliser les batteries.
Ne touchez pas les composants électriques ou les contacts du moteur.
Vous pouvez vous blesser, parfois mortellement, si vous touchez ces composants ou contacts.
| Périodicité d'entretien | Procédure d'entretien |
|---|---|
| Toutes les 25 heures |
|
Vérifiez que tous les bouchons des batteries sont bien serrés.
Nettoyez les batteries avec une serviette en papier.
Si les bornes de la batterie sont corrodées, nettoyez-les avec un mélange constitué de 4 volumes d'eau pour 1 volume de bicarbonate de soude. Nettoyez aussi les cosses et les colliers de câble avec un produit nettoyant spécial.
Note: Le métal des cosses et des colliers doit être brillant.
Appliquez une fine couche de protecteur pour bornes de batteries Toro.
| Périodicité d'entretien | Procédure d'entretien |
|---|---|
| À chaque utilisation ou une fois par jour |
|
Le chargeur de cette machine est situé à l'intérieur de la machine, sous le siège de l'utilisateur. Pour prolonger la vie des batteries, chargez-les chaque fois que vous n'utilisez pas la machine. Suivant le degré de décharge des batteries et leur température ambiante, la recharge complète peut demander jusqu'à 16 heures.
Note: Le temps de charge normal est d'environ 8 à 10 heures.
Important: Les batteries au plomb ne développent pas une mémoire de charge; il est donc inutile de les décharger complètement avant de les recharger. Les batteries peuvent être endommagées si elles sont complètement déchargées. Chargez les batteries chaque fois que la machine ne sert pas.
La batterie en charge produit des gaz susceptibles d'exploser.
Ne fumez jamais à côté des batteries et tenez-les à l'écart des flammes et sources d'étincelles.
Placez la machine dans un lieu bien aéré près d'une prise d'alimentation adéquate.
Contrôlez le niveau d'électrolyte des batteries.
Note: Après avoir chargé les batteries au maximum, remplissez-les d'eau distillée ou déminéralisée; voir Ajout d'eau distillée ou déminéralisée dans les batteries.
Important: Chargez les batteries au maximum avant d'y ajouter de l'eau. L'électrolyte augmente de volume pendant la charge; pour cette raison, si vous remplissez une batterie faible avant de la charger au maximum, l'électrolyte peut déborder et fuir par l'évent.
Branchez un cordon de chargeur de calibre 16 (ou de plus gros diamètre), de 2,5 m (8,2 pi) ou plus court à la prise de charge de la machine (Figure 36).
Note: Vérifiez toujours que la tension réglée pour le chargeur correspond à la tension de la prise d'alimentation utilisée.
Note: Lorsque la température ambiante est élevée, déposez l'ensemble sièges pour optimiser le temps de charge; voir Dépose de l'ensemble sièges. Si le chargeur de batterie est trop chaud, la charge peut ne pas s'effectuer correctement. À basses températures, la charge des batteries peut demander plus de temps.

Branchez le cordon du chargeur dans la prise d'alimentation.
Note: Le voyant vert du chargeur clignote pendant la charge des batteries. Lorsque les batteries sont chargées au maximum, le voyant vert cesse de clignoter et reste allumé.
Débranchez le cordon de la prise d'alimentation.
Débranchez le chargeur de la machine.
Reportez-vous au tableau suivant et à la Figure 36 pour connaître la signification des différentes couleurs du voyant d'état du chargeur.
| Couleur du voyant d'état du chargeur | Allumé en continu/clignotant | Signification |
| Vert | Allumé en continu | Charge terminée |
| Vert | Clignotant | Clignotement bref – moins de 80 % de chargeClignotement long – plus de 80 % de charge |
| Orange | Clignotant | Mode puissance réduite – tension CA faible ou température interne élevée du chargeur; charger immédiatement |
| Rouge | Clignotant | Erreur de chargeur – réinitialiser l'alimentation du chargeurSi l'erreur persiste, voir les codes de clignotement dans la notice du chargeur. |
| Périodicité d'entretien | Procédure d'entretien |
|---|---|
| À chaque utilisation ou une fois par jour |
|
Garez la machine sur une surface plane et horizontale, serrez le frein de stationnement, coupez le moteur, enlevez la clé et levez le plateau de chargement; voir Levage du plateau de chargement en position de déchargement.
Levez l'ensemble sièges pour accéder aux batteries; voir Lever et baisser l'ensemble sièges.
Sur chaque batterie, vérifiez si l'œil magique est noir ou blanc (Figure 37).
Note: Un œil magique noir indique que la batterie est pleine d'eau. Un œil magique blanc indique qu'il faut rajouter de l'eau dans la batterie.

Si les yeux magiques sont blancs, vous devez ajouter de l'eau distillée ou déminéralisée dans les batteries; voir Ajout d'eau distillée ou déminéralisée dans les batteries.
| Périodicité d'entretien | Procédure d'entretien |
|---|---|
| Toutes les 25 heures |
|
Important: Chargez les batteries au maximum avant d'y ajouter de l'eau. L'électrolyte augmente de volume pendant la charge; pour cette raison, si vous remplissez une batterie faible avant de la charger au maximum, l'électrolyte peut déborder et fuir par l'évent.
Important: Utilisez seulement de l'eau distillée ou déminéralisée propre dans les batteries. L'eau du robinet peut endommager les batteries ou réduire leur durée de vie.
Garez la machine sur une surface plane et horizontale, serrez le frein de stationnement, coupez le moteur, enlevez la clé et levez le plateau de chargement; voir Levage du plateau de chargement en position de déchargement.
Chargez les batteries au maximum; voir Charge des batteries.
Levez l'ensemble sièges pour accéder aux batteries; voir Lever et baisser l'ensemble sièges.
Branchez la pompe à eau manuelle Toro à l'orifice de remplissage d'eau (Figure 38).

Pompez de l'eau dans les batteries jusqu'à ce que les yeux magiques au sommet des batteries deviennent noirs, ce qui indique qu'elles sont remplies d'eau.
Important: Ne remplissez pas les batteries excessivement, L'électrolyte va alors déborder sur d'autres parties de la machine ce qui peut causer une grave corrosion et de gros dommages. Cela peut également réduire la vie des batteries.
Lorsque l'autonomie de la machine commence à diminuer ou lorsque la durée de décharge ou de charge des batteries est considérablement réduite, les batteries sont probablement usées et ne sont plus capables de maintenir la charge. Portez la machine chez un dépositaire -réparateur agréé et demandez-lui de tester les batteries pour déterminer si elles doivent être remplacées. Le dépositaire peut alors se charger de remplacer les batteries. Si vous préférez remplacer vous-même les batteries, procédez comme suit :
Levez le plateau de chargement, tournez la clé à la position ARRêT et enlevez la clé.
Débranchez le câble négatif principal (noir) de la batterie qui relie la rangée de batteries au point de masse de la machine (Figure 39).
Note: Les câbles principaux des batteries sont longs comparés aux câbles d'interconnexion des batteries.

Débranchez le câble positif principal (rouge) qui relie la rangée de batteries au contacteur principal de la machine (Figure 39).
Débranchez tous les câbles d'interconnexion des batteries.
Enlevez les dispositifs de retenue situés entre les batteries.
Déposez toutes les batteries et recyclez-les conformément à la réglementation locale en matière d'environnement.
Montez les batteries neuves dans la machine aux emplacements des batteries que vous avez déposées à l'opération 3.
Note: Observez la polarité lors de la mise en place des batteries neuves (Figure 39).
Installez les dispositifs de retenue des batteries et serrez les écrous jusqu'à ce que les batteries soient solidement bloquées en place.
Reliez les batteries entre elles, comme montré à la Figure 39, avec les câbles d'interconnexion que vous avez retirés à l'opération 1.
Vérifiez que les bornes des batteries sont propres et exemptes d'oxydation.
Branchez le câble positif principal (rouge) entre la rangée de batteries et la machine (Figure 39).
Branchez le câble négatif principal (noir) entre la rangée de batteries et la machine (Figure 39).
Serrez les écrous de fixation de tous les câbles des batteries jusqu'à ce que les dispositifs de retenue bloquent solidement les batteries en place.
Enduisez les bornes des batteries de protecteur pour bornes de batteries Toro.
Vérifiez que les capuchons en caoutchouc au bout de chaque câble sont bien en place sur les bornes des batteries.
Insérez la clé dans le commutateur et tournez-la à la position CONTACT.
Baissez le plateau de chargement, tournez la clé à la position ARRêT et enlevez la clé.
Chargez les batteries au maximum avant de remiser la machine. Branchez le chargeur à une prise murale pendant le remisage de la machine et des batteries. Laissez le chargeur branché à une prise murale et à une prise de charge pendant le remisage pour maintenir les batteries chargées et les empêcher de geler; sinon, chargez les batteries au moins une fois par mois.
Important: S'il n'est pas possible de brancher la machine pendant son remisage, chargez les batteries au maximum au moins une fois par mois. Les batteries se déchargent à la longue ce qui peut les endommager jusqu'à les rendre inutilisables, même si elles sont neuves.
Le système électrique comprend 6 fusibles; les autres emplacements sont inoccupés pour d'éventuelles options.
Les fusibles de 12 V et 48 V sont situés sous l'ensemble sièges, derrière une batterie, sur le côté droit de la machine (Figure 40).

| Avertisseur sonore | 20 A |
| Relais électrique | 20 A |
| Kit de levage en option – emplacement libre | 15 A |
| Alimentation électrique | 10 A |
| Port USB | 5 A |
| Phares | 10 A |
Débranchez les batteries; voir Débranchement des batteries.
Ouvrez le capot.
Débranchez le connecteur électrique sur le faisceau du connecteur du phare (Figure 41).

Retirez les clips rapides qui fixent le phare sur son support (Figure 41).
Note: Conservez toutes les pièces pour monter le phare de rechange.
Déposez le phare en le poussant vers l'avant et hors de l'ouverture dans le pare-chocs avant (Figure 41).
Insérez le phare de rechange dans l'ouverture du pare-chocs (Figure 41).
Note: Veillez à ce que les ergots soient bien alignés sur les trous du support de montage derrière le pare-chocs.
Fixez le phare en place avec les clips rapides retirés à l'opération 4.
Branchez le connecteur électrique du faisceau sur le connecteur du phare (Figure 41).
Réglez les phares de façon à diriger les faisceaux à la position voulue; voir Réglage des phares.
Chaque fois que vous déposez ou remplacez un phare, réglez la position du faisceau comme suit :
Garez la machine sur une surface plane et horizontale avec les phares à environ 7,6 m (25 pi) devant un mur (Figure 42).
Mesurez la distance du sol au centre du phare et faites un repère sur le mur à la même hauteur.
Tournez la clé à la position CONTACT et allumez les phares.
Notez l'emplacement du faisceau des phares sur le mur.
La partie la plus brillante du faisceau doit se trouver 20 cm (8 po) en dessous du repère que vous avez fait sur le mur (Figure 42).

Au dos du phare, tournez les vis de réglage (Figure 41) afin de faire pivoter le phare et d'aligner la position du faisceau projeté.
Rebranchez les batteries et refermez le capot; voir Branchement des batteries.
| Périodicité d'entretien | Procédure d'entretien |
|---|---|
| Toutes les 100 heures |
|
Vérifiez l'état et l'usure des pneus et des jantes.
Note: Les accidents de conduite, comme une collision contre une bordure de trottoir, peuvent endommager un pneu ou une jante et dérégler également la géométrie des roues. Pour cette raison, vérifiez l'état des pneus après tout accident.
Serrez les écrous de roues à un couple de 108 à 122 N·m (80 à 90 pi-lb).
| Périodicité d'entretien | Procédure d'entretien |
|---|---|
| Toutes les 100 heures |
|
Le volant étant centré (Figure 43), tournez-le vers la gauche ou la droite. Si vous tournez le volant de plus de 13 mm (½ po) à gauche ou à droite et que les roues ne tournent pas, vérifiez le serrage et l'état des composants de la direction et de la suspension :
Joint de l'arbre de direction sur la crémaillère de direction.
Important: Vérifiez l'état et la fixation du joint de l'arbre de pignon (Figure 44).
Biellettes de crémaillère de direction


| Périodicité d'entretien | Procédure d'entretien |
|---|---|
| Toutes les 100 heures |
|
Vérifiez que les pneus avant sont gonflés à 0,82 bar (12 psi).
Placez une masse équivalente au poids moyen de l'utilisateur sur le siège du conducteur ou demandez à l'utilisateur de s'asseoir sur le siège. La masse ou l'utilisateur doit rester sur le siège pendant toute la procédure de réglage.
Sur une surface plane et horizontale, faites reculer la machine en ligne droite de 2 à 3 m (6 à 10 pi), puis repartez dans l'autre sens en ligne droite jusqu'à la position de départ. Cela permet à la suspension de se stabiliser à la position d'utilisation.
Outils fournis par le propriétaire de la machine : clé à ergots (réf. Toro 132-5069); voir un distributeur Toro agréé.
Important: Ne réglez le carrossage que si vous utilisez un accessoire avant ou si l'usure des pneus est irrégulière.
Contrôlez le carrossage de chaque roue; il doit être aussi proche de zéro que possible.
Note: La bande de roulement des pneus doit être disposée uniformément sur le sol pour prévenir une usure irrégulière.
Si le carrossage des roues n'est pas correct, utilisez la clé à ergots pour tourner le collet sur l'amortisseur et orienter la roue correctement (Figure 45).

Important: Avant de régler le pincement, vérifiez que le réglage du carrossage est aussi proche de zéro que possible; voir Réglage du carrossage.
Mesurez la distance entre les roues avant à hauteur d'essieu, à l'avant et à l'arrière des roues (Figure 46).

Si la mesure n'est pas comprise entre 0 et 6 mm (0 et ¼ po), desserrez les écrous de blocage aux extrémités extérieures des biellettes (Figure 47).

Tournez les biellettes de façon à déplacer l'avant de la roue vers l'intérieur ou l'extérieur.
Resserrez les écrous de blocage des biellettes quand le réglage correct est obtenu.
Assurez-vous que le volant effectue toute sa course dans les deux sens.
| Périodicité d'entretien | Procédure d'entretien |
|---|---|
| Toutes les 100 heures |
|
Garez la machine sur une surface plane et horizontale.
Serrez le frein de stationnement.
Coupez le moteur et enlevez la clé.
Enlevez le bouchon de remplissage de la boîte-pont (Figure 48).
Note: Le niveau de liquide doit atteindre la base du bouchon de remplissage.

Si le niveau de liquide est trop bas, enlevez le bouchon de remplissage et ajoutez le liquide spécifié jusqu'à ce qu'il ressorte par l'orifice (Figure 48).
Remettez le bouchon de remplissage en place et serrez-le à un couple de 20 à 27 N·m (15 à 20 pi-lb).
| Périodicité d'entretien | Procédure d'entretien |
|---|---|
| Toutes les 100 heures |
|
| Toutes les 800 heures |
|
Type de liquide : SAE 10W-30 (classe de service API SJ ou mieux)
Capacité de liquide : 0,66 L (0,7 pte américaine)
Placez un bac de vidange sous la protection de la boîte-pont (Figure 49).

Retirez les boulons de la protection de la boîte-pont et vidangez tout le liquide (Figure 49).
Note: Conservez la protection de la boîte-pont et le boulon.
Fixez la protection de la boîte-pont en place avec les boulons retirés précédemment, et serrez les boulons à un couple de 22 à 32 N·m (16 à 24 pi-lb).
Retirez le bouchon de remplissage de la boîte-pont et remplissez celle-ci avec le liquide spécifié jusqu'à ce qu'il ressorte par l'orifice de remplissage (Figure 48).
Remettez le bouchon de remplissage en place et serrez-le à un couple de 20 à 27 N·m (15 à 20 pi-lb).
Serrez le frein de stationnement en tirant le levier vers vous jusqu'à ce que vous sentiez une tension.
Si vous ne sentez pas une tension quand vous tirez le frein de stationnement vers vous à une distance de 11,4 à 16,5 cm (4½ à 6½ po) du symbole « P » sur la planche de bord, vous devez régler le frein de stationnement; voir Réglage du frein de stationnement.
Vérifiez que le frein de stationnement est desserré.
Soulevez l'arrière de la machine sur des chandelles; voir Levage de la machine.
Utilisez 2 clés, une pour maintenir le tenon de réglage en place sur l'étrier et l'autre pour desserrer l'écrou de blocage de 1/4 de tour (Figure 50).

Tout en maintenant le tenon de réglage et l'écrou de blocage en place, tournez le tenon pour le serrer (Figure 50).
Note: Effectuez cette opération jusqu'à ce que vous sentiez un frottement sur la roue.
Tout en maintenant le tenon de réglage et l'écrou de blocage en place, tournez le tenon en arrière de 1/4 de tour (Figure 50).
Tout en maintenant le tenon de réglage et l'écrou de blocage en place, serrez l'écrou de blocage (Figure 50).
Effectuez les opérations 1 à 6 de l'autre côté.
Vérifiez que le frein de stationnement est réglé à la tension correcte; voir Contrôle du frein de stationnement.
Note: Si vous ne réussissez pas à régler le frein de stationnement à la tension correcte, il est possible que les plaquettes de frein soient usées et doivent être remplacées. Adressez-vous à votre distributeur Toro agréé.
| Périodicité d'entretien | Procédure d'entretien |
|---|---|
| À chaque utilisation ou une fois par jour |
|
Type de liquide de frein : DOT 3
Garez la machine sur une surface plane et horizontale, serrez le frein de stationnement, coupez le moteur et enlevez la clé.
Soulevez le capot pour accéder au maître-cylindre de frein et au réservoir (Figure 51).

Observez le repère de niveau sur le côté du réservoir (Figure 52).
Note: Le niveau doit se situer au-dessus du repère du minimum.

Si le niveau de liquide est trop bas, procédez comme suit :
Nettoyez la surface autour du bouchon du réservoir et enlevez le bouchon (Figure 51).
Versez du liquide de frein DOT 3 dans le réservoir jusqu'à ce que le niveau dépasse le repère minimum (Figure 52).
Note: Ne remplissez pas excessivement le réservoir de liquide de frein.
Remettez le bouchon du réservoir (Figure 51).
Fermez le capot de la machine.
| Périodicité d'entretien | Procédure d'entretien |
|---|---|
| Toutes les 100 heures |
|
Important: Les freins sont un des composants de sécurité essentiels de la machine. Vérifiez-les attentivement aux intervalles d'entretien recommandés pour garantir des performances et une sécurité optimales.
Contrôlez l'état et l'usure de la garniture des freins. Remplacez la garniture (plaquette de frein) si elle fait moins de 1,6 mm (1/16 po), d'épaisseur.
Vérifiez si le support de garniture et autres composants semblent excessivement usés ou déformés. Remplacez les composants déformés.
Contrôlez le niveau de liquide de frein; voir Contrôle du niveau de liquide de frein.
| Périodicité d'entretien | Procédure d'entretien |
|---|---|
| Toutes les 400 heures |
|
Demandez à votre distributeur Toro agréé de vérifier et de remplacer éventuellement les plaquettes des freins de service et du frein de stationnement.
| Périodicité d'entretien | Procédure d'entretien |
|---|---|
| Toutes les 1000 heures |
|
Contactez un dépositaire Toro agréé.
Si les loquets du plateau de chargement sont déréglés, le plateau tressaute pendant que vous conduisez la machine. Vous pouvez régler les montants de sorte que les loquets maintiennent le plateau bien ajusté sur le châssis.
Vérifiez que le plateau de chargement se verrouille.
Note: Si le plateau de chargement ne se verrouille pas, la gâche du loquet est probablement trop basse. Si le plateau de chargement se verrouille mais tressaute pendant la conduite, la gâche est probablement trop haute.
Levez le plateau de chargement; Levage du plateau de chargement en position de déchargement.
Desserrez les 2 boulons sur la gâche du loquet et montez ou descendez la gâche selon qu'elle est trop haute ou trop basse (Figure 53).

Serrez les 2 boulons de la gâche du loquet du plateau (Figure 53).
Vérifiez que le réglage est correct en verrouillant plusieurs fois le plateau de chargement.
| Périodicité d'entretien | Procédure d'entretien |
|---|---|
| À chaque utilisation ou une fois par jour |
|
Au besoin, lavez la machine seulement avec de l'eau ou en y ajoutant un détergent doux. Vous pouvez laver la machine à l'aide d'un chiffon.
Important: Ne nettoyez pas la machine avec de l'eau saumâtre ou recyclée.
Important: Il est déconseillé de laver la machine au jet d'eau sous pression. Cela pourrait endommager le système électrique, décoller des autocollants importants ou enlever la graisse nécessaire aux points de frottement. N'utilisez pas trop d'eau, surtout près du panneau de commande, du moteur, du contrôleur du moteur, du chargeur, de l'arrière du tableau de bord et des batteries.
Avant de quitter la position d'utilisation, coupez le moteur de la machine, enlevez la clé et attendez l'arrêt complet de tout mouvement. Laissez refroidir la machine avant de la régler, d'en faire l'entretien, de la nettoyer ou de la remiser.
Ne remisez pas la machine ni les bidons de carburant à proximité d'une flamme nue, d'une source d'étincelles ou d'une veilleuse, telle celle d'un chauffe-eau ou autre appareil.
Garez la machine sur une surface plane et horizontale, serrez le frein de stationnement, coupez le moteur et enlevez la clé.
Enlevez toutes les saletés et impuretés déposées sur la machine, y compris à l'extérieur du moteur.
Important: Vous pouvez laver la machine avec de l'eau et un détergent doux. Ne lavez pas la machine au jet d'eau haute pression. Le lavage à haute pression risque d'endommager le système électrique ou d'enlever la graisse nécessaire aux points de frottement. N'utilisez pas trop d'eau, surtout près du panneau de commande, des feux, du moteur et de la batterie.
Contrôlez les freins; voir Contrôle des freins.
Contrôlez la pression des pneus; voir Contrôle de la pression des pneus.
Contrôlez et resserrez tous les boulons, écrous et vis. Réparez ou remplacez toute pièce endommagée.
Peignez toutes les surfaces métalliques éraflées ou mises à nu.
Note: Une peinture pour retouches est disponible chez les dépositaires-réparateurs agréés.
Rangez la machine dans un endroit propre et sec, comme un garage ou une remise.
Retirez la clé et rangez-la en lieu sûr, hors de la portée des enfants.
Couvrez la machine pour la protéger et la garder propre.
Chargez les batteries au maximum avant de remiser la machine; voir Charge des batteries. Branchez le chargeur à une prise murale pendant le remisage de la machine et des batteries. Laissez le chargeur branché à une prise murale et à une prise de charge pendant le remisage pour maintenir les batteries chargées et les empêcher de geler; sinon, chargez les batteries au moins une fois par mois.
Branchez le chargeur pendant le remisage pour maintenir une durée de vie maximum des batteries.
Important: S'il n'est pas possible de brancher la machine pendant son remisage, chargez les batteries au maximum au moins une fois par mois. Les batteries se déchargent à la longue ce qui peut les endommager jusqu'à les rendre inutilisables, même si elles sont neuves.
Après avoir chargé les batteries au maximum, remplissez-les d'eau distillée ou déminéralisée avant le remisage; voir Ajout d'eau distillée ou déminéralisée dans les batteries.
| Problem | Possible Cause | Corrective Action |
|---|---|---|
| Le voyant d'état de la machine reste allumé. |
|
|
| Le voyant d'état de la machine a clignoté 1 fois. |
|
|
| Le voyant d'état de la machine a clignoté 2 fois. |
|
|
| Le voyant d'état de la machine a clignoté 3 fois. |
|
|
| Le voyant d'état de la machine a clignoté 4 fois. |
|
|
| Le voyant d'état de la machine a clignoté 5 fois. |
|
|
| Le voyant d'état de la machine a clignoté 6 fois. |
|
|
| Le voyant d'état de la machine a clignoté 7 fois. |
|
|
| Le voyant d'état de la machine a clignoté 8 fois. |
|
|
| Le voyant d'état de la machine a clignoté 10 fois. |
|
|
| Le voyant d'état de la machine a clignoté 11 fois. |
|
|
| Le voyant d'état de la machine a clignoté 12 fois. |
|
|
| Le voyant d'état de la machine a clignoté 13 fois. |
|
|
| Le voyant d'état de la machine a clignoté 14 fois. |
|
|
| Le voyant d'état de la machine ne s'allume pas. |
|
|