| Периодичность технического обслуживания | Порядок технического обслуживания |
|---|---|
| Перед каждым использованием или ежедневно |
|
Данный технологический автомобиль предназначен в основном для перевозки людей и грузов вне дорог. Использование этого изделия не по прямому назначению может быть опасным для пользователя и находящихся рядом людей.
Внимательно прочтите данное Руководство, чтобы знать, как правильно использовать и обслуживать машину, не допуская ее повреждения и травмирования персонала. Вы несете ответственность за правильное и безопасное использование машины.
Посетите веб-сайт www.Toro.com для получения информации о технике безопасности при работе с изделием, обучающих материалов по эксплуатации изделия, информации о принадлежностях, а также для получения помощи в поисках дилера или для регистрации вашего изделия.
Для выполнения технического обслуживания, приобретения оригинальных запчастей Toro или получения дополнительной информации обращайтесь в сервисный центр официального дистрибьютора или в отдел технического обслуживания компании Toro. Не забудьте при этом указать модель и серийный номер изделия. Рисунок 1 показано местонахождение номера модели и серийного номера на автомобиле. Запишите номера в предусмотренном для этого месте.
Important: С помощью мобильного устройства вы можете отсканировать QR-код на табличке с серийным номером (при наличии), чтобы получить информацию по гарантии и запчастям, а также другие сведения об изделии.

Для выделения информации в данном руководстве используются два слова. Внимание — привлекает внимание к специальной информации, относящейся к механической части машины, и Примечание — выделяет общую информацию, требующую специального внимания.
Символ предупреждения об опасности (Рисунок 2) используется как в этом руководстве, так и на машине для обозначения важных указаний о безопасности, которых вы должны придерживаться для предотвращения несчастных случаев. Этот символ также сопровождается надписью Опасно! (Danger), Внимание! (Warning) или Предупреждение! (Caution).
Опасно! указывает на непосредственно опасную ситуацию, которая, если ее не предотвратить, приведет к серьезным травмам, в том числе с летальным исходом.
Внимание! указывает на потенциально опасную ситуацию, которая, если ее не предотвратить, может привести к серьезным травмам, в том числе с летальным исходом.
Предупреждение! указывает на потенциально опасную ситуацию, которая, если ее не предотвратить, может привести к травмам легкой или средней тяжести.

Данное изделие удовлетворяет всем соответствующим европейским директивам; подробные сведения содержатся в документе «Декларация соответствия» на каждое отдельное изделие.
КАЛИФОРНИЯ
Положение 65, Предупреждение
Силовой кабель содержит свинец - химическое вещество, которое в штате Калифорния расцениваются как вызывающее врожденные дефекты и нарушающие репродуктивную функцию. После работы с этим кабелем необходимо мыть руки.
Полюсные выводы аккумуляторной батареи, клеммы, и сопутствующие принадлежности содержат свинец и соединения свинца - химические вещества, которые в штате Калифорния расцениваются как вызывающие рак и нарушающие репродуктивную функцию. После работы с этими элементами необходимо мыть руки.
Конструкция данной машины разработана в соответствии с требованиями стандарта SAE J2258 (ноябрь 2016 г.).
Нарушение правил работы с данным изделием может стать причиной травм. Во избежание тяжелых травм следует всегда соблюдать все правила техники безопасности.
Перед запуском двигателя машины прочитайте и изучите содержание настоящего Руководства оператора. Убедитесь, что все лица, эксплуатирующие изделие, знают, как его применять, и понимают все предупредительные надписи.
При работе на данной машине следует быть предельно внимательным. Во избежание травмирования людей или повреждения имущества запрещается отвлекаться во время работы.
Запрещается помещать руки и ноги рядом с движущимися компонентами машины.
Запрещается эксплуатировать данную машину без установленных на ней исправных ограждений и других защитных устройств.
Не допускайте посторонних лиц и детей в рабочую зону. Запрещается допускать детей к эксплуатации машины.
Перед техническим обслуживанием остановите и выключите машину, извлеките ключ.
Нарушение правил
эксплуатации или
технического обслуживания
машины может привести
к травме. Чтобы
снизить вероятность
травмирования,
следует выполнять
правила техники
безопасности и
всегда обращать
внимание на символы,
предупреждающие
об опасности (
, которые
имеют следующее
значение: «Предупреждение!»,
«Осторожно!» или
«Опасно!» – указания
по обеспечению
личной безопасности.
Несоблюдение данных
инструкций может
стать причиной
травмы или гибели.
![]() |
Предупреждающие наклейки и инструкции по технике безопасности должны быть хорошо видны оператору и установлены во всех местах потенциальной опасности. Заменяйте поврежденные или утерянные наклейки. |











Note: Определите левую и правую стороны автомобиля относительно рабочего места оператора.
Детали, требуемые для этой процедуры:
| Рулевое колесо | 1 |
| Крышка рулевого колеса | 1 |
| Шайба (½ дюйма) | 1 |
| Пылезащитная крышка | 1 |
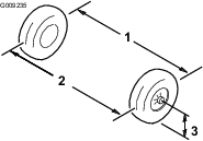
Если установлена крышка, снимите ее со ступицы рулевого колеса (Рисунок 3).
Отверните контргайку (½ дюйма) с рулевого вала (Рисунок 3).
Наденьте рулевое колесо, пылезащитную крышку и шайбу (½ дюйма) на рулевой вал (Рисунок 3).
Note: Установив передние колеса прямо вперед, поверните рулевое колесо так, чтобы малая спица рулевого колеса была в вертикальном положении.
Закрепите рулевое колесо на валу контргайкой (½ дюйма) и затяните ее с моментом 18–30 Н∙м.
Установите крышку на рулевое колесо (Рисунок 3).

Перед эксплуатацией автомобиля проверьте уровень жидкости в аккумуляторах; см. раздел Проверка уровня электролита в аккумуляторах.
Убедитесь, что аккумуляторы заряжены; см. раздел Зарядка аккумуляторов.
Перед эксплуатацией автомобиля проверьте уровень тормозной жидкости; см. раздел Проверка уровня тормозной жидкости.
Проверьте давление воздуха в шинах; см. Проверка давления в шинах.
Для оптимальной работы тормозной системы выполните перед началом эксплуатации приработку тормозов.
Разгоните автомобиль до полной скорости и нажмите на педаль тормоза для быстрой остановки автомобиля без блокировки колес.
Повторите эту операцию 10 раз, делая перерыв между остановками в 1 минуту для предотвращения перегрева тормозов.
Important: Данная операция наиболее эффективна при перемещении автомобилем груза массой 227 кг.
Детали, требуемые для этой процедуры:
| Руководство оператора | 1 |
| Руководство владельца двигателя | 1 |
| Регистрационная карточка | 1 |
| Форма проверки перед доставкой | 1 |
| Сертификат качества | 1 |
| Ключ | 2 |
Прочитайте Руководство оператора и руководство для владельца двигателя.
Заполните регистрационную карточку.
Заполните Форму проверки перед доставкой.
Просмотрите Сертификат качества.


Прежде чем запустить двигатель и начать эксплуатацию машины, ознакомьтесь со всеми органами управления.

Используйте педаль акселератора (Рисунок 6) для изменения скорости движения автомобиля. Нажатие на педаль акселератора запускает автомобиль. Дальнейшее нажатие на педаль акселератора увеличивает скорость движения. При отпускании педали акселератора автомобиль замедляет ход и затем выключается.
Максимальная скорость движения вперед в режиме высокой производительности составляет 26 км/ч, как показано на Рисунок 9.
Максимальная скорость движения вперед в экономичном режиме составляет 19 км/ч, как показано на Рисунок 9.
Педаль тормоза предназначена для остановки или замедления автомобиля (Рисунок 6).
Эксплуатация автомобиля с изношенными или неправильно отрегулированными тормозами может привести к травме.
Если расстояние между нажатой до упора педалью тормоза и полом не превышает 25 мм, тормоза необходимо отрегулировать или отремонтировать.
Рычаг стояночного тормоза расположен на панели управления (Рисунок 6).
Всегда при выключении машины включайте стояночный тормоз, чтобы предотвратить случайное движение машины. Если автомобиль паркуется на крутом склоне, убедитесь, что стояночный тормоз включен.
Для включения стояночного тормоза потяните его рычаг на себя (Рисунок 7).

Для выключения стояночного тормоза нажмите кнопку сверху рычага стояночного тормоза, потяните рычаг на себя, чтобы снять c него усилие, а затем передвиньте рычаг стояночного тормоза вперед (Рисунок 8).

Переключатель выбора направления движения расположен слева от рычага стояночного тормоза. У переключателя выбора направления движения есть три положения: Передний ход, Задний ход) и Нейтраль (Рисунок 6).
Note: На машине может быть включено любое из 3 положений, но она может перемещаться только в положениях FORWARD (Передний ход) и REVERSE (Задний ход).
Important: Перед изменением направления движения следует остановить автомобиль.
Переключатель звукового сигнала расположен на панели управления (Рисунок 6). Нажимайте переключатель звукового сигнала для подачи звукового сигнала.
Используйте выключатель освещения (Рисунок 6) для включения фар. Нажмите на выключатель вверх для включения фар. Нажмите на выключатель вниз для выключения осветительных приборов.
Индикатор разряда аккумулятора расположен слева от рулевой колонки (Рисунок 6). Индикатор разряда аккумулятора показывает оставшийся заряд аккумуляторов. Когда аккумуляторные батареи автомобиля полностью заряжены, видны десять полос индикатора в диапазоне от 0 до 1. При снижении заряда полосы индикатора исчезают, начиная с правой стороны индикатора. Подробную информацию по индикатору заряда аккумуляторов см. в Принцип действия и использование системы аккумуляторов .
Счетчик моточасов расположен справа от выключателя освещения (Рисунок 6). Используйте счетчик моточасов, чтобы определить общую наработку в часах. Счетчик моточасов начинает отсчет при повороте ключа замка зажигания в положение Вкл., а также при пуске автомобиля.
Note: Когда автомобиль работает, счетчик моточасов непрерывно мигает, записывая наработку автомобиля.
Розетка питания USB расположена слева от рычага стояночного тормоза (Рисунок 6). Используйте розетку питания USB для подключения мобильных устройств.
Important: Когда вы не используете розетку USB, вставьте резиновую заглушку для предотвращения повреждения розетки.
Используйте ключ замка зажигания (Рисунок 6) для запуска и останова двигателя автомобиля.
Замок зажигания имеет 2 положения: Вкл. и Выкл.. Поверните ключ по часовой стрелке в положение Вкл., чтобы привести автомобиль в действие. После остановки автомобиля поверните ключ против часовой стрелки в положение Выкл., чтобы выключить двигатель. Всегда вынимайте ключ, когда оставляете автомобиль без присмотра.
Контрольный переключатель ограничения скорости, расположенный под сиденьем в сборе, имеет два положения: Режим высокой производительности и Экономичный режим. Поверните переключатель по часовой стрелке в положение Экономичный режим, чтобы ограничить максимальную скорость автомобиля значением 19 км/ч. Поверните переключатель против часовой стрелки в положение Режим высокой производительности, чтобы восстановить максимальную скорость автомобиля, равную 26 км/ч, как показано на Рисунок 9.

Световой индикатор состояния расположен справа от рычага стояночного тормоза на панели управления (Рисунок 6).
Когда питание автомобиля включено, зеленый световой индикатор горит непрерывно или мигает.
Если индикатор горит непрерывно, это означает, что автомобиль готов к штатной эксплуатации. Если индикатор мигает, это означает, что имеется нарушение, которое необходимо устранить перед продолжением штатной эксплуатации автомобиля.
Если световой индикатор состояния мигает два раза, это означает, что переключатель выбора направления движения установлен в положение Передний ход или Задний ход, но включен стояночный тормоз. Выключите стояночный тормоз, чтобы погас индикатор состояния.
Если индикатор состояния мигает больше двух раз, см. .
Поручни для пассажиров расположены снаружи каждого сиденья (Рисунок 10).

Note: Технические характеристики и конструкция автомобиля могут быть изменены без уведомления.
| Сухая масса | 633 кг (без заправки) |
| Номинальная грузоподъемность (на горизонтальной поверхности). | Всего 544 кг, включая массу оператора 91 кг, пассажира 91 кг, груза, вспомогательных приспособлений и навесного оборудования |
| Полная масса автомобиля (GVW) – на ровной горизонтальной поверхности | Всего 1177 кг, включая все массы, перечисленные выше |
| Максимальная грузоподъемность (на горизонтальной поверхности). | Всего 363 кг, включая установленные сзади вспомогательные приспособления |
| Максимальная грузоподъемность заднего крепления принадлежностей на грузовом кузове | Всего 45 кг |
| Грузоподъемность буксируемого прицепа | Масса сцепного устройства: 91 кг |
| Полная масса прицепа (GTW): 680 кг | |
| Габаритная ширина | 119 см |
| Габаритная длина | 302 см |
| Габаритная высота | 127,5 см |
| Дорожный просвет | 21,6 см в передней части без груза или оператора |
| 14 см в задней части без груза или оператора | |
| Колесная база | 220 см |
| Ширина колеи (по осям колес) | Спереди: 119 см |
| Сзади: 119 см | |
| Длина грузового кузова | Внутренний размер: 102 см |
| Наружный размер: 114,3 см | |
| Ширина грузового кузова | Внутренний размер: 98 см |
| По наружным краям формованных крыльев: 107,3 см | |
| Высота грузового кузова | 28 см внутри |
Указанные технические характеристики действительны при использовании аккумуляторов Trojan T-125.
При установке нестандартных аккумуляторов грузоподъемность грузового кузова может снизиться.
Для улучшения и расширения возможностей машины можно использовать ряд утвержденных компанией Toro вспомогательных приспособлений и навесного оборудования. Обратитесь в сервисный центр официального дилера или дистрибьютора или посетите сайт www.Toro.com, на котором приведен список всех утвержденных навесных орудий и вспомогательных приспособлений.
Для поддержания оптимальных рабочих характеристик машины и регулярного прохождения сертификации безопасности всегда приобретайте только оригинальные запасные части и приспособления компании Toro. Использование запасных частей и приспособлений, изготовленных другими производителями, может быть опасным и привести к аннулированию гарантии на изделие.
Детям или людям, не имеющим соответствующей подготовки или физических возможностей запрещается эксплуатировать или выполнять обслуживание машины. Минимальный возраст оператора устанавливается местными правилами и нормами. Владелец несет ответственность за подготовку всех операторов и механиков.
Ознакомьтесь с приемами безопасной эксплуатации оборудования, органами управления и знаками безопасности.
Прежде чем покинуть рабочее место оператора, выключите машину, извлеките ключ и дождитесь остановки всех движущихся частей. Дайте машине остыть перед регулировкой, техническим обслуживанием, очисткой или помещением на хранение.
Изучите порядок быстрого останова и выключения машины.
Убедитесь в том, что число людей, находящихся в машине (вы и ваш пассажир(пассажиры)), не превышает количество поручней, установленных на машине.
Проверьте, чтобы все защитные устройства и предупреждающие наклейки находились на штатных местах. Замените или отремонтируйте все защитные устройства и замените все неразборчивые или отсутствующие наклейки. Не приступайте к эксплуатации машины, пока не убедитесь в наличии и правильной работе защитных устройств.
| Периодичность технического обслуживания | Порядок технического обслуживания |
|---|---|
| Перед каждым использованием или ежедневно |
|
Каждый день перед запуском автомобиля необходимо выполнять «Процедуру ежедневного обслуживания», описанную в разделе .
| Периодичность технического обслуживания | Порядок технического обслуживания |
|---|---|
| Перед каждым использованием или ежедневно |
|
Давление воздуха в шинах передних и задних колес: от 1,65 до 2,07 бар.
Important: Не превышайте максимально допустимое давление, указанное на боковине шины.
Note: Необходимое давление в шинах определяется полезной нагрузкой, которую вы собираетесь перевезти.
Проверьте давление воздуха в шинах.
Используйте более низкое давление в шинах при более низких нагрузках для меньшего уплотнения почвы, более плавного хода и уменьшения давления шин на грунт.
Используйте более высокое давление в шинах при транспортировке более тяжелых грузов и при более высокой скорости.
Если необходимо, отрегулируйте давление воздуха в шинах, подкачав шины или стравив из них воздух.

В автомобиле установлено 8 свинцово-кислотных аккумуляторов глубокого разряда, которые обеспечивают питание двигателя и вспомогательных приспособлений. Аккумулятор глубокого разряда отличается от обычного автомобильного аккумулятора. Обычный автомобильный аккумулятор рассчитан на обеспечение большой мощности при запуске автомобиля и средней мощности для работы осветительных приборов и вспомогательных приспособлений, когда двигатель не работает или работает на холостом ходу. При этом генератор непрерывно заряжает аккумулятор во время работы автомобиля. В таком режиме заряд в автомобильных аккумуляторах редко падает ниже 90% от максимального уровня заряда.
Аккумулятор глубокого разряда рассчитан на работу в качестве основного источника энергии и на обеспечение постоянной выходной мощности. Аккумуляторы глубокого разряда обычно разряжаются до 20-30% от максимального уровня заряда. Такой сильный разряд считается «глубоким» разрядом.
Important: Повторяющиеся циклы глубокого разряда сокращают срок службы аккумуляторов.
Свинцово-кислотные аккумуляторы генерируют электричество в результате химической реакции между свинцовыми пластинами и серной кислотой. При зарядке аккумулятора происходит обратная химическая реакция, что позволяет аккумулятору снова генерировать электричество.
Аккумуляторы являются недолговечными изделиями, имеющими ограниченный срок службы (Рисунок 12). Чтобы достичь эффективной выработки электроэнергии, новому аккумулятору требуется определенный период приработки. Для этого периода приработки, как правило, требуется от 100 до 150 циклов разряда/заряда.

После периода приработки аккумулятор сохраняет высокую емкость в течение большого количества циклов. Количество циклов, которое может выдержать аккумулятор в процессе эксплуатации, зависит от следующих факторов:
Техническое обслуживание аккумулятора: неправильное обслуживание может значительно сократить срок службы аккумулятора.
Глубина разряда между циклами заряда: чем больше аккумуляторы разряжаются регулярно между зарядами, тем короче будет срок службы аккумуляторов.
Периодичность заряда: полностью заряжайте аккумуляторы при первой же возможности.
Important: Полный разряд аккумуляторов повредит их и сократит срок службы.
Низкий уровень электролита: контакт свинцовых пластин с воздухом может привести к неустранимому повреждению аккумуляторов.Для поддержания уровня электролита выполните следующие действия:
После полного заряда аккумуляторов заполните аккумуляторы дистиллированной или деионизированной водой; см. Проверка уровня электролита в аккумуляторах и Добавление дистиллированной или деионизированной воды в аккумуляторы.
Important: Полностью зарядите аккумуляторы, прежде чем добавлять в них воду. Во время зарядки объем электролита увеличивается, поэтому заполнение аккумулятора до его полного заряда может привести к выливанию электролита и его вытеканию из вентиляционных отверстий.
К концу срока службы аккумуляторы постепенно теряют электрическую емкость.
Когда аккумуляторы полностью заряжены, на индикаторе разряда горят все десять полос (Рисунок 13).

При эксплуатации автомобиля полосы исчезают по мере расхода электрической емкости аккумуляторов.
Если на индикаторе разряда аккумуляторов остается только две полосы слева, пора зарядить аккумуляторы (Рисунок 14).

Если продолжить эксплуатацию автомобиля после того, как осталось только две полосы, полосы 1 и 2 будут мигать попеременно.
Important: Когда на индикаторе заряда аккумуляторной батареи остаются всего две полосы, автомобиль может перейти в режим сниженной скорости; этот режим способствует защите аккумуляторных батарей, но продолжительная работа в этом режиме может повредить батареи и (или) автомобиль. Чтобы предотвратить повреждение аккумуляторов и автомобиля, старайтесь не допускать полного разряда аккумуляторов до двух полос слева. Срочно зарядите аккумуляторы.Если аккумуляторы полностью разрядятся, автомобиль выключится. Не допускайте полного разряда аккумуляторов.
Important: Чтобы максимально продлить срок службы аккумуляторов, всегда заряжайте их прежде, чем индикатор разряда достигнет второй полосы слева на экране. При регулярном разряде аккумуляторов ниже уровня второй полосы слева срок службы аккумуляторов сокращается.
| Периодичность технического обслуживания | Порядок технического обслуживания |
|---|---|
| Через первые 100 часа |
|
Для надлежащей работы и длительного срока службы автомобиля проведите обкатку нового автомобиля в соответствии с нормативами.
Регулярно проверяйте уровни тормозной жидкости и электролита в аккумуляторах.
Во время обкатки нового автомобиля старайтесь не тормозить резко в течение первых нескольких часов эксплуатации. Новые тормозные накладки могут не иметь оптимальных рабочих характеристик в течение первых нескольких часов, пока тормоза не пройдут притирку (приработку); см. раздел Приработка тормозов.
Все специальные проверки после малого пробега описаны в разделе .
Проверьте положение передней подвески и, если необходимо, отрегулируйте его; см. раздел Регулировка углов установки передних колес.
Владелец или пользователь несет полную ответственность за любые несчастные случаи с людьми, а также за нанесение ущерба имуществу, и должен предпринять все меры для предотвращения таких случаев.
Пассажиры должны находиться только на специально предназначенных для этого сиденьях. Перевозка пассажиров в грузовом кузове запрещена. Следите, чтобы посторонние лица и домашние животные находились на достаточном расстоянии от автомобиля во время его работы.
Используйте подходящую одежду, включая защитные очки, длинные брюки, прочную нескользящую обувь. Закрепляйте длинные волосы на затылке и не носите свободную одежду и ювелирные украшения.
Будьте предельно внимательны при работе на данной машине. Во избежание травмирования людей или повреждения имущества запрещается отвлекаться во время работы.
Запрещается управлять машиной в состоянии болезни, усталости, а также под воздействием алкоголя или сильнодействующих лекарственных препаратов.
Запрещается превышать полную разрешенную массу машины (GVW).
Соблюдайте повышенную осторожность при торможении или повороте на машине с тяжелым грузом в грузовом кузове.
Перевозка грузов больших размеров в грузовом кузове изменяет устойчивость автомобиля. Не превышайте предельную грузоподъемность кузова.
На рулевое управление, торможение и устойчивость автомобиля отрицательно влияет вес перевозимых грузов, которые нельзя жестко привязать к машине. При перевозке материала, который нельзя привязать к машине, соблюдайте меры предосторожности при рулевом управлении или торможении.
Снижайте нагрузку и скорость машины при движении по пересеченной местности, на неровном грунте, рядом с бордюрами, ямами и другими резкими изменениями рельефа. Груз может сместиться, при этом машина станет неустойчивой.
Прежде чем запускать двигатель машины, убедитесь в том, что коробка передач находится в нейтральном положении, стояночный тормоз включен и вы находитесь на рабочем месте оператора.
Вы и ваши пассажиры должны оставаться на сиденьях все время, пока автомобиль находится в движении. Держите обе руки на рулевом колесе; пассажиры должны держаться за предусмотренные поручни. Руки и ноги должны не должны выступать за габариты корпуса машины.
Машину разрешается эксплуатировать только в условиях хорошей видимости. Остерегайтесь ям, выбоин, ухабов, камней и других скрытых препятствий. При движении по неровной поверхности машина может перевернуться. Высокая трава может скрывать различные препятствия. Будьте осторожны, приближаясь к закрытым поворотам, кустарникам, деревьям или к другим объектам, которые могут ухудшать обзор.
Запрещается эксплуатировать машину в непосредственной близости от ям, канав и насыпей. В случае наезда колесом на край обрыва или канавы, а также в случае обрушения их кромки машина может внезапно опрокинуться.
Будьте внимательны, чтобы избежать столкновения с нависающими сверху предметами, такими как ветки деревьев, дверные косяки и подвесные мостки.
Прежде чем начать движение на машине задним ходом, посмотрите назад и вниз и убедитесь, что путь свободен.
При проезде на этом автомобиле по дорогам общего пользования соблюдайте все правила дорожного движения и используйте все дополнительные средства, требуемые законодательством, такие как осветительные приборы, указатели поворота, знак тихоходного транспортного средства (SMV) и другие, если необходимо.
При появлении в машине аномальной вибрации немедленно остановитесь, заглушите двигатель, дождитесь остановки всех движущихся частей и осмотрите машину на наличие повреждений. Прежде чем возобновлять работу, устраните все повреждения машины.
На мокрых поверхностях тормозной путь автомобиля длиннее, чем на сухих. Чтобы просушить мокрые тормоза, двигайтесь медленно на ровной поверхности, слегка нажимая педаль тормоза.
Движение автомобиля с большой скоростью с последующей быстрой остановкой может вызвать блокировку задних колес, ухудшая управляемость.
Во избежание ожогов не дотрагивайтесь до двигателя, когда двигатель работает или сразу после его останова, так как эти поверхности могут быть достаточно горячими.
Не оставляйте работающую машину без присмотра.
Прежде чем покинуть рабочее место оператора, выполните следующие действия:
Установите машину на ровной поверхности.
Переведите переключатель выбора направления движения в положение Нейтраль.
Включите стояночный тормоз.
Выключите машину и извлеките ключ.
Дождитесь остановки всех движущихся частей.
Запрещается работать на автомобиле, если существует вероятность удара молнией.
Используйте только приспособления и навесное оборудование, утвержденное к применению компанией Toro®.
Запрещается превышать полную массу автомобиля (GVW). Вы должны учитывать собственный вес, вес пассажиров и груз в грузовом кузове, из-за которых увеличивается общая полная масса автомобиля (GVW).
Пассажиры должны находиться только на специально предназначенных для этого сиденьях. Перевозка пассажиров в грузовом кузове запрещена.
Во время движения автомобиля вы и ваши пассажиры должны оставаться на сиденьях.
Увеличение длины автомобиля увеличивает радиус его поворота, поэтому предусматривайте дополнительное пространство для маневрирования.
Note: Конструкцию защиты оператора при опрокидывании (ROPS) с двумя стойками можно приобрести для данного автомобиля в качестве принадлежности. Конструкцию ROPS следует использовать при работе рядом с обрывами, водоемами, на неровной местности или склонах, где автомобиль может опрокинуться. Для получения дополнительной информации обратитесь к официальному дистрибьютору компании Toro.
Основная опасность при работе на склонах — потеря управляемости и опрокидывание автомобиля, которое может привести к травме или гибели.
Осмотрите рабочую площадку, чтобы определить, на каких склонах будет безопасно работать на машине, и установите собственные методики и правила эксплуатации машины на таких склонах. При выполнении этого осмотра всегда руководствуйтесь здравым смыслом и правильно оценивайте ситуацию.
Если у вас возникают трудности при работе на склоне, не эксплуатируйте на нем машину.
Все перемещения на склонах должны быть плавными и выполняться на малой скорости. Не изменяйте резко скорость или направление движения машины.
Старайтесь не работать на влажной траве. Колеса могут потерять сцепление с поверхностью. Опрокидывание может произойти еще до потери сцепления колес с покрытием.
Двигайтесь по склону вверх или вниз по прямой линии.
Если двигатель заглох или автомобиль начинает терять момент инерции при движении вверх по склону, плавно нажмите на тормоз и медленно двигайтесь задним ходом по прямой траектории вниз по склону.
Поворот при движении вверх или вниз по склону может быть опасным. При необходимости поворота на склоне, выполняйте его медленно и осторожно.
Тяжелые грузы ухудшают устойчивость на склоне. Уменьшите массу груза и снизьте скорость автомобиля при движении на склоне или в случае, если груз имеет высокий центр тяжести. Закрепите груз в грузовом кузове автомобиля, чтобы предотвратить его смещение. Будьте крайне осторожны при транспортировке грузов, которые могут легко переместиться (жидкость, скальная порода, песок и т.п.).
Старайтесь не начинать движения, не останавливаться и не поворачивать на склонах, особенно при наличии груза. При остановке на спуске со склона остановочный путь будет длиннее, чем на горизонтальной поверхности. При остановке автомобиля старайтесь резко не изменять скорость, так как при этом автомобиль может опрокинуться или перевернуться. Не нажимайте резко на тормоз при свободном скатывании назад, так как при этом автомобиль может перевернуться.
При работе с грузом в грузовом кузове и (или) при буксировке прицепа не превышайте разрешенную максимальную массу автомобиля (GVW); см. раздел Технические характеристики.
Распределяйте груз в грузовом кузове равномерно, чтобы повысить устойчивость и управляемость автомобиля.
Перед выгрузкой убедитесь, что позади автомобиля никого нет.
Запрещается разгружать кузов, когда автомобиль стоит поперек склона. Перераспределение веса может привести к опрокидыванию автомобиля.
Падение поднятого кузова может стать причиной тяжелых травм у людей, работающих под ним.
Прежде чем выполнять работу под кузовом, обязательно установите опорную стойку, чтобы удерживать кузов в поднятом положении.
Прежде чем поднимать кузов удалите из него весь загруженный материал.
Перемещение автомобиля с поднятым грузовым кузовом повышает опасность опрокидывания или переворачивания автомобиля. Перемещение автомобиля с поднятым кузовом может привести к повреждению конструкции кузова.
Управлять автомобилем разрешено только при опущенном грузовом кузове.
После опорожнения грузового кузова опустите его.
Если груз сконцентрирован в задней части грузового кузова, при отпускании защелок грузовой кузов может неожиданно опрокинуться, причинив травмы оператору и находящимся поблизости людям.
По возможности старайтесь расположить груз по центру в грузовом кузове.
При отпускании защелок придерживайте грузовой кузов, предварительно убедившись, что никто не наклонился под кузовом или не стоит позади него.
Удалите весь груз из кузова, прежде чем поднимать его и производить техническое обслуживание автомобиля.
Масса кузова может быть большой. Может произойти сдавливание рук или других частей тела.
При опускании кузова держите руки и другие части тела на безопасном расстоянии.
После разгрузки сыпучего материала, например песка, камней или деревянных опилок, из грузового кузова автомобиля некоторая часть разгружаемого материала может попасть в зону шарнира откидного борта. Прежде чем закрывать откидной борт, выполните следующие действия.
Вручную удалите как можно больше такого материала из зоны шарнира.
Установите откидной борт в положение под углом приблизительно 45° (Рисунок 18).

Короткими движениями, встряхивая, переместите откидной борт назад и вперед несколько раз (Рисунок 18).
Note: Это действие поможет удалить материал из зоны шарнира.
Опустите откидной борт и проверьте наличие оставшегося материала в зоне шарнира.
Повторяйте действия 1–4 до полного удаления материала из зоны шарнира.
Поверните откидной борт вверх и поднимите его до посадки в выемки в грузовом кузове.
Используйте заднее крепление для принадлежностей на грузовом кузове для присоединения вспомогательных приспособлений к задней части автомобиля.
Грузоподъемность: 45 кг
Ослабьте Т-образную рукоятку, повернув ее по часовой стрелке (Рисунок 19).

Вставьте вспомогательное приспособление в приемное устройство до совмещения отверстий (Рисунок 19).
Закрепите смонтированное вспомогательное приспособление на трубе приемного устройства при помощи шплинтуемого штифта и игольчатого шплинта, поставляемых в комплекте со вспомогательным приспособлением.
Затяните Т-образную рукоятку, повернув ее против часовой стрелки (Рисунок 20).

Important: При остановке автомобиля на уклоне используйте рабочие тормоза, чтобы остановить автомобиль, и включите стояночный тормоз, чтобы удержать автомобиль на месте. Использование педали акселератора для удерживания автомобиля на холме может привести к перегреву двигателя или разрядке аккумуляторов.
Снимите ногу с педали акселератора.
Медленно нажмите педаль тормоза, чтобы задействовать рабочие тормоза, и удерживайте педаль до тех пор, пока автомобиль полностью не остановится.
Note: Остановочный путь может изменяться в зависимости от нагрузки и скорости автомобиля.
При загрузке кузова и управлении автомобилем соблюдайте следующие указания:
Не превышайте грузоподъемность автомобиля и ограничивайте массу перевозимого в кузове груза, как описано в разделе Технические характеристики и указано на табличке полной массы автомобиля.
Note: Номинальная грузоподъемность указана только для эксплуатации автомобиля на ровной поверхности.
При работе автомобиля на склонах и неровной поверхности следует снизить массу перевозимого груза.
Снижайте массу груза при перевозке высоких грузов (с высоко расположенным центром тяжести), таких как штабель из кирпичей, лесоматериалы или пакеты с удобрениями. Распределите груз как можно ниже, чтобы он не ухудшал обзор зоны позади автомобиля во время работы.
Держите груз по центру кузова, загружая его следующим образом:
Равномерно распределите вес груза в кузове по сторонам.
Important: Опасность переворачивания автомобиля увеличивается, если груз в кузове сосредоточен на одной стороне.
Равномерно распределите вес груза в кузове от передней до задней части.
Important: При расположении груза позади заднего моста сцепление передних шин с грунтом уменьшается, что может привести к потере управляемости или опрокидыванию автомобиля.
Соблюдайте дополнительные меры предосторожности при транспортировке крупногабаритных грузов в кузове, в особенности при невозможности разместить вес крупногабаритного груза по центру кузова.
По возможности закрепляйте груз, привязывая его к грузовому кузову, чтобы он не смещался.
При транспортировке жидкостей соблюдайте меры предосторожности при движении машины вверх или вниз по склону, при резком изменении скорости, резкой остановке или при движении по неровной поверхности.
Вместимость грузового кузова составляет 0,28 м3. Количество (объем) материала, которое можно поместить в кузов, не превысив номинальной грузоподъемности автомобиля, может значительно изменяться в зависимости от плотности материала.
См. предельные значения объема загрузки различных материалов в следующей таблице:
| Материал | Плотность | Максимальная вместимость кузова (на ровной горизонтальной поверхности) |
| Гравий, сухой | 1522 кг/м3 | Полный |
| Гравий, влажный | 1922 кг/м3 | ¾ полного объема |
| Песок, сухой | 1442 кг/м3 | Полный |
| Песок, влажный | 1922 кг/м3 | ¾ полного объема |
| Древесина | 721 кг/м3 | Полный объем |
| Кора | < 721 кг/м3 | Полный объем |
| Земля, упакованная | 1602 кг/м3 | ¾ полного объема (приблизительно) |
Прежде чем покинуть рабочее место оператора, выполните следующие действия:
Установите машину на ровной поверхности.
Переведите переключатель выбора направления движения в положение Нейтраль.
Включите стояночный тормоз.
Выключите машину и извлеките ключ.
Дождитесь остановки всех движущихся частей.
Дайте машине остыть перед регулировкой, техническим обслуживанием, очисткой или помещением на хранение.
Запрещается хранить автомобиль или емкость с топливом в местах, где есть открытое пламя, искры или малая горелка, используемая, например, в водонагревателе или другом оборудовании.
Следите, чтобы все компоненты автомобиля были в исправном состоянии, а все крепежные детали были затянуты.
Производите техническое обслуживание и очистку ремня (ремней) безопасности по мере необходимости.
Если предупреждающая наклейка изношена, повреждена или отсутствует, установите новую наклейку.
Будьте осторожны при погрузке машины в прицеп или грузовик, а также или ее выгрузке.
Для погрузки автомобиля на прицеп или грузовик используйте наклонные въезды полной ширины.
Надежно привяжите автомобиль в точках крепления.
См. местонахождение точек крепления автомобиля на Рисунок 21 и Рисунок 22.
Note: Погрузите автомобиль на прицеп передней стороной по направлению движения. При отсутствии такой возможности прикрепите ремнем капот автомобиля к раме или снимите капот, закрепите и перевезите его отдельно. В противном случае возможен срыв капота во время транспортировки под воздействием встречного воздушного потока.
Незакрепленные сиденья могут отсоединиться от автомобиля и выпасть из прицепа во время транспортировки автомобиля, что может привести к повреждению других транспортных средств или создать помеху на дороге.
Снимите сиденья или убедитесь в том, что сиденья зафиксированы поворотными штифтами.


В экстренном случае автомобиль можно отбуксировать на небольшое расстояние, однако буксировка не должна являться стандартной рабочей процедурой.
Буксировка на повышенной скорости может вызвать потерю рулевого управления и стать причиной травмы.
Запрещается буксировка автомобиля со скоростью свыше 8 км/ч.
Буксировку автомобиля должны выполнять два человека. Если автомобиль требуется перевезти на значительное расстояние, транспортируйте его на грузовом автомобиле или прицепе Буксировка прицепа.
Выключите автомобиль и извлеките ключ из замка зажигания.
Important: Буксировка автомобиля с ключом, оставленным в положении Вкл., может привести к повреждению электрической системы.
Прикрепите буксирный трос к сцепному устройству в передней части рамы автомобиля (Рисунок 21).
Выключите стояночный тормоз.
Этот автомобиль может буксировать прицепы. Для данной машины выпускаются буксирные сцепки; для получения подробной информации свяжитесь с официальным дистрибьютором компании Toro.
Не допускается перегружать автомобиль или прицеп при перевозке груза или буксировке прицепа. Перегрузка автомобиля или прицепа может привести к ухудшению рабочих характеристик или повреждению тормозов, моста, двигателя, коробки передач, рулевого управления, подвески, конструкции корпуса или шин.
Всегда загружайте прицеп таким образом, чтобы 60% массы груза находились в передней части прицепа. При этом тягово-сцепное устройство автомобиля будет воспринимать приблизительно 10% от полной массы прицепа (GTW).
Чтобы гарантировать эффективность торможения и тяги, всегда нагружайте кузов при буксировке прицепа. Не превышайте предельные значения GTW или GVW.
Старайтесь не парковать автомобиль с прицепом на склоне. При вынужденной парковке на склоне включите стояночный тормоз и заблокируйте колеса прицепа.
Не допускайте к обслуживанию автомобиля необученный персонал.
Прежде чем покинуть рабочее место оператора, выполните следующие действия:
Установите машину на ровной поверхности.
Переведите переключатель выбора направления движения в положение Нейтраль.
Включите стояночный тормоз.
Выключите машину и извлеките ключ.
Дождитесь остановки всех движущихся частей.
Дайте машине остыть перед регулировкой, техническим обслуживанием, очисткой или помещением на хранение.
Каждый раз при работе под машиной используйте для поддержки машины подъемные опоры.
Запрещается работать под поднятым кузовом, не установив надлежащую опорную стойку кузова на место.
Запрещается заряжать аккумуляторы во время техобслуживания машины.
Чтобы убедиться в полностью исправном состоянии машины, проверьте правильность затяжки всех крепежных деталей.
Для уменьшения опасности возгорания не допускайте скопления на машине чрезмерного количества смазки, травы, листьев и грязи.
По возможности не выполняйте техническое обслуживание на машине с работающим двигателем. Держитесь на безопасном расстоянии от движущихся частей.
Если для выполнения регулировок при техническом обслуживании двигатель должен работать, держите руки, ноги, одежду и другие части тела на безопасном расстоянии от всех движущихся частей. Не разрешайте посторонним приближаться к машине.
Проверьте работу стояночного тормоза в соответствии с рекомендациями в регламенте техобслуживания и по мере необходимости отрегулируйте или произведите его обслуживание.
Следите, чтобы все детали машины были в исправном рабочем состоянии и все крепежные детали были затянуты надлежащим образом. Заменяйте изношенные или поврежденные наклейки.
Запрещается вмешиваться в работу защитных устройств или снижать степень защиты, обеспечиваемой устройством.
По вопросам, связанным с капитальным ремонтом и техническим обслуживанием, обращайтесь к официальному дистрибьютору компании Toro.
Любая переделка данной машины, которая может повлиять на ее работу, рабочие характеристики, долговечность или использование, может привести к травмам или гибели. Использование автомобиля с внесенными изменениями может привести к аннулированию гарантии компании Toro.
| Периодичность технического обслуживания | Порядок технического обслуживания |
|---|---|
| Через первые 100 часа |
|
| Перед каждым использованием или ежедневно |
|
| Через каждые 25 часов |
|
| Через каждые 100 часов |
|
| Через каждые 300 часов |
|
| Через каждые 400 часов |
|
| Через каждые 800 часов |
|
| Через каждые 1000 часов |
|
Note: Загрузите бесплатную копию электрической схемы, посетив веб-сайт www.Toro.com, где можно найти свою машину, перейдя по ссылке Manuals (Руководства) на главной странице.
Невыполнение требований по надлежащему техническому обслуживанию машины может привести к преждевременному отказу систем машины и возможным травмам оператора или находящихся рядом посторонних лиц.
Своевременно обслуживайте машину и поддерживайте ее в исправном рабочем состоянии, как описано в данном руководстве.
Скопируйте эту страницу для повседневного использования.
| Пункт проверки при техобслуживании | Дни недели: | ||||||
|---|---|---|---|---|---|---|---|
| Понедельник | Вторник | Среда | Четверг | Пятница | Суббота | Воскресенье | |
| Проверьте работу тормоза и стояночного тормоза. | |||||||
| Проверьте переключение передач / нейтральное положение. | |||||||
| Проверьте уровень электролита в аккумуляторах. | |||||||
| Проверьте уровень тормозной жидкости. | |||||||
| Убедитесь в отсутствии посторонних шумов при работе автомобиля. | |||||||
| Проверьте давление воздуха в шинах. | |||||||
| Проверьте систему на наличие утечек жидкостей. | |||||||
| Проверьте работу приборов. | |||||||
| Проверьте работу педали акселератора. | |||||||
| Отремонтируйте поврежденное лакокрасочное покрытие. | |||||||
| Вымойте машину. | |||||||
Important: Если автомобиль подвергается воздействию любого из нижеперечисленных условий, техническое обслуживание должно производиться в два раза чаще:
Эксплуатация в пустыне
Эксплуатация в холодном климате при температуре ниже 10 °C
Буксировка прицепа
Частая эксплуатация в условиях повышенной запыленности
Строительные работы
После продолжительной эксплуатации в иле, песке, воде или в других аналогичных условиях повышенной загрязненности выполните следующие действия:
При первой возможности проверьте и очистите тормоза. Это предотвратит чрезмерный износ, вызываемый любым абразивным материалом.
Промойте машину, используя только воду или воду с мягким моющим средством.
Important: Не допускается использовать для очистки машины солоноватую воду или регенерированные сточные воды.
Многие вопросы, рассматриваемые в этом разделе, посвященном техническому обслуживанию, требуют подъема и опускания кузова. Для предотвращения серьезного травмирования или гибели соблюдайте следующие меры предосторожности.
Поднимите грузовой кузов, прежде чем выполнять техническое обслуживание. Падение поднятого кузова может стать причиной тяжелых травм у людей, находящихся под ним.
Прежде чем выполнять работу под кузовом, обязательно установите опорную стойку, чтобы удерживать кузов в поднятом положении.
Прежде чем поднимать кузов, удалите из него весь загруженный материал.
Установите автомобиль на ровной поверхности.
Переведите переключатель выбора направления движения в положение Нейтраль.
Включите стояночный тормоз.
Отключите машину и извлеките ключ из замка зажигания.
Выгрузите груз из грузового кузова и поднимите кузов.
При использовании домкрата автомобиль может быть неустойчивым. Автомобиль может соскользнуть с домкрата и травмировать находящегося под ним человека.
Не запускайте двигатель, если автомобиль находится на домкрате.
Прежде чем покинуть автомобиль, обязательно выньте ключ из пускового переключателя.
Заблокируйте колеса, если автомобиль поддерживается подъемным оборудованием.
Если вы подняли автомобиль, используйте для его поддержки подъемные опоры.
Important: Когда двигатель автомобиля запускается для планового технического обслуживания и (или) диагностики, задние колеса автомобиля должны быть подняты на 25 мм над землей, а задний мост должен опираться на подъемные опоры.
Точка подъема в передней части автомобиля находится в передней части рамы позади сцепного устройства для буксировки (Рисунок 23).

Точка подъема в задней части автомобиля находится под трубами моста (Рисунок 24).

Установите сиденье в сборе на штифты и опустите его (Рисунок 28).

| Периодичность технического обслуживания | Порядок технического обслуживания |
|---|---|
| Через каждые 300 часов |
|
Характеристики консистентной смазки: Mobilgrease XHP™-222
Поднимите переднюю часть автомобиля и зафиксируйте ее с помощью подъемных опор.
Отверните 4 зажимные гайки, которые крепят каждое колесо к ступице (Рисунок 29).

Выверните болты с фланцевыми головками (⅜ x ¾ дюйма), которые крепят кронштейн тормоза в сборе к оси, и отделите тормоз от оси (Рисунок 30).
Note: Прежде чем перейти к следующему пункту, поместите подставки под тормоз в сборе.

Снимите пылезащитную крышку со ступицы (Рисунок 31).

Снимите шплинт и держатель гайки с оси и гайки оси (Рисунок 31).
Снимите гайку оси с оси и отделите ступицу и тормозной диск в сборе от оси (Рисунок 31 и Рисунок 32).

Начисто протрите ось ветошью.
Повторите действия, описанные в пунктах 1–7, для ступицы и тормозного диска с другой стороны автомобиля.
Снимите наружный подшипник и кольцо подшипника со ступицы (Рисунок 33).

Снимите уплотнение и внутренний подшипник со ступицы (Рисунок 33).
Начисто протрите уплотнение и проверьте его на наличие износа и повреждений.
Note: Запрещается использовать очищающий растворитель для очистки уплотнения. Замените уплотнение в случае его износа или повреждения.
Очистите подшипники и кольца и проверьте их на наличие износа и повреждений.
Note: Замените все изношенные или поврежденный части. Убедитесь, что подшипники и кольца чистые и сухие.
Очистите полость ступицы от всей консистентной смазки, грязи и мусора (Рисунок 33).
Заполните подшипники консистентной смазкой указанного типа.
Заполните полость ступицы на 50–80% консистентной смазкой указанного типа (Рисунок 33).
Установите внутренний подшипник на кольцо с внутренней стороны ступицы и установите уплотнение (Рисунок 33).
Повторите действия с 1 по 8 для подшипников другой ступицы.
Нанесите тонкий слой консистентной смазки указанного типа на ось (Рисунок 34).

Установите ступицу и тормозной диск на ось так, чтобы тормозной диск был внутри (Рисунок 34).
Установите наружный подшипник на ось и в наружное кольцо (Рисунок 34).
Установите стопорную шайбу на ось (Рисунок 34).
Наверните гайку шпинделя на шпиндель и затяните гайку с моментом 15 Н∙м, поворачивая ступицу так, чтобы подшипник был посажен на место (Рисунок 34).
Ослабьте гайку оси до свободного вращения ступицы.
Затяните гайку шпинделя с моментом от 1,70 до 2,26 Н∙м.
Установите держатель поверх гайки и проверьте совмещение паза в держателе с отверстием в оси под шплинт (Рисунок 35).
Note: Если паз держателя и отверстие оси не совмещены, затяните гайку оси, чтобы совместить паз с отверстием, при этом максимальный момент затяжки гайки не должен превышать 2,26 Н∙м.

Установите шплинт и загните обе лапки вокруг держателя (Рисунок 35).
Установите пылезащитную крышку на ступицу (Рисунок 35).
Повторите действия, описанные в пунктах 1–10, для ступицы и тормозного диска с другой стороны автомобиля.
Очистите 2 болта с фланцевыми головками (⅜ x ¾ дюйма) и нанесите слой резьбового герметика средней степени фиксации на резьбовые поверхности болтов.
Совместите тормозные колодки с обеих сторон тормозного диска (Рисунок 30 ) с отверстиями в кронштейне суппорта и отверстиями в креплении тормоза на цапфе (Рисунок 34).
Закрепите кронштейн суппорта на цапфе (Рисунок 30) с помощью 2 болтов с фланцевыми головками (⅜ x ¾ дюйма).
Затяните 2 болта с фланцевыми головками с моментом от 47 до 54 Н∙м.
Совместите отверстия в колесе со шпильками в ступице и установите колесо на ступицу так, чтобы вентиль шины был направлен наружу (Рисунок 29).
Note: Убедитесь, что монтажная поверхность колеса находится на одном уровне со ступицей.
Закрепите колесо на ступице с помощью зажимных гаек (Рисунок 29).
Затяните зажимные гайки с моментом 108-122 Н∙м.
Повторите действия, описанные в пунктах 1 – 5, для тормоза и колеса на другой стороне машины.
Прежде чем приступать к ремонту машины, отсоедините аккумулятор. Сначала отсоедините отрицательную клемму, затем положительную. При повторном подключении аккумулятора сначала подсоедините положительную, затем отрицательную клемму.
Заряжайте аккумулятор в открытом, хорошо проветриваемом месте, вдали от искр и открытого огня. Отсоединяйте зарядное устройство перед подсоединением или отсоединением аккумулятора. Используйте защитную одежду и электроизолированный инструмент.
Для уменьшения потенциальной опасности возгорания не допускайте скопления в области аккумуляторов и двигателя чрезмерного количества смазки, травы, листьев и грязи.
Перед обслуживанием аккумуляторов снимите все ювелирные украшения и часы .
Запрещается заряжать аккумуляторы во время техобслуживания автомобиля.
Всегда отсоединяйте все кабели аккумуляторов перед обслуживанием электрических компонентов; см. раздел Отсоединение аккумуляторов.
Note: При отсоединении всех кабелей аккумуляторов отключается электропитание от электрической системы.
Электролит в аккумуляторе содержит серную кислоту, которая производит газообразный водород, являющийся в определенных условиях взрывоопасным газом . Серная кислота может вызвать ожоги кожи и повредить одежду; а при выделении в виде газа может вызвать повреждение легких.
Всегда обслуживайте, храните и заряжайте аккумулятор автомобиля в хорошо проветриваемых местах.
Следите, чтобы вблизи аккумуляторов не было искр и открытого пламени.
Не курите рядом с аккумуляторами.
Не используйте открытое пламя для проверки уровня или утечки аккумуляторного электролита.
Используйте надлежащие средства защиты глаз, рук и лица.
Никогда не наклоняйтесь над аккумуляторами.
Не вдыхайте газы аккумуляторов.
Заполняйте аккумуляторы в местах, где всегда имеется чистая вода для промывки кожи.
При попадании электролита на кожу или в глаза, промойте поврежденное место в течение 20 минут чистой водой. Снимите одежду, пропитанную кислотой. Немедленно обратитесь за медицинской помощью.
Держите детей и домашних животных подальше от аккумуляторов и электролита.
Электролит – это ядовитое вещество.
Запрещается проглатывать электролит.
В случае проглатывания электролита, если возможно, немедленно дайте пострадавшему выпить большое количество воды, чтобы разбавить электролит.
Не пытайтесь вызвать рвоту.
Незамедлительно позвоните в учреждение по контролю за ядовитыми веществами и обратитесь за медицинской помощью.
Когда аккумуляторы не заполняются, держите вентиляционные крышки всех аккумуляторов плотно затянутыми. Запрещается эксплуатировать автомобиль, если какие-либо вентиляционные крышки отсутствуют или повреждены.
При демонтаже или установке аккумуляторной батареи не допускайте прикосновения ее клемм к металлическим частям автомобиля.
Не допускайте короткого замыкания клемм аккумуляторной батареи металлическими инструментами на металлические части автомобиля.
Не проверяйте заряд аккумуляторов, замкнув накоротко штыри аккумулятора металлическим предметом. При этом возникают искры, которые могут привести к взрыву.
Держатели аккумуляторов должны быть всегда на месте для защиты и фиксации аккумуляторов.
Прочитайте и усвойте инструкции по зарядке аккумуляторов, прежде чем выполнять их зарядку; см. Зарядка аккумуляторов. Кроме того, соблюдайте следующие меры предосторожности при зарядке аккумуляторов:
Перед подсоединением зарядного устройства к источнику питания поверните выключатель питания автомобиля в положение.ВЫКЛ.
Для зарядки аккумуляторов используйте только зарядное устройство, поставляемое в комплекте с автомобилем.
Запрещается заряжать поврежденный или замерзший аккумулятор.
Во избежания образования искр всегда отсоединяйте шнур питания переменного тока от розетки сети перед отсоединением его от зарядной розетки автомобиля.
Если во время зарядки аккумуляторная батарея сильно нагревается, начинает выпускать большое количество газов или разбрызгивать электролит, незамедлительно отсоедините шнур зарядного устройства от розетки сети. Перед возобновлением эксплуатации автомобиля требуется пройти обслуживание у официального дилера.
Прежде чем обслуживать аккумуляторы, поднимите сиденье в сборе и грузовой кузов; см. разделы Подъем и опускание сиденья в сборе и Подъем грузового кузова до положения разгрузки.
Клеммы аккумуляторов или металлические инструменты могут закоротить на металлические детали, вызвав искрение. Искры могут вызвать взрыв аккумуляторных газов, что приведет к получению травмы.
При демонтаже или установке аккумулятора не допускайте прикосновения его клемм к металлическим частям машины.
Не допускайте короткого замыкания клемм аккумуляторной батареи металлическими инструментами на металлические части автомобиля.
При техническом обслуживании аккумуляторов используйте инструменты с изолированными ручками.
Для защиты и фиксации аккумуляторов их держатели всегда должны быть на месте.
Не касайтесь никаких электрических компонентов или контактов на двигателе.
Прикосновение к этим компонентам или контактам может стать причиной тяжелых травм и гибели.
| Периодичность технического обслуживания | Порядок технического обслуживания |
|---|---|
| Через каждые 25 часов |
|
Убедитесь, что все колпачки аккумуляторов плотно закреплены.
Для очистки аккумуляторов используйте бумажные полотенца.
Если клеммы аккумулятора корродировали, очистите их раствором, состоящим из четырех частей воды и одной части пищевой соды. Кроме того, очистите штыри и зажимы кабелей с помощью очистителя для штырей и зажимов.
Note: Штыри и зажимы должны иметь яркий металлический блеск.
Нанесите тонкий слой средства Toro для защиты контактов аккумуляторов.
| Периодичность технического обслуживания | Порядок технического обслуживания |
|---|---|
| Перед каждым использованием или ежедневно |
|
Зарядное устройство автомобиля расположено внутри автомобиля под сиденьем оператора. Для обеспечения максимального срока службы аккумуляторов всегда заряжайте их, когда автомобиль не используется. В зависимости от степени разряда аккумуляторов и их наружной температуры зарядка до полной емкости может занять до 16 часов.
Note: Обычное время зарядки составляет от 8 до 10 часов.
Important: Свинцово-кислотные аккумуляторы не имеют «эффекта памяти», поэтому их не нужно полностью разряжать перед зарядкой. Полная разрядка аккумуляторов может повредить их.Заряжайте аккумуляторы всегда, когда автомобиль не используется.
При зарядке аккумуляторов выделяются газы, которые могут взорваться.
Никогда не курите около аккумуляторов и не допускайте появления искр или пламени вблизи аккумуляторов.
Расположите автомобиль в хорошо проветриваемой зоне рядом с подходящей розеткой электропитания.
Проверьте уровень электролита в аккумуляторах.
Note: После полного заряда аккумуляторов заполните аккумуляторы дистиллированной или деионизированной водой; см. Добавление дистиллированной или деионизированной воды в аккумуляторы.
Important: Полностью зарядите аккумуляторы, прежде чем доливать в них воду. Во время зарядки объем электролита увеличивается, поэтому заполнение аккумулятора до его полного заряда может привести к выливанию электролита и его вытеканию из вентиляционных отверстий.
Подсоедините зарядный шнур типоразмера 16 (или большего диаметра), длиной 2,5 м (или более короткий) к зарядной розетке автомобиля (Рисунок 36).
Note: Убедитесь, что настройка напряжения зарядного устройства совпадает с напряжением используемой сетевой розетки.
Note: При высокой температуре окружающего воздуха снимите сиденье в сборе для обеспечения оптимального времени заряда; см. Демонтаж сиденья в сборе. Если зарядное устройство аккумуляторов будет слишком горячим, оно может не обеспечить должный заряд. В условиях низкой температуры для заряда аккумуляторов может потребоваться более длительное время.

Вставьте шнур питания зарядного устройства в розетку электросети.
Note: Когда аккумуляторы заряжаются, зеленый индикатор на зарядном устройстве мигает (загорается и гаснет). Когда аккумуляторы полностью заряжены, зеленый индикатор на зарядном устройстве перестает мигать и горит постоянным светом.
Отсоедините шнур от розетки сети.
Отсоедините зарядное устройство от автомобиля.
Информацию о значении различных цветов индикатора статуса зарядного устройства см. в следующей таблице и на Рисунок 36.
| Цвет индикатора статуса зарядного устройства | Горит непрерывно / мигает | Значение |
| Зеленый | Горит непрерывно | Зарядка завершена |
| Зеленый | Мигает | Быстрое мигание — заряд менее 80%Медленное мигание — заряд более 80% |
| Желтый | Мигает | Режим пониженной мощности — низкое напряжение сети переменного тока или высокая внутренняя температура зарядного устройства; срочно зарядите аккумуляторы |
| Красный | Мигает | Ошибка зарядного устройства — произведите сброс питания зарядного устройства. Если эту ошибку не удается устранить, см. коды ошибок в руководстве по зарядному устройству. |
| Периодичность технического обслуживания | Порядок технического обслуживания |
|---|---|
| Перед каждым использованием или ежедневно |
|
Припаркуйте автомобиль на ровной поверхности, включите стояночный тормоз, выключите двигатель, извлеките ключ и поднимите грузовой кузов; см. раздел Подъем грузового кузова до положения разгрузки.
Поднимите сиденье в сборе, чтобы получить доступ к аккумуляторам; см. раздел Подъем и опускание сиденья в сборе.
Проверьте смотровые отверстия на каждом аккумуляторе, чтобы определить их цвет (черный или белый) (Рисунок 37).
Note: Если отверстия черные, это означает, что аккумуляторы заполнены жидкостью. Если отверстия белые, это означает, что необходимо добавить воду в аккумуляторы.

Если смотровые отверстия белые, необходимо долить дистиллированную или деионизированную воду в аккумуляторы; см. Добавление дистиллированной или деионизированной воды в аккумуляторы.
| Периодичность технического обслуживания | Порядок технического обслуживания |
|---|---|
| Через каждые 25 часов |
|
Important: Полностью зарядите аккумуляторы, прежде чем добавлять в них воду. Во время зарядки объем электролита увеличивается, поэтому заполнение аккумулятора до его полного заряда может привести к выливанию электролита и его вытеканию из вентиляционных отверстий.
Important: Используйте только чистую, дистиллированную или деионизированную воду для аккумуляторов. Использование воды из-под крана может привести к повреждению и сокращению срока службы аккумуляторов.
Припаркуйте автомобиль на ровной поверхности, включите стояночный тормоз, выключите двигатель, извлеките ключ и поднимите грузовой кузов; см. раздел Подъем грузового кузова до положения разгрузки.
Зарядите аккумуляторы полностью; см. Зарядка аккумуляторов.
Поднимите сиденье в сборе, чтобы получить доступ к аккумуляторам; см. раздел Подъем и опускание сиденья в сборе.
Подсоедините ручной водяной насос Toro к отверстию для заливки воды (Рисунок 38).

Накачивайте воду в аккумуляторы, пока все смотровые отверстия в верхней части аккумуляторов не станут черными, показывая, что аккумуляторы заполнены водой.
Important: Не переполняйте аккумулятор электролитом. Электролит будет выливаться на другие части автомобиля, что может вызвать сильную коррозию и повреждение оборудования. Кроме того, переполнение аккумулятора может сократить срок его службы.
Когда начинает снижаться запас хода автомобиля или значительно сокращается длительность разряда или заряда аккумуляторов, это означает, что аккумуляторы скорее всего изношены и потеряли свою способность удерживать заряд. Отправьте автомобиль официальному дилеру по техническому обслуживанию и попросите его проверить аккумуляторы, чтобы определить, не требуется ли их замена. Дилер может заменить аккумуляторы на автомобиле. При самостоятельной замене аккумуляторов соблюдайте следующий порядок действий:
Поднимите грузовой кузов, поверните ключ в положение Выкл. и извлеките ключ.
Отсоедините главный отрицательный кабель аккумулятора (черный), который соединяет блок аккумуляторов с точкой заземления автомобиля (Рисунок 39).
Note: Главные кабели аккумуляторов имеют большую длину по сравнению с промежуточными соединительными кабелями.

Отсоедините главный положительный кабель аккумулятора (красный), который соединяет блок аккумуляторов с главным контактором автомобиля (Рисунок 39).
Отсоедините все промежуточные соединительные кабели от аккумуляторов.
Снимите держатели аккумуляторов, расположенные между ними.
Снимите все аккумуляторы и утилизируйте их в соответствии с местными правилами.
Установите новые аккумуляторы в автомобиль на места старых аккумуляторов, снятых при выполнении пункта 3.
Note: При установке аккумуляторов обращайте внимание на их полярность (Рисунок 39).
Установите держатели аккумуляторов и затяните гайки так, чтобы держатели надежно фиксировали аккумуляторы.
Соедините аккумуляторы между собой, как показано на Рисунок 39, с помощью промежуточных соединительных кабелей, снятых при выполнении пункта 1.
Убедитесь, что клеммы аккумуляторов чистые и не окислены.
Подсоедините главный положительный кабель аккумулятора (красный) между блоком аккумуляторов и автомобилем (Рисунок 39).
Подсоедините главный отрицательный кабель аккумулятора (черный) между блоком аккумуляторов и автомобилем (Рисунок 39).
Затяните гайки крепления всех кабелей аккумуляторов так, чтобы держатели надежно фиксировали аккумуляторы.
Нанесите тонкий слой средства для защиты контактов аккумуляторов компании Toro на контакты аккумуляторов.
Убедитесь, что резиновые колпачки надежно установлены на клеммы аккумуляторов.
Вставьте ключ в замок зажигания и поверните в положение Вкл..
Опустите грузовой кузов, поверните ключ в замке в положение Выкл. и извлеките ключ.
Полностью зарядите аккумуляторы, прежде чем помещать их на хранение. Подключите зарядное устройство к настенной розетке при хранении автомобиля и аккумуляторов. Оставьте зарядное устройство подсоединенным к настенной розетке и зарядной розетке автомобиля во время хранения, чтобы аккумуляторы могли оставаться заряженными и не замерзали; в противном случае заряжайте аккумуляторы раз в месяц.
Important: Если автомобиль нельзя подключить к сети во время хранения, полностью заряжайте аккумуляторы как минимум один раз в месяц. В течение длительного периода хранения происходит саморазрядка аккумуляторов, в результате которой аккумуляторы могут быть повреждены до такой степени, что станут непригодными к использованию, даже если они новые.
В электрической системе есть 6 плавких предохранителей; другие гнезда являются разомкнутыми для подсоединения дополнительного оборудования.
Плавкие предохранители на 12 и 48 В расположены под сиденьем в сборе, позади аккумулятора, с правой стороны машины (Рисунок 40).

| Звуковой сигнал | 20 A |
| Электрическое реле | 20 A |
| Дополнительный комплект для подъема – разомкнут | 15 A |
| Источник электропитания | 10 A |
| Порт питания USB | 5 A |
| Фары | 10 A |
Отсоедините аккумуляторы; см. Отсоединение аккумуляторов.
Откройте капот.
Отсоедините электрический соединитель жгута проводов от соединителя лампы в сборе (Рисунок 41).

Снимите скобы под саморез, которые крепят фару к кронштейну фары (Рисунок 41).
Note: Сохраните все детали для установки новой фары.
Снимите фару в сборе, подавая ее вперед сквозь отверстие в переднем бампере (Рисунок 41).
Вставьте новую лампу через отверстие в бампере (Рисунок 41).
Note: Убедитесь, что регулировочные стойки выровнены с отверстиями в монтажном кронштейне позади бампера.
Закрепите фару в сборе с помощью скоб под саморез, снятых при выполнении действий, описанных в пункте 4.
Подсоедините электрический соединитель жгута к соединителю лампы в сборе (Рисунок 41).
Отрегулируйте фары так, чтобы направить лучи света в требуемом направлении; см. Регулировка фар.
Используйте следующую процедуру для регулировки луча лампы, когда лампа в сборе заменяется или снимается.
Припаркуйте машину на ровной горизонтальной поверхности; фары должны находиться приблизительно на расстоянии 7,6 м от стены (Рисунок 42).
Измерьте расстояние от пола до центра фары и сделайте на стене отметку на такой же высоте.
Поверните пусковой переключатель в положение Вкл. и включите фары.
Запомните, в каком месте луч фар попадает на стену.
Самая яркая часть луча фары должна быть на 20 см ниже отметки, нанесенной на стене (Рисунок 42).

В задней части узла передней фары поверните регулировочные винты (Рисунок 41), чтобы повернуть фару и изменить положение луча.
Подсоедините аккумуляторы и закройте капот; см. Соединение аккумуляторов.
| Периодичность технического обслуживания | Порядок технического обслуживания |
|---|---|
| Через каждые 100 часов |
|
Осмотрите шины и ободы на наличие признаков износа или повреждений.
Note: Аварии в процессе эксплуатации, такие как удар о бордюрный камень, могут повредить шину или обод, а также нарушить регулировку углов установки колес, поэтому после аварии следует проверить состояние шин.
Затяните зажимные гайки колес с моментом 108–122 Н∙м.
| Периодичность технического обслуживания | Порядок технического обслуживания |
|---|---|
| Через каждые 100 часов |
|
Установив рулевое колесо в среднее положение (Рисунок 43), поверните рулевое колесо влево или вправо. Если вы повернете рулевое колесо более чем на 13 мм влево или вправо и колеса не поворачиваются, проверьте следующие компоненты рулевого управления и подвески, чтобы убедиться в отсутствии их ослабления или повреждений:
Соединение рулевого вала с рулевой рейкой в сборе
Important: Проверьте состояние и надежность уплотнения вала ведущей шестерни (Рисунок 44).
Тяги рулевой рейки в сборе


| Периодичность технического обслуживания | Порядок технического обслуживания |
|---|---|
| Через каждые 100 часов |
|
Проверьте давление воздуха в шинах, чтобы убедиться в том, что передние шины накачаны до 0,83 бар.
Положите груз на сиденье водителя, равный средней массе тела оператора, который управляет автомобилем, или попросите самого оператора сесть на сиденье в этот момент. Масса груза или масса тела оператора должна воздействовать на сиденье на протяжении всего времени выполнения этой процедуры.
На ровной поверхности откатите автомобиль строго назад на 2–3 м, а затем строго вперед в исходное положение запуска. Это позволит подвеске установиться в рабочее положение.
Инструменты, предоставляемые владельцем: гаечный ключ № 132-5069 по каталогу Toro; обратитесь к официальному дистрибьютору компании Toro.
Important: Выполняйте регулировку развала колес только в случае, если используется переднее навесное оборудование или если шины изнашиваются неравномерно.
Проверьте регулировку развала для каждого колеса; развал должен в максимальной степени приближаться к нейтральному (нулевому).
Note: Шины должны быть выровнены таким образом, чтобы протектор располагался равномерно на поверхности земли для предотвращения неровного износа.
Если развал не отрегулирован, используйте ключ, чтобы повернуть кольцо на амортизаторе для выравнивания колеса (Рисунок 45).

Important: Прежде чем регулировать схождение, убедитесь, что развал отрегулирован как можно ближе к нейтральному; см. раздел Регулировка развала.
Измерьте расстояние между обеими передними шинами на уровне моста, с передней и задней стороны передних шин (Рисунок 46).

Если измеренное значение выходит за пределы 0–6 мм, ослабьте контргайки с обоих концов тяг (Рисунок 47).

Поверните обе тяги, чтобы переместить переднюю часть шины внутрь или наружу.
Затяните контргайки тяг, когда будет получена правильная регулировка.
Убедитесь в полном ходе рулевого колеса в обоих направлениях.
| Периодичность технического обслуживания | Порядок технического обслуживания |
|---|---|
| Через каждые 100 часов |
|
Установите машину на ровной поверхности.
Включите стояночный тормоз.
Остановите двигатель и извлеките ключ.
Снимите пробку заливного отверстия в коробке передач (Рисунок 48).
Note: Уровень рабочей жидкости должен быть вровень с нижней кромкой пробки заливного отверстия.

Если уровень жидкости низкий, снимите пробку заливного отверстия и доливайте жидкость указанного типа до тех пор, пока она не начнет вытекать из отверстия (Рисунок 48).
Установите на место пробку заливного отверстия и затяните ее с моментом от 20 до 27 Н∙м.
| Периодичность технического обслуживания | Порядок технического обслуживания |
|---|---|
| Через каждые 100 часов |
|
| Через каждые 800 часов |
|
Тип рабочей жидкости: SAE 10W-30 (класс SJ или выше по API)
Заправочная емкость: 0,66 л
Поместите сливной поддон под крышку коробки передач (Рисунок 49).

Отверните болты с крышки коробки передач и полностью слейте рабочую жидкость (Рисунок 49).
Note: Сохраните крышку коробки передач и болты.
Установите крышку коробки передач, используя ранее снятые болты, и затяните болты с моментом от 22 до 32 Н∙м.
Отверните крышку заливного отверстия в коробке передач и залейте в коробку передач жидкость указанного типа до тех пор, пока она не начнет вытекать из заливного отверстия (Рисунок 48).
Установите на место пробку заливного отверстия и затяните ее с моментом от 20 до 27 Н∙м.
Включите стояночный тормоз, потянув рычаг стояночного тормоза на себя до ощущения натяжения.
Если не ощущается натяжение при вытягивании рычага стояночного тормоза на себя в пределах от 11,4 до 16,5 см от символа «P» на приборной панели, необходимо отрегулировать стояночный тормоз; см. Регулировка стояночного тормоза.
Убедитесь, что стояночный тормоз выключен.
Поднимите заднюю часть автомобиля с помощью подъемных опор; см. Подъем автомобиля.
Используя два ключа, удерживайте регулировочный штырь на суппорте одним ключом и ослабьте контргайку на ¼ оборота другим ключом (Рисунок 50).

Удерживая регулировочный штырь и контргайку на месте, поверните регулировочный штырь для затягивания (Рисунок 50).
Note: Выполняйте это действие до тех пор, пока не почувствуете трение при вращении колеса.
Удерживая регулировочный штырь и контргайку на месте, отверните штырь на ¼ оборота (Рисунок 50).
Удерживая регулировочный штырь и контргайку на месте, затяните контргайку (Рисунок 50).
Выполните действия, описанные в пунктах 1–6, для другой стороны.
Убедитесь, что стояночный тормоз отрегулирован с нужным натяжением; см. Проверка стояночного тормоза.
Note: Если не удается отрегулировать нужное натяжение на стояночном тормозе, это может означать, что тормозные колодки изношены и требуется их замена. За помощью обращайтесь к местному официальному дистрибьютору компании Toro.
| Периодичность технического обслуживания | Порядок технического обслуживания |
|---|---|
| Перед каждым использованием или ежедневно |
|
Тип тормозной жидкости: DOT 3
Установите автомобиль на ровной поверхности, включите стояночный тормоз, выключите двигатель и извлеките ключ.
Поднимите капот, чтобы получить доступ к главному тормозному цилиндру и бачку (Рисунок 51).

Проверьте уровень жидкости в боковой части бачка (Рисунок 52).
Note: Уровень должен быть выше отметки «Минимум».

Если уровень жидкости низкий, выполните следующие действия:
Закройте капот автомобиля.
| Периодичность технического обслуживания | Порядок технического обслуживания |
|---|---|
| Через каждые 100 часов |
|
Important: Тормоза являются важнейшим компонентом безопасности автомобиля. Тщательно проверяйте их через рекомендуемые интервалы техобслуживания, чтобы обеспечить оптимальные рабочие характеристики и безопасность.
Осмотрите тормозные колодки на наличие износа или повреждений. Если толщина накладок (тормозных колодок) меньше 1,6 мм, замените тормозные колодки.
Осмотрите опорную плиту и другие компоненты на наличие признаков чрезмерного износа или деформаций. Замените все деформированные детали.
Проверьте уровень тормозной жидкости; см. Проверка уровня тормозной жидкости.
| Периодичность технического обслуживания | Порядок технического обслуживания |
|---|---|
| Через каждые 400 часов |
|
Свяжитесь с официальным дистрибьютором компании Toro для проведения осмотра и возможной замены колодок рабочего и стояночного тормозов.
| Периодичность технического обслуживания | Порядок технического обслуживания |
|---|---|
| Через каждые 1000 часов |
|
Обратитесь к официальному дистрибьютору компании Toro.
Если защелка грузового кузова не отрегулирована, он будет вибрировать вверх и вниз при движении автомобиля. Вы можете отрегулировать стойки защелок, чтобы они удерживали грузовой кузов плотно прижатым к шасси.
Убедитесь, что грузовой кузов фиксируется защелками.
Note: Если грузовой кузов не фиксируется защелками, то, возможно, ударный выступ защелки кузова расположен слишком низко. Если грузовой кузов фиксируется защелками, но вибрирует вверх и вниз во время движения автомобиля, то ударный выступ защелки расположен слишком высоко.
Поднимите грузовой кузов; см. раздел Подъем грузового кузова до положения разгрузки.
Ослабьте 2 болта на ударном выступе защелки кузова и переместите ударный выступ вверх или вниз, если он расположен слишком низко или слишком высоко (Рисунок 53).

Затяните 2 болта на ударном выступе защелки кузова (Рисунок 53).
Убедитесь в правильности регулировки, защелкнув грузовой кузов несколько раз.
| Периодичность технического обслуживания | Порядок технического обслуживания |
|---|---|
| Перед каждым использованием или ежедневно |
|
Мойте машину по мере необходимости, используя только воду или воду с мягким моющим средством. При мойке машины можно использовать ткань.
Important: Не допускается использовать для очистки машины солоноватую воду или регенерированные сточные воды.
Important: Для данного автомобиля не рекомендуется использовать мойку под давлением. Это может вывести из строя электрическую систему, ослабить важные предупреждающие таблички или смыть необходимую консистентную смазку в трущихся местах. Старайтесь не использовать большое количество воды, особенно около панели управления, двигателя, контроллера двигателя, зарядного устройства, задней части приборной панели и аккумуляторов.
Прежде чем покинуть рабочее место оператора, выключите машину, извлеките ключ и дождитесь остановки всех движущихся частей. Дайте машине остыть перед регулировкой, техническим обслуживанием, очисткой или помещением на хранение.
Запрещается хранить машину или емкость с топливом в местах, где есть открытое пламя, искры или малая горелка, используемая, например, в водонагревателе или другом оборудовании.
Установите автомобиль на ровной поверхности, включите стояночный тормоз, выключите двигатель и извлеките ключ.
Очистите весь автомобиль от грязи и копоти, включая наружные поверхности корпуса двигателя.
Important: Автомобиль можно мыть мягким моющим средством с водой. Не допускается использовать для очистки автомобиля мойку высокого давления. Мойка под давлением может вывести из строя электрооборудование или смыть необходимую консистентную смазку в трущихся местах. Старайтесь не использовать большое количество воды, особенно около панели приборов, осветительных приборов, двигателя и аккумулятора.
Осмотрите тормоза; см. Осмотр тормозов.
Проверьте давление в шинах, обратитесь к Проверка давления в шинах.
Проверьте и затяните все болты, гайки и винты. Отремонтируйте или замените все поврежденные части.
Подкрасьте все поцарапанные или оголенные металлические поверхности.
Note: Краску можно приобрести у официального дилера по техобслуживанию.
Храните автомобиль в чистом, сухом гараже или складском помещении.
Извлеките ключ и уберите его в безопасное место, недоступное для детей.
Накройте автомобиль для его защиты и сохранения в чистоте.
Перед постановкой автомобиля на хранение полностью зарядите аккумуляторы; см. Зарядка аккумуляторов. На время хранения автомобиля и аккумуляторов подключите зарядное устройство к настенной розетке. Оставьте зарядное устройство подсоединенным к настенной розетке и зарядной розетке автомобиля во время хранения, чтобы аккумуляторы могли оставаться заряженными и не замерзали; в противном случае заряжайте аккумуляторы раз в месяц.
Подсоедините зарядное устройство к розетке сети на время хранения для достижения максимального срока службы аккумуляторов.
Important: Если на время хранения автомобиль нельзя подключить к сети электропитания, полностью заряжайте аккумуляторы как минимум один раз в месяц. В течение длительных периодов хранения происходит саморазрядка аккумуляторов, в результате которой аккумуляторы могут быть повреждены до такой степени, что станут непригодными к использованию, даже если они новые.
После полной зарядки аккумуляторов заполните их дистиллированной или деионизированной водой; см. Добавление дистиллированной или деионизированной воды в аккумуляторы.
| Problem | Possible Cause | Corrective Action |
|---|---|---|
| Индикатор статуса автомобиля постоянно горит. |
|
|
| Индикатор статуса автомобиля мигнул 1 раз. |
|
|
| Индикатор статуса автомобиля мигнул 2 раза. |
|
|
| Индикатор статуса автомобиля мигнул 3 раза. |
|
|
| Индикатор статуса автомобиля мигнул 4 раза. |
|
|
| Индикатор статуса автомобиля мигнул 5 раз. |
|
|
| Индикатор статуса автомобиля мигнул 6 раз. |
|
|
| Индикатор статуса автомобиля мигнул 7 раз. |
|
|
| Индикатор статуса автомобиля мигнул 8 раз. |
|
|
| Индикатор статуса автомобиля мигнул 10 раз. |
|
|
| Индикатор статуса автомобиля мигнул 11 раз. |
|
|
| Индикатор статуса автомобиля мигнул 12 раз. |
|
|
| Индикатор статуса автомобиля мигнул 13 раз. |
|
|
| Индикатор статуса автомобиля мигнул 14 раз. |
|
|
| Индикатор статуса автомобиля не горит. |
|
|