| Périodicité d'entretien | Procédure d'entretien |
|---|---|
| À chaque utilisation ou une fois par jour |
|
Cette machine est une tondeuse autoportée à cylindres prévue pour les utilisateurs professionnels employés à des applications commerciales. Elle est principalement conçue pour tondre les pelouses régulièrement entretenues. L'utilisation de ce produit à d'autres fins que celle prévue peut être dangereuse pour vous-même et toute personne à proximité.
Lisez attentivement cette notice pour apprendre comment utiliser et entretenir correctement votre produit, et éviter ainsi de l'endommager ou de vous blesser. Vous êtes responsable de l'utilisation sûre et correcte du produit.
Pour plus d’information, y compris des conseils de sécurité, des documents de formation, des renseignements concernant un accessoire, pour obtenir l'adresse d'un dépositaire ou pour enregistrer votre produit, rendez-vous sur le site www.Toro.com.
Pour obtenir des prestations de service, des pièces Toro d'origine ou des renseignements complémentaires, munissez-vous des numéros de modèle et de série du produit et contactez un dépositaire-réparateur ou le service client Toro agréé. La Figure 1 indique l'emplacement des numéros de modèle et de série du produit sur le longeron avant droit du cadre du produit. Inscrivez les numéros dans l'espace réservé à cet effet.
Important: Avec votre appareil mobile, vous pouvez scanner le code QR sur la plaque du numéro de série (le cas échéant) pour accéder à l'information sur la garantie, les pièces détachées et autres renseignements concernant le produit.

Les mises en garde de ce manuel soulignent des dangers potentiels et sont signalées par le symbole de sécurité (Figure 2), qui indique un danger pouvant entraîner des blessures graves ou mortelles si les précautions recommandées ne sont pas respectées.

Ce manuel utilise deux termes pour faire passer des renseignements essentiels. Important, pour attirer l'attention sur une information d'ordre mécanique spécifique, et Remarque, pour souligner une information d'ordre général méritant une attention particulière.
Ce produit est conforme à toutes les directives européennes pertinentes. Pour plus de renseignements, consultez la Déclaration de conformité spécifique du produit fournie séparément.
Vous commettez une infraction à la section 4442 ou 4443 du Code des ressources publiques de Californie si vous utilisez cette machine dans une zone boisée, broussailleuse ou recouverte d'herbe, à moins d'équiper le moteur d'un pare-étincelles en bon état, tel que défini dans la section 4442, ou à moins que le moteur soit construit, équipé et entretenu correctement pour prévenir les incendies.
Le Manuel du propriétaire du moteur ci-joint est fourni à titre informatif concernant la réglementation de l'Agence américaine pour la protection de l'environnement (EPA) et de la réglementation antipollution de l'État de Californie relative aux systèmes antipollution, à leur entretien et à leur garantie. Vous pouvez vous en procurer un nouvel exemplaire en vous adressant au constructeur du moteur.
CALIFORNIE
Proposition 65 - Avertissement
L'état de Californie considère les gaz d'échappement des moteurs diesel et certains de leurs composants comme susceptibles de provoquer des cancers, des malformations congénitales et autres troubles de la reproduction.
Les bornes de la batterie et accessoires connexes contiennent du plomb et des composés de plomb. L'état de Californie considère ces substances chimiques comme susceptibles de provoquer des cancers et des troubles de la reproduction. Lavez-vous les mains après avoir manipulé la batterie.
L'utilisation de ce produit peut entraîner une exposition à des substances chimiques considérées pas l'état de Californie comme capables de provoquer des cancers, des anomalies congénitales ou d'autres troubles de la reproduction.
Cette machine est conçue en conformité avec la norme EN ISO 5395 (lorsque vous réalisez les procédures d'installation) et la norme ANSI B71.4-2017.
Ce produit peut sectionner les mains ou les pieds et projeter des objets.
Vous devez lire et comprendre le contenu de ce Manuel de l'utilisateur avant de démarrer le moteur.
Accordez toute votre attention à l'utilisation de la machine. Ne vous livrez à aucune activité risquant de vous distraire, au risque de causer des dommages corporels ou matériels.
N'approchez pas les mains ou les pieds des composants mobiles de la machine.
N'utilisez pas la machine s'il manque des capots ou d'autres dispositifs de protection, ou s'ils sont en mauvais état.
N'admettez personne, notamment les enfants, dans le périmètre de travail. N'autorisez jamais un enfant à utiliser la machine.
Avant de quitter la position d'utilisation, coupez le moteur, enlevez la clé et attendez l'arrêt complet de tout mouvement. Laissez refroidir la machine avant de la régler, la nettoyer, la remiser ou la réparer.
L'usage ou l'entretien incorrect de cette machine
peut occasionner des accidents. Pour réduire les risques d'accidents
et de blessures, respectez les consignes de sécurité
qui suivent. Tenez toujours compte des mises en garde signalées
par le symbole de sécurité (
) et la mention
Prudence, Attention ou Danger. Le non respect de ces instructions
peut entraîner des blessures graves voire mortelles.
![]() |
Des autocollants de sécurité et des instructions bien visibles par l'opérateur sont placés près de tous les endroits potentiellement dangereux. Remplacez tout autocollant endommagé ou manquant. |





















Note: Les côtés gauche et droit de la machine sont déterminés d'après la position d'utilisation normale.
Garez la machine sur une surface plane et horizontale, abaissez les unités de coupe et serrez le frein de stationnement.
Coupez le moteur, enlevez la clé de contact et attendez l'arrêt complet de toutes les pièces mobiles.
Contrôlez la pression des pneus avant d'utiliser la machine; voir Contrôle de la pression des pneus.
Note: Les pneus sont surgonflés pour l'expédition. Réglez la pression des pneus avant d'utiliser la machine.
Contrôlez le niveau de lubrifiant du pont arrière; voir Contrôle du niveau d'huile du pont arrière.
Contrôlez le niveau de liquide hydraulique; voir Contrôle du niveau de liquide hydraulique.
Graissez la machine; voir Graissage des roulements et bagues.
Important: Si la machine n'est pas graissée correctement, des pannes prématurées de pièces importantes se produiront.
Ouvrez le capot et vérifiez le niveau de liquide de refroidissement; voir Contrôle du niveau du liquide de refroidissement.
Vérifiez le niveau d'huile moteur, puis refermez et verrouillez le capot; voir Contrôle du niveau d'huile moteur.
Note: À la livraison, le carter moteur contient de l'huile; vérifiez toutefois le niveau d'huile avant et après le premier démarrage du moteur.
Note:
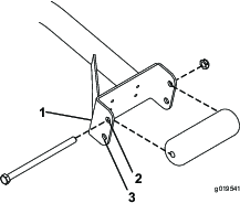
Déterminez si vous avez besoin d'ajuster la position du galet. La largeur de l'unité de coupe que vous installez détermine la position du galet sur le support, comme suit :
Unités de coupe de 66 cm (27 po) – trous de montage supérieurs du support de galet.
Unités de coupe de 81 cm (32 po) – trous de montage inférieurs du support de galet.

Au besoin, retirez la vis, le contre-écrou et le galet.
Placez le galet en face des trous du support.
Fixez le galet sur le support avec la vis et le contre-écrou.
Répétez les opérations 2 à 4 de l'autre côté de la machine.
Pièces nécessaires pour cette opération:
| Guide-flexible avant (côté droit) | 1 |
| Guide-flexible avant (côté gauche) | 1 |
Déposez les moteurs de cylindre des supports de transport.
Retirez les supports d'expédition et mettez-les au rebut.
Sortez les unités de coupe des cartons d'expédition.
Procédez à l'assemblage et au réglage comme expliqué dans le Manuel de l'utilisateur des unités de coupe.
Veillez à monter le contrepoids (Figure 4) du bon côté de l'unité de coupe, comme expliqué dans le Manuel de l'utilisateur de l'unité de coupe.

Toutes les unités de coupe sont expédiées avec le ressort de compensation monté sur le côté droit. Veillez à monter le ressort de compensation sur l'unité de coupe du même côté que le moteur d'entraînement de cylindre.
Note: Lors de la mise en place ou du retrait des unités de coupe, vérifiez que la goupille fendue est insérée dans le trou de la tige de ressort situé près du support de la tige. Sinon, la goupille fendue doit être placée dans le trou au bout de la tige.
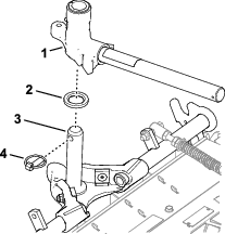
Retirez les 2 boulons de carrosserie et écrous qui fixent le support de tige aux pattes de l'unité de coupe (Figure 5).

Retirez l'écrou à embase qui fixe le boulon du tube de ressort à la patte du bâti porteur (Figure 5) et déposez l'ensemble.
Montez le boulon du tube de ressort sur la patte opposée du bâti porteur et fixez-le en position avec l'écrou à embase.
Note: Placez la tête du boulon sur le côté extérieur de la patte, comme montré à la Figure 6.

Montez le support de tige sur les pattes de l'unité de coupe à l'aide des boulons de carrosserie et des écrous (Figure 6). Sur l'unité de coupe, montez le guide-flexible gauche devant les pattes de l'unité quand vous installez le support de tige (Figure 9).
Sur chaque unité de coupe, fixez la béquille au support de chaîne avec la goupille à fermoir (Figure 7).

Sur les unités de coupe nº 4 (avant gauche) et nº 5 (avant droite), utilisez les écrous de fixation du support de tige pour monter les guides-flexibles devant les pattes de l'unité de coupe. Les guides-flexibles doivent être inclinés en direction de l'unité de coupe centrale (Figure 8, Figure 9 et Figure 10).



Glissez une unité de coupe sous le bras de levage (Figure 15).

Insérez l'arbre du bâti porteur sur la chape de pivot du bras de levage.
Fixez l'arbre du bâti porteur à la chape de pivot avec la goupille à anneau.
Répétez les opérations 1 et 3 aux autres positions des unités de coupe avant.
Glissez une unité de coupe sous le bras de levage (Figure 16).

Insérez l'axe du bras de levage dans le bras et fixez-le à l'aide de la goupille à anneau.
Répétez l'opération 2 pour l'autre unité de coupe arrière.
Retirez la goupille à anneau et la rondelle qui fixent l'axe de pivot du bras de levage au bras de levage, et sortez l'axe de pivot du bras (Figure 17).

Insérez la chape du bras de levage sur l'arbre du bâti porteur (Figure 18).

Glissez une unité de coupe sous le bras de levage (Figure 19).

Insérez l'axe du bras de levage dans le bras et fixez-le à l'aide de la goupille à anneau.
Répétez les opérations 1 à 4 pour l'autre unité de coupe arrière.
Fixez la chaîne du bras de levage au support de la chaîne avec la goupille à fermoir (Figure 20).
Note: Utilisez le nombre de maillons mentionné dans le Manuel de l'utilisateur des unités de coupe.

Enduisez de graisse propre l'arbre cannelé du moteur de cylindre.
Huilez le joint torique du moteur de cylindre et posez-le sur la bride du moteur.
Montez le moteur en le tournant dans le sens horaire jusqu'à ce que les brides passent les boulons (Figure 21).

Tournez le moteur dans le sens antihoraire jusqu'à ce que les brides encerclent les boulons, puis serrez les boulons.
Important: Veillez à ce que les flexibles du moteur de cylindre ne soient pas vrillés ni coudés et ne risquent pas d'être coincés.
Serrez les boulons de montage à un couple de 27 à 45 N·m (27 à 33 pi-lb).

Les 2 pédales (Figure 23) commandent les freins de roues individuels pour faciliter le braquage et l'adhérence à flancs de pentes.

Le verrou de blocage (Figure 23) relie les pédales entre elles pour serrer le frein de stationnement.
Pour serrer le frein de stationnement (Figure 23), reliez les pédales ensemble à l'aide du verrou de blocage, et enfoncez la pédale de frein droite tout en engageant la pédale actionnée du bout du pied. Pour desserrer le frein de stationnement, appuyez sur une des pédales de frein jusqu'à ce que le verrou se rétracte.
La pédale de déplacement (Figure 23) commande le déplacement en marche avant et arrière. Appuyez sur le haut de la pédale pour avancer et sur le bas pour faire marche arrière. La vitesse de déplacement varie selon que la pédale est plus ou moins enfoncée. Pour vous déplacer à la vitesse maximale à vide, amenez la commande d'accélérateur à la position haut régime et enfoncez complètement la pédale de déplacement.
Pour vous immobiliser, relâchez la pédale de déplacement et laissez-la revenir à la position centrale.
Pour incliner le volant vers vous, appuyez sur la pédale (Figure 23) et tirez la colonne de direction vers vous à la position la plus confortable pour vous, puis relâchez la pédale.
Réglez les vis (Figure 24) pour limiter la course de la pédale de déplacement en marche avant ou arrière et limiter ainsi la vitesse.
Important: La vis du limiteur de vitesse doit arrêter la pédale de déplacement avant que la pompe arrive en bout de course, sinon la pompe risque d'être endommagée.

Le pivotement du limiteur de vitesse de tonte (Figure 24) en avant permet d'engager les unités de coupe et de limiter la vitesse de déplacement maximale pendant la tonte. Vous pouvez changer la position des entretoises pour régler la vitesse de déplacement pendant la tonte. Quand vous déplacez la machine d'un lieu de travail à un autre, ramenez le limiteur de vitesse en arrière pour pouvoir obtenir la vitesse de transport maximale.
Utilisez le levier multifonction (Figure 25) pour élever et abaisser les unités de coupe. Le levier permet aussi de démarrer et d'arrêter les cylindres lorsqu'ils sont en mode tonte.
Note: Les unités de coupe ne peuvent pas être abaissées lorsque le sélecteur de mode est en position transport.

Le commutateur d'allumage (Figure 25) a 3 positions : ARRêT, CONTACT/PRéCHAUFFAGE et DéMARRAGE.
L'écran LCD de l'InfoCenter affiche des renseignements relatifs à la machine, comme l'état de fonctionnement, ainsi que divers diagnostics et autres données concernant la machine (Figure 25).
La commande de PDF (Figure 25) a 2 positions : ENGAGéE et DéSENGAGéE. Appuyez sur le haut de la commande de PDF pour engager les lames des unités de coupe. Appuyez sur le bas de la commande de PDF pour désengager les lames des unités de coupe.
La commande d'accélérateur (Figure 25) permet d'augmenter ou de réduire le régime moteur.
Appuyez sur l'interrupteur pour allumer les phares (Figure 25).
La prise de courant (Figure 26) sert à alimenter les accessoires électriques de 12 volts disponibles en option.

Utilisez le support de sac (Figure 26) pour le rangement.
Utilisez les leviers de rodage pour commander le sens de rotation des unités de coupe quand vous roder les lames des cylindres (Figure 27).

L'écran LCD de l'InfoCenter affiche des renseignements relatifs à la machine, comme l'état de fonctionnement, ainsi que divers diagnostics et autres données (Figure 28). L'InfoCenter comporte un écran de démarrage et un écran d'information principal. Vous pouvez alterner entre l'écran de démarrage et l'écran d'information principal à tout moment en appuyant sur l'un des boutons de l'InfoCenter puis en sélectionnant la flèche de direction appropriée.

Bouton gauche : bouton d'accès aux menus/de retour – appuyez sur ce bouton pour accéder aux menus de l'InfoCenter. Vous pouvez vous en servir pour revenir en arrière et quitter le menu actuellement utilisé.
Bouton central – utilisez ce bouton pour faire défiler les menus.
Bouton droit – utilisez ce bouton pour ouvrir un menu lorsqu'une flèche à droite indique un contenu supplémentaire.
Inversion manuelle du sens de rotation du ventilateur – appuyez sur les boutons gauche et droit simultanément pour activer cette fonction.
Signal sonore – activé lors de l'abaissement des unités de coupe ou en cas d'avertissements ou d'anomalies.
Note: Chaque bouton peut changer de fonction selon les besoins du moment. Chaque bouton est repéré par une icône illustrant sa fonction actuelle.
| SERVICE DUE | Indique quand un entretien programmé doit être effectué |
![]() | Heures restant avant l'entretien |
![]() | Réinitialiser les heures d'entretien ![]() |
![]() | Icône d'information |
![]() | Compteur horaire |
![]() | Haute vitesse |
![]() | Basse vitesse |
![]() | Inversion du ventilateur – indique quand le sens de rotation du ventilateur est inversé |
![]() | Chauffage d'admission d'air actif |
![]() | Levage des unités de coupe |
![]() | Abaissement des unités de coupe |
![]() | L'utilisateur doit s'asseoir sur le siège |
![]() | Témoin de frein de stationnement – indique quand le frein de stationnement est serré |
![]() | Identifie la gamme haute |
![]() | Point mort |
![]() | Identifie la gamme basse |
![]() | Thermomètre de liquide de refroidissement – indique la température du liquide de refroidissement en °C ou °F |
![]() | Température (chaude) |
![]() | Refusé ou non autorisé |
![]() | La PDF est engagée |
![]() | Démarrage du moteur |
![]() | Arrêt ou arrêt d'urgence |
![]() | Moteur |
![]() | Commutateur d'allumage |
![]() | Indique l'abaissement des unités de coupe |
![]() | Indique le relèvement des unités de coupe |
![]() | Code PIN |
![]() | Température du liquide hydraulique – indique la température du liquide hydraulique |
![]() | Bus CAN |
![]() | Centre d'information (InfoCenter) |
![]() | Mauvais fonctionnement ou défaillance |
![]() | Ampoule |
![]() | Sortie du contrôleur TEC ou câble de commande en faisceau |
![]() | Élevée : au-dessus de la plage autorisée |
![]() | Bas : au-dessous de la plage autorisée |
![]() | Hors plage |
![]() | Interrupteur |
![]() | L'utilisateur doit relâcher l'interrupteur |
![]() | L'utilisateur doit passer à l'état indiqué |
| Plusieurs symboles sont souvent associés pour former des phrases. Quelques exemples sont donnés ci-après. | |
![]() | L'utilisateur doit mettre la machine au point mort |
![]() | Démarrage du moteur refusé |
![]() | Arrêt du moteur |
![]() | Liquide de refroidissement moteur trop chaud |
![]() | Surchauffe de l'huile hydraulique |
![]() | S'asseoir ou serrer le frein de stationnement |
Accessible
uniquement à l’aide d’un code PIN
Pour accéder au système de menus de l'InfoCenter, appuyez sur le bouton d'accès aux menus depuis l'écran principal. Cela vous amènera au menu principal. Voir dans les tableaux ci-après la description des options disponibles dans les différents menus :
| Menu principal | |
| Option de menu | Description |
| Anomalies | Le menu Anomalies contient la liste des anomalies récentes de la machine. Reportez-vous au Manuel d'entretien ou adressez-vous à votre distributeur Toro agréé pour plus de renseignements sur le menu Anomalies et sur les données qu'il contient. |
| Entretien | Le menu Entretien contient des renseignements sur la machine, comme le nombre d'heures de fonctionnement et d'autres renseignements de ce type. |
| Diagnostics | Le menu Diagnostics indique l'état de chaque contacteur, capteur et sortie de commande de la machine. Il peut servir à détecter certains problèmes, car il indique rapidement quelles commandes de la machine sont activées ou désactivées. |
| Réglages | Le menu Réglages vous permet de personnaliser et modifier les variables de configuration sur l'écran de l'InfoCenter. |
| À propos | Le menu À propos indique le numéro de modèle, le numéro de série et la version logicielle de votre machine. |
| Entretien | |
| Option de menu | Description |
| Hours | Indique le nombre d'heures de fonctionnement de la machine, du moteur et de la PDF, ainsi que le nombre d'heures de transport et restant avant le prochain entretien |
| Counts | Indique les différents décomptes de la machine |
| Diagnostics | |
| Option de menu | Description |
| Cutting Units | Indique les entrées, qualificateurs et sorties pour abaisser et élever les unités de coupe |
| Hi/Low Range | Indique les entrées, qualificateurs et sorties pour la conduite en mode transport. |
| PTO | Indique les entrées, qualificateurs et sorties pour l'activation du circuit de la PDF |
| Engine Run | Indique les entrées, qualificateurs et sorties pour le démarrage du moteur |
| Rodage des lames | Indique les entrées, qualificateurs et sorties pour utiliser la fonction de rodage. |
| Réglages | |
| Option de menu | Description |
| Unités | Permet de choisir les unités utilisées sur l'InfoCenter (Impériales ou métriques) |
| Langue | Permet de choisir la langue utilisée sur l'InfoCenter* |
| Rétroé. d'écran | Permet de régler la luminosité de l'affichage LCD |
| Contraste | Permet de régler le contraste de l'affichage LCD |
| Vitesse de rodage des cylindres avant | Commande la vitesse des cylindres avant en mode rodage. |
| Vitesse de rodage des cylindres arrière | Commande la vitesse des cylindres arrière en mode rodage. |
| Menus protégés | Permet à une personne autorisée par votre entreprise et détenant le code PIN d'accéder aux menus protégés. |
Ralenti auto ![]() | Commande la durée autorisée avant le retour du moteur à bas régime quand la machine est à l'arrêt |
Nbre de lames ![]() | Commande le nombre de lames sur le cylindre pour la vitesse du cylindre. |
Vitesse de tonte ![]() | Commande la vitesse de déplacement de la machine pour déterminer la vitesse des cylindres. |
Haut. coupe ![]() | Commande la hauteur de coupe pour déterminer la vitesse des cylindres. |
cyl. AV S![]() | Indique la vitesse calculée des cylindres avant. Les cylindres peuvent aussi être réglés manuellement. |
cyl. AR S![]() | Indique la vitesse calculée des cylindres arrière. Les cylindres peuvent aussi être réglés manuellement. |
*Seul le texte « relatif à l'utilisateur » est traduit. Les écrans Anomalies, Entretien et Diagnostics sont « relatifs à l'entretien ». Les titres sont dans la langue choisie, mais les options de menu sont en anglais.
Protégé
sous Menus protégés – accessible uniquement à
l'aide d'un code PIN
| À propos | |
| Option de menu | Description |
| Modèle | Indique le numéro de modèle de la machine |
| Nº de série | Indique le numéro de série de la machine |
| Version du contrôleur machine | Indique la version du logiciel du contrôleur principal |
| Version de l'InfoCenter | Indique la version du logiciel de l'InfoCenter |
| Bus CAN | Indique l'état du bus de communication de la machine |
Cinq réglages de configuration du fonctionnement peuvent être sélectionnés dans le menu Réglages de l'InfoCenter : nombre de lames, vitesse de tonte, hauteur de coupe, TR/MIN cyl. AV et TR/MIN cyl. AR. Vous pouvez bloquer ces réglages à partir du menu protégé.
Note: À la livraison de la machine, le code d'accès initial est programmé par votre distributeur.
Note: Le code PIN par défaut à la sortie d'usine de la machine est 0000 ou 1234.Si vous changez de code PIN et que vous l'oubliez, demandez l'aide de votre distributeur Toro agréé.
Dans le MENU PRINCIPAL, appuyez sur le bouton central pour naviguer jusqu'au menu RéGLAGES, puis appuyez sur le bouton droit (Figure 29).

Dans le menu RéGLAGES, appuyez sur le bouton central pour naviguer jusqu'à l'option MENUS PROTéGéS, puis appuyez sur le bouton droit (Figure 30A).

Pour saisir le code PIN, appuyez sur le bouton central jusqu'à ce que le premier chiffre correct s'affiche, puis appuyez sur le bouton droit pour passer au chiffre suivant (Figure 30B et Figure 30C). Répétez cette procédure jusqu'à ce que le dernier chiffre soit saisi, puis appuyez une nouvelle fois sur le bouton droit.
Appuyez sur le bouton central pour saisir le code PIN (Figure 30D).
Attendez que le témoin rouge s'allume sur l'InfoCenter.
Note: Si l'InfoCenter accepte le code PIN et que le menu protégé est déverrouillé, « PIN » apparaît dans le coin supérieur droit de l'écran.
Note: Tournez la clé de contact à la position ARRêT, puis à la position CONTACT pour verrouiller le menu protégé.
Vous pouvez afficher et modifier les options dans le menu protégé. Après avoir ouvert le Menu protégé, naviguez jusqu'à l'option Protection des réglages. Appuyez sur le bouton droit pour modifier le réglage. Si vous réglez l'option Protection des réglages sur OFF (désactivée), vous pouvez visualiser et modifier les réglages du menu protégé sans avoir à saisir le code PIN. Si vous réglez l'option Protection des réglages à ON (activée), les options protégées sont masquées et vous devez saisir un code PIN pour pouvoir modifier les réglages du Menu protégé. Après avoir programmé le code PIN, tournez la clé à la position ARRêT puis ramenez-la à la position CONTACT pour activer et sauvegarder cette fonction.
Dans le menu Réglages, naviguez jusqu'à Ralenti automatique.
Appuyez sur le bouton droit pour modifier le délai de ralenti automatique et le régler à Off (désactivé), 8S, 10S, 15S, 20S ou 30S.
Dans le menu Réglages, naviguez jusqu'à l'option Nombre de lames.
Appuyez sur le bouton droit pour choisir des cylindres à 5, 8 ou 11 lames.
Dans le menu Réglages, naviguez jusqu'à l'option Vitesse de tonte.
Appuyez sur le bouton droit pour sélectionner la vitesse de tonte.
À l'aide du bouton central et droit, sélectionnez la vitesse de tonte appropriée définie sur le limiteur de vitesse de tonte mécanique de la pédale de déplacement.
Appuyez sur le bouton gauche pour quitter l'option de vitesse de tonte et sauvegarder le réglage.
Dans le menu Réglages, naviguez jusqu'à l'option Hauteur de coupe.
Appuyez sur le bouton droit pour sélectionner la hauteur de coupe.
Utilisez le bouton central et droit pour sélectionner la hauteur de coupe voulue.
Note: Si le réglage exact de hauteur de coupe n'est pas affiché, sélectionnez la valeur la plus proche dans la liste proposée.
Appuyez sur le bouton gauche pour quitter l'option de hauteur de coupe et sauvegarder le réglage.
Note: Les spécifications et la conception peuvent faire l'objet de modifications sans préavis.
| Largeur de coupe, unités de coupe de 69 cm (27 po) | 307 cm (121 po) |
| Largeur de coupe, unités de coupe de 81 cm (32 po) | 320 cm (126 po) |
| Largeur hors tout, unités de coupe de 69 cm (27 po) | 345 cm (136 po) |
| Largeur hors tout, unités de coupe de 81 cm (32 po) | 358 cm (141 po) |
| Largeur hors tout, unités de coupe levées (transport) | 239 cm (94 po) |
| Longueur hors tout | 370 cm (146 po) |
| Hauteur avec ROPS | 220 cm (87 po) |
| Largeur de voie, avant | 229 cm (90 po) |
| Largeur de voie, arrière | 141 cm (55,5 po) |
| Empattement | 171 cm (67,5 po) |
| Poids net (sans unités de coupe et sans pleins) | 1574 kg (3 470 lb) |
Une sélection d'outils et accessoires agréés par Toro est disponible pour augmenter et améliorer les capacités de la machine. Pour obtenir la liste de tous les accessoires et outils agréés, contactez votre dépositaire-réparateur ou votre distributeur Toro agréé, ou rendez-vous sur www.Toro.com.
Pour garantir un rendement optimal et conserver la certification de sécurité de la machine, utilisez uniquement des pièces de rechange et accessoires Toro d'origine. Les pièces de rechange et accessoires d'autres constructeurs peuvent être dangereux et leur utilisation risque d'annuler la garantie de la machine.
Note: Les côtés gauche et droit de la machine sont déterminés d'après la position d'utilisation normale.
Ne confiez jamais l'utilisation ou l'entretien de la machine à des enfants ou à des personnes non qualifiées. La réglementation locale peut imposer un âge minimum pour les utilisateurs. Le propriétaire de la machine doit assurer la formation de tous les utilisateurs et mécaniciens.
Familiarisez-vous avec le maniement correct du matériel, les commandes et les symboles de sécurité.
Avant de quitter la position d'utilisation, effectuez la procédure suivante :
Garez la machine sur une surface plane et horizontale.
Désengagez et abaissez les unités de coupe.
Serrez le frein de stationnement.
Coupez le moteur et enlevez la clé.
Attendez l'arrêt complet de tout mouvement.
Laissez refroidir la machine avant de la régler, la nettoyer, la remiser ou la réparer.
Apprenez à arrêter la machine et à couper le moteur rapidement.
N'utilisez pas la machine s'il manque des capots ou d'autres dispositifs de protection, ou s'ils sont en mauvais état.
Avant de tondre, vérifiez toujours que les unités de coupe sont en bon état de marche.
Inspectez la zone de travail et enlevez tout objet pouvant être projeté par la machine.
Faites preuve de la plus grande prudence quand vous manipulez du carburant, en raison de son inflammabilité et du risque d'explosion des vapeurs qu'il dégage.
Éteignez cigarettes, cigares, pipes et autres sources d'étincelles.
Utilisez exclusivement un bidon à carburant homologué.
N'enlevez pas le bouchon du réservoir de carburant et n'ajoutez pas de carburant quand le moteur tourne ou est encore chaud.
N'ajoutez pas de carburant et ne vidangez pas le réservoir dans un local fermé.
Ne remisez pas la machine ni les bidons de carburant à proximité d'une flamme nue, d'une source d'étincelles ou d'une veilleuse, telle celle d'un chauffe-eau ou autre appareil.
Si vous renversez du carburant, ne mettez pas le moteur en marche. Évitez toute source possible d'inflammation jusqu'à dissipation complète des vapeurs de carburant.
83 L (22 gal américains)
Le moteur peut être endommagé si vous ne respectez pas les consignes suivantes.
N'utilisez jamais de kérosène ou d'essence à la place du carburant diesel.
Ne mélangez jamais de kérosène ou d'huile moteur usagée avec le carburant diesel.
Ne conservez jamais le carburant dans des bidons dont l'intérieur est galvanisé.
N'utilisez pas d'additifs pour carburant.
Utilisez uniquement du carburant diesel propre et frais ou des carburants au biodiesel à faible (<500 ppm) ou ultra faible (<15 ppm) teneur en soufre. L'indice minimum de cétane doit être de 40. Pour garantir la fraîcheur du carburant, n'achetez pas plus de la quantité normalement consommée en 6 mois.
Utilisez du carburant diesel de qualité été (nº 2-D) si la température ambiante est supérieure à -7 °C (20 °F) et du carburant diesel de qualité hiver (nº 1-D ou mélange nº 1-D/2-D) en dessous de cette température. L'usage de carburant de qualité hiver à basses températures réduit le point d'éclair et les caractéristiques d'écoulement à froid, ce qui facilite le démarrage et réduit le colmatage du filtre à carburant.
L'usage de carburant de qualité été au-dessus de -7 °C (20 °F) contribue à prolonger la vie de la pompe à carburant et augmente la puissance par rapport au carburant de qualité hiver.
Cette machine peut aussi utiliser un mélange carburant et biodiesel jusqu'à B20 (20 % biodiesel, 80 % pétrodiesel). La partie pétrodiesel doit être à faible ou très faible teneur en soufre. Prenez les précautions suivantes :
Spécifications du carburant au biodiesel : ASTM D6751 ou EN 14214
Spécifications du carburant au biodiesel : ASTM D975 ou EN 590
Prenez les précautions suivantes :
Les mélanges au biodiesel peuvent endommager les surfaces peintes.
Utilisez du B5 (teneur en biodiesel de 5 %) ou un mélange de plus faible teneur par temps froid.
Examinez régulièrement les joints et flexibles qui sont en contact avec le carburant, car ils peuvent se détériorer avec le temps.
Le filtre à carburant de la machine peut se colmater pendant quelque temps après l'adoption de mélanges au biodiesel.
Pour tout renseignement complémentaire sur le biodiesel, contactez votre dépositaire Toro agréé.
Garez la machine sur une surface plane et horizontale, abaissez les unités de coupe, coupez le moteur et retirez la clé de contact.
Nettoyez la surface autour du bouchon du réservoir de carburant avec un chiffon propre.
Retirez le bouchon du réservoir de carburant (Figure 31).

Versez du carburant diesel dans le réservoir jusqu'à ce que le liquide atteigne la base du goulot de remplissage.
Revissez fermement le bouchon du réservoir de carburant.
Note: Dans la mesure du possible, faites le plein de carburant après chaque utilisation. Le plein du réservoir de carburant minimise la formation de condensation à l'intérieur du réservoir.
| Périodicité d'entretien | Procédure d'entretien |
|---|---|
| À chaque utilisation ou une fois par jour |
|
Avant de démarrer la machine chaque jour, effectuez les procédures décrites à la section Liste de contrôle pour l'entretien journalier.
| Périodicité d'entretien | Procédure d'entretien |
|---|---|
| À chaque utilisation ou une fois par jour |
|
Si les contacteurs de sécurité sont déconnectés ou endommagés, la machine peut se mettre en marche inopinément et causer des blessures.
Ne modifiez pas abusivement les contacteurs de sécurité.
Vérifiez chaque jour le fonctionnement des contacteurs de sécurité et remplacez ceux qui sont endommagés avant d'utiliser la machine.
Important: Si la machine échoue à l'un des contrôles des contacteurs de sécurité, contactez votre dépositaire Toro agréé.
Conduisez la machine lentement jusqu'à une surface dégagée.
Abaissez les unités de coupe au sol, coupez le moteur et serrez le frein de stationnement.
Asseyez-vous sur le siège du conducteur.
Serrez le frein de stationnement.
Placez la commande de PDF à la position DéSENGAGéE.
Appuyez sur la pédale de déplacement.
Tournez la clé à la position DéMARRAGE.
Note: Le démarreur ne doit pas lancer le moteur quand la pédale de déplacement est enfoncée.
Asseyez-vous sur le siège du conducteur.
Placez la commande de PDF à la position ENGAGéE.
Démarrer le moteur.
Note: Le moteur ne doit pas démarrer quand la commande de PDF est en position ENGAGER.
Asseyez-vous sur le siège du conducteur.
Placez la commande de PDF à la position DéSENGAGéE.
Démarrer le moteur.
Soulevez-vous du siège.
Placez la commande de PDF à la position ENGAGéE.
Note: La PDF ne doit pas fonctionner quand vous quittez le siège de l'opérateur.
Asseyez-vous sur le siège du conducteur.
Serrez le frein de stationnement.
Placez la commande de PDF à la position DéSENGAGéE.
N'appuyez pas sur la pédale de déplacement.
Démarrer le moteur.
Appuyez sur la pédale de déplacement.
Note: Le moteur doit s'arrêter quand le frein de stationnement est serré et la pédale de déplacement est enfoncée.

Tournez le bouton pour régler l'angle de l'accoudoir (Figure 32).
Déplacez le levier pour ajuster l'angle du dossier (Figure 32).
Tirez sur le levier pour faire coulisser le siège en avant ou en arrière (Figure 32).
Permet de régler le siège en fonction de votre poids (Figure 32). Tirez sur le levier pour augmenter la pression d'air et abaissez-le pour réduire la pression d'air. Le réglage est correct lorsque la jauge de poids se trouve dans la zone verte.
La jauge de poids indique quand le siège est réglé pour le poids de l'utilisateur (Figure 32). Le réglage en hauteur est obtenu en plaçant la suspension dans la zone verte.
Le propriétaire/l'utilisateur est responsable des accidents pouvant entraîner des dommages corporels et matériels et peut les prévenir.
Portez des vêtements appropriés, y compris une protection oculaire, un pantalon, des chaussures solides à semelle antidérapante et des protecteurs d'oreilles. Si vos cheveux sont longs, attachez-les et ne portez pas de vêtements amples ni de bijoux pendants.
N'utilisez pas la machine si vous êtes fatigué(e), malade ou sous l'emprise de l'alcool, de médicaments ou de drogues.
Accordez toute votre attention à l'utilisation de la machine. Ne vous livrez à aucune activité risquant de vous distraire, au risque de causer des dommages corporels ou matériels.
Avant de démarrer le moteur, assurez-vous que tous les embrayages sont au point mort, que le frein de stationnement est serré et que vous êtes au poste d'utilisation.
Ne transportez pas de passagers sur la machine et tenez tout le monde, y compris les enfants, à l'écart de la zone de travail.
N'utilisez la machine que si la visibilité est bonne afin d'éviter les trous ou autres dangers cachés.
Évitez de tondre quand l'herbe est humide, car la perte de motricité peut faire déraper la machine.
N'approchez pas les pieds et les mains des unités de coupe.
Avant de faire marche arrière, vérifiez que la voie est libre juste derrière la machine et sur sa trajectoire.
Faites preuve de prudence à l'approche de tournants sans visibilité, de buissons, d'arbres ou d'autres objets susceptibles de gêner la vue.
Arrêtez les unités de coupe quand vous ne tondez pas.
Ralentissez et faites preuve de prudence quand vous changez de direction, ainsi que pour traverser des routes et des trottoirs avec la machine. Cédez toujours la priorité.
Ne faites tourner le moteur que dans des lieux bien aérés. Les gaz d'échappement contiennent du monoxyde de carbone dont l'inhalation est mortelle.
Ne laissez pas la machine en marche sans surveillance.
Avant de quitter la position d'utilisation, effectuez la procédure suivante :
Garez la machine sur une surface plane et horizontale.
Désengagez et abaissez les unités de coupe.
Serrez le frein de stationnement.
Coupez le moteur et enlevez la clé.
Attendez l'arrêt complet de tout mouvement.
Laissez refroidir la machine avant de la régler, la nettoyer, la remiser ou la réparer.
N'utilisez la machine que si la visibilité est suffisante et dans de bonnes conditions météorologiques. N'utilisez pas la machine si la foudre menace.
Ne retirez aucun des composants du système ROPS de la machine.
Attachez la ceinture de sécurité et apprenez à la détacher rapidement en cas d'urgence.
Attachez toujours votre ceinture de sécurité.
Vérifiez soigneusement où se trouvent les obstacles en hauteur et ne les touchez pas.
Maintenez le système ROPS en bon état en vérifiant minutieusement et régulièrement s'il est endommagé et en maintenant toutes les fixations bien serrées.
Remplacez tous les composants du système ROPS qui sont endommagés. Ne les réparez pas et ne les modifiez pas.
Attachez toujours la ceinture de sécurité quand l'arceau de sécurité est relevé.
Le système ROPS est un dispositif de sécurité intégral. Maintenez l'arceau de sécurité repliable relevé et bloqué dans cette position, et attachez la ceinture de sécurité pour conduire la machine avec l'arceau de sécurité relevé.
N'abaissez temporairement l'arceau de sécurité repliable qu'en cas d'absolue nécessité. N'attachez pas la ceinture de sécurité si l'arceau de sécurité est abaissé.
Gardez à l'esprit que la protection antiretournement est inexistante si l'arceau de sécurité est abaissé.
Examinez la zone de travail à l'avance et n'abaissez jamais l'arceau de sécurité repliable lorsque vous vous trouvez sur une pente, près de fortes dénivellations ou d'étendues d'eau.
Les pentes augmentent significativement les risques de perte de contrôle et de retournement de la machine pouvant entraîner des accidents graves, voire mortels. Vous êtes responsable de la sécurité d'utilisation de la machine sur les pentes. L'utilisation de la machine sur une pente, quelle qu'elle soit, demande une attention particulière.
Évaluez l'état du terrain, étudiez-le et balisez-le pour déterminer si la pente permet d'utiliser la machine sans risque. Faites toujours preuve de bon sens et de discernement quand vous réalisez cette étude.
Lisez les instructions relatives à l'utilisation sur les pentes ci-dessous avant d'utiliser la machine sur une pente. Avant d'utiliser la machine, examinez l'état actuel du terrain pour déterminer s'il se prête à l'utilisation de la machine. Les variations de terrain peuvent modifier le fonctionnement de la machine sur les pentes.
Évitez de démarrer, de vous arrêter ou de tourner sur les pentes. Évitez de changer brusquement de vitesse ou de direction. Dans les virages, procédez lentement et progressivement.
N'utilisez pas la machine si la motricité, la direction ou la stabilité peuvent être compromises.
Enlevez ou balisez les obstacles tels que fossés, trous, ornières, bosses, rochers ou autres dangers cachés. L'herbe haute peut masquer les obstructions. Les irrégularités du terrain peuvent provoquer le retournement de la machine.
Tenez compte du fait que la motricité de la machine peut être réduite sur l'herbe humide, en travers des pentes ou en descente.
Faites preuve de la plus grande prudence lorsque vous utilisez la machine près de fortes dénivellations, de fossés, de berges, d'étendues d'eau ou autres dangers. La machine pourrait se retourner brusquement si une roue passe par-dessus une dénivellation quelconque et se retrouve dans le vide, ou si un bord s'effondre. Établissez une zone de sécurité entre la machine et tout danger potentiel.
Repérez les dangers potentiels depuis le bas de la pente. Si vous constatez la présence de dangers, tondez la pente avec une machine à conducteur marchant.
Dans la mesure du possible, gardez les unités de coupe abaissées au sol quand vous utilisez la machine sur des pentes. Si vous levez les unités de coupe alors que la machine se déplace sur une pente, elle peut devenir instable.
La jauge de carburant (Figure 33) au sommet du réservoir permet de déterminer le niveau de carburant.

Important: Purgez le circuit d'alimentation dans les cas suivants :
Après l'arrêt du moteur pour cause de panne de carburant.
Après l'entretien des composants du circuit d'alimentation.
Asseyez-vous sur le siège de la machine, serrez le frein de stationnement et ne posez pas le pied sur la pédale de déplacement.
Placez la commande d'accélérateur à la position BAS RéGIME.
Tournez la clé à la position CONTACT.
Note: Le témoin de préchauffage s'affiche dans l'InfoCenter.
Quand le témoin s'éteint, tournez la clé à la position DéMARRAGE.
Important: Pour éviter de provoquer une défaillance prématurée du démarreur, ne l'actionnez pas plus de 15 secondes de suite. Si le moteur refuse de démarrer après 15 secondes, tournez la clé en position ARRêT, vérifiez les commandes et les procédures, attendez encore 15 secondes et répétez la procédure de démarrage.Si la température est inférieure à -7 °C (20 °F), vous pouvez faire 2 autres tentatives espacées de 60 secondes en actionnant le démarreur pendant 30 secondes.
Relâchez la clé quand le moteur démarre.
Réglez le régime moteur.
Garez la machine sur une surface plane et horizontale.
Placez la commande de PDF à la position DéSENGAGéE.
Placez la commande d'accélérateur à la position BAS RéGIME.
Serrez le frein de stationnement.
Abaissez les unités de coupe.
Important: L'abaissement des unités de coupe soulage le système de la charge hydraulique, prévient l'usure des pièces du système et évite que les unités de coupe s'abaissent accidentellement.
Tournez la clé à la position ARRêT et enlevez-la.
Attendez l'arrêt complet de toutes les pièces mobiles.
Bloquez le pivot des unités de coupe pour empêcher celles-ci de pivoter vers le bas quand vous tondez à flanc de pente.
Fixez le bâti porteur de l'unité de coupe sur la chape du pivot avec la goupille à fermoir, comme montré à la Figure 34.

Répétez l'opération 1 pour les autres unités de coupe.
Conduisez la machine jusqu'au lieu de travail et placez-la à l'extérieur de la zone à tondre pour effectuer la première passe.
Vérifiez que la commande de PDF est à la position DéSENGAGéE (Figure 35).

Avec le pied, poussez le levier du limiteur de vitesse de tonte en avant à la position TONTE (Figure 36).

Placez la commande d'accélérateur à la position HAUT RéGIME.
Placez la commande de PDF à la position ENGAGéE.
Commencez à conduire la machine jusqu'à la surface à tondre, puis poussez le levier multifonction en avant.
Note: Les unités de coupe commencent à fonctionner en s'abaissant. Les unités de coupe avant sont programmées pour s'abaisser avant les unités de coupe arrière.
Une fois au bout de la passe de tonte, ramenez le limiteur de vitesse de coupe en arrière pour lever les unités de coupe.
Exécutez un demi-tour en « goutte d'eau » pour mettre la machine rapidement en place pour la prochaine passe.
Placez la commande de PDF à la position DéSENGAGéE (Figure 37).

Déplacez le levier multifonction en arrière pour lever les unités de coupe (position de transport).
Déplacez le limiteur de vitesse de tonte en arrière à la position TRANSPORT (Figure 38).

Appuyez sur la pédale de déplacement pour conduire la machine.
Important: Lorsque vous passez entre deux obstacles, veillez à ne pas endommager la machine ou les unités de coupe accidentellement. Soyez particulièrement prudents lorsque vous travaillez sur des terrains en pente. Conduisez lentement et évitez de prendre des virages serrés sur les pentes, pour ne pas retourner la machine.
Le ressort de compensation (Figure 39) transfère le poids du rouleau avant au rouleau arrière. Cela évite la formation d'ondulations à la surface de la pelouse.
Important: Effectuez le réglage des ressorts quand l'unité de coupe est montée sur le groupe de déplacement, dirigée en avant et abaissée au sol.
Vérifiez que la goupille fendue est insérée dans le trou de la tige de ressort (Figure 39).
Note: Lors de l'entretien de l'unité de coupe, placez la goupille fendue dans le trou de la tige de ressort, près du ressort de compensation.

Serrez les écrous hexagonaux à l'extrémité avant de la tige de ressort jusqu'à ce que la longueur du ressort comprimé soit égale à 16 cm (6,25 po); voir Figure 39)
Note: Si vous travaillez sur un terrain irrégulier, réduisez la longueur du ressort de 13 mm (½ po). Le suivi des contours du terrain sera légèrement diminué.
Note: Le réglage de compensation doit être réinitialisé si la hauteur de coupe ou l'agressivité de coupe est modifiée.
Les ressorts sont tendus et peuvent causer des blessures.
Réglez les ressorts avec la plus grande prudence.
Vous pouvez régler la force de compensation appliquée aux unités de coupe arrière pour tenir compte des variations de l'état du gazon, et pour maintenir une hauteur de coupe uniforme sur les terrains irréguliers ou dans les zones où le chaume a tendance à s'accumuler.
Il existe 4 positions de réglage de la force de compensation de chaque ressort de torsion. Chaque position augmente ou diminue la force de compensation sur chaque unité de coupe de 2,3 kg (5 lb).
Note: Pour supprimer entièrement la force de compensation, placez la longue tige du ressort de torsion sous la vis, la rondelle, l'entretoise et le contre-écrou.
Garez la machine sur une surface plane et horizontale, abaissez les unités de coupe, serrez le frein de stationnement, coupez le moteur et enlevez la clé.
Insérez un tube ou un objet similaire par-dessus la longue tige du ressort, et soulevez la tige pour soulager la pression sur l'entretoise (Figure 40).
Note: Demandez à une autre personne de vous aider en soulevant et abaissant la tige du ressort.

Tout en maintenant le ressort, retirez le boulon, la rondelle et le contre-écrou de la plaque de levage (Figure 40).
Placez la tige du ressort au-dessus de l'emplacement du trou recherché.
Placez la vis, l'entretoise et le contre-écrou à l'emplacement du trou.
Baissez lentement la tige du ressort sur l'entretoise.
Répétez les opérations ? à 5 sur le bras de levage des unités de coupe arrière.
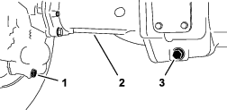
Le contacteur du bras de levage (Figure 29) est situé derrière le bras de levage avant droit (unité de coupe nº 5)

Garez la machine sur une surface plane et horizontale, abaissez les unités de coupe, serrez le frein de stationnement, coupez le moteur et enlevez la clé.
Desserrez les 2 vis à embase qui fixent le support du contacteur sur le bâti porteur pour les bras de levage des unités de coupe avant.
Déplacez le support du contacteur comme suit :
Pour augmenter la hauteur de rotation de l'unité de coupe, montez le support.
Pour réduire la hauteur de rotation de l'unité de coupe, baissez le support.
Serrez les 2 vis à embase.
Maintenez tous les écrous, boulons et vis correctement serrés pour garantir l'utilisation sûre de la machine.
Remplacez les pièces usées ou endommagées pour éviter les accidents.
Vérifiez le bon état de la ceinture de sécurité et de ses fixations.
Attachez la ceinture de sécurité quand l'arceau de sécurité est relevé; ne l'utilisez pas quand l'arceau est abaissé.
Vous pouvez abaisser l'arceau de sécurité pour permettre le passage de la machine dans des zones à hauteur limitée.
La machine ne bénéficie pas de la protection antiretournement lorsque l'arceau de sécurité est abaissé; le système ROPS est alors inefficace.
N'attachez pas la ceinture de sécurité lorsque l'arceau de sécurité est abaissé.
Vous pouvez vous pincer les doigts entre la machine et l'arceau de sécurité quand vous le baissé ou le levé.
Abaissez et levez l'arceau de sécurité avec précaution pour éviter de vous coincer les doigts entre la machine et l'arceau.
L'arceau de sécurité est un dispositif de sécurité intégré. Il ne peut vous protéger des blessures, voire de la mort, en cas de retournement, que s'il est levé et bloqué en position, et si vous avez bouclé la ceinture de sécurité.
Maintenez l'arceau de sécurité en position levée quand vous utilisez la machine.
N'abaissez temporairement l'arceau de sécurité qu'en cas de nécessité, puis fixez-le en position levée dès que possible avant de continuer de travailler.
Important: L'arceau de sécurité est un dispositif de sécurité intégré. Gardez l'arceau de sécurité relevé quand vous utilisez la tondeuse. N'abaissez l'arceau de sécurité que temporairement et uniquement en cas d'absolue nécessité.
Garez la machine sur une surface plane et horizontale, abaissez les unités de coupe, serrez le frein de stationnement, coupez le moteur et enlevez la clé.
Retirez les goupilles à anneau qui fixent les axes de chaque côté de l'arceau de sécurité (Figure 42).

Soutenez le poids du tube supérieur de l'arceau de sécurité pendant que vous retirez les axes des supports de pivot.
Abaissez le tube supérieur de l'arceau de sécurité avec précaution jusqu'à ce qu'il repose sur les butées.
Insérez les axes de l'arceau de sécurité dans les trous inférieurs des supports de pivot et fixez-les dans les supports avec les goupilles à anneau.
Le système de protection antiretournement (ROPS) peut être inefficace si les axes de l'arceau de sécurité sont desserrés; des blessures graves ou mortelles sont alors possible en cas de retournement de la machine.
Lorsque l'arceau de sécurité est relevé, vous devez installez les deux axes et les deux goupilles à anneau pour assurer une protection complète en cas de retournement.
Garez la machine sur une surface plane et horizontale, abaissez les unités de coupe, serrez le frein de stationnement, coupez le moteur et enlevez la clé.
Retirez les goupilles à anneau qui fixent les axes de chaque côté de l'arceau de sécurité (Figure 43).

Retrait des axes des supports de pivot de l'arceau de sécurité
Levez le tube supérieur de l'arceau de sécurité avec précaution jusqu'à ce que les trous dans le support de pivot soient en face des trous dans le tube inférieur.
Insérez les axes de l'arceau de sécurité dans les trous du support de pivot et le tube inférieur de l'arceau.
Fixez les axes de l'arceau de sécurité sur les supports et les tubes inférieurs avec les goupilles à anneau.
Avant de commencer à tondre, entraînez-vous à utiliser la machine dans un endroit dégagé. Démarrez et arrêtez le moteur. Conduisez la machine en marche avant et en marche arrière. Abaissez et levez les unités de coupe, et engagez et désengagez les cylindres. Après vous être familiarisé avec la machine, entraînez-vous à travailler à différentes vitesses en montée et en descente.
Si un témoin s'allume pendant le fonctionnement, arrêtez la machine immédiatement et corrigez le problème avant de poursuivre. La machine risque d'être gravement endommagée si vous l'utilisez alors qu'elle est défectueuse.
Garez la machine sur une surface plane et horizontale.
Désengagez et abaissez les unités de coupe.
Serrez le frein de stationnement.
Coupez le moteur et enlevez la clé.
Attendez l'arrêt complet de tout mouvement.
Laissez refroidir la machine avant de la régler, la nettoyer, la remiser ou la réparer.
Pour éviter les risques d'incendie, enlevez les débris d'herbe coupée et autres agglomérés sur les unités de coupe, les dispositifs d'entraînement, les silencieux, les grilles de refroidissement et le compartiment moteur. Nettoyez les coulées éventuelles d'huile ou de carburant.
Désengagez l'entraînement de l'outil pendant le transport de la machine ou qu'elle ne sert pas.
Faites l'entretien de la ou des ceintures de sécurité, et nettoyez-les au besoin.
Ne remisez pas la machine ni les bidons de carburant à proximité d'une flamme nue, d'une source d'étincelles ou d'une veilleuse, telle celle d'un chauffe-eau ou d'autres appareils.
Utilisez des rampes d'une seule pièce pour charger la machine sur une remorque ou un camion.
Arrimez solidement la machine.
Les points d'attache sont situés aux emplacements suivants :
De chaque côté du cadre sous les marches avant
Sur le pare-chocs arrière.

Quand la vanne de dérivation de remorquage est ouverte, la machine peut se déplacer inopinément et vous blesser ou blesser toute personne à proximité.
Serrez le frein de stationnement quand vous ne poussez pas ou ne remorquez pas la machine.
En cas d'urgence, vous pouvez pousser ou remorquer la machine en ouvrant la vanne de dérivation et en branchant un flexible hydraulique pour contourner le clapet antiretour.
S'il s'avère nécessaire de pousser ou de remorquer la machine, vous devrez éventuellement le faire à la fois en marche avant et en marche arrière. Pour ne pas endommager la transmission en poussant ou remorquant la machine, il est préférable de préparer la machine pour le déplacement en marche avant et en marche arrière.
Pièces nécessaires (achetées séparément) : kit de remorquage en marche arrière (réf. Toro 136-3620)
Important: S'il s'avère nécessaire de pousser ou de remorquer la machine en marche arrière, vous devez d'abord mettre en dérivation le clapet antiretour du collecteur de la transmission à 4 roues motrices.
Garez la machine sur une surface plane et horizontale, serrez le frein de stationnement, abaissez les unités de coupe, coupez le moteur et enlevez la clé.
Montez légèrement le flexible de dérivation et les raccords droits du kit de remorquage en marche arrière; voir Instructions d'installation du kit de remorquage en marche arrière.
Retirez l'obturateur de protection et le raccord d'essai de la prise d'essai sur le tube de déplacement en marche arrière.
Montez le raccord droit du flexible de dérivation sur la prise d'essai et serrez le raccord et le flexible.
Retirez l’obturateur à tête creuse hexagonale nº 6 de la prise non identifiée (située entre les raccords des orifice M8 et P2) sur le collecteur de déplacement en marche arrière.
Montez l'autre raccord droit du flexible de dérivation sur la prise non identifiée du collecteur de déplacement en marche arrière, et serrez le raccord et le flexible.
Ouvrez l'autre vanne de dérivation de la pompe de déplacement en la tournant à 90° (1/4 de tour) dans chaque sens (Figure 45).
Note: Notez la position de la vanne quand vous l'ouvrez et la fermez.

Poussez ou remorquez la machine.
Important: Ne poussez pas et ne remorquez pas la machine à plus de 3 à 4,8 km/h (2 à 3 mi/h) ou sur plus de 400 m (1/4 mile), au risque d'endommager le circuit hydraulique. La vanne de dérivation doit être ouverte chaque fois que vous poussez ou remorquez la machine.
Garez la machine sur une surface plane et horizontale, serrez le frein de stationnement, abaissez les unités de coupe, coupez le moteur et enlevez la clé.
Déposez le raccord droit et le flexible de dérivation du kit de remorquage en marche arrière de la prise d'essai du tube de déplacement en marche arrière; voir les Instructions d'installation du kit de remorquage en marche arrière.
Installez le raccord d'essai et l'obturateur de protection sur la prise d'essai.
Retirez l'autre raccord droit du flexible de dérivation de la prise non identifiée du collecteur de déplacement en marche arrière (située entre les raccords des orifices M8 et P2).
Installez l’obturateur à tête creuse hexagonale nº 6 neuf du kit de remorquage en marche arrière dans la prise non identifiée du collecteur de déplacement en marche arrière.
Fermez la vanne de dérivation de remorquage en la tournant de 90° (1/4 tour) avant de démarrer le moteur (Figure 46).
Note: Ne serrez pas la vanne à un couple de plus de 7 à 11 N·m (5 à 8 pi-lb).

S'il s'avère nécessaire de pousser ou de remorquer la machine en marche avant seulement, il vous suffit de tourner la vanne de dérivation.
Important: S'il s'avère nécessaire de pousser ou de remorquer la machine en marche arrière, voir Préparation de la machine à la poussée ou au remorquage en marche arrière.
Ouvrez le capot et déposez le carénage central.
Ouvrez l'autre vanne de dérivation de la pompe de déplacement en la tournant à 90° (1/4 de tour) dans chaque sens (Figure 45).
Note: Notez la position de la vanne quand vous l'ouvrez et la fermez.

Poussez ou remorquez la machine en marche avant seulement.
Important: Ne poussez pas et ne remorquez pas la machine à plus de 3 à 4,8 km/h (2 à 3 mi/h) ou sur plus de 400 m (1/4 mile), au risque d'endommager le circuit hydraulique. La vanne de dérivation doit être ouverte chaque fois que vous poussez ou remorquez la machine.
Quand la machine est prête à l'utilisation, fermez la vanne de dérivation en la tournant dans l'autre sens de 90° (1/4 tour) avant de démarrer le moteur.
Note: Ne serrez pas la vanne à un couple de plus de 7 à 11 N·m (5 à 8 pi-lb).
Note: Les côtés gauche et droit de la machine sont déterminés d'après la position d'utilisation normale.
Note: Vous pouvez télécharger un exemplaire gratuit du schéma hydraulique ou électrique en vous rendant sur www.Toro.com et en recherchant votre machine sous le lien Manuels sur la page d'accueil.
Important: Reportez-vous au Manuel du propriétaire du moteur et au Manuel de l'utilisateur des unités de coupe pour tout renseignement sur les procédures d'entretien complémentaires.
Avant de quitter la position d'utilisation, effectuez la procédure suivante :
Garez la machine sur une surface plane et horizontale.
Désengagez et abaissez les unités de coupe.
Serrez le frein de stationnement.
Coupez le moteur et enlevez la clé.
Attendez l'arrêt complet de tout mouvement.
Laissez refroidir la machine avant de la régler, la nettoyer, la remiser ou la réparer.
Laissez refroidir les composants de la machine avant d'effectuer un entretien.
Si possible, n'effectuez aucun entretien quand le moteur est en marche. Ne vous approchez pas des pièces mobiles.
Soutenez la machine avec des chandelles chaque fois que vous devez travailler dessous.
Libérez la pression emmagasinée dans les composants avec précaution.
Maintenez toutes les pièces de la machine en bon état de marche et toutes les fixations bien serrées.
Remplacez tous les autocollants usés ou endommagés.
Pour garantir un rendement optimal et la sécurité continue de la machine, utilisez toujours des pièces de rechange Toro d'origine. Les pièces de rechange provenant d'autres constructeurs peuvent être dangereuses et leur utilisation risque d'annuler la garantie de la machine.
| Périodicité d'entretien | Procédure d'entretien |
|---|---|
| Après les 8 premières heures de fonctionnement |
|
| Après les 50 premières heures de fonctionnement |
|
| Après les 200 premières heures de fonctionnement |
|
| À chaque utilisation ou une fois par jour |
|
| Toutes les 50 heures |
|
| Toutes les 100 heures |
|
| Toutes les 200 heures |
|
| Toutes les 250 heures |
|
| Toutes les 400 heures |
|
| Toutes les 800 heures |
|
| Toutes les 1000 heures |
|
| Toutes les 2000 heures |
|
| Avant le remisage |
|
Copiez cette page pour pouvoir vous en servir régulièrement.
| Entretiens à effectuer | Pour la semaine du : | ||||||
|---|---|---|---|---|---|---|---|
| Lun. | Mar. | Mer. | Jeu. | Ven. | Sam. | Dim. | |
| Vérifiez le fonctionnement du système de sécurité. | |||||||
| Vérifiez le fonctionnement des freins. | |||||||
| Contrôlez les niveaux d'huile moteur et de carburant. | |||||||
| Contrôlez le niveau de liquide de refroidissement. | |||||||
| Vidangez le séparateur eau-carburant. | |||||||
| Contrôlez l'indicateur de colmatage du filtre à air. | |||||||
| Vérifiez la propreté du radiateur, du refroidisseur d'huile et de la grille. | |||||||
| Vérifiez les bruits anormaux en provenance du moteur.1 | |||||||
| Vérifiez les bruits de fonctionnement anormaux. | |||||||
| Contrôlez le niveau de liquide hydraulique. | |||||||
| Vérifiez l'état des flexibles hydrauliques. | |||||||
| Recherchez les fuites éventuelles. | |||||||
| Contrôlez la pression des pneus. | |||||||
| Vérifiez le fonctionnement des instruments. | |||||||
| Vérifiez le réglage cylindre/contre-lame. | |||||||
| Vérifiez le réglage de la hauteur de coupe. | |||||||
| Lubrifiez tous les graisseurs.2 | |||||||
| Retouchez les peintures endommagées. | |||||||
|
1. Contrôlez la bougie de préchauffage et les injecteurs si le moteur a du mal à démarrer, ne tourne pas régulièrement ou produit une fumée excessive. |
|||||||
|
2. Immédiatement après chaque lavage, quelle que soit la fréquence d'entretien indiquée |
|||||||
| Contrôle effectué par : | ||
| Point contrôlé | Date | Information |
| 1 | ||
| 2 | ||
| 3 | ||
| 4 | ||
| 5 | ||
| 6 | ||
| 7 | ||
| 8 | ||
Garez la machine sur une surface plane et horizontale, abaissez les unités de coupe et serrez le frein de stationnement.
Coupez le moteur, enlevez la clé de contact et attendez l'arrêt complet de toutes les pièces mobiles.
Ouvrez les 2 verrous du capot (Figure 48).

Faites pivoter le capot pour l'ouvrir.
Refermez le capot avec précaution (Figure 49).

Fixez le capot avec les 2 verrous.
Détachez l'attache en caoutchouc du couvercle du compartiment de la batterie (Figure 48).

Faites pivoter le couvercle pour l'ouvrir.
Faites pivoter le siège légèrement et sortez la béquille du cran dans la fente de blocage du support du siège (Figure 53).

Abaissez le siège avec précaution jusqu'à ce qu'il se verrouille fermement en place.
Note: Soutenez la machine avec des chandelles chaque fois que vous devez travailler dessous; voir Caractéristiques techniques.
Utilisez les points de levage suivants :
Avant de la machine – sur le cadre, devant les moteurs d'entraînement des roues (Figure 54).
Important: Ne soutenez pas la machine au niveau des moteurs d'entraînement des roues. N'approchez pas l'équipement de levage des tubes et flexibles hydrauliques.

Arrière de la machine – au centre du pont (Figure 55).
Note: Placez les chandelles de la capacité spécifiée de chaque côté du boîtier d'engrenages et sous le pont.
Important: Ne soutenez pas la machine au niveau de la biellette de direction.

| Périodicité d'entretien | Procédure d'entretien |
|---|---|
| Toutes les 50 heures |
|
Spécifications de la graisse : graisse nº 2 au lithium
Préparez la machine pour l'entretien; voir Préparation à l'entretien.
Emplacements et nombre de graisseurs :
Roulements de pivot d'axes de freins (5); voir Figure 56.

Bagues de pivot d'essieu arrière (2); voir Figure 57.

Rotules de vérin de direction (2); voir Figure 58.

Rotules de biellettes (2); voir Figure 58.
Bagues de pivots de fusées (2); voir Figure 58.
Note: Le graisseur supérieur du pivot de fusée ne doit être lubrifié qu'une fois par an (2 injections de graisse).
Bagues de bras de levage (1 par unité de coupe); voir Figure 59.

Bagues de vérin de levage (2 par unité de coupe); voir Figure 59.
Bagues de pivot de bras de levage (1 par unité de coupe); voir Figure 60.
Bâti porteur d'unité de coupe (2 par unité de coupe); voir Figure 60.
Pivot de bras de levage d'unité de coupe (1 par unité de coupe); voir Figure 60.

Coupez le moteur avant de contrôler le niveau d'huile ou d'ajouter de l'huile dans le carter.
Ne modifiez pas le réglage du régulateur et ne faites pas tourner le moteur à un régime excessif.
| Périodicité d'entretien | Procédure d'entretien |
|---|---|
| À chaque utilisation ou une fois par jour |
|
Préparez la machine pour l'entretien; voir Préparation à l'entretien.
Ouvrez le capot; voir Ouverture du capot.
Vérifiez l'indicateur de colmatage au bout du boîtier de filtre à air (Figure 61).
Note: Si une bande rouge est visible dans l'indicateur de colmatage, remplacez le filtre à air; voir Dépose du filtre.

Pressez la valve d'éjection des poussières (Figure 62).

Fermez et verrouillez le capot; voir Fermeture du capot.
| Périodicité d'entretien | Procédure d'entretien |
|---|---|
| Toutes les 400 heures |
|
Faites l'entretien du filtre à air uniquement quand l'indicateur de colmatage montre une bande rouge. Changer le filtre à air prématurément ne fait qu'accroître le risque de contamination du moteur par des impuretés quand le filtre est déposé.
Important: Le couvercle doit être parfaitement ajusté sur le boîtier du filtre à air.
Préparez la machine pour l'entretien; voir Préparation à l'entretien.
Ouvrez le capot; voir Ouverture du capot.
Recherchez sur le boîtier du filtre à air des dommages ou une usure susceptibles d'occasionner des fuites d'air. Vérifiez que le système d'admission ne présente pas de fuites, de dommages ou de colliers de flexible desserrés.
Note: Remplacez le filtre à air s'il est usé ou endommagé et remplacez aussi les éléments du système d'admission.
Tirez le verrou vers l'extérieur et tournez le couvercle du filtre à air dans le sens antihoraire (Figure 63).

Déposez le couvercle du boîtier du filtre à air.
Avant de déposer le filtre, soufflez de l'air comprimé à basse pression (2,75 bar [40 psi]) propre et sec pour éliminer toute accumulation importante de débris entre l'extérieur du préfiltre et le boîtier. N'utilisez pas d'air sous haute pression car il pourrait forcer les impuretés à travers le filtre et dans le conduit d'admission.
Cette procédure de nettoyage évite de déplacer des débris dans l'admission lors de la dépose du préfiltre.
Retirez le préfiltre (Figure 64).
Note: Ne nettoyez pas l'élément du filtre à air.

Contrôlez l'élément de sécurité du filtre (Figure 65). Remplacez-le s'il est encrassé.
Important: N'essayez jamais de nettoyer l'élément de sécurité (Figure 65). Remplacez-le une fois sur trois, quand vous effectuez l'entretien du préfiltre.

Vérifiez que le filtre de rechange n'a pas été endommagé pendant le transport. Vérifiez l'extrémité d'étanchéité de l'élément filtrant et du boîtier du filtre à air.
Important: N'utilisez pas les éléments filtrants endommagés.
Assemblez le préfiltre. Appuyez sur le bord extérieur de l'élément filtrant pour bien l'enfoncer dans le boîtier du filtre à air.
Important: N'appuyez pas sur la partie centrale flexible du filtre.
Retirez la valve d'éjection des poussières du couvercle du filtre à air, nettoyez la cavité et remettez la valve en place sur le couvercle.
Montez le couvercle sur le boitier du filtre à air en tournant la valve d'éjection des poussières vers le bas, à peu près entre les positions 5:00 et 7:00 heures vu de l'extrémité.
Si une bande rouge est visible dans l'indicateur de colmatage, appuyez sur le bouton de réinitialisation au bout de l'indicateur (Figure 66).

Fermez et verrouillez le capot; voir Fermeture du capot.
Utilisez une huile moteur de qualité qui répond aux spécifications suivantes ou les dépasse :
Catégorie de service API CH-4 ou mieux.
Utilisez le grade de viscosité d'huile moteur suivant :
Huile préférée : SAE 15W-40 (au-dessus de -18 °C [0 °F])
Autre huile possible : SAE 10W-30 ou 5W-30 (toutes températures)
L'huile moteur Toro Premium est en vente chez votre distributeur Toro agréé avec l'indice de viscosité 15W-40 ou 10W-30.
| Périodicité d'entretien | Procédure d'entretien |
|---|---|
| À chaque utilisation ou une fois par jour |
|
À la livraison, le carter moteur contient de l'huile; vérifiez toutefois le niveau d'huile avant et après le premier démarrage du moteur.
Note: Le meilleur moment pour vérifier le niveau d'huile moteur est en début de journée, quand le moteur est froid avant le premier démarrage. Si le moteur a déjà tourné, attendez 10 minutes avant de contrôler le niveau d'huile.
Préparez la machine pour l'entretien; voir Préparation à l'entretien.
Déverrouillez et ouvrez le capot; voir Ouverture du capot.
Sur le côté droit du moteur, retirez la jauge de son tube (Figure 67) et essuyez-la sur un chiffon propre.

Remettez la jauge tout au fond du tube, puis ressortez-la et vérifiez le niveau d'huile.
Note: Si le niveau d'huile se situe entre les repères maximum et minimum sur la jauge, il n'est pas nécessaire de faire l'appoint; passez à l'opération 7.
Si le niveau est trop bas, retirez le bouchon de remplissage (Figure 68) sur le côté droit du moteur, et versez progressivement de petites quantités d'huile en vérifiant fréquemment le niveau, jusqu'à ce que l'huile atteigne le repère maximum sur la jauge.
Important: Maintenez le niveau d'huile moteur entre les repères maximum et minimum sur la jauge. Un niveau d'huile moteur insuffisant ou excessif peut causer de gros dommages au moteur.

Remettez le bouchon de remplissage et la jauge en place.
Fermez et verrouillez le capot; voir Fermeture du capot.
Environ 9,5 litres (10 pintes américaines) avec le filtre.
| Périodicité d'entretien | Procédure d'entretien |
|---|---|
| Toutes les 250 heures |
|
Préparez la machine pour l'entretien; voir Préparation à l'entretien.
Retirez le bouchon de remplissage d'huile.
Placez un bac de vidange sous le bouchon de vidange.
Retirez le bouchon de vidange (Figure 69) et laissez couler l'huile dans un bac de vidange.

Lorsque la vidange d'huile moteur est terminée, remettez le bouchon de vidange en place et serrez-le à un couple de 54 à 63 N·m (40 à 47 pi-lb).
Sur le côté gauche du moteur, tournez le filtre à huile dans le sens antihoraire pour le retirer (Figure 70).

Essuyez l'adaptateur du filtre.
Appliquez une fine couche d'huile propre sur le joint du filtre neuf.
Note: Ne serrez pas le filtre excessivement.
Vissez le filtre sur l'adaptateur jusqu'à ce que les deux soient en contact, puis serrez encore le filtre d'un tour.
Faites l'appoint d'huile et remettez le bouchon de remplissage en place; voir Spécifications de l'huile, Capacité du carter d'huile et Contrôle du niveau d'huile moteur.
Réglez le câble d'accélérateur (Figure 71) de sorte que le levier du régulateur sur le moteur touche le boulon de réglage de haut régime en même temps que la commande d'accélérateur touche l'extrémité de la fente dans le bras de commande.

Dans certaines conditions, le carburant et les vapeurs qu'il dégage sont extrêmement inflammables et explosifs. Un incendie ou une explosion causé(e) par du carburant peut vous brûler, ainsi que d'autres personnes, et causer des dommages matériels.
Faites le plein du réservoir à l'extérieur, dans un endroit bien dégagé, moteur arrêté et froid. Essuyez tout carburant répandu.
Ne remplissez pas complètement le réservoir de carburant. Remplissez le réservoir de carburant jusqu'à 25 mm (1 po) au-dessous du haut du réservoir, pas du goulot de remplissage. L'espace au-dessus doit rester vide pour permettre au carburant de se dilater.
Ne fumez jamais en manipulant du carburant et tenez-vous à l'écart des flammes nues ou sources d'étincelles qui pourraient enflammer les vapeurs de carburant.
Stockez le carburant dans un bidon de sécurité propre et homologué qui doit être maintenu bouché.
| Périodicité d'entretien | Procédure d'entretien |
|---|---|
| À chaque utilisation ou une fois par jour |
|
Préparez la machine pour l'entretien; voir Préparation à l'entretien.
Ouvrez le capot; voir Ouverture du capot.
Placez un bac de vidange sous le filtre séparateur eau-carburant (Figure 72).

Desserrez la vanne de vidange au bas du filtre séparateur eau-carburant, et vidangez le carburant et l'eau.
Fermez la vanne de vidange au bas du filtre séparateur eau-carburant.
Fermez et verrouillez le capot; voir Fermeture du capot.
| Périodicité d'entretien | Procédure d'entretien |
|---|---|
| Toutes les 400 heures |
|
Garez la machine sur une surface plane et horizontale, abaissez les unités de coupe, serrez le frein de stationnement, coupez le moteur et enlevez la clé.
Préparez la machine pour l'entretien; voir Préparation à l'entretien.
Ouvrez le capot; voir Ouverture du capot.
Vérifiez si les conduites d'alimentation sont usées, détériorées ou endommagées, ou si elles présentent des raccords desserrés.
Note: Réparez ou remplacez les conduites de carburant usées ou endommagées; resserrez tous les raccords desserrés.
Fermez et verrouillez le capot; voir Fermeture du capot.
| Périodicité d'entretien | Procédure d'entretien |
|---|---|
| Toutes les 400 heures |
|
Vidangez le séparateur eau-carburant; voir les opérations 1 à 4 sous Vidange du séparateur carburant-eau.
Nettoyez le filtre séparateur eau-carburant et la tête du filtre (Figure 73).

Déposez le filtre séparateur de la tête du filtre.
Nettoyez la surface de montage de la tête du filtre.
Appliquez une couche de carburant propre sur le joint du nouveau filtre séparateur.
Vissez le filtre séparateur dans la tête du filtre jusqu'à ce que le joint rejoigne la surface de montage, puis serrez le filtre d'un demi tour supplémentaire.
Vérifiez que la vanne de vidange au bas du filtre séparateur eau-carburant est fermée.
Démarrez le moteur et vérifiez qu'il n'y a pas de fuite d'huile autour du filtre séparateur et de la tête du filtre.
Coupez le moteur, retirez la clé, puis fermez et verrouillez le capot; voir Fermeture du capot.
| Périodicité d'entretien | Procédure d'entretien |
|---|---|
| Toutes les 800 heures |
|
| Avant le remisage |
|
Vidangez et nettoyez le réservoir si le circuit d'alimentation est contaminé ou si vous prévoyez de remiser la machine pendant une période prolongée. Rincez le réservoir avec du carburant neuf.
Préparez la machine pour l'entretien; voir Préparation à l'entretien.
Placez un bac de vidange sous la vanne de vidange au fond u réservoir de carburant (Figure 74).

Ouvrez la vanne de vidange et vidangez le carburant.
Au besoin, rincez le réservoir de carburant avec du carburant propre.
Fermez la vanne de vidange.
Note: Vérifiez si la vanne de vidange fuit quand vous ajoutez du carburant dans le réservoir.
Garez la machine sur une surface plane et horizontale, abaissez les unités de coupe, serrez le frein de stationnement, coupez le moteur et enlevez la clé.
Le tube d'admission de carburant se trouve dans le réservoir de carburant. Il est muni d'une crépine qui empêche les débris de pénétrer dans le système d'alimentation. Retirez le tube d'admission de carburant et nettoyez la crépine selon les besoins.
Préparez la machine pour l'entretien; voir Préparation à l'entretien.
Basculez le siège; voir Basculement du siège.
Retirez le collier qui fixe le flexible sur le tube d'admission de carburant (Figure 75).

Retirez le tube d'admission de carburant et la bague en caoutchouc du réservoir.
Nettoyez la crépine au bout du tube d'admission de carburant (Figure 75).
Insérez le tube d'admission de carburant et la bague en caoutchouc dans le réservoir jusqu'à ce que la bague soit complètement engagée dans le réservoir.
Branchez le flexible sur le tube d'admission de carburant et fixez-le en place avec le collier.
Abaissez et verrouillez le siège; voir Abaissement du siège.
Débranchez la batterie avant de réparer la machine. Débranchez toujours la borne négative de la batterie avant la borne positive. Rebranchez la borne positive avant la borne négative.
Chargez la batterie dans un endroit dégagé et bien aéré, à l'écart des flammes ou sources d'étincelles. Débranchez le chargeur avant de brancher ou de débrancher la batterie. Portez des vêtements de protection et utilisez des outils isolés.
L'électrolyte contient de l'acide sulfurique, dont l'ingestion est mortelle et qui cause de graves brûlures.
Ne buvez jamais l'électrolyte et évitez tout contact avec les yeux, la peau ou les vêtements. Portez des lunettes de protection et des gants en caoutchouc.
Faites le plein d'électrolyte à proximité d'une arrivée d'eau propre, de manière à pouvoir rincer abondamment la peau en cas d'accident.
Préparez la machine pour l'entretien; voir Préparation à l'entretien.
Ouvrez le couvercle du compartiment de la batterie; voir Accès au compartiment de la batterie.
Débranchez le câble négatif de la batterie (Figure 76).

Retirez le capuchon en caoutchouc de la cosse du câble positif de la batterie et débranchez le câble positif de la batterie.
Branchez le câble positif (rouge) de la batterie sur la borne positive (+) de la batterie (Figure 77).

Branchez le câble négatif de la batterie (noir) sur la borne négative (-) de la batterie.
Appliquez une couche de graisse Grafo 112X (Skin-Over), réf. Toro 505-47, sur les bornes de la batterie et les cosses des câbles de la batterie.
Enfilez le capuchon en caoutchouc sur la cosse du câble positif de la batterie.
Fermez et verrouillez le couvercle du compartiment de la batterie.
Débranchez la batterie; voir Débranchement de la batterie.
Raccordez un chargeur de 3 à 4 A aux bornes de la batterie.
Chargez la batterie au régime de 3 à 4 ampères durant 4 à 8 heures.
Une fois la batterie chargée, débranchez le chargeur du secteur et des bornes de la batterie.
Branchez la batterie; voir Branchement de la batterie.
| Périodicité d'entretien | Procédure d'entretien |
|---|---|
| Toutes les 50 heures |
|
Note: Les bornes et le bac de la batterie doivent être propres, car une batterie encrassée se décharge lentement.
Préparez la machine pour l'entretien; voir Préparation à l'entretien.
Ouvrez le couvercle du compartiment de la batterie; voir Accès au compartiment de la batterie.
Contrôlez l'état de la batterie.
Note: Remplacez la batterie si elle est usée ou endommagée.
Débranchez les câbles de la batterie, et retirez la batterie de la machine; voir Débranchement de la batterie.
Lavez le bac complet de la batterie avec un mélange d'eau et de bicarbonate de soude.
Rincez le bac à l'eau propre.
Placez la batterie dans la machine et branchez les câbles de la batterie; voir Branchement de la batterie.
Fermez et verrouillez le couvercle du compartiment de la batterie.
Le porte-fusibles se trouve dans le compartiment de la batterie.
Préparez la machine pour l'entretien; voir Préparation à l'entretien.
Ouvrez le couvercle du compartiment de la batterie; voir Accès au compartiment de la batterie.
Remplacez le fusible défectueux (Figure 78) par un fusible de même type et de même intensité.


Fermez et verrouillez le couvercle du compartiment de la batterie.
| Périodicité d'entretien | Procédure d'entretien |
|---|---|
| À chaque utilisation ou une fois par jour |
|
Important: Les pneus doivent être uniformément gonflés à la pression préconisée pour garantir de bons résultats et de bonnes performances. Veillez à toujours utiliser une pression de gonflage suffisante.
Préparez la machine pour l'entretien; voir Préparation à l'entretien.
Mesurez la pression des pneus.
Note: Les pneus doivent être gonflés à une pression de 0,83 à 1,03 bar (12 à 15 psi).
Au besoin, gonflez ou dégonflez les pneus.
Répétez les opérations 2 et 3 chaque pneu.
| Périodicité d'entretien | Procédure d'entretien |
|---|---|
| Après les 8 premières heures de fonctionnement |
|
| Toutes les 200 heures |
|
Un mauvais couple de serrage des écrous de roues peut entraîner une défaillance de la machine ou la perte d'une roue et causer des blessures graves.
Serrez les écrous des roues avant et arrière à un couple de 115 à 136 N·m (85 à 100 pi-lb) après 1 à 4 heures de fonctionnement, puis de nouveau après 8 heures de fonctionnement. Resserrez les écrous des roues toutes les 200 heures par la suite.
Préparez la machine pour l'entretien; voir Préparation à l'entretien.
Serrez les écrous de roues à un couple de 115 à 136 N·m (85 à 100 pi-lb).
Note: Les écrous des roues avant sont du type 1/2–20 UNF et ceux des roues arrière du type M12 x 1,6-6H (métrique).
| Périodicité d'entretien | Procédure d'entretien |
|---|---|
| Toutes les 400 heures |
|
Une machine en appui sur un cric peut être instable; elle pourrait tomber et blesser la personne qui se trouve dessous.
Ne mettez pas le moteur en marche lorsque la machine est en appui sur un cric.
Retirez toujours la clé du commutateur avant de descendre de la machine.
Calez les roues quand vous soulevez la machine avec un cric.
Soutenez la machine avec des chandelles.
Les trains planétaires/roues motrices ne doivent présenter aucun jeu axial (les roues ne doivent pas bouger lorsque vous les tirez ou les poussez parallèlement à l'essieu).
Préparez la machine pour l'entretien; voir Préparation à l'entretien.
Calez les roues arrière et soulevez l'avant de la machine; voir Caractéristiques techniques et Localisation des points de levage.
Soutenez le cadre avant de la machine avec des chandelles.
Saisissez l'une des roues motrices avant et poussez/tirez-la vers la machine et dans la direction opposée, en notant tout mouvement éventuel.

Répétez l'opération 4 pour l'autre roue motrice.
Si une roue bouge, demandez à votre distributeur Toro agréé de remettre le train planétaire en état.
| Périodicité d'entretien | Procédure d'entretien |
|---|---|
| Toutes les 400 heures |
|
Spécifications du lubrifiant : huile pour engrenages SAE 85W-140 de haute qualité
Garez la machine sur une surface plane et horizontale et positionnez la roue de sorte que le bouchon de remplissage se trouve à la position 12 heures, le bouchon de contrôle à la position 3 heures, et le bouchon de vidange à la position 6 heures (Figure 80).

Retirez le bouchon de contrôle à la position 3 heures (Figure 80).
Le niveau d'huile doit atteindre le bas de l'orifice de contrôle.

Si le niveau d'huile est trop bas, retirez le bouchon de remplissage situé à la position 12 heures et faites l'appoint d'huile jusqu'à ce qu'elle s'écoule par l'orifice à la position 3 heures.
Vérifiez l'état et l'usure des joints toriques des bouchons.
Note: Remplacez le ou les joints toriques au besoin.
Remettez le ou les bouchons en place.
Répétez les opérations 1 à 5 pour le train planétaire de l'autre côté de la machine.
| Périodicité d'entretien | Procédure d'entretien |
|---|---|
| Après les 50 premières heures de fonctionnement |
|
| Toutes les 800 heures |
|
Spécifications du lubrifiant : huile pour engrenages SAE 85W-140 de haute qualité
Capacité de lubrification du carter de frein et de train planétaire : 0,65 L (22 oz liq.)
Garez la machine sur une surface plane et horizontale et positionnez la roue de sorte que le bouchon de remplissage se trouve à la position 12 heures, le bouchon de contrôle à la position 3 heures, et le bouchon de vidange à la position 6 heures; voir la Figure 80 à la section Contrôle du niveau de lubrifiant du train planétaire.
Retirez le bouchon de remplissage à la position 12 heures et le bouchon de contrôle à la position 3 heures (Figure 82).

Placez un bac de vidange sous le moyeu du train planétaire et enlevez le bouchon de vidange à la position 6 heures pour permettre la vidange complète de l'huile (Figure 82).
Vérifiez l'état et l'usure des joints toriques des bouchons de remplissage, de contrôle et de vidange.
Note: Remplacez le ou les joints toriques au besoin.
Remettez le bouchon de vidange dans l'orifice de vidange du carter de planétaire (Figure 82).
Placez un bac de vidange sous le carter de frein et enlevez le bouchon de vidange pour permettre la vidange complète de l'huile (Figure 83).

Vérifiez l'état et l'usure du joint torique du bouchon, puis remettez le bouchon de vidange en place dans le carter de frein.
Note: Remplacez le joint torique au besoin.
Versez lentement dans l'orifice du bouchon de remplissage du train planétaire 0,65 L (22 oz liq.) d'huile pour engrenages de haute qualité SAE 85W-140.
Important: Si le train planétaire est rempli avant que 0,65 L (22 oz liq.) d'huile soit ajouté, attendez une heure ou remettez le bouchon en place et déplacez la machine d'environ 3 mètres (10 pieds) pour répartir l'huile dans le système de freinage. Retirez ensuite le bouchon et ajoutez le restant d'huile.

Remettez en place les bouchons de remplissage et de contrôle.
Essuyez soigneusement les carters de frein et de train planétaire (Figure 85).

Répétez les opérations 1 à 7 de la section Vidange du train planétaire et les opérations 1 à 3 de la présente procédure pour l'ensemble train planétaire/frein de l'autre côté de la machine.
| Périodicité d'entretien | Procédure d'entretien |
|---|---|
| À chaque utilisation ou une fois par jour |
|
| Toutes les 400 heures |
|
Spécifications de l'huile de pont : huile pour engrenages SAE 85W-140
Préparez la machine pour l'entretien; voir Préparation à l'entretien.
Retirez un bouchon de contrôle à une extrémité du carter de pont (Figure 86).

Contrôlez le niveau d'huile pour engrenages dans le carter par l'orifice du bouchon de contrôle.
Note: Le niveau d'huile pour engrenages est correct quand il atteint le bas de l'orifice du bouchon de contrôle.
Si le niveau est trop bas, retirez le bouchon de remplissage et ajoutez une quantité suffisante de l'huile pour engrenages spécifiée pour faire monter le niveau au bas de l'orifice du bouchon de contrôle.
Remettez le bouchon de contrôle en place.
Remettez le bouchon de remplissage si vous l'avez retiré.
| Périodicité d'entretien | Procédure d'entretien |
|---|---|
| Après les 200 premières heures de fonctionnement |
|
| Toutes les 800 heures |
|
Capacité d'huile de pont arrière : 2,4 L (80 oz liq.)
Préparez la machine pour l'entretien; voir Préparation à l'entretien.
Nettoyez la surface autour des 3 bouchons de vidange (Figure 87) – 1 sur chaque carter de coupe conique (du côté extérieur des carters de ponts) et 1 sur le boîtier d'engrenages central.

Retirez chaque bouchon de vidange (Figure 87) et faites couler l'huile dans un bac de vidange.
Retirez les 2 bouchons de contrôle du carter de pont et le bouchon de remplissage pour faciliter la vidange de l'huile (Figure 88).

Installez les 3 bouchons de vidange et le bouchon de contrôle sur le carter de pont avec le raccord reniflard.
Dans l'orifice du bouchon de remplissage dans le carter, versez environ 2,37 L (80 oz liq.) d'huile pour engrenages 85W-140 ou une quantité d'huile suffisante pour atteindre la base de l'orifice.
Remettez en place le bouchon de contrôle et les bouchons de remplissage.
| Périodicité d'entretien | Procédure d'entretien |
|---|---|
| À chaque utilisation ou une fois par jour |
|
| Toutes les 400 heures |
|
Spécifications de l'huile du carter de réducteur : huile pour engrenages SAE 85W-140.
Préparez la machine pour l'entretien; voir Préparation à l'entretien.
Retirez le bouchon de contrôle/remplissage sur le côté gauche du carter du réducteur (Figure 89).

Vérifiez l'état et l'usure du joint torique du bouchon.
Contrôlez le niveau d'huile dans le carter du réducteur.
Note: Le niveau d'huile pour engrenages est correct quand il atteint le bas de l'orifice du bouchon de contrôle/remplissage.
Si le niveau d'huile est trop bas, rectifiez le niveau pour l'amener au bas de l'orifice du bouchon de contrôle/remplissage.
Remettez le bouchon de contrôle/remplissage en place.

Préparez la machine pour l'entretien; voir Préparation à l'entretien.
Reportez-vous au Tableau des entretoises de vitesse de tonte pour déterminer la vitesse de déplacement maximale quand vous tondez, ainsi que la position des petites entretoises qui limitent la vitesse de tonte-déplacement; voir Tableau des entretoises de vitesse de tonte.
Note: Chacune des petites entretoises règle la vitesse de tonte de 0,8 km/h (0,5 mi/h).
Sous la pédale de déplacement, retirez le boulon de butée et le contre-écrou à embase qui fixent les entretoises sur le bloc de butée de tonte (Figure 91).

Placez la grande entretoise au-dessus du bloc de butée de tonte.
Placez les petites entretoises selon ce que vous avez déterminé à l'opération 2.
Fixez les entretoises sur le bloc de butée de tonte avec le boulon de butée et le contre-écrou à embase que vous avez retirés à l'opération 3.
Note: Vous devez installez les 6 petites entretoises et la grande entretoise.
Programmez la vitesse de tonte dans l'InfoCenter; voir Programmation de la vitesse de tonte dans l'InfoCenter.
La vitesse de tonte programmée dans l'InfoCenter est utilisée par le TEC pour régler la vitesse des cylindres des unités de coupe à la vitesse de tonte-déplacement maximale.
Dans l'InfoCenter, ouvrez le MENU PRINCIPAL.
Dans le MENU PRINCIPAL, appuyez sur le bouton central jusqu'à ce que l'option RéGLAGE soit sélectionnée, puis appuyez sur le bouton droit.
Dans le menu RéGLAGES, appuyez sur le bouton central jusqu'à ce que l'option MENUS PROTéGéS soit sélectionnée, puis appuyez sur le bouton droit.
Sur l'écran MENUS PROTéGéS, saisissez le code PIN; voir Accès aux menus protégés.
Dans le menu RéGLAGES, appuyez sur le bouton central jusqu'à ce que l'option VITESSE DE TONTE soit sélectionnée, puis appuyez sur le bouton droit.
Sur l'écran VITESSE DE TONTE, appuyez sur le bouton central ou le bouton droit jusqu'à ce que la vitesse de tonte affichée dans l'InfoCenter soit la même que la vitesse de tonte-déplacement maximale déterminée à l'opération 2 de Réglage des entretoises de vitesse de tonte.
Note: La vitesse de tonte monte ou descend par paliers de 0,8 km/h (0,5 mi/h).

Note: Le témoin s'allume et l'avis nº 176 (vitesse de cylindre changée) s'affiche.

Appuyez sur le bouton gauche pour quitter le menu Réglages.
La machine ne doit pas bouger quand vous relâchez la pédale de déplacement. Si elle se déplace, réglez le point mort de la transmission.
Garez la machine sur une surface plane et horizontale, coupez le moteur, amenez la commande de vitesse à la position gamme basse et abaissez les unités de coupe.
Enfoncez seulement la pédale de frein droite et serrez le frein de stationnement.
Levez le côté gauche de la machine au cric pour décoller la roue avant gauche du sol. Soutenez la machine avec des chandelles pour l'empêcher de retomber accidentellement; voir Caractéristiques techniques et Localisation des points de levage.
Mettez le moteur en marche et laissez-le tourner au ralenti.
Ajustez les écrous de blocage sur l'embout de biellette pour avancer la tige de déplacement et éliminer le déplacement en marche avant ou pour reculer la tige et éliminer le déplacement en marche arrière (Figure 94 et Figure 95).


Lorsque les roues arrêtent de tourner, serrez les écrous pour bloquer le réglage.
Coupez le moteur et enlevez la clé.
Retirez les chandelles de sous la machine et abaissez la machine au sol.
Faites un essai de conduite pour vérifier que la machine ne se déplace plus.
| Périodicité d'entretien | Procédure d'entretien |
|---|---|
| Toutes les 800 heures |
|
Préparez la machine pour l'entretien; voir Préparation à l'entretien.
Mesurez l'entraxe (à hauteur d'essieu) à l'avant et à l'arrière des roues directrices.
Note: Le pincement à l'avant doit être inférieur de 3 mm (1⁄8 po) au pincement à l'arrière (Figure 96).

Sur l'essieu arrière, retirez la goupille fendue et l'écrou fendu de chaque embout de biellette (Figure 97).

Séparez l'embout de biellette du bras de direction du carter de pont.
Desserrez les colliers aux deux extrémités des biellettes (Figure 97).
Faites pivoter la rotule détachée d'un tour complet vers l'intérieur ou l'extérieur.
Resserrez le collier à l'extrémité détachée de la biellette.
Faites pivoter la biellette complète d'un tour complet dans le même sens (vers l'intérieur ou l'extérieur).
Serrez le collier à l'extrémité rattachée de la biellette.
Fixez l'embout de biellette sur le bras de direction du carter de pont avec l'écrou fendu.
Mesurez le pincement; voir Contrôle du parallélisme des roues arrière.
Au besoin, retirez l'écrou fendu et répétez les opérations 2 à 9.
Lorsque la différence entre les mesures avant et arrière est 3 mm (1⁄8 po) ou moins, serrez l'écrou crénelé et installez une goupille fendue neuve.
L'ingestion de liquide de refroidissement moteur peut être toxique; rangez-le hors de la portée des enfants et des animaux domestiques.
Les projections de liquide de refroidissement brûlant sous pression ou le contact avec le radiateur brûlant et les pièces qui l'entourent peuvent causer des brûlures graves.
Laissez toujours refroidir le moteur pendant au moins 15 minutes avant de retirer le bouchon de radiateur.
Servez-vous d'un chiffon pour ouvrir le bouchon du radiateur et desserrez-le lentement pour permettre à la vapeur de s'échapper.
Le réservoir de liquide de refroidissement est rempli à l'usine d'un mélange 50/50 d'eau et de liquide de refroidissement longue durée à base d'éthylène glycol.
Important: Utilisez uniquement des liquides de refroidissement en vente dans le commerce et répondant aux spécifications énoncées dans le Tableau des normes des liquides de refroidissement longue durée.N'utilisez pas de liquide de refroidissement ordinaire (vert) issu de la technologie des acides inorganiques (IAT) dans la machine. Ne mélangez pas les liquides de refroidissement ordinaires et longue durée.
|
Type à l'éthylène-glycol |
Type avec inhibiteur de corrosion |
|
Antigel longue durée |
Technologie des acides organiques (OAT) |
|
Important: Ne vous fiez pas à la couleur du liquide de refroidissement pour différencier les types de liquides de refroidissement ordinaire (IAT) et longue durée.Les fabricants de liquides de refroidissement peuvent teinter les liquides de refroidissement longue durée dans les couleurs suivantes : rouge, rose, orange, jaune, bleu, vert-bleu, violet et vert. Utilisez un liquide de refroidissement répondant aux spécifications énoncées dans le Tableau des normes des liquides de refroidissement longue durée. |
|
|
ATSM International |
SAE International |
|
D3306 et D4985 |
J1034, J814 et 1941 |
Important: Le mélange concentré doit être constitué à parts égales de liquide de refroidissement et d'eau.
De préférence : si le liquide de refroidissement est mélangé à partir de concentré, le mélanger avec de l'eau distillée.
Option privilégiée : en l'absence d'eau distillée, utiliser un liquide de refroidissement prémélangé au lieu de concentré.
Minimum requis : en l'absence d'eau distillée et de liquide de refroidissement prémélangé, mélanger du liquide concentré avec de l'eau potable propre.
| Périodicité d'entretien | Procédure d'entretien |
|---|---|
| À chaque utilisation ou une fois par jour |
|
Si le moteur vient de tourner, le liquide de refroidissement sous pression peut s'échapper et vous brûler.
N'enlevez pas le bouchon du radiateur si le moteur est en marche.
Servez-vous d'un chiffon pour ouvrir le bouchon du radiateur et desserrez-le lentement pour permettre à la vapeur de s'échapper.
Préparez la machine pour l'entretien; voir Contrôle du niveau du liquide de refroidissement.
Ouvrez le capot et attendez que le moteur refroidisse complètement; voir Ouverture du capot.
Enlevez le bouchon de radiateur avec précaution (Figure 98).

Contrôlez le niveau de liquide de refroidissement dans le radiateur.
Note: Le niveau de liquide de refroidissement est correct lorsqu'il atteint le haut du goulot de remplissage du radiateur (Figure 98).
Contrôlez le niveau de liquide de refroidissement dans le vase d'expansion.
Note: Le niveau de liquide de refroidissement est correct lorsqu'il atteint le repère MAXIMUM sur le vase d'expansion.
Si le niveau de liquide de refroidissement est trop bas, faites l'appoint de liquide spécifié dans le radiateur, le vase d'expansion ou les deux; voir Spécifications du liquide de refroidissement.
Remettez en place les bouchons du radiateur et du vase d'expansion.
Fermez et verrouillez le capot; voir Fermeture du capot.
| Périodicité d'entretien | Procédure d'entretien |
|---|---|
| À chaque utilisation ou une fois par jour |
|
Préparez la machine pour l'entretien; voir Préparation à l'entretien.
Déverrouillez et ouvrez la grille arrière (Figure 99).

Nettoyez les deux côtés de la grille.
Décrochez la grille des axes d'articulation et déposez-la de la machine.
Ouvrez le capot; voir Ouverture du capot.
Nettoyez soigneusement les deux côtés du radiateur/refroidisseur d'huile (Figure 100) à l'air comprimé. Commencez par l'avant et soufflez les débris vers l'arrière. Nettoyez ensuite en soufflant de l'arrière vers l'avant. Répétez la procédure plusieurs fois jusqu'à ce qu'il ne reste plus aucun débris
Important: Ne nettoyez pas le radiateur/refroidisseur d'huile avec de l'eau, car cela peut encourager la corrosion et la détérioration des composants, et tasser les débris.

Fermez et verrouillez le capot (Fermeture du capot).
Accrochez la grille sur les axes d'articulation (Figure 101).

Fermez et verrouillez la grille.
Réglez les freins de service si la garde aux pédales de frein est supérieure à 13 mm (½ po) ou si les freins patinent. La garde est la distance parcourue par la pédale de frein avant que le freinage soit ressenti.
Préparez la machine pour l'entretien; voir Préparation à l'entretien.
Débloquez le verrou des pédales de frein (Figure 102) pour les rendre indépendantes l'une de l'autre.

Desserrez l'écrou de blocage avant sur l'extrémité filetée du câble de frein (Figure 103).


Pour réduire la garde aux pédales de frein, serrez l'écrou de blocage arrière pour déplacer le câble vers l'arrière jusqu'à obtention d'une garde de 0 à 13 mm (0 à ½ po).
Note: Vérifiez que le câble de frein n'est pas tendu lorsque la pédale est relâchée.
Resserrez l'écrou de blocage avant une fois que les freins sont réglés correctement.
Au besoin, répétez les opérations 3 à 5 pour l'autre câble de frein.
| Périodicité d'entretien | Procédure d'entretien |
|---|---|
| Toutes les 100 heures |
|
Vérifiez l'état et la tension des courroies (Figure 104) toutes les 100 heures de fonctionnement.
Garez la machine sur une surface plane et horizontale, abaissez les unités de coupe, serrez le frein de stationnement, coupez le moteur et enlevez la clé.
Ouvrez le capot; voir Ouverture du capot.
Contrôlez l'état de la courroie d'alternateur.
Note: Remplacez la courroie si elle est usée ou endommagée.
Vérifiez la tension de la courroie.
Note: Lorsque la tension est correcte, la courroie présente une flèche de 10 mm (⅜ po) quand une force de 4,5 N (10 lb) est exercée à mi-chemin entre les poulies.
Si la flèche est supérieure ou inférieure à 10 mm (⅜ po), desserrez les boulons de montage de l'alternateur (Figure 104).

Augmentez ou diminuez la tension de la courroie et resserrez les boulons de montage.
Contrôlez de nouveau la flèche de la courroie pour vérifier si la tension est correcte.
Fermez et verrouillez le capot; voir Fermeture du capot.
Consultez immédiatement un médecin si du liquide est injecté sous la peau. Toute injection de liquide hydraulique sous la peau doit être éliminée dans les quelques heures qui suivent par une intervention chirurgicale réalisée par un médecin.
Vérifiez l'état de tous les flexibles et conduits hydrauliques, ainsi que le serrage de tous les raccords et branchements avant de mettre le système hydraulique sous pression.
N'approchez pas les mains ni aucune autre partie du corps des fuites en trou d'épingle ou des gicleurs d'où sort du liquide hydraulique sous haute pression.
Utilisez un morceau de papier ou de carton pour détecter les fuites.
Dépressurisez avec précaution le système hydraulique avant toute intervention sur le système.
| Périodicité d'entretien | Procédure d'entretien |
|---|---|
| À chaque utilisation ou une fois par jour |
|
Vérifiez que les conduites et flexibles hydrauliques ne présentent pas de fuites, ne sont pas pliés, usés, détériorés par les conditions atmosphériques ou les produits chimiques, et que les supports de montage et les raccords ne sont pas desserrés. Effectuez les réparations nécessaires avant d'utiliser la machine.
Le réservoir est rempli en usine de liquide hydraulique de haute qualité. Contrôlez néanmoins le niveau de liquide hydraulique avant le tout premier démarrage du moteur, puis tous les jours; voir Contrôle du niveau de liquide hydraulique.
Liquide hydraulique recommandé : liquide hydraulique longue durée « Toro PX Extended Life »; disponible en bidons de 19 L (5 gal américains) ou barils de 208 L (55 gal américains).
Note: Si vous utilisez le liquide de remplacement recommandé dans la machine vous n'aurez pas besoin de vidanger le liquide et de remplacer le filtre aussi souvent.
Autres liquides hydrauliques possibles : si vous ne disposez pas de liquide hydraulique longue durée Toro PX, vous pouvez utiliser d'autres liquides hydrauliques classiques à base de pétrole à condition qu'ils soient conformes aux caractéristiques physiques et aux spécifications de l'industrie suivantes. N'utilisez pas de liquide synthétique. Consultez votre dépositaire de lubrifiants pour identifier un produit qui convient.
Note: Toro décline toute responsabilité en cas de dommage causé par l'utilisation de produits de remplacement inadéquats. Utilisez uniquement des produits provenant de fabricants réputés qui répondent de leurs recommandations.
| Propriétés physiques : | ||
| Viscosité, ASTM D445 | 44 à 48 cSt à 40 °C (104 °F) | |
| Indice de viscosité, ASTM D2270 | 140 ou plus | |
| Point d'écoulement, ASTM D97 | -37 à -45 °C (-34 à -49 °F) | |
| Spécifications de l'industrie : | Eaton Vickers 694 (I-286-S, M-2950-S/35VQ25 ou M-2952-S) | |
Note: De nombreux liquides hydrauliques sont presque incolores, ce qui rend difficile la détection des fuites. Un additif colorant rouge pour liquide hydraulique est disponible en bouteilles de 20 ml (0,67 oz liq.). Une bouteille suffit pour 15 à 22 litres (4 à 6 gallons américains) de liquide hydraulique. Vous pouvez commander ces bouteilles chez les dépositaires Toro agréés (réf. 44-2500).
Important: Le liquide hydraulique biodégradable synthétique « Toro Premium Synthetic Biodegradable Hydraulic Fluid » est le seul liquide biodégradable synthétique agréé par Toro. Il est compatible avec les élastomères utilisés dans les systèmes hydrauliques Toro et convient pour de larges plages de températures. Ce liquide est compatible avec les huiles minérales classiques; toutefois, vous devez rincer soigneusement le système hydraulique pour le débarrasser de l'ancien liquide afin d'optimiser sa biodégradabilité et ses performances. Cette huile est disponible en bidons de 19 L (5 gallons américains) ou en barils de 208 L (55 gallons américains) chez votre dépositaire Toro agréé.
| Périodicité d'entretien | Procédure d'entretien |
|---|---|
| À chaque utilisation ou une fois par jour |
|
Le réservoir est rempli en usine de liquide hydraulique de haute qualité.
Préparez la machine pour l'entretien; voir Préparation à l'entretien.
Nettoyez la surface autour du goulot et du bouchon de remplissage du réservoir hydraulique (Figure 105).

Retirez le bouchon du réservoir hydraulique.
Dévissez la jauge du goulot de remplissage et essuyez-la sur un chiffon propre.
Remettez la jauge dans le goulot de remplissage, ressortez-la et contrôlez le niveau de liquide.
Le niveau de liquide hydraulique est correct lorsqu'il se situe entre les repères maximum et minimum sur la jauge.
Si le niveau est trop bas, faites l'appoint de liquide spécifié pour atteindre le repère maximum.
Remettez en place la jauge et le bouchon du réservoir hydraulique.
| Périodicité d'entretien | Procédure d'entretien |
|---|---|
| Toutes les 800 heures |
|
| Toutes les 1000 heures |
|
Utilisez les filtres hydrauliques Toro suivants :
|
Nom |
Réf. Toro |
Emplacement |
|
Filtre de retour |
94-2621 |
Sous le longeron de cadre droit |
|
Filtre de charge |
75-1310 |
Sous le plateau du siège |
|
Important: L'utilisation de tout autre type de filtre peut annuler la garantie de certaines pièces. |
||
Préparez la machine pour l'entretien; voir Préparation à l'entretien.
Basculez le siège; voir Basculement du siège.
Nettoyez la surface autour du filtre de charge et de la tête du filtre (Figure 106).

Placez un bac de vidange sous le filtre et déposez le filtre.
Essuyez la surface de montage du filtre sur la tête avec un chiffon propre.
Lubrifiez le joint du filtre de rechange et remplissez le filtre avec le liquide hydraulique spécifié; voir Spécifications du liquide hydraulique.
Vissez le filtre sur la tête jusqu'à ce que le joint touche la plaque de montage, puis serrez le filtre d'un demi-tour supplémentaire.
Nettoyez la surface autour du filtre de retour et de la tête du filtre (Figure 107).

Placez un bac de vidange sous le filtre de retour et déposez le filtre.
Essuyez la surface de montage du filtre sur la tête avec un chiffon propre.
Lubrifiez le joint du filtre de rechange, remplissez le filtre avec le liquide hydraulique spécifié, puis videz le filtre; voir Spécifications du liquide hydraulique.
Vissez le filtre sur la tête jusqu'à ce que le joint touche la plaque de montage, puis serrez le filtre d'un demi-tour supplémentaire.
Mettez le moteur en marche et laissez-le tourner environ 2 minutes pour purger l'air du circuit.
Recherchez d'éventuelles fuites hydrauliques autour des filtres et des têtes de filtre.
Note: Réparez les fuites hydrauliques éventuelles.
Coupez le moteur et enlevez la clé.
Abaissez le siège; voir Abaissement du siège.
28,4 L (7,5 gallons américains); voir Spécifications du liquide hydraulique.
| Périodicité d'entretien | Procédure d'entretien |
|---|---|
| Toutes les 800 heures |
|
| Toutes les 2000 heures |
|
Si le liquide est contaminé, demandez à votre distributeur Toro agréé de rincer le système. Le liquide contaminé a un aspect laiteux ou noir comparé à du liquide propre.
Capacité du bac de vidange : 30 L (8 gal américains) ou plus
Préparez la machine pour l'entretien; voir Préparation à l'entretien.
Ouvrez le capot; voir Ouverture du capot.
Placez le bac de vidange sous le réservoir hydraulique (Figure 108).

Débranchez le flexible de retour du carter qui est relié au raccord droit au bas du réservoir, et vidangez le liquide hydraulique.
Lorsque la vidange du liquide hydraulique est terminée, rebranchez le flexible de retour du carter sur le raccord du réservoir.
Serrez le raccord à un couple de 50 à 63 N·m (37 à 47 pi-lb).
Remplissez le réservoir hydraulique avec le liquide hydraulique spécifié; voir Spécifications du liquide hydraulique et Capacité de liquide hydraulique.
Important: Utilisez uniquement les liquides hydrauliques spécifiés. Tout autre liquide risque d'endommager le système.
Remettez en place la jauge et le bouchon du réservoir hydraulique.

Mettez le moteur en marche et actionnez toutes les commandes hydrauliques pour faire circuler le liquide hydraulique dans tout le système.
Recherchez d'éventuelles fuites hydrauliques, coupez le moteur et enlevez la clé.
Réparez toutes les fuites hydrauliques.
Fermez et verrouillez le capot; voir Fermeture du capot.
Contrôlez le niveau de liquide; voir Contrôle du niveau de liquide hydraulique.
Note: Faites l'appoint au besoin pour faire monter le niveau jusqu'au repère maximum sur la jauge. Ne remplissez pas le réservoir hydraulique excessivement.
Une lame ou contre-lame usée ou endommagée peut se briser et projeter le morceau cassé dans votre direction ou celle d'autres personnes, et infliger des blessures graves ou mortelles.
Vérifiez périodiquement que les lames et les contre-lames ne sont pas excessivement usées ou endommagées.
Examinez les lames avec prudence. Portez des gants et procédez toujours avec précaution pendant leur entretien. Les lames et les contre-lames doivent uniquement être remplacées ou rodées; n'essayez jamais de les redresser ou de les souder.
Sur les machines à plusieurs unités de coupe, faites attention quand vous tournez une unité de coupe, car sa rotation peut entraîner celle des cylindres des autres unités de coupe.
Les cylindres et autres pièces mobiles peuvent causer des blessures.
N'approchez pas les mains, les doigts et les vêtements des cylindres et autres pièces mobiles.
N'essayez jamais de faire tourner les cylindres avec la main ou le pied quand le moteur est en marche.
Note: Vous trouverez des instructions et des procédures de rodage complémentaires dans le Manuel d'affûtage des tondeuses à cylindres et rotatives Toro (Form nº 80-300SL).
Garez la machine sur une surface plane et horizontale, abaissez les unités de coupe, serrez le frein de stationnement, coupez le moteur et placez la commande de PDF à la position DéSENGAGéE.
Ouvrez le capot; voir Ouverture du capot.
Effectuez les premiers réglages cylindre/contre-lame nécessaires pour roder toutes les unités de coupe qui en ont besoin; voir le Manuel de l'utilisateur des unités de coupe.
Tournez les leviers de rodage avant, arrière ou les deux à la position R (rodage) (Figure 110).


Si vous modifiez le régime moteur pendant le rodage, les cylindres risquent de caler.
Ne variez jamais le régime moteur pendant le rodage.
Le rodage ne doit s'effectuer qu'au ralenti.
Note: Lors du rodage, les unités de coupe avant fonctionnent ensemble tout comme les unités arrière.
Vérifiez que la pédale de déplacement est en position neutre et que le frein de stationnement est serré.
Mettez le moteur en marche et laissez-le tourner au ralenti.
Tournez le levier du limiteur de vitesse de tonte-déplacement à la position TONTE (Figure 112).

Placez la commande de PDF à la position ENGAGéE.
Déplacez le levier multifonction vers l'avant.
Note: Les cylindres sélectionnés pour le rodage tournent en arrière.
Appliquez le produit de rodage sur les cylindres avec un pinceau à long manche.
Ne touchez pas les unités de coupe en rotation au risque de vous blesser.
N'utilisez jamais de pinceau à manche court.
Pour éviter de vous blesser, ne vous approchez pas des unités de coupe avant d'effectuer la procédure.
Si les cylindres calent ou se mettent à tourner irrégulièrement pendant le rodage, augmentez le régime moteur jusqu'à ce que les cylindres se stabilisent.
Si est nécessaire d'effectuer un réglage sur les unités de coupe pendant le rodage, procédez comme suit :
Ramenez le levier multifonction en arrière.
Note: Les unités de coupe s'arrêtent mais ne se lèvent pas.
Placez la commande de PDF à la position DéSENGAGéE.
Coupez le moteur et enlevez la clé.
Réglez les unités de coupe.
Répétez les opérations 2 à 7.
Répétez l'opération 6 pour les autres unités de coupe que vous souhaitez roder.
Important: Si vous ne ramenez pas le levier de rodage à la position ARRêT après le rodage, les unités de coupe ne s'élèveront pas ou ne fonctionneront pas correctement.
Coupez le moteur et enlevez la clé.
Lavez toute trace de produit de rodage sur les unités de coupe.
Réglez le contact cylindre/contre-lame selon les besoins.
Tournez les leviers de rodage à la position F (tonte).

Pour améliorer encore la qualité du tranchant, passez une lime sur la face avant de la contre-lame après le rodage.
Note: Cela permet d'éliminer les bavures ou les aspérités qui ont pu se former le long du tranchant.
Fermez et verrouillez le capot; voir Fermeture du capot.
Au besoin, lavez la machine seulement avec de l'eau ou en y ajoutant un détergent doux. Vous pouvez laver la machine à l'aide d'un chiffon.
Important: Ne nettoyez pas la machine avec de l'eau saumâtre ou recyclée.
Important: Ne lavez pas la machine au jet haute pression. Cela pourrait endommager le système électrique, décoller des autocollants importants ou enlever la graisse nécessaire aux points de frottement. N'utilisez pas trop d'eau près du panneau de commande, du moteur et de la batterie.
Important: Ne lavez pas la machine pendant que le moteur tourne. Cela pourrait endommager les pièces internes du moteur.
Avant de quitter la position d'utilisation, effectuez la procédure suivante :
Garez la machine sur une surface plane et horizontale.
Désengagez et abaissez les unités de coupe.
Serrez le frein de stationnement.
Coupez le moteur et enlevez la clé.
Attendez l'arrêt complet de tout mouvement.
Laissez refroidir la machine avant de la régler, la nettoyer, la remiser ou la réparer.
Ne remisez pas la machine ni les bidons de carburant à proximité d'une flamme nue, d'une source d'étincelles ou d'une veilleuse, telle celle d'un chauffe-eau ou autre appareil.
Garez la machine sur une surface plane et horizontale, abaissez les unités de coupe, serrez le frein de stationnement, coupez le moteur et enlevez la clé.
Nettoyez soigneusement le groupe de déplacement, les unités de coupe et le moteur.
Contrôlez la pression des pneus; voir Contrôle de la pression des pneus.
Vérifiez le serrage de toutes les fixations et resserrez-les au besoin.
Lubrifiez tous les graisseurs et points de pivot. Essuyez tout excès de lubrifiant.
Poncez légèrement et retouchez la peinture rayée, écaillée ou rouillée. Réparez les déformations de la carrosserie.
Procédez à l'entretien de la batterie et des câbles; voir Consignes de sécurité pour le système électrique
Débranchez les câbles des bornes de la batterie.
Nettoyez la batterie, les cosses des câbles et les bornes de la batterie avec une brosse métallique et un mélange de bicarbonate de soude.
Pour prévenir la corrosion, enduisez les bornes de la batterie et les cosses des câbles de graisse Grafo 112X (Skin-Over) (réf. Toro 505-47) ou de vaseline.
Rechargez lentement la batterie tous les deux mois pendant 24 heures pour prévenir la sulfatation.
Vidangez le carter moteur et remettez le bouchon de vidange.
Déposez le filtre à huile et mettez-le au rebut. Posez un filtre neuf.
Remplissez le moteur avec l'huile moteur recommandée.
Démarrez le moteur et faites-le tourner au ralenti pendant environ 2 minutes.
Coupez le moteur et enlevez la clé.
Rincez le réservoir de carburant avec du carburant propre et frais.
Rebranchez tous les raccords du circuit d'alimentation.
Effectuez un nettoyage et un entretien minutieux du filtre à air.
Bouchez l'entrée et l'orifice de sortie du filtre à air avec du ruban imperméable.
Vérifiez la protection antigel et ajoutez un mélange 50/50 d'eau et d'antigel à l'éthylène glycol en fonction de la température minimale anticipée dans la région.
Si vous remisez la machine pendant plus d’un mois, enlevez la batterie et chargez-la au maximum. Rangez-la sur une étagère ou remettez-la sur la machine. Ne rebranchez pas les câbles si vous remettez la batterie sur la machine. Rangez la batterie dans un endroit frais pour éviter qu'elle se décharge trop rapidement. Pour protéger la batterie du gel, maintenez-la chargée au maximum. La densité de l'électrolyte d'une batterie bien chargée est comprise entre 1,265 et 1,299.