Important: Weights used in this kit are sold separately.
CALIFORNIA
Proposition 65 Warning
Use of this product may cause exposure to chemicals known to the State of California to cause cancer, birth defects, or other reproductive harm.
![]() |
Safety decals and instructions are easily visible to the operator and are located near any area of potential danger. Replace any decal that is damaged or missing. |

Park the machine on a level surface or move the machine to a machine lift.
Engage the parking brake.
Shut off the engine and remove the key.
Wait for all moving parts to stop.
Chock the wheels or raise the machine with a machine lift.
Parts needed for this procedure:
| Weight mount | 1 |
| Weight (sold separately)—19.1 kg (42 lb) | 3 |
| Weight lock | 1 |
| Carriage bolt (3/8 x 1 inch) | 4 |
| Locknut (3/8 inch) | 6 |
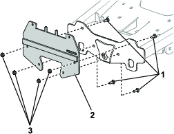
Attach the weight mount to the mounting plate at the front of the machine using 4 carriage bolts (3/8 x 1 inch) and 4 locknuts (3/8 inch) as shown in (Figure 1).
Note: Orient the weight mount so that the rubber strip is facing away from the machine.

Hang the weights on the weight mount using the slots as shown in (Figure 2).

Set the weight lock underneath the weight handles (Figure 3).
Insert the ends of the weight lock through the holes in the weight mount and secure with 2 locknuts (Figure 3).
Tighten the locknuts until the weights are secure.
