Mantenimiento
Calendario recomendado de mantenimiento
| Intervalo de mantenimiento y servicio | Procedimiento de mantenimiento |
|---|---|
| Después de las primeras 10 horas |
|
| Después de las primeras 250 horas |
|
| Cada 50 horas |
|
| Cada 200 horas |
|
Advertencia
Si deja la llave en el interruptor, alguien podría arrancar el motor accidentalmente y causar lesiones graves a usted o a otras personas.
Retire la llave del interruptor de encendido antes de realizar cualquier operación de mantenimiento.
Lubricación
Engrase y lubricación de la máquina
| Intervalo de mantenimiento y servicio | Procedimiento de mantenimiento |
|---|---|
| Cada 50 horas |
|
Note: Consulte en el Manual del operador de la máquina los puntos de engrase correspondientes.
-
Aparque la máquina en una superficie nivelada, desengrane la TDF y ponga el freno de estacionamiento.
-
Apague el motor, retire la llave y espere a que se detengan todas las piezas en movimiento antes de abandonar el puesto del operador.
-
Limpie con un trapo los puntos de engrase.
Note: Rasque cualquier pintura de la parte delantera del acoplamiento.
-
Conecte una pistola de engrasar a cada engrasador y bombee grasa en éstos hasta que la grasa empiece a rezumar de los cojinetes.
-
Limpie la grasa sobrante.
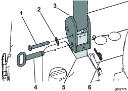
Mantenimiento del sistema eléctrico
Important: Antes de trabajar con el sistema eléctrico, desconecte los cables de la batería, primero el cable negativo (-), para evitar posibles daños al cableado debido a cortocircuitos.
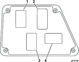
Comprobación de los fusibles
Consulte las instrucciones sobre los fusibles del Manual del operador suministrado con la cabina.
Si la máquina tiene problemas relacionados con el sistema eléctrico, compruebe los fusibles. Retire cada fusible, uno por uno, del bloque de fusibles, y compruebe el fusible para determinar si está fundido. Si es necesario cambiar un fusible, utilice siempre un fusible del mismo tipo y amperaje que el fusible que está sustituyendo; si no, podría dañar el sistema eléctrico.
Note: Si un fusible se funde frecuentemente, es posible que haya un cortocircuito en el sistema eléctrico, y éste debe ser revisado por un técnico de mantenimiento cualificado.
Mantenimiento del sistema de transmisión
Comprobación de la presión de los neumáticos
| Intervalo de mantenimiento y servicio | Procedimiento de mantenimiento |
|---|---|
| Cada 50 horas |
|
Important: Compruebe la presión de los neumáticos antes de utilizar la máquina.
Compruebe que la presión de los neumáticos es de 2.40 bar (35 psi); consulte Figura 131.
Note: Una presión desigual en los neumáticos puede causar una pérdida de tracción. Si la máquina pierde tracción, aumente la presión de aire del neumático a 3.44 bar (50 psi) para aumentar la tensión de las orugas.

Mantenimiento de la cabina
Limpieza de la cabina
Important: Tenga cuidado alrededor de las juntas y las luces de la cabina (Figura 132).Si utiliza un lavador a presión, mantenga la vara del lavador a al menos 0.6 m (2 pies) alejada de la máquina. No use el lavador a presión directamente en las luces y las juntas de la cabina, o debajo de voladizos traseros.

Limpieza de los filtros de aire
| Intervalo de mantenimiento y servicio | Procedimiento de mantenimiento |
|---|---|
| Después de las primeras 250 horas |
|
-
Retire los tornillos moleteados y las rejillas que cubren el filtro interior y el filtro trasero de la cabina (Figura 133 y Figura 134).


-
Limpie los filtros con aire comprimido limpio y libre de aceite.
Important: Si cualquiera de los dos filtros está agujereado, desgarrado o tiene otros desperfectos, cámbielo.
-
Instale los filtros y las rejillas, y sujételos con los tornillos.





















































































































