Συντήρηση
Note: Καθορίστε την αριστερή και δεξιά πλευρά του μηχανήματος από την κανονική θέση λειτουργίας.
Συνιστώμενο χρονοδιάγραμμα συντήρησης
| Περιοδικότητα εργασιών συντήρησης | Διαδικασία συντήρησης |
|---|---|
| Μετά τις πρώτες 10 ώρες |
|
| Πριν από κάθε χρήση ή καθημερινά |
|
| Πριν από την αποθήκευση |
|
Προειδοποίηση
ν αφήσετε το κλειδί στη μίζα, μπορεί κάποιος να θέσει ακούσια τον κινητήρα σε λειτουργία και να τραυματιστείτε εσείς ή διερχόμενοι.
Προτού εκτελέσετε οποιαδήποτε εργασία συντήρησης, αφαιρέστε το κλειδί από τη μίζα και αποσυνδέστε το καλώδιο του μπουζί. πομακρύνετε το καλώδιο έτσι ώστε να μην έρθει τυχαία σε επαφή με το μπουζί.
Προειδοποίηση
Οι κινητήρες ανεβάζουν πολύ υψηλή θερμοκρασία κατά τη λειτουργία τους. Η επαφή με πολύ θερμές επιφάνειες θα προκαλέσει εγκαύματα.
φήνετε τον κινητήρα και ειδικά τον σιγαστήρα της εξάτμισης να κρυώσουν προτού τους αγγίξετε.
Προειδοποίηση
Τα υπολείμματα, όπως φύλλα, χορτάρια, γρασίδι ή κλαδιά αναφλέγονται εύκολα. Μια φωτιά στον χώρο του κινητήρα μπορεί να προκαλέσει τραυματισμό και υλικές ζημιές.
-
Διατηρείτε τον χώρο του κινητήρα και του σιγαστήρα της εξάτμισης καθαρό από υπολείμματα.
-
Φροντίζετε κατά το άνοιγμα του καλύμματος του συλλέκτη να μην πέσουν υπολείμματα στον χώρο του κινητήρα και του σιγαστήρα της εξάτμισης.
-
φήνετε το μηχάνημα να κρυώσει προτού το αποθηκεύσετε.
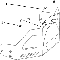
Επιθεώρηση του συλλέκτη
| Περιοδικότητα εργασιών συντήρησης | Διαδικασία συντήρησης |
|---|---|
| Μετά τις πρώτες 10 ώρες |
|
| Πριν από την αποθήκευση |
|
Επιθεωρήστε τον συλλέκτη μετά τις 10 πρώτες ώρες λειτουργίας και, στη συνέχεια, κάθε μήνα.
-
Ελέγξτε το κανάλι, τον σωλήνα εξαγωγής και το άνω τμήμα του συλλέκτη. ντικαταστήστε αυτά τα εξαρτήματα εάν έχουν ρωγμές ή βλάβες.
-
Σφίξτε όλα τα παξιμάδια, τα μπουλόνια και τις βίδες.
-
Επιθεωρήστε όλα τα εξαρτήματα σύνδεσης και τα μάνδαλα. ντικαταστήστε όσα λείπουν ή έχουν φθαρεί.
-
Επιθεωρήστε τους σάκους συλλογής γρασιδιού για τυχόν αλλοιώσεις.
Προειδοποίηση
ν οι σάκοι συλλογής γρασιδιού σχιστούν φθαρούν ή αλλοιωθούν, μπορεί να προκληθεί σοβαρός τραυματισμός σε εσάς ή σε διερχόμενα άτομα από υπολείμματα ή άλλα αντικείμενα που μπορεί να εκτοξευτούν με ταχύτητα περνώντας μέσα από τους σάκους.
-
Ελέγξτε τους σάκους συλλογής γρασιδιού για τρύπες, σχισίματα, φθορές και άλλες αλλοιώσεις.
-
Μην πλένετε τους σάκους συλλογής γρασιδιού.
-
Εάν οι σάκοι αλλοιωθούν, τοποθετήστε νέους σάκους συλλογής γρασιδιού που θα προμηθευτείτε από τον κατασκευαστή του συλλέκτη γρασιδιού.
-
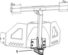
Επιθεώρηση των λεπίδων του χλοοκοπτικού μηχανήματος
Ελέγχετε τακτικά τις λεπίδες του χλοοκοπτικού μηχανήματος, αλλά και όποτε μια λεπίδα χτυπά σε κάποιο αντικείμενο.
Εάν οι λεπίδες έχουν φθαρεί υπερβολικά ή έχουν υποστεί ζημιά, εγκαταστήστε καινούριες λεπίδες. Για την πλήρη συντήρηση των λεπίδων, ανατρέξτε στο Εγχειρίδιο Χειριστή.
Φροντίδα των σάκων συλλογής γρασιδιού
Μην πλένετε τους σάκους συλλογής γρασιδιού.
Για να αποφύγετε την πρόωρη αλλοίωση του υλικού των σάκων, φυλάσσετε τους σάκους σε σημείο όπου θα μπορούν να στεγνώνουν εντελώς μετά από κάθε χρήση.
Καθαρισμός του συλλέκτη
| Περιοδικότητα εργασιών συντήρησης | Διαδικασία συντήρησης |
|---|---|
| Πριν από κάθε χρήση ή καθημερινά |
|
| Πριν από την αποθήκευση |
|
-
Μετά από κάθε χρήση, αφαιρέστε και πλύνετε το εσωτερικό και το εξωτερικό του άνω τμήματος του συλλέκτη, του σωλήνα εξαγωγής και του καναλιού, καθώς και την κάτω πλευρά του χλοοκοπτικού μηχανήματος, ψεκάζοντας νερό με το λάστιχο. Για να αφαιρέσετε επίμονες βρομιές χρησιμοποιήστε ήπιο απορρυπαντικό.
-
Φροντίστε να απομακρύνετε το κολλημένο ή ξεραμένο γρασίδι από όλα τα εξαρτήματα.
-
Ξεπλύνετε τους σάκους με το λάστιχο για να απομακρύνετε τυχόν υπολείμματα.
-
Μετά το πλύσιμο, αφήστε όλα τα εξαρτήματα να στεγνώσουν εντελώς.

























