| 유지보수 서비스 간격 | 유지보수 절차 |
|---|---|
| 매번 사용하기 전 또는 매일 |
|
이 기계는 승용식, 릴블레이드 잔디 예초기이며, 상업적인 작업에서 전문가가 사용하는 장비입니다. 이 장비는 주로 잘 관리된 잔디밭의 잔디를 깎는 용도로 고안되었습니다. 이 제품을 지정되지 않은 용도로 사용하면 작업자나 주변 사람들이 위험해질 수 있습니다.
이 정보를 주의 깊게 읽고 제품을 제대로 조작 및 유지관리하는 방법과 부상 및 제품 손상을 방지하는 방법에 대해 익히십시오. 사용자는 제품을 제대로 안전하게 조작해야 할 책임이 있습니다.
안전 요령, 교육 자료, 액세서리 정보 등의 자세한 정보를 찾거나 판매점 위치를 찾거나 제품을 등록하는 경우 www.Toro.com을 방문하십시오.
서비스, Toro 순정 부품 또는 추가 정보가 필요하면 지정 서비스점이나 Toro 고객 서비스에 연락하여 제품의 모델 번호와 일련 번호를 알려 주십시오. 그림 1은 제품의 우측 전면 프레임에 있는 모델번호와 일련번호 위치를 보여 줍니다. 이들 번호를 다음 칸에 적어 두십시오.
Important: 모바일 기기에서는 일련번호판(장착한 경우)의 QR 코드를 스캔하여 보증, 부품 및 기타 제품 정보를 열어볼 수 있습니다.

본 설명서는 잠재적인 위험에 대해 설명하고 있으며, 권장 예방 조치를 따르지 않을 경우 심각한 부상이나 사망을 초래할 수 있는 위험에 대해서는 안전 경고 기호(그림 2)로 표시합니다.

본 설명서에서는 2가지 단어를 사용하여 정보를 강조합니다. 중요는 특별한 기계 정보에 대한 주의를 환기시키며 참고는 특별한 주의를 기울일 필요가 있는 일반 정보를 강조합니다.
이 제품은 모든 관련 유럽 지침을 준수합니다. 자세한 내용은 각 제품의 구체적인 적합성 선언(DOC)을 참조하십시오.
Section 4442에 정의되어 있는 스파크 방지 머플러가 엔진에 장착되어 있고 정상적으로 유지관리하는 경우 또는 엔진이 화재를 방지할 수 있도록 구성, 장착 및 유지관리되는 경우 외에는, 산림, 덤불 또는 목초 지대에서 엔진을 사용하거나 작동하는 것은 캘리포니아 Public Resource Code Section 4442 또는 4443 위반입니다.
동봉된 엔진 사용 설명서는 미국 환경 보호국(EPA) 및 배기 시스템, 유지보수 및 보증에 대한 캘리포니아 배기가스 통제 규정에 대해 알려드리기 위한 것입니다. 교체 부품은 엔진 제조사를 통해 주문할 수 있습니다.
캘리포니아
Proposition 65 경고
캘리포니아 주에서 디젤 엔진 배기가스와 그 일부 구성 성분은 암, 선천성 기형 및 기타 생식 기능 장애를 일으키는 것으로 알려져 있습니다.
배터리 포스트, 터미널 및 관련 액세서리에는 캘리포니아 주에서 암과 생식 기능 장애를 일으키는 것으로 알려진 납과 납 화합물, 화학 물질이 들어 있습니다. 취급 후에는 손을 씻으십시오.
본 제품의 사용으로 캘리포니아 주에서 암, 선천성 기형 및 기타 생식 기능 장애를 일으키는 것으로 알려진 화학 물질이 들어 있습니다.
이 장비는 EN ISO 5395(설치 절차를 완료한 경우) 및 ANSI B71.4-2017에 따라 설계되었습니다.
이 제품으로 인해 손이나 발이 절단될 수 있으며 물체가 튕겨나올 수도 있습니다.
엔진을 시동하기 전에 이 사용 설명서의 내용을 읽고 숙지하십시오.
장비를 작동하는 동안에는 온전히 주의를 기울이십시오. 주의력을 산만하게 하는 활동을 하면, 부상 또는 재산 피해가 발생할 수 있습니다.
장비의 움직이는 부품 근처에 손이나 발을 두지 마십시오.
장비에 모든 보호 장치 및 기타 안전 보호 장치가 제자리에 장착되어 제대로 작동하지 않는 상태에서는 장비를 운전하지 마십시오.
주변 사람들과 아이들은 작업 공간에 들어오지 못하게 하십시오. 절대로 아이들이 장비를 작동하게 하지 마십시오.
엔진을 끄고 키를 뺀 다음 모든 움직임이 멈출 때까지 기다려 운전석에서 내리십시오. 장비가 식은 후에 장비를 조정, 정비, 청소 또는 보관하십시오.
이 장비를 잘못 사용하거나 정비하면 사람이 다치는 사고가 생길 수 있습니다. 부상 위험을 줄이려면 여기에 나와
있는 안전 지침을 따르고 주의, 경고 또는 위험과 같은 개인 안전 지침을 의미하는 안전 경고 기호(
)에 항상 주의를 기울이십시오.
이 지침을 따르지 않을 경우 사람이 다치거나 사망하는 사고가 발생할 수 있습니다.
![]() |
안전 문구 데칼과 지침은 작업자의 눈에 쉽게 보이며 잠재적인 위험이 있는 모든 부분에 부착되어 있습니다. 손상되거나 유실된 데칼은 교체하십시오. |





















Note: 정상 운전 위치에서 장비의 좌측과 우측을 판단하십시오.
평평한 곳에 장비를 주차하고 커팅 유닛을 내린 다음 주차 브레이크를 겁니다.
엔진을 끄고 키를 빼고 나서 움직이는 모든 부품이 멈출 때까지 기다립니다.
사용하기 전에 타이어 공기압을 점검합니다. 타이어 공기압 점검을 참조하십시오.
Note: 타이어는 운송을 위해 과팽창되어 있습니다. 장비를 작동하기 전에 타이어 공기압을 조정합니다.
후방 차축 윤활유 레벨을 점검합니다. 후방 차축의 오일 레벨 확인을 참조하십시오.
유압 오일 레벨을 점검합니다. 유압 오일 레벨 점검을 참조하십시오.
장비에 그리스를 바릅니다. 베어링과 부싱에 그리스 칠하기을 참조하십시오.
Important: 장비에 그리스를 적절하게 바르지 않으면 중요 부품이 조기에 고장날 수 있습니다.
후드를 열고 냉각수 레벨을 점검합니다. 냉각수 레벨 점검을 참조하십시오.
엔진 오일 레벨을 점검하고, 후드를 닫고 래치를 잠급니다. 엔진 오일 레벨 점검을 참조하십시오.
Note: 엔진은 크랭크실에 오일을 채운 채로 발송됩니다. 하지만, 엔진을 처음 시동하기 전과 후에 반드시 오일 레벨을 확인해야 합니다.
Note:
롤러 위치를 조정할 필요가 있는지 판단합니다. 다음과 같이 장착한 커팅 유닛의 폭에 따라 롤러 지지대에 설치되는 롤러 위치를 결정합니다.
68.6 cm 커팅 유닛 - 롤러 지지대의 상단 장착 구멍.
81.3 cm 커팅 유닛 - 롤러 지지대의 하단 장착 구멍.

필요한 경우, 캡나사, 록너트, 롤러를 제거합니다.
롤러를 다른 롤러 지지 구멍과 맞춥니다.
캡나사와 록너트를 사용하여 롤러 지지대에 롤러를 고정합니다.
장비의 반대쪽에서 단계 2~4를 반복합니다.
이 절차를 수행하는 데 필요한 부품:
| 전방 호스 가이드(오른쪽) | 1 |
| 전방 호스 가이드(왼쪽) | 1 |
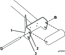
운송 브래킷에서 릴 모터를 제거합니다.
운송 브래킷을 분리하여 폐기합니다.
상자에서 커팅 유닛을 꺼냅니다.
커팅 유닛 사용 설명서에 설명된 대로 조립하고 조정합니다.
카운터웨이트(그림 4)가 커팅 유닛 사용 설명서에 설명된 대로 커팅 유닛 끝에 제대로 설치되어 있는지 확인합니다.

모든 커팅 유닛은 커팅 유닛 오른쪽에 잔디 보정 스프링이 장착된 상태로 출하됩니다. 이 잔디 보정 스프링은 릴 구동 모터와 같은 쪽에 장착되어야 합니다.
Note: 커팅 유닛을 설치하거나 분리할 때에는 헤어핀이 로드 브래킷 옆에 있는 스프링 로드 구멍에 설치되었는지 확인하십시오. 그 밖의 경우에는 헤어핀 코터를 로드 끝의 구멍에 설치해야 합니다.
로드 브래킷을 커팅 유닛 탭에 고정하는 2개의 캐리지 볼트와 너트를 분리합니다(그림 5).

스프링 튜브 볼트를 캐리어 프레임 탭에 고정하는 플랜지 너트를 분리한 다음(그림 5) 어셈블리를 분리합니다.
스프링 튜브 볼트를 캐리어 프레임의 반대쪽 탭에 장착하고 플랜지 너트로 고정합니다.
Note: 볼트 머리는그림 6에 보이는 것처럼 탭 바깥쪽에 위치하게 됩니다.

캐리지 볼트와 너트로 로드 브래킷을 커팅 유닛 탭에 장착합니다(그림 6). 커팅 유닛에서 로드 브래킷을 설치할 때 왼쪽 호스 가이드를 커팅 유닛 탭 앞쪽에 장착합니다(그림 9).
각 커팅 유닛에 대하여 스내퍼 핀으로 킥스탠드를 체인 브래킷에 고정하십시오(그림 7).

리프트 암 아래에 커팅 유닛을 밀어 넣습니다(그림 15).

캐리어 프레임 샤프트를 리프트 암 피벗 요크에 삽입합니다.
린치 핀을 사용하여 피벗 요크에 캐리어 프레임 샤프트를 고정합니다.
나머지 전방 커팅 유닛 위치에서 1 및 3 단계를 반복합니다.
리프트 암 아래에 커팅 유닛을 밀어 넣습니다(그림 16).

리프트 암 샤프트를 리프트 암에 삽입하고 린치 핀으로 고정합니다.
나머지 후방 커팅 유닛에 대해 2 단계를 반복합니다.
릴 모터의 스플라인 샤프트에 깨끗한 그리스를 칠합니다.
릴 모터 O-링에 기름을 치고 모터 플랜지에 설치합니다.
모터 플랜지가 볼트에 닿지 않도록 모터를 시계 방향으로 회전하여 설치합니다(그림 21).

플랜지가 볼트를 감싸도록 모터를 시계 반대 방향으로 돌린 다음 볼트를 조입니다.
Important: 릴 모터 호스가 꼬이거나 얽히지 않게 하고, 끼일 위험이 없는지 확인하십시오.
37~45 N·m 토크로 장착 볼트를 조입니다.

두 개의 풋 페달(그림 23)은 방향 전환이나 경사로에서 더 높은 제동력을 확보할 수 있도록 개별 휠 브레이크를 작동시킵니다.

페달 잠금 래치(그림 23)를 페달과 연결하여 주차 브레이크를 체결합니다.
주차 브레이크를 체결하려면 (그림 23) 페달과 페달 잠금 래치를 연결하고 오른쪽 주차 페달을 밟으면서 토 페달을 체결합니다. 주차 브레이크를 풀려면 주차 브레이크 래치가 풀릴 때까지 브레이크 페달 중 하나를 밟으십시오.
트랙션 페달(그림 23)은 전진 및 후진을 제어합니다. 페달 위쪽을 밟으면 앞으로 움직이고 페달 아래쪽을 밟으면 뒤로 움직입니다. 지면 속도는 얼마나 깊게 페달을 밟느냐에 따라 다릅니다. 짐이 없는 상태에서 최고 속도를 내려면 엔진 스로틀 제어 장치를 고속 위치에 둔 다음 트랙션 페달을 최대한 밟으십시오
멈추려면 트랙션 페달이 중앙 위치로 돌아오도록 발에 힘을 빼십시오.
스티어링 휠이 운전자 쪽으로 기울어지게 하려면 풋 페달(그림 23)을 밟고 자신에게 가장 편한 위치로 스티어링 타워를 당긴 후 페달에서 발을 떼십시오.
나사(그림 24)로 트랙션 페달이 눌려지는 정도를 조정하여 전진 또는 후진 속도를 제한하십시오.
Important: 속도 제한기 나사는 펌프가 최대 행정에 도달하기 전에 트랙션 페달을 정지시켜야 합니다. 그렇지 않으면 펌프가 손상될 수 있습니다.

예초 속도 제한기(그림 24)를 앞으로 돌리면 커팅 유닛이 체결되어 예초 중 최대 이동 속도가 제한됩니다. 스페이서 위치를 바꿔 예속 이동 속도를 조정합니다. 장비를 작업장 사이로 운전할 때에는 예초 속도 제한기를 최대 이동 속도로 돌립니다.
내림(예초)/올림 제어 레버(그림 25)는 예초 커팅 유닛을 올리고 내립니다. 릴이 예초 모드에 놓인 경우, 레버는 또한 릴을 가동하고 정지합니다.
Note: 예초/이동 레버가 이동 위치에 있으면 커팅 유닛을 아래로 내릴 수 없습니다.

키 스위치(그림 25)의 위치는 OFF(꺼짐), ON/PREHEAT(켬/예열) 및 START(시동)의 세 곳입니다.
InfoCenter LCD 디스플레이에는 장비에 관한 정보, 즉 작동 상태, 다양한 진단 정보 및 기타 장비 정보가 표시됩니다(그림 25).
PTO 스위치(그림 25)의 2가지 위치: ENGAGE(체결) 및 DISENGAGE(해제). PTO 버튼을 눌러서 커팅 유닛 블레이드를 체결합니다. 버튼을 뒤로 눌러서 커팅 유닛 블레이드를 해제합니다.
엔진 스로틀 제어 장치(그림 25)를 사용하여 엔진 속도를 높이거나 내립니다.
스위치를 누르면 전조등이 켜집니다(그림 25).
12V 전기 액세서리(옵션)에 전원을 공급하려면 전원 단자(그림 26)를 사용하십시오.

보관하려면 백 홀더(그림 26)를 사용하십시오.
릴을 백래핑할 때 백랩 레버를 사용하여 커팅 유닛 회전 방향을 제어합니다(그림 27).

InfoCenter LCD 디스플레이는 작동 상태, 다양한 진단 및 기타 장비 정보를 표시합니다(그림 28). InfoCenter에는 시작 화면과 주 정보 화면이 있습니다. 언제든지 아무 InfoCenter 버튼을 누르고 적절한 방향 화살표를 선택하면 시작 화면과 주 정보 화면 간을 전환할 수 있습니다.

왼쪽 버튼, 메뉴 액세스/뒤로 버튼—이 버튼을 눌러 InfoCenter 메뉴에 액세스하십시오. 이 버튼을 사용하여 현재 사용하는 메뉴에서 빠져나올 수 있습니다.
가운데 버튼—이 버튼을 사용하여 메뉴를 아래로 스크롤하십시오.
오른쪽 버튼—이 버튼을 사용하여 메뉴를 여십시오. 메뉴의 오른쪽 화살표는 추가적인 내용이 있음을 나타냅니다.
역방향 수동 팬—왼쪽 및 오른쪽 버튼을 동시에 누르면 이 기능을 활성화할 수 있습니다.
비퍼—데크를 낮추거나 경고 및 고장이 발생하면 작동합니다.
Note: 각 버튼의 목적은 필요에 따라 그때그때 달라질 수 있습니다. 각 버튼에는 현재 기능을 나타내는 아이콘이 표시됩니다.
| SERVICE DUE | 예정된 정비를 수행해야 할 때임을 나타냅니다 |
![]() | 정비까지 남은 시간 |
![]() | 정비 시간 재설정 ![]() |
![]() | 정보 아이콘 |
![]() | 아워 미터 |
![]() | 고속 |
![]() | 저속 |
![]() | 팬 역방향—팬이 역방향임을 표시함 |
![]() | 공기 흡입 히터가 작동함 |
![]() | 커팅 유닛 올림 |
![]() | 커팅 유닛 내림 |
![]() | 작업자가 착석해야 합니다 |
![]() | 주차 브레이크 표시—주차 브레이크가 걸려 있음을 나타냅니다 |
![]() | 고속 범위에 있음을 나타냅니다 |
![]() | 중립 |
![]() | 저속 범위에 있음을 나타냅니다 |
![]() | 냉각수 온도-엔진 냉각수 온도를 °C 또는 °F로 나타냅니다 |
![]() | 온도(고온) |
![]() | 거부되었거나 허용되지 않음 |
![]() | PTO가 체결되어 있습니다 |
![]() | 엔진 시동 |
![]() | 정지 또는 셧다운 |
![]() | 엔진 |
![]() | 키 스위치 |
![]() | 커팅 유닛이 내려지고 있음을 나타냅니다 |
![]() | 커팅 유닛이 올라가고 있음을 나타냅니다 |
![]() | PIN 암호 |
![]() | 유압 오일 온도—유압 오일 온도를 표시합니다 |
![]() | CAN 버스 |
![]() | InfoCenter |
![]() | 불량 또는 실패 |
![]() | 전구 |
![]() | TEC 컨트롤러의 출력 또는 하네스의 제어선 |
![]() | 높음: 허용 범위 초과 |
![]() | 낮음: 허용 범위 이하 |
![]() | 범위를 벗어남 |
![]() | 스위치 |
![]() | 스위치를 놓아야 합니다 |
![]() | 표시된 상태로 변경해야 합니다 |
| 기호는 종종 결합하여 문장을 형성합니다. 아래에 몇 가지 예가 나와 있습니다. | |
![]() | 장비를 중립으로 놓아야 합니다 |
![]() | 엔진 시동이 거부되었습니다 |
![]() | 엔진 셧다운 |
![]() | 엔진 냉각수 온도가 너무 높음 |
![]() | 유압 오일이 너무 높음 |
![]() | 착석하거나 주차 브레이크를 거십시오 |
PIN을
입력해야만 액세스 가능
InfoCenter 메뉴 시스템에 접근하려면 주 화면에서 메뉴 접근 버튼을 누르십시오. 주 메뉴가 나타납니다. 메뉴에서 사용할 수 있는 옵션은 다음 표를 참고하십시오.
| 주 메뉴 | |
| 메뉴 항목 | 설명 |
| Faults(고장) | Faults(고장) 메뉴에는 최근의 장비 고장 목록이 포함되어 있습니다. Faults(고장) 메뉴 및 그 안에 포함된 내용에 대한 자세한 정보는 정비 설명서를 참조하거나 Toro 공식 판매 대리점에 문의하십시오. |
| Service(정비) | Service(정비) 메뉴에는 사용 시간 카운터 및 그 밖의 유사한 수치 등 장비에 대한 정보가 포함되어 있습니다. |
| Diagnostics(진단) | Diagnostics(진단) 메뉴에는 각 장비 스위치, 센서 및 제어 출력 단자의 상태가 표시됩니다. 이 메뉴를 사용하면 어떤 제어장치가 켜져 있고 어떤 제어장치가 꺼져 있는지 빠르게 알 수 있기 때문에 특정 문제를 해결할 수 있습니다. |
| Settings(설정) | Settings(설정) 메뉴를 사용하면 InfoCenter 디스플레이의 구성 변수를 사용자 지정하거나 수정할 수 있습니다. |
| About(정보) | About(정보) 메뉴는 장비의 모델 번호, 일련번호 및 소프트웨어 버전을 나열합니다. |
| Service(정비) | |
| 메뉴 항목 | 설명 |
| Hours(시간) | 장비, 엔진 및 PTO가 작동된 총 시간과 장비의 이동 및 정비 시간을 나열합니다. |
| Counts(카운트) | 장비와 관련한 다양한 수치를 나열합니다. |
| Diagnostics(진단) | |
| 메뉴 항목 | 설명 |
| Cutting Units(커팅 유닛) | 커팅 유닛을 올리고 내리기 위한 입력, 한정자 및 출력을 나타냅니다 |
| Hi/Low Range(고속/저속 모드) | 이동 모드로 운전하기 위한 입력, 한정자 및 출력을 나타냅니다 |
| PTO | PTO 회로를 활성화하기 위한 입력, 한정자 및 출력을 나타냅니다 |
| Engine Run(엔진 작동) | 엔진을 시동하기 위한 입력, 제한 조건 및 출력을 나타냅니다 |
| Backlap(백랩) | 백랩 기능을 작동시키기 위한 입력, 제한 조건 및 출력을 나타냅니다 |
| Settings(설정) | |
| 메뉴 항목 | 설명 |
| Units(단위) | InfoCenter에서 사용되는 단위를 제어합니다(영국식 또는 미터법) |
| Language(언어) | InfoCenter에서 사용되는 언어를 제어합니다* |
| LCD Backlight(LCD 백라이트) | LCD 디스플레이의 밝기를 제어합니다 |
| LCD Contrast(LCD 명암) | LCD 디스플레이의 명암을 제어합니다 |
| Front Backlap Reel Speed(전방 백랩 릴 속도) | 백랩 모드에서 전방 릴의 속도를 제어합니다 |
| Rear Backlap Reel Speed(후방 백랩 릴 속도) | 백랩 모드에서 후방 릴의 속도를 제어합니다 |
| Protected Menus(보호 메뉴) | PIN 코드로 회사가 승인한 사람이 보호 메뉴로 들어가는 것을 허용합니다 |
Auto Idle(자동 공회전) ![]() | 장비가 정지해 있을 때 엔진이 저속 공회전 상태로 되돌아갈 때까지 허용되는 시간을 제어합니다 |
Blade Count(블레이드 수) ![]() | 릴 속도를 위해 릴의 블레이드 수를 제어합니다 |
Mow Speed(예초 속도) ![]() | 릴 속도를 결정하기 위해 지면 속도를 제어합니다 |
Height of cut(HOC)(예고) ![]() | 릴 속도를 결정하기 위해 예고(HOC)를 제어합니다 |
F Reel RPM(전방 릴 RPM) ![]() | 전방 릴에 대한 계산된 릴 속도 위치를 표시합니다. 릴은 수동으로 조정할 수도 있습니다 |
R Reel RPM(후방 릴 RPM) ![]() | 후방 릴에 대한 계산된 릴 속도 위치를 표시합니다. 릴은 수동으로 조정할 수도 있습니다 |
* "운전자용" 텍스트만 번역됩니다. Faults(고장), Service(정비) 및 Diagnostics(진단) 화면은 정비용입니다. 제목은 선택한 언어로 나타나지만 메뉴 항목은 영어입니다.
Protected
Menus(보호 메뉴)로 보호—PIN을 입력해야만 액세스 가능
| About(정보) | |
| 메뉴 항목 | 설명 |
| Model(모델) | 장비의 모델 번호를 나열합니다 |
| SN | 장비의 일련번호를 나열합니다 |
| Machine Controller Revision(장비 컨트롤러 수정) | 마스터 컨트롤러의 소프트웨어 개정을 나열합니다 |
| InfoCenter Revision(수정) | InfoCenter의 소프트웨어 수정을 나열합니다 |
| CAN Bus(CAN 버스) | 장비 통신 버스 상태를 나열합니다 |
InfoCenter의 Settings(설정) 메뉴 내에는 Blade Count(블레이드 수), Mow Speed(예초 속도), Height of Cut(HOC)(예고), F Reel RPM(전방 릴 RPM) 및 R Reel RPM(후방 릴 RPM)의 5가지 조정가능한 작동 환경설정 항목이 있습니다. Protected Menu(보호 메뉴)를 사용하여 이 설정 항목을 잠글 수 있습니다.
Note: 장비 인도 시 최초 암호는 유통업체에 의해 설정되어 있습니다.
Note: 장비 제작 시 기본 PIN 코드는 0000 또는 1234입니다.PIN 코드를 변경한 후 코드를 잊었다면, Toro 공식 판매 대리점에 연락하여 도움을 받으십시오.
MAIN MENU(주 메뉴)에서 가운데 버튼을 사용하여 아래로 스크롤하여 SETTINGS(설정) 메뉴로 이동한 다음 오른쪽 버튼을 누릅니다(그림 29).

SETTINGS(설정) 메뉴에서 가운데 버튼을 사용하여 아래로 스크롤하여 PROTECTED MENU(보호 메뉴)로 이동한 다음 오른쪽 버튼(그림 30A)을 누릅니다.

PIN 코드를 입력하려면 가운데 버튼을 눌러 맞는 첫 번째 자리 숫자가 나타나면 가운데 버튼을 눌러 그 다음 자리 숫자(그림 30B와 그림 30C)로 이동합니다. 이 단계를 반복하여 마지막 자리 숫자를 입력하고 오른쪽 버튼을 한 번 더 누릅니다.
가운데 버튼을 눌러 PIN 코드(그림 30D)를 입력합니다.
InfoCenter의 빨간색 표시등이 깜박일 때까지 기다립니다.
Note: InfoCenter가 PIN 코드를 승인하여 보호 메뉴가 잠금 해제되면 화면 우측 상단 모서리에 "PIN"이라고 표시됩니다.
Note: 키 스위치를 OFF(꺼짐) 위치로 돌린 다음 ON(켜짐) 위치로 돌리면 보호 메뉴가 잠깁니다.
보호 메뉴에서 설정을 보고 변경할 수 있습니다. Protected Menu(보호 메뉴)로 들어간 다음, 아래로 스크롤하여 Protect Settings(보호 설정) 옵션으로 이동합니다. 오른쪽 버튼을 사용하여 설정을 변경합니다. Protect Settings(보호 설정)를 OFF(꺼짐)로 설정하면 PIN 코드를 입력하지 않고도 Protected Meu(보호 메뉴)의 설정을 보고 변경할 수 있습니다. Protected Settings(보호 설정)를 ON(켜짐)으로 변경하면 보호 대상 옵션이 감추어지므로, PIN 코드를 입력해야 Protected Menu(보호 메뉴)의 설정을 변경할 수 있습니다. PIN 코드를 설정한 다음에는 이 기능을 활성화하고 저장하려면 키 스위치를 OFF(꺼짐)로 돌렸다가 다시 ON(켜짐) 위치로 돌립니다.
Settings(설정) 메뉴에서 아래로 스크롤하여 Auto Idle(자동 공회전)로 이동합니다.
오른쪽 버튼을 눌러 자동 공회전 시간을 Off, 8S, 10S, 15S, 20S 또는 30S로 변경합니다.
Settings(설정) 메뉴에서 아래로 스크롤하여 Blade Count(블레이드 수)로 이동합니다.
오른쪽 버튼을 눌러 블레이드 수를 5, 8 또는 11중 블레이드로 변경합니다.
Settings(설정) 메뉴에서 아래로 스크롤하여 Mow Speed(예초 속도)로 이동합니다.
오른쪽 버튼을 눌러 예초 속도를 선택합니다.
중앙 및 오른쪽 버튼을 사용하여 트랙션 페달의 기계식 예초 속도 제한기에서 적절한 예초 속도 설정을 선택합니다.
왼쪽 버튼을 눌러 예초 속도 메뉴에서 빠져나오고 설정을 저장합니다.
Settings(설정) 메뉴에서 아래로 스크롤하여 HOC로 이동합니다.
오른쪽 버튼을 눌러 HOC를 선택합니다.
중앙 및 오른쪽 버튼을 사용하여 적절한 HOC 설정을 선택합니다.
Note: 정확한 설정이 표시되지 않으면 표시된 목록 중 가장 근접한 HOC 설정을 선택합니다.
왼쪽 버튼을 눌러 HOC 메뉴에서 빠져나오고 설정을 저장합니다.
Note: 규격과 설계는 통보 없이 변경될 수 있습니다.
| 작업폭, 68.6 cm 커팅 유닛 | 307 cm |
| 작업폭, 81.3 cm 커팅 유닛 | 320 cm |
| 전폭, 68.6 cm 커팅 유닛 다운 | 345 cm |
| 전폭, 81.3 cm 커팅 유닛 다운 | 358 cm |
| 전체 폭, 커팅 유닛 업(이동) | 239 cm |
| 전체 길이 | 370 cm |
| ROPS 포함 높이 | 220 cm |
| 트랙 너비, 전방 | 229 cm |
| 트랙 너비, 후방 | 141 cm |
| 휠베이스 | 171 cm |
| 순 중량(커팅 유닛 및 유체 제외) | 1574 kg |
Toro가 승인한 부착 장치와 액세서리를 사용하여 장비의 성능을 확장하거나 향상시킬 수 있습니다. 승인된 부착 장치와 액세서리 전체 목록을 보려면 지정 서비스점이나 Toro 지정 판매 대리점에 연락하거나 www.Toro.com을 방문하십시오.
장비를 최적 성능으로 사용하거나 안전 인증을 계속 보장 받으려면 순정 Toro 교체 부품과 액세서리만 사용하십시오. 다른 제조사에서 만든 교체 부품 및 액세서리는 위험할 수 있으며, 그러한 제품을 사용하면 제품 보증이 무효가 될 수 있습니다.
Note: 정상 운전 위치에서 장비의 좌측과 우측을 판단하십시오.
아이들이나 교육받지 않은 사람이 장비를 운전하거나 정비하는 것은 절대로 허용하지 마십시오. 현지 규정에 의해 작업자의 나이가 제한될 수 있습니다. 소유자는 모든 작업자 및 기술자를 교육할 책임이 있습니다.
장비 안전 운전, 작업자 제어 장치 및 안전 표시를 잘 알아 두십시오.
운전석을 떠나기 전에 다음을 이행하십시오:
장비를 평지에 주차합니다.
커팅 유닛을 체결 해제하고 내립니다.
주차 브레이크를 체결합니다.
엔진을 끄고 키를 뺍니다.
모든 움직임이 멈출 때까지 기다립니다.
장비가 식은 후에 장비를 조정, 정비, 청소 또는 보관하십시오.
장비를 정지하고 엔진을 신속하게 멈추는 방법을 숙지하십시오.
장비에 모든 보호 장치 및 기타 안전 보호 장치가 제자리에 장착되어 제대로 작동하지 않는 상태에서는 장비를 운전하지 마십시오.
예초하기 전에, 항상 장비를 점검하여 커팅 유닛이 양호한 작업 상태인지 확인하십시오.
장비를 사용할 장소를 점검하고 장비에 의해 튕겨 나갈 가능성이 있는 모든 물체를 제거하십시오.
연료를 다룰 때에는 특히 주의하십시오. 가연성이 높고 증기가 폭발할 수 있기 때문입니다.
일반 담배, 시가, 파이프 담배 및 그 밖의 점화원을 모두 제거하십시오.
승인된 연료 용기만 사용하십시오.
엔진이 작동 중이거나 뜨거운 상태에서 연료 캡을 제거하거나 연료 탱크에 급유하지 마십시오.
밀폐된 공간에서는 연료를 추가하거나 비우지 마십시오.
온수기나 기타 기구 등 노출된 화염, 불꽃, 점화용 불씨 등이 있는 곳에는 장비나 연료통을 보관하지 마십시오.
연료를 엎질렀을 때에는 엔진을 시동하지 말고 연료 증기가 사라질 때까지 발화원이 생기지 않도록 하십시오.
83 L
다음 주의 사항을 지키지 않으면 엔진이 손상될 수 있습니다.
절대로 디젤 연료 대신 등유나 휘발유를 사용하지 마십시오.
절대로 디젤 연료에 등유나 사용한 엔진 오일을 혼용하지 마십시오.
절대로 연료를 안쪽에 아연 도금이 된 용기에 보관하지 마십시오.
연료 첨가제를 사용하지 마십시오.
깨끗하고 오래되지 않은 저황(<500 ppm) 또는 초저황(<15 ppm) 디젤 연료나 바이오디젤 연료만을 사용하십시오. 세탄가는 40 이상이어야 합니다. 연료의 신선도를 위해 180일 이내에 사용할 수 있을 정도의 양만 구매하십시오.
-7°C 이상의 온도에서는 하절기용 디젤 연료(No. 2-D)를 사용하고, -7°C 이하에서는 동절기용 디젤 연료(No. 1-D 또는 No. 1-D/2-D 혼합유)를 사용하십시오. 낮은 온도에서 겨울철 등급 연료를 사용하면 인화점이 낮아지고 콜드 플로 특성이 감소하여 시동이 쉽게 걸리고 연료 필터 막힘 현상이 줄어듭니다.
-7°C 이상에서 여름철 등급 연료를 사용하면 연료 펌프의 수명이 좀 더 늘어나고 겨울철 등급 연료에 비해 동력이 향상됩니다.
이 장비에는 B20(바이오디젤 20%, 일반 석유디젤 80%) 바이오디젤 혼합 연료를 사용할 수도 있습니다. 혼합된 석유디젤은 저황이거나 초저황 연료여야 합니다. 다음과 같은 예방 조치를 취하십시오:
바이오디젤 연료 규격: ASTM D6751 또는 EN14214
혼합 연료 규격: ASTM D975 또는 EN590
다음과 같은 예방 조치를 취하십시오:
바이오디젤 혼합유는 도장면을 손상시킬 수 있습니다.
추운 날씨에는 B5(바이오디젤 5% 함유)나 이보다 바이오디젤이 덜 섞인 혼합유를 사용하십시오.
연료와 닿는 씰, 호스 및 개스킷은 시간이 지나면서 상태가 저하되므로 면밀히 주시하십시오.
바이오디젤 혼합유로 바꾸고 나면 한동안 장비의 연료 필터가 막힐 수 있습니다.
바이오디젤에 대한 자세한 정보는 Toro 지정 판매 대리점에 문의하십시오.
평평한 곳에 장비를 주차하고 커팅 유닛을 내리고 엔진을 멈춘 다음 키를 뺍니다.
깨끗한 천을 사용하여 연료 탱크 마개 주위를 닦습니다.
연료 탱크 마개(그림 31)를 엽니다.

연료 레벨이 연료 주입구 하단에 도달할 때까지 지정된 연료를 채웁니다.
연료 탱크 마개를 단단히 끼웁니다.
Note: 가능하면 매번 장비를 사용하고 난 후 연료 탱크를 채우십시오. 연료 탱크를 채우면 탱크 내부의 응결이 최소화됩니다.
| 유지보수 서비스 간격 | 유지보수 절차 |
|---|---|
| 매번 사용하기 전 또는 매일 |
|
매일 장비를 시동하기 전에, 일일 유지보수 점검 목록에 나오는 매일 사용/일별 절차를 수행하십시오.
| 유지보수 서비스 간격 | 유지보수 절차 |
|---|---|
| 매번 사용하기 전 또는 매일 |
|
안전 인터록 스위치가 끊어지거나 손상된 경우 장비가 예기치 않게 작동되어 다칠 수 있습니다.
인터록 스위치를 함부로 만지지 마십시오.
인터록 스위치의 작동 상태를 매일 점검하고 손상된 스위치가 있으면 장비를 운전하기 전에 교체하십시오.
Important: 장비의 인터록 스위치 점검에 실패할 경우, Toro 공식 판매 대리점에 문의하십시오.
개방된 장소로 천천히 장비를 운전하십시오.
커팅 유닛을 내리고 엔진을 멈춘 다음 주차 브레이크를 겁니다.
운전석에 앉습니다.
주차 브레이크를 체결합니다.
PTO 스위치를 DISENGAGE(해제) 위치로 이동합니다.
트랙션 페달을 밟습니다.
키를 START(시동) 위치로 돌립니다.
Note: 트랙션 페달을 누른 상태에서 스타터는 엔진을 돌리지 않아야 합니다.
운전석에 앉습니다.
PTO 스위치를 ENGAGE(체결) 위치로 이동합니다.
엔진을 시동합니다.
Note: PTO 스위치가 ENGAGE(체결) 위치에 있을 때 엔진의 시동이 걸리지 않아야 합니다.
운전석에 앉습니다.
PTO 스위치를 DISENGAGE(해제) 위치로 이동합니다.
엔진을 시동합니다.
좌석에서 일어납니다.
PTO 스위치를 ENGAGE(체결) 위치로 이동합니다.
Note: 운전석을 벗어나면 PTO가 작동하지 않아야 합니다.
운전석에 앉습니다.
주차 브레이크를 체결합니다.
PTO 스위치를 DISENGAGE(해제) 위치로 이동합니다.
트랙션 페달에서 발을 뗍니다.
엔진을 시동합니다.
트랙션 페달을 밟습니다.
Note: 주차 브레이크를 체결하고 트랙션 페달을 누른 경우 엔진이 정지해야 합니다.

이 노브를 돌려 시트 팔걸이 각도를 조정합니다(그림 32).
등받침 각도를 조정하려면 이 레버를 움직입니다(그림 32).
시트를 전방 또는 후방으로 움직이려면 이 레버를 당깁니다(그림 32).
체중에 맞춰 시트를 조정합니다(그림 32). 공기 압력을 높이려면 레버를 위로 당기고 공기압력을 낮추려면 아래로 내립니다. 중량 게이지가 녹색 범위에 속하면 적절하게 조정된 것입니다.
무게 게이지는 작업자의 체중에 맞게 시트가 조정되었는지 표시합니다(그림 32). 녹색 범위 내에서 서스펜션의 위치를 조정하여 높이를 조정합니다.
소유자/작업자는 사람이 다치거나 재산이 손상되는 사고를 막을 수 있으며, 이에 대해 책임이 있습니다.
보안경, 긴 바지, 잘 미끄러지지 않는 튼튼한 신발 및 청력 보호구를 포함하여, 적절한 의복을 착용하십시오. 긴 머리는 뒤로 묶고 헐렁한 옷이나 보석류는 착용하지 마십시오.
아프거나 지친 상태, 또는 음주나 약물 복용 후에는 장비를 운전하지 마십시오.
장비를 작동하는 동안에는 온전히 주의를 기울이십시오. 주의력을 산만하게 하는 활동을 하면, 부상 또는 재산 피해가 발생할 수 있습니다.
엔진을 시동하기 전에 모든 구동 장치가 중립 위치에 있고 주차 브레이크가 걸려 있는지 확인하고, 운전 위치에 앉으십시오.
장비에 탑승자를 태우지 말고 주변 사람이나 아이들이 작업 반경에 들어오지 못하게 하십시오.
시야가 잘 보이는 곳에서만 장비를 운전하고 움푹 패인 곳이나 숨겨진 위험 요소를 피하십시오.
젖은 잔디에서는 예초하지 마십시오. 마찰력이 감소하여 장비가 미끄러질 수 있습니다.
손이나 발은 커팅 유닛에서 거리를 두십시오.
후진 시에는 후방과 아래쪽을 주시하여 장애물이 없는지 확인하십시오.
사각 지대, 관목, 나무 또는 그 외의 시야를 방해하는 물체에 접근할 때에는 주의하십시오.
잔디를 깎지 않을 경우에는 항상 커팅 유닛을 멈추십시오.
방향을 바꾸거나 장비를 가지고 차도나 인도를 건널 때에는 속도를 줄이고 주의를 기울이십시오. 항상 다른 차량에 양보하십시오.
통풍이 잘 되는 공간에서만 엔진을 작동하십시오. 배기 가스에는 흡입하면 치명적인 일산화탄소가 들어 있습니다.
장비를 작동한 채 자리를 비우지 마십시오.
운전석을 떠나기 전에 다음을 이행하십시오:
장비를 평지에 주차합니다.
커팅 유닛을 체결 해제하고 내립니다.
주차 브레이크를 체결합니다.
엔진을 끄고 키를 뺍니다.
모든 움직임이 멈출 때까지 기다립니다.
장비가 식은 후에 장비를 조정, 정비, 청소 또는 보관하십시오.
가시성이 좋고 기상 상태가 적절한 경우에만 장비를 운전하십시오. 번개가 칠 위험이 있는 상태에서는 장비를 운전하지 마십시오.
장비에서 ROPS 구성품을 분리하지 마십시오.
안전 벨트가 부착되어 있는지, 그리고 긴급 상황이 발생하면 안전 벨트를 신속하게 풀 수 있는지 확인하십시오.
항상 좌석 벨트를 착용하십시오.
머리 위의 장애물을 주의 깊게 확인하고 닿지 않게 하십시오.
손상 여부를 주기적으로 철저하게 검사하고 모든 장착 패스너를 단단히 조여 ROPS를 안전하게 작동하는 상태로 관리하십시오.
손상된 모든 ROPS 구성품을 교체하십시오. 수리 또는 개조하지 마십시오.
항상 롤바를 올린 상태로 안전 벨트를 사용하십시오.
ROPS는 일체형 안정 장치입니다. 접이식 롤바를 올려서 잠근 상태로 유지하고, 롤바를 올린 상태로 장비를 작동할 때 안전 벨트를 사용하십시오.
접이식 롤바는 꼭 필요한 경우에만 일시적으로 내리십시오. 롤바를 접은 상태에서는 안전 벨트를 착용하지 마십시오.
접이식 롤바가 내려진 상태에서는 전복 방지가 되지 않는다는 점에 유의하십시오.
예초할 영역을 확인하고 경사로, 급경사로, 물 등이 있는 곳에서는 접이식 롤바를 접지 마십시오.
통제력을 잃거나 뒤집혀서 심하게 다치거나 사망하는 사고는 주로 비탈길에서 일어납니다. 작업자는 경사로 작업을 안전하게 할 책임이 있습니다. 비탈길에서 장비를 운전할 때에는 특별히 주의해야 합니다.
작업자는 현장 측량을 포함하여 현장 조건을 평가하여 경사로가 장비 운전에 안전한지 판단해야 합니다. 측량할 때 항상 상식과 좋은 판단력을 사용하십시오.
경사로에서 장비를 작동하려면 아래 나오는 경사로 지침을 검토하십시오. 장비를 작동하기 전에, 현장 조건을 검토하여 해당일에 해당 현장에서 장비를 작동할 수 있는지 판단하십시오. 지형이 바뀌면 장비의 경사로 운전에 변화가 생길 수 있습니다.
경사로에서는 장비를 시동하거나 정지하거나 회전하지 마십시오. 속도나 방향을 갑자기 변경하지 마십시오. 방향 전환은 천천히 점진적으로 하십시오.
트랙션, 스티어링, 안정성 등에 의문이 있으면 어떤 경우에도 장비를 작동하지 마십시오.
배수로, 파인 부분, 바퀴 자국, 융기, 돌, 그 밖의 숨겨진 물체 등 장애물이 있으면 제거하거나 표시하십시오. 잔디가 길어서 장애물이 보이지 않을 수 있습니다. 지형이 고르지 않으면 장비가 뒤집힐 수 있습니다.
젖은 잔디에서 장비를 작동하거나 경사로를 가로지르거나 내리막에서 장비를 작동하면 장비가 견인력을 잃게 될 수 있다는 점에 유의하십시오.
급경사로, 배수로, 둑, 물웅덩이 또는 기타 위험 요소 근처에서 장비를 작동할 때 매우 주의하십시오. 바퀴가 가장자리를 넘어가거나 가장자리가 함몰하면 장비가 갑자기 뒤집힐 수 있습니다. 장비와 위험 요소 사이에 안전 영역을 정하십시오.
경사로의 아랫 부분에 있는 위험 요소를 확인하십시오. 위험 요소가 있으면, 보행자를 통제한 장비로 경사로를 예초하십시오.
가능한 경우, 경사로에서 작업하는 동안 커팅 유닛을 지면으로 내린 상태로 유지하십시오. 경사로에서 운전하는 동안 커팅 유닛을 올리면 장비가 불안정해질 수 있습니다.
탱크 상단의 연료 게이지(그림 33)를 사용하여 연료 레벨을 확인합니다.

Important: 다음 상황 중 하나에 해당하면 연료 시스템을 비워야 합니다.
장비에 연료가 없기 때문에 엔진이 멈춥니다.
연료 시스템 부품에 대해 유지 관리 작업을 수행했습니다.
운전석에 앉아서 주차 브레이크를 체결한 다음 발을 트랙션 페달에서 뗍니다.
엔진 스로틀 제어 장치를 SLOW(저속) 위치에 둡니다.
키를 RUN(작동) 위치로 돌립니다.
Note: InfoCenter에 예열 플러그 표시기가 켜집니다.
예열 표시등이 꺼지면 키를 START(시동) 위치로 돌립니다.
Important: 한 번에 15초 이상 시동 모터를 돌리지 마십시오. 그렇게 하면 시동 장치가 빨리 망가질 수 있습니다. 15초 후에도 엔진의 시동이 걸리지 않으면 키를 OFF(꺼짐) 위치로 돌리고 컨트롤 및 절차를 확인하고 15초를 더 기다린 뒤 시동을 다시 걸어 보십시오.온도가 -7°C 이하이면 시동 모터를 30초 동안 돌린 뒤 60초 동안 끄는 작업을 2번 시도하십시오.
엔진의 시동이 걸리면 키를 놓습니다.
엔진 속도를 조정합니다.
장비를 평지에 주차합니다.
PTO 스위치를 DISENGAGE(해제) 위치로 이동합니다.
엔진 스로틀 제어 장치를 SLOW(저속) 위치에 둡니다.
주차 브레이크를 체결합니다.
커팅 유닛을 내립니다.
Important: 커팅 유닛을 내리면 시스템의 유압 부하를 해제하고, 부품의 마모를 방지하고, 커팅 유닛이 실수로 내려오는 것을 방지합니다.
키를 OFF(꺼짐) 위치로 돌리고 키를 뺍니다.
움직이는 부품이 모두 정지할 때까지 기다립니다.
비탈길 정면으로 예초 작업하는 경우 커팅 유닛이 비탈길 아래로 회전하는 것을 막기 위해 커팅 유닛 피벗을 잠급니다.
그림 34와 같이 스내퍼 핀으로 피벗 요크에 커팅 유닛의 캐리어 프레임을 고정합니다.

나머지 커팅 유닛에 대해 1 단계를 반복합니다.
장비를 작업 현장으로 이동하고 첫 번째 예초 작업을 할 작업 공간 밖에서 장비를 나란히 맞춥니다.
PTO 스위치가 DISENGAGE(해제) 위치로 설정되어 있는지 확인합니다(그림 35).

발을 사용하여 예초 속도 제한기 레버를 전방, MOW(예초) 위치로 옮깁니다(그림 36).

엔진 스로틀 제어 장치를 FAST(고속) 위치에 둡니다.
PTO 스위치를 ENGAGE(체결) 위치로 이동합니다.
커팅 유닛으로 이동하면서 내림(예초)/올림 제어 레버를 전방으로 옮깁니다.
Note: 커팅 유닛이 내려가면서 작동을 시작합니다. 전방 커팅 유닛은 후방 커팅 유닛이 내려가도록 시간을 맞춥니다.
예초 작업을 완료하면 예초 속도 제한기 레버를 후방으로 움직여 커팅 유닛을 들어 올립니다.
눈물 형상 회전을 하여 다음 경로에 맞추어 빠르게 줄을 맞춥니다.
잔디 보정 스프링(그림 39)을 사용하면 웨이트가 전방 롤러에서 후방 롤러로 이동합니다. 이는 마르셀링(marcelling) 또는 보빙(bobbing)이라고도 하는 잔디에 생기는 물결무늬를 줄이는 데 도움이 됩니다.
Important: 트랙션 장비에 장착된 커팅 유닛을 전방을 똑바로 향하도록 작업 현장에 내려놓고 스프링을 조정하십시오.
스프링이 팽팽하게 당겨지면 사람이 다치는 사고가 발생할 수 있습니다.
스프링을 조정할 때 주의하십시오.
후방 커팅 유닛의 평형력을 조정하여 다양한 잔디 상태에 맞추어 보정하고 거친 작업 조건이나 대취가 쌓인 곳에서도 균일한 커팅 높이를 유지할 수 있습니다.
각 비틀림 스프링의 평형력을 설정 1~4까지 조정할 수 있습니다. 설정 값을 하나씩 달리할 때마다 커팅 유닛의 평형력은 2.3 kg씩 높아지거나 낮아집니다.
Note: 모든 평형력을 제거하려면 캡나사, 와셔, 스페이서, 록너트 아래로 비틀림 스프링의 긴 발을 놓습니다.
평평한 곳에 장비를 주차시켜 커팅 유닛을 내리고 주차 브레이크를 걸고 엔진을 멈춘 후 키를 뺍니다.
스프링의 긴다리 위로 튜브 또는 그와 유사한 물체를 끼워 스프링 레그를 들어 올리면 스페이서의 압력이 풀립니다(그림 40).
Note: 스프링 레그를 들어 올리고 내리는 데 다른 사람의 도움을 받으십시오.

스프링을 고정하고 리프트 플레이트에서 볼트, 와셔, 록너트를 제거합니다(그림 40).
원하는 구멍 위치 위에 스프링 레그를 맞춥니다.
구멍 위치에 캡나사, 와셔, 스페이서, 록너트를 장착합니다.
스프링 레그를 스페이서 위로 천천히 낮춥니다.
후방 커팅 유닛 리프트 암에서 5 단계까지 반복하십시오.
리프트 암 스위치(그림 29)는 우측 전방 리프트 암 뒤에 있습니다(커팅 유닛 5번).

평평한 곳에 장비를 주차시켜 커팅 유닛을 내리고 주차 브레이크를 걸고 엔진을 멈춘 후 키를 뺍니다.
전방 커팅 유닛 리프트 암의 캐리어 프레임에 스위치 브래킷을 고정하는 플랜지 헤드 나사 2개를 풉니다.
다음과 같이 스위치 브래킷을 이동합니다.
커팅 유닛 전환 높이를 증가시키려면 브래킷을 위로 옮깁니다.
커팅 유닛 전환 높이를 줄이려면 브래킷을 아래로 내립니다.
플랜지 헤드 나사 2개를 조입니다.
안전한 작업 조건에서 장비를 사용할 수 있도록 너트, 볼트 및 나사는 항상 단단히 조이십시오.
닳거나 손상된 부품은 안전을 위해 교체하십시오.
안전 벨트 및 장착물 등이 안전한 작동 상태인지 확인하십시오.
롤바가 올라가면 안전 벨트를 착용하고 롤바가 내려가면 안전 벨트를 벗으십시오.
롤바를 접어서 제한 높이 구역으로 들어갈 수 있습니다.
롤바를 접어서 내리면 전복 방지 시스템(ROPS)이 없으며 ROPS 기능에 의존하면 안 됩니다.
롤바를 내린 상태에서는 안전 벨트를 착용하지 마십시오.
롤바를 내리고 올릴 때 장비와 롤바 사이에 손가락이 끼일 수 있습니다.
주의하여 롤바를 내리고 올릴 때 장비와 롤바 사이에 손가락이 끼이지 않도록 하십시오.
롤바는 일체형 안정 장치입니다. 롤바를 올린 위치로 고정하고 안전 벨트를 착용하지 않으면 전복 사고로 부상으로 당하거나 사망에 이를 수도 있습니다.
장비를 운전할 때는 항상 롤바를 올린 위치로 두십시오.
필요할 때에만 롤바를 일시적으로 내린 다음 운전을 계속하기 전에 최대한 빨리 올린 위치로 고정합니다.
Important: 롤바는 일체형 안정 장치입니다. 모어를 작동할 때는 롤바를 올린 위치로 둡니다. 꼭 필요한 경우에만 롤바를 일시적으로 내리십시오.
평평한 곳에 장비를 주차시켜 커팅 유닛을 내리고 주차 브레이크를 걸고 엔진을 멈춘 후 키를 뺍니다.
롤바 측면에 롤바 핀을 고정하는 린치 핀을 제거합니다(그림 42).

피벗 브래킷에서 롤바 핀을 제거할 때 상단 롤바 튜브의 중량을 지탱하십시오.
스톱 위치에 안착될 때까지 상단 롤바 튜브를 조심해서 내립니다.
피벗 브래킷의 하단 구멍에 롤바 핀을 삽입하고 린치 핀으로 브래킷에 롤바 핀을 고정합니다.
롤바 핀이 느슨해지면 ROPS 보호 시스템이 작동하지 않으므로 전복 사고로 심각한 부상을 당하거나 사망에 이를 수 있습니다.
롤바를 올린 위치로 둔 상태에서 양쪽 롤바 핀과 양쪽 린치 핀을 설치하여 ROPS 보호 기능을 완전히 보장해야 합니다.
평평한 곳에 장비를 주차시켜 커팅 유닛을 내리고 주차 브레이크를 걸고 엔진을 멈춘 후 키를 뺍니다.
롤바 측면에 롤바 핀을 고정하는 린치 핀을 제거합니다(그림 43).

피벗 브래킷에서 롤바 핀을 제거합니다.
피벗 브래킷 구멍이 하단 롤바 튜브 구멍과 맞춰질 때까지 상단 롤바 튜브를 조심스럽게 들어 올립니다.
피벗 브래킷 및 하단 롤바 튜브의 구멍에 롤바 핀을 끼웁니다.
린치 핀으로 브래킷 및 하단 롤바 튜브에 롤바 핀을 고정합니다.
잔디를 깎기 전에 사방이 트인 곳에서 장비 운전을 연습하십시오. 엔진을 시동하고 정지합니다. 전진 및 후진하십시오. 커팅 유닛을 올리고 내린 다음 릴을 체결하고 푸십시오. 장비에 익숙해지면 경사로를 다양한 속도로 오르고 내리는 연습을 하십시오.
작동 중 경고등에 불이 들어오면 장비를 즉시 멈추고 운전을 계속하기 전에 문제를 해결하십시오. 작동에 문제가 있는 장비를 운전할 경우 심각하게 손상될 수 있습니다.
장비를 평지에 주차합니다.
커팅 유닛을 체결 해제하고 내립니다.
주차 브레이크를 체결합니다.
엔진을 끄고 키를 뺍니다.
모든 움직임이 멈출 때까지 기다립니다.
장비가 식은 후에 장비를 조정, 정비, 청소 또는 보관하십시오.
커팅 유닛, 구동 장치, 머플러, 냉각 스크린 및 엔진실에 붙어 있는 잔디와 부스러기를 제거하여 화재를 예방하십시오. 흘린 오일이나 연료를 청소하십시오.
견인하거나 사용하지 않을 때에는 부착 장치에서 구동부를 분리하십시오.
필요한 경우 안전 벨트(들)을 정비하고 청소하십시오.
온수기나 기타 기구 등 노출된 화염, 불꽃, 불이 붙을 수 있는 불씨 등이 있는 곳에는 장비나 연료통을 보관하지 마십시오.
트레일러나 트럭에 장비를 싣는 경우 전폭 램프를 사용하십시오.
장비를 단단히 매십시오.
결박 개소는 다음 위치입니다.
전방 계단 아래 각 프레임 측면
후방 범퍼

견인 바이패스 밸브를 연 상태에서 장비가 의도치 않게 움직여 운전자 또는 주변 사람들이 부상을 당할 수 있습니다.
장비를 밀거나 견인하지 않을 때에는 주차 브레이크를 걸어 놓습니다.
비상 시에는 트랙션 유압 펌프의 견인 바이패스 밸브를 열고, 유압 호스를 설치하여 체크 밸브를 우회시킨 후 장비를 밀거나 견인하여 옮길 수 있습니다.
장비를 밀거나 견인해야 할 때 전진 및 후진시켜야 할 수도 있습니다. 밀거나 견인할 때 구동 시스템이 손상되지 않게 하려면 전진 및 후진으로 밀거나 견인하도록 장비를 준비하는 것이 최선입니다.
필수 부품(별도 구매): 후진 견인 키트, Toro 부품 번호 136-3620
Important: 장비를 후진으로 밀거나 견인해야 할 때, 우선 4WD 매니폴드의 체크 밸브를 우회시켜야 합니다.
수평면에 장비를 주차하고 주차 브레이크를 체결하고 커팅 유닛을 내리고 엔진을 끄고 키를 뺍니다.
후진 견인 키트의 바이패스 호스 및 직선 피팅을 느슨하게 조립합니다. 후진 견인 키트 설치 지침을 참조하십시오.
후진 트랙션 튜브의 테스트 포트에서 먼지 덮개 및 테스트 피팅을 제거합니다.
바이패스 호스의 직선 피팅을 테스트 포트에 조립하고 피팅과 호스를 조입니다.
후방 트랙션 매니폴드의 무표시 포트에서 6번 육각 소켓 플러그(포트 M8 및 포트 P2의 피팅 사이에 있음)를 제거합니다.
바이패스 호스의 나머지 직선 피팅을 무표시 후방 트랙션 매니폴드 포트에 조립하고 피팅과 호스를 조입니다.
밸브를 한쪽 방향으로 90°(¼ 바퀴) 회전시켜 트랙션 펌프의 견인 바이패스 밸브를 엽니다(그림 45).
Note: 밸브를 열고 닫을 때 밸브 위치를 기록하십시오.

장비를 밀거나 견인합니다.
Important: 유압 시스템이 손상될 수 있으므로 3~4.8 km/h 이상의 속도, 또는 0.4 km 이상의 거리로 장비를 밀거나 견인하지 마십시오. 우회 밸브는 장비를 밀거나 견인할 때마다 반드시 열려 있어야 합니다.
수평면에 장비를 주차하고 주차 브레이크를 체결하고 커팅 유닛을 내리고 엔진을 끄고 키를 뺍니다.
후진 트랙션 튜브의 테스트 포트에서 후진 견인 키트의 직선 피팅 및 바이패스 호스를 제거합니다. 후진 견인 키트 설치 지침을 참조하십시오.
테스트 포트에 테스트 피팅 및 먼지 덮개를 설치합니다.
무표시 후방 트랙션 매니폴트 포트(포트 M8 및 포트 P2 사이에 위치함)에서 바이패스 호스 직선 피팅을 제거합니다.
후방 견인 키트의 6번 육간 소켓 플러그를 후방 트랙션 매니폴드의 무표시 포트에 설치합니다.
엔진의 시동을 걸기 전에 밸브를 90°(¼ 바퀴)로 다시 돌려 견인 바이패스 밸브를 닫습니다(그림 46).
Note: 밸브를 닫을 때에는 토크가 7~11 N·m을 초과하지 않도록 하십시오.

장비를 전진 방향으로만 밀거나 견인해야 할 때, 우회 밸브를 돌리면 됩니다.
Important: 장비를 후진으로 밀거나 견인해야 할 때는 장비를 후진으로 밀거나 견인할 준비를 참조하십시오.
후드를 열고 중앙 덮개를 제거합니다.
밸브를 한쪽 방향으로 90°(¼ 바퀴) 회전시켜 트랙션 펌프의 견인 바이패스 밸브를 엽니다(그림 45).
Note: 밸브를 열고 닫을 때 밸브 위치를 기록하십시오.

장비를 앞으로만 밀거나 견인해야 합니다.
Important: 유압 시스템이 손상될 수 있으므로 3~4.8 km/h 이상의 속도, 또는 0.4 km 이상의 거리로 장비를 밀거나 견인하지 마십시오. 우회 밸브는 장비를 밀거나 견인할 때마다 반드시 열려 있어야 합니다.
장비를 작동할 준비가 되었다면 엔진의 시동을 걸기 전에 밸브를 90°(¼ 바퀴)로 다시 돌려 견인 바이패스 밸브를 닫습니다.
Note: 밸브를 닫을 때에는 토크가 7~11 N·m을 초과하지 않도록 하십시오.
Note: 정상 운전 위치에서 장비의 좌측과 우측을 판단하십시오.
Note: www.Toro.com를 방문하여 홈 페이지의 Manual(설명서) 링크를 이용해 자신의 장비를 검색하여 전기나 유압 도면 무료 사본을 다운로드하십시오.
Important: 추가 정비 절차는 엔진 사용 설명서 및 커팅 유닛 사용 설명서를 참조하십시오.
운전석을 떠나기 전에 다음을 이행하십시오:
장비를 평지에 주차합니다.
커팅 유닛을 체결 해제하고 내립니다.
주차 브레이크를 체결합니다.
엔진을 끄고 키를 뺍니다.
모든 움직임이 멈출 때까지 기다립니다.
장비가 식은 후에 장비를 조정, 정비, 청소 또는 보관하십시오.
장비를 관리하기 전에 장비 구성 부품을 식히십시오.
가능하다면, 엔진 작동 중에는 장비를 정비하지 마십시오. 움직이는 부품에서 떨어지십시오.
기기 아래에서 작업할 때마다 잭 스탠드로 장비를 받치십시오.
에너지가 축적된 부품의 압력은 조심스럽게 빼십시오.
장비의 모든 부품을 양호한 작동 상태로 관리하고 모든 하드웨어를 조여진 상태로 관리하십시오.
닳거나 손상된 데칼은 모두 교체하십시오.
장비가 안전하게 최적 성능으로 작동하게 하려면, 순정 Toro 교체 부품만 사용하십시오. 다른 제조사에서 만든 교체 부품은 위험할 수 있으며, 그렇게 사용하면 제품 보증이 무효가 될 수 있습니다.
| 유지보수 서비스 간격 | 유지보수 절차 |
|---|---|
| 처음 8시간 후 |
|
| 처음 50시간 후 |
|
| 처음 200시간 후 |
|
| 매번 사용하기 전 또는 매일 |
|
| 매 50시간 |
|
| 매 100시간 |
|
| 매 200시간 |
|
| 매 250시간 |
|
| 매 400시간 |
|
| 매 800시간 |
|
| 매 1,000시간 |
|
| 매 2,000시간 |
|
| 보관하기 전 |
|
이 페이지를 복사하여 사용하십시오.
| 유지보수 점검 항목 | 주 시작 날짜: | ||||||
|---|---|---|---|---|---|---|---|
| 월 | 화 | 수 | 목 | 금 | 토 | 일 | |
| 안전 인터록 작동 상태 점검. | |||||||
| 브레이크 작동 상태 점검. | |||||||
| 엔진 오일 레벨과 연료량 점검. | |||||||
| 냉각 시스템 오일 레벨 점검. | |||||||
| 물/연료 분리기 비움. | |||||||
| 공기 필터 정비 표시기 점검. | |||||||
| 라디에이터, 오일 쿨러, 스크린 등에 붙은 잔해물 점검. | |||||||
| 엔진 소음 이상 점검1 | |||||||
| 엔진 작동 소음 이상 점검 | |||||||
| 유압 시스템 오일 레벨 점검. | |||||||
| 유압 호스 손상 여부 점검. | |||||||
| 오일 누출 점검. | |||||||
| 타이어 공기압 점검. | |||||||
| 계기 작동 점검. | |||||||
| 릴-베드나이프 조정 점검. | |||||||
| 커팅 높이 조정 점검. | |||||||
| 모든 구리스 피팅 윤활.2 | |||||||
| 벗겨진 페인트 복원. | |||||||
|
1. 엔진이 시동이 잘 안 걸리거나 지나치게 매연이 나오거나 거칠게 작동하면 예열 플러그와 분사기 노즐을 점검하십시오. |
|||||||
|
2. 표시된 주기와 상관없이 매번 세척 후 즉시 시행. |
|||||||
| 검사자: | ||
| 항목 | 날짜 | 정보 |
| 1 | ||
| 2 | ||
| 3 | ||
| 4 | ||
| 5 | ||
| 6 | ||
| 7 | ||
| 8 | ||
평평한 곳에 장비를 주차하고 커팅 유닛을 내린 다음 주차 브레이크를 겁니다.
엔진을 끄고 키를 빼고 나서 움직이는 모든 부품이 멈출 때까지 기다립니다.
후드 래치 2개를 해제합니다(그림 48).

후드를 돌려서 엽니다.
후드를 조슴스럽게 돌려 닫습니다(그림 49).

후드 래치 2개로 후드를 고정합니다.
배터리함 커버에서 고무 래치를 분리합니다(그림 48).

커버를 위로 돌립니다.
시트를 약간 회전시킨 다음 시트 지지 슬롯의 디텐트에서 받침대를 들어 올립니다(그림 53).

시트가 잘 잠기도록 시트를 조심해서 내립니다.
| 유지보수 서비스 간격 | 유지보수 절차 |
|---|---|
| 매 50시간 |
|
그리스 규격: 리튬 그리스 2호
장비의 유지보수를 준비합니다. 유지보수 준비를 참조하십시오.
구리스 피팅 위치와 개수는 다음과 같습니다.
브레이크 샤프트 피벗 베어링(5개), 그림 56 참조

후방 차축 피벗 부싱(2개), 그림 57 참조

스티어링 실린더 볼 조인트(2개), 그림 58 참조

타이 로드 볼 조인트(2개), 그림 58 참조
킹 핀 베어링(2개), 그림 58 참조
Note: 킹핀 위쪽의 피팅은 일년에 한 번만 윤활해야 합니다(펌프 2개).
리프트 암 부싱(커팅 유닛당 1개), 그림 59 참조

리프트 실린더 부싱(커팅 유닛당 2개), 그림 59 참조
리프트 암 피벗 부싱(커팅 유닛당 1개), 그림 60 참조
커팅 유닛 캐리어 프레임(커팅 유닛당 2개), 그림 60 참조
커팅 유닛 리프트 피벗(커팅 유닛당 1개), 그림 60 참조

오일을 점검하거나 크랭크케이스에 오일을 보충하기 전에는 엔진을 정지하십시오.
엔진 조속기 속도를 변경하거나 엔진 속도를 과도하게 올리지 마십시오.
| 유지보수 서비스 간격 | 유지보수 절차 |
|---|---|
| 매 400시간 |
|
에어 클리너 필터는 정비 표시기에 빨간색 띠가 표시될 때에만 정비하십시오. 필요하기 전에 에어 필터를 교체하면 필터를 제거했을 때 먼지가 엔진에 유입될 기회만 증가됩니다.
Important: 덮개가 제대로 닫혀 있는지 확인하고 에어 클리너 바디를 밀봉합니다.
장비의 유지보수를 준비합니다. 유지보수 준비를 참조하십시오.
후드를 엽니다. 후드 열기을 참조하십시오.
에어 클리너 바디에 공기 누출을 유발할 수 있는 마모 또는 손상이 있는지 점검하십시오. 흡입 시스템 전체에 걸쳐 누출, 손상 또는 느슨한 호스 클램프 유무를 점검하십시오.
Note: 에어 클리너 및 흡입 시스템 부품에 마모되거나 손상되었다면 교체하십시오.
래치를 바깥쪽으로 당기고 에어 클리너 커버를 시계 반대 방향으로 돌립니다(그림 63).

에어 클리너 하우징에서 커버를 분리합니다.
필터를 빼기 전에 저압의 공기(2.75 bar, 깨끗하고 건조함)로 기본 필터 바깥쪽과 하우징 사이에 들어찬 커다란 잔해물 덩어리를 제거합니다. 이물질이 필터를 통해 흡입계로 밀려 들어갈 수 있으니 고압의 공기는 사용하지 마십시오.
이 청소 과정은 기본 필터를 제거했을 때 잔해물이 흡입계로 유입되는 것을 방지합니다.
기본 필터 엘리먼트를 제거합니다(그림 64).
Note: 기본 필터 엘리먼트를 청소하지 마십시오.

안전 필터 엘리먼트를 점검합니다(그림 65). 더러우면 교체하십시오.
Important: 안전 필터를 청소하려 들지 마십시오(그림 65). 기본 필터를 3번 교체할 때마다 안전 필터를 새것으로 교체하십시오.

새 필터의 손상 여부를 살펴보고 에어 필터의 필터 엘리먼트 및 바디가 꼼꼼하게 밀봉되었는지 확인합니다.
Important: 손상된 필터 엘리먼트는 사용하지 마십시오.
기본 필터 엘리먼트를 조립합니다. 엘리먼트 외부 림에 압력을 가하여 에어 필터 하우징에 안착시킵니다.
Important: 필터 가운데 부분은 변형될 수 있으므로 압력을 가하지 마십시오.
에어 클리너 커버에서 먼지 배출 밸브를 제거하고 구멍을 청소한 다음 배출 밸브를 커버에 끼웁니다.
먼지 배출 밸브가 아래쪽으로 향하도록(끝에서 볼 때 약 5시 방향과 7시 방향 사이에 있도록) 에어 클리너 하우징에서 커버를 조립합니다.
정비 표시기에 빨간색 띠가 표시되면 표시기 끝에 있는 초기화 버튼을 누릅니다(그림 66).

후드를 닫고 래치를 잠급니다. 후드 닫기을 참조하십시오.
다음 사양을 충족하거나 초과하는 고품질 엔진 오일을 사용하십시오.
API 서비스 범주: CH-4 이상.
사용할 엔진 오일 점도 등급:
권장 오일: SAE 15W-40: -18°C 이상
대체 오일: SAE 10W-30 또는 5W-30(모든 온도에서)
Toro 공식 판매 대리점에서는 점도 등급이 15W-40 또는 10W-30인 Toro 프리미엄 엔진 오일을 판매합니다.
| 유지보수 서비스 간격 | 유지보수 절차 |
|---|---|
| 매번 사용하기 전 또는 매일 |
|
엔진은 크랭크실에 오일이 채워진 상태로 출하됩니다. 하지만, 엔진을 처음 시동하기 전과 후에 반드시 오일 레벨을 확인해야 합니다.
Note: 엔진 오일을 점검하기에 가장 좋은 시간은 일과 시작 전 엔진이 식어 있을 때입니다. 엔진을 이미 가동했다면 10분 정도 기다린 다음 오일 레벨을 점검하십시오.
장비의 유지보수를 준비합니다. 유지보수 준비를 참조하십시오.
후드의 래치를 풀고 엽니다. 후드 열기을 참조하십시오.
엔진 우측의 계량봉 튜브에서 계량봉을 제거하고(그림 67) 깨끗한 헝겊으로 계량봉을 닦습니다.

계량봉을 계량봉 튜브에 완전히 끼운 다음 계량봉을 빼내서 오일 레벨을 확인합니다.
Note: 7 오일 레벨이 Full(가득 참) 표시와 Add(보충) 오일 레벨 표시 사이에 있으면 오일을 보충할 필요가 없습니다. 단계를 건너뛰십시오.
오일 레벨이 낮으면 엔진 우측에서 오일 주입구 마개(그림 68)를 열고 적은 양의 오일을 천천히 보충하여 레벨이 계량봉의 Full(가득 참) 표시에 오도록 합니다.
Important: 엔진 오일 레벨이 계량봉의 상한선과 하한선 사이에 오게 해야 합니다. 엔진 오일을 과다 주입하거나 과소 주입하면 엔진에 심각한 손상이 발생할 수 있습니다.

오일 주입구 마개를 닫고 계량봉을 집어 넣습니다.
후드를 닫고 래치를 잠급니다. 후드 닫기을 참조하십시오.
약 9.5 L(필터 포함).
| 유지보수 서비스 간격 | 유지보수 절차 |
|---|---|
| 매 250시간 |
|
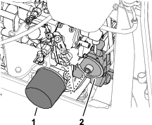
엔진 우측에서 오일 필터를 반시계 방향으로 돌려서 제거합니다(그림 70).

필터 어댑터를 깨끗하게 닦아 냅니다.
새 필터 씰에 깨끗한 오일을 얇게 입힙니다.
Note: 필터를 과도하게 조이지 마십시오.
필터가 어댑터에 접촉할 때까지 필터 어댑터에 필터를 돌려서 끼운 다음 필터를 1바퀴 더 돌려서 조입니다.
오일을 엔진에 보충하고 주입구 마개를 끼웁니다. 오일 규격, 크랭크실 오일 용량, 및 엔진 오일 레벨 점검을 참조하십시오.
엔진의 조속기 레버가 스로틀 케이블이 컨트롤 암의 슬롯 끝에 접촉하는 곳과 같은 지점에서 고속 설정 볼트를 접촉하도록 스로틀 케이블(그림 71)을 조정합니다.

특정 환경에서 연료와 연료 증기는 가연성이 매우 높고 폭발성이 있습니다. 연료로 인한 화재나 폭발은 자신과 타인에게 화상을 입힐 수 있으며 재산상의 피해를 초래할 수도 있습니다.
연료는 실외의 개방된 공간에서 엔진이 꺼지고 식었을 때 주입하십시오. 흘린 연료가 있으면 모두 닦아 내십시오.
연료 탱크를 완전히 가득 채우지 마십시오. 연료 탱크에 연료를 보충할 때는 주입구가 아니라 탱크 상단에서 25 mm 못 미치도록 보충하십시오. 탱크 내의 이 빈 공간은 연료가 팽창하는 데 필요합니다.
연료를 취급할 때 절대 담배를 피워서는 안 되며, 화염이 있는 곳이나 불꽃으로 인해 연료 가스에 불이 붙을 수 있는 곳에서 멀리 떨어지십시오.
연료는 깨끗하고 안전 승인을 받은 용기에 보관하고 캡은 닫아 두십시오.
| 유지보수 서비스 간격 | 유지보수 절차 |
|---|---|
| 매 400시간 |
|
평평한 곳에 장비를 주차시켜 커팅 유닛을 내리고 주차 브레이크를 걸고 엔진을 멈춘 후 키를 뺍니다.
| 유지보수 서비스 간격 | 유지보수 절차 |
|---|---|
| 매 400시간 |
|
연료-수분 분리기를 비웁니다. 연료-수분 분리기 비우기의 1~4 단계를 참조하십시오.
연료-수분 분리기 필터 및 필터 헤드를 청소합니다(그림 73).

필터 헤드에서 분리기 필터를 제거합니다.
필터 헤드의 필터 장착 표면을 청소합니다.
새 분리기 필터의 개스킷에 깨끗한 연료를 얇게 입힙니다.
개스킷이 장착 면에 닿을 때까지 분리기 필터를 필터 헤드로 돌려서 끼운 다음 필터를 ½바퀴 더 돌립니다.
연료-수분 분리기 필터 바닥에 있는 드레인 밸브가 닫혔는지 확인합니다.
엔진을 시동하고 분리기 필터 및 필터 헤드 주위에 연료가 새지 않는지 확인합니다.
엔진을 끄고, 키를 제거한 다음 후드를 닫고 래치를 잠급니다. 후드 닫기을 참조하십시오.
| 유지보수 서비스 간격 | 유지보수 절차 |
|---|---|
| 매 800시간 |
|
| 보관하기 전 |
|
연료 시스템이 오염되거나 장비를 오랫동안 보관해야 할 경우에는 연료 탱크를 비우고 청소하십시오. 깨끗한 연료를 사용하여 탱크를 씻어 내십시오.
평평한 곳에 장비를 주차시켜 커팅 유닛을 내리고 주차 브레이크를 걸고 엔진을 멈춘 후 키를 뺍니다.
연료 탱크 안쪽에 있는 연료 흡입 튜브에는 잔해물이 연료 시스템에 유입하는 것을 방지하는 막이 장착되어 있습니다. 연료 흡입 튜브를 분리하고, 필요한 경우 막을 청소하십시오.
장비를 수리하기 전에 배터리 연결을 해제하십시오. 먼저 음극 단자의 연결을 해제한 다음 양극 단자의 연결을 해제하십시오. 먼저 양극 단자를 연결한 다음 음극 단자를 마지막으로 연결하십시오.
불똥이나 화염이 없으며 통풍이 잘 되는 개방된 곳에서 배터리를 충전하십시오. 충전기를 배터리에 연결하거나 연결 해제하기 전에 충전기 플러그를 뽑으십시오. 보호복을 입고 절연된 도구를 사용하십시오.
배터리 전해액에 포함된 황산은 치명적인 독극물이며, 심한 화상을 입힐 수 있습니다.
전해액을 마시거나 피부, 눈 또는 옷에 닿지 않도록 하십시오. 보안경과 고무 재질의 장갑을 착용하여 눈과 손을 보호하십시오.
배터리는 피부를 씻을 수 있는 깨끗한 물이 항상 있는 곳에서 충전하십시오.
배터리 양극 케이블(적색)을 배터리 양극(+) 포스트에 설치합니다(그림 77).

배터리 음극 케이블(검정색)을 배터리 음극(-) 포스트에 설치합니다.
Grafo 112X(스킨 오버) 그리스, Toro 부품 번호 505-47 를 배터리 포스트 및 배터리 케이블 클램프에 코팅합니다.
고무 부츠를 배터리 양극 케이블 클램프에 밀어서 끼웁니다.
배터리함 커버를 닫고 래치를 고정합니다.
| 유지보수 서비스 간격 | 유지보수 절차 |
|---|---|
| 매 50시간 |
|
Note: 배터리가 더러우면 느리게 방전되므로 단자와 전체 배터리 케이스를 깨끗하게 유지하십시오.
| 유지보수 서비스 간격 | 유지보수 절차 |
|---|---|
| 매번 사용하기 전 또는 매일 |
|
Important: 양호한 커팅 품질과 본연의 장비 성능을 위해 모든 타이어의 공기압을 권장 수치로 유지하십시오. 타이어의 공기를 과도하게 빼지 마십시오.
장비의 유지보수를 준비합니다. 유지보수 준비를 참조하십시오.
타이어 공기압을 측정합니다.
Note: 타이어의 올바른 공기압은 0.83~1.03 bar입니다.
필요하면 타이어에서 공기를 주입하거나 빼십시오.
다른 타이어에 대하여 2 및 3 단계를 반복합니다.
| 유지보수 서비스 간격 | 유지보수 절차 |
|---|---|
| 처음 8시간 후 |
|
| 매 200시간 |
|
휠 너트의 토크를 적절히 유지하지 않으면 휠이 고장나거나 손상을 입거나, 작업자가 부상을 입을 수 있습니다.
1~4시간 사용 후에 115~136 N·m의 토크로 전방 및 후방 휠 너트를 조이고 8시간 사용 후 다시 조여야 합니다. 그 다음부터는 200시간마다 휠 너트를 조여야 합니다.
장비의 유지보수를 준비합니다. 유지보수 준비를 참조하십시오.
115~136 N·m의 토크로 휠 너트를 조입니다.
Note: 앞바퀴 너트는 ½-20 UNF이며, 뒤바퀴 너트는 M12 x 1.6-6H(미터법)입니다.
| 유지보수 서비스 간격 | 유지보수 절차 |
|---|---|
| 매 400시간 |
|
잭에 걸린 장비는 불안정하며 잭에서 미끄러지면 아래에 있는 사람이 부상당할 수 있습니다.
장비가 잭에 걸려 있을 때 엔진을 시동하지 마십시오.
항상 장비를 떠나기 전에 스위치에서 키를 빼십시오.
잭으로 장비를 올릴 때 타이어를 블록으로 받칩니다.
잭 스탠드로 장비를 지지합니다.
유성 드라이브/드라이브에 유격이 없어야 합니다(즉, 차축에 평행하게 밀거나 당기면 휠이 움직이지 않아야 합니다).
| 유지보수 서비스 간격 | 유지보수 절차 |
|---|---|
| 매 400시간 |
|
윤활유 규격: 고품질 SAE 85W-140 기어 오일
장비를 평지에 주차한 다음 주입 플러그는 12시 방향에, 점검 플러그는 3시 방향에, 배출 플러그는 6시 방향에 오도록 휠을 조정합니다 (그림 80).

3시 방향의 점검 플러그를 제거합니다(그림 80).
오일 레벨이 점검 플러그 구멍 하단이어야 합니다.

오일 레벨이 낮으면 12시 방향의 주입 플러그를 제거하고 3시 방향의 구멍에서 오일이 흘러나올 때까지 오일을 보충합니다.
플러그의 O-링이 마모되거나 손상되지 않았는지 점검하십시오.
Note: 필요한 경우 O-링을 교체하십시오.
플러그를 장착합니다.
장비의 반대쪽 유성 기어 어셈블리에서 1에서 5 단계까지 반복합니다.
| 유지보수 서비스 간격 | 유지보수 절차 |
|---|---|
| 처음 50시간 후 |
|
| 매 800시간 |
|
윤활유 규격: 고품질 SAE 85W-140 기어 오일
유성 및 브레이크 하우징 윤활 용량: 0.65 L
장비를 평지에 주차한 다음 주입 플러그는 12시 방향에, 점검 플러그는 3시 방향에, 배출 플러그는 6시 방향에 오도록 휠을 조정합니다. 유성 기어 드라이브 오일 점검의 그림 80을 참조하십시오.
12시 방향의 주입 플러그 및 3시 방향의 점검 플러그를 제거합니다(그림 82).

드레인 팬을 유성 허브 아래에 놓은 다음 6시 방향의 배출 플러그를 제거하여 오일이 완전히 배출되게 합니다(그림 82).
주입, 점검 및 배출 플러그의 O-링이 마모되거나 손상되지 않았는지 점검하십시오.
Note: 필요한 경우 O-링을 교체하십시오.
유성 하우징의 배출 구멍에 배출 플러그를 장착합니다(그림 82).
드레인 팬을 브레이크 하우징 아래에 놓은 다음 배출 플러그를 제거하여 오일이 완전히 배출되게 합니다(그림 83).

플러그의 O-링이 마모되거나 손상되지 않았는지 점검하고 배출 플러그를 브레이크 하우징에 장착합니다.
Note: 필요한 경우 O-링을 교체하십시오.
주입 플러그 구멍을 통해 유성 기어에 고품질 SAE 85W-140 기어 오일 0.65 L를 서서히 채웁니다.
Important: 0.65 L의 오일을 보충하기 전에 유성 기어가 가득 차면 한 시간을 기다리거나 플러그를 설치하고 장비를 약 3 m 옮겨 오일이 브레이크 시스템으로 분산되도록 하십시오. 그런 다음 플러그를 제거하고 남은 오일을 보충합니다.

주입 플러그 및 점검 플러그를 장착합니다.
유성 기어 및 브레이크 하우징을 깨끗하게 닦아냅니다(그림 85).

장비의 반대쪽에서 유성 기어/브레이크 어셈블리에 대해 유성 기어 드라이브 배출에 설명된 1에서 7 단계까지, 이 절차의 1에서 3 단계까지 반복합니다.
| 유지보수 서비스 간격 | 유지보수 절차 |
|---|---|
| 매번 사용하기 전 또는 매일 |
|
| 매 400시간 |
|
차축 오일 규격: SAE 85W-140 기어 오일
| 유지보수 서비스 간격 | 유지보수 절차 |
|---|---|
| 처음 200시간 후 |
|
| 매 800시간 |
|
후방 차축 오일 용량: 2.4 L
장비의 유지보수를 준비합니다. 유지보수 준비를 참조하십시오.
3개의 드레인 플러그(각각의 베벨 기어 케이스(차축 하우징의 외부) 1군데, 중앙 기어 케이스에 1군데) 주변을 청소하십시오(그림 87).

각 드레인 플러그를 제거하여 오일을 드레인 팬으로 흘려 보냅니다(그림 87).
2개의 차축 하우징 점검 플러그 및 주입 플러그를 제거하여 오일 배출을 용이하게 하십시오(그림 88).

피팅을 사용하여 차축 하우징에 3개의 드레인 플러그 및 점검 플러그를 장착합니다.
주입 플러그 차축 포트에서 차축에 85W-140 기어 오일을 약 2.37 L 주입하거나, 오일 레벨이 구멍 하단까지 오도록 채웁니다.
점검 플러그 및 주입 플러그를 장착합니다.
| 유지보수 서비스 간격 | 유지보수 절차 |
|---|---|
| 매번 사용하기 전 또는 매일 |
|
| 매 400시간 |
|
감속 기어 케이스 오일 규격: SAE 85W-140 기어 오일

장비의 유지보수를 준비합니다. 유지보수 준비를 참조하십시오.
예초 속도 스페이서 표를 사용하여 예초할 때의 최고 이동 속도와 예초 이동 속도를 제한하는 쇼트 스페이서의 위치를 결정합니다. 예초 속도 스페이서 표을 참조하십시오.
Note: 각 쇼트 스페이서는 예초 속도를 0.8 km/h 단위로 조정합니다.
트랙션 페달 아래에서 예초 스톱 블록에 스페이서를 고정하는 스톱 볼트 및 플랜지 록너트를 제거합니다(그림 91).

예초 스톱 블록 위에 롱 스페이서를 배치합니다.
2 단계에서 결정한 쇼트 스페이서를 배치합니다.
3 단계에서 제거한 스톱 볼트 및 플랜지 록너트로 예초 스톱 블록에 스페이서를 고정합니다.
Note: 6개의 쇼트 스페이서 및 롱 스페이서를 모두 설치해야 합니다.
InfoCenter의 예초 속도를 설정합니다. InfoCenter의 예초 속도 설정을 참조하십시오.
TEC는 InfoCenter의 예초 속도 설정을 사용하여 커팅 유닛의 릴 속도를 최고 예초 이동 속도로 조정합니다.
InfoCenter에서 MAIN MENU(주 메뉴)로 이동합니다.
MAIN MENU(주 메뉴)에서 중간 버튼을 눌러 SETTING(설정) 옵션을 강조 표시한 다음 우측 버튼을 누릅니다.
SETTING MENU(설정 메뉴)에서 중간 버튼을 눌러 PROTECTED MENUS(보호 메뉴) 옵션을 강조 표시한 다음 우측 버튼을 누릅니다.
PROTECTED MENUS(보호 메뉴) 화면에서 PIN 코드를 입력합니다. 보호 메뉴 액세스을 참조하십시오.
SETTING(설정) 메뉴에서 중간 버튼을 눌러 MOW SPEED(예초 속도) 옵션을 강조 표시한 다음 우측 버튼을 누릅니다.
MOW SPEED(예초 속도) 화면에서 중간 버튼 또는 우측 버튼을 눌러 InfoCenter에 표시되는 예초 속도가 예초 속도 스페이서 조정의 2 단계에서 결정된 최고 예초 이동 속도와 같게 만듭니다.
Note: 예초 속도 설정은 0.8 kph씩 증가하거나 감소합니다.

Note: 표시등이 깜박이고 Advisory #176(릴 속도 변경)이 표시됩니다.

좌측 버튼을 눌러 설정 메뉴를 종료합니다.
트랙션 페달에서 발을 떼었을 때 장비가 자동으로 전진해서는 안됩니다. 장비가 전진하면 트랙션 드라이브를 중립으로 조정합니다.
평평한 곳에 장비를 주차하고 엔진을 멈춘 다음 속도 제어를 낮은 범위로 놓고, 커팅 유닛을 아래로 내립니다.
오른쪽 브레이크 페달만 밟고 주차 브레이크를 체결합니다.
왼쪽 앞타이어가 정비소 바닥에서 떨어질 때까지 잭으로 장비 왼쪽을 들어 올립니다. 잭 스탠드로 장비를 받쳐 뜻하지 않게 장비가 떨어지는 것을 방지합니다. 사양 및 잭 포인트 정하기을 참조하십시오.
엔진을 시동하고 저속으로 공회전 시킵니다.
로드 엔드의 잼 너트를 조정하여 트랙션 로드를 앞으로 옮겨 자동 전진 현상을 없애거나 뒤로 옮겨 자동 후진 현상을 없앱니다(그림 94 및 그림 95).


바퀴가 회전을 멈추면 잼 너트를 조여 조정치를 고정합니다.
엔진을 끄고 키를 뺍니다.
잭 스탠드를 제거하여 장비를 정비소 바닥에 내려놓습니다.
장비를 시험 운전하여 혼자서 굴러가는 현상이 일어나지 않는지 확인합니다.
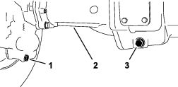
후방 차축의 타이 로드 엔드에서 코터 핀과 홈붙이 너트를 제거합니다(그림 97).

차축 케이스 스티어링 암에서 타이 로드 엔드를 분리합니다.
타이 로드 양쪽 끝의 클램프를 풉니다(그림 97).
분리한 볼 조인트를 안쪽 또는 바깥쪽으로 완전히 한 바퀴 돌립니다.
타이 로드 엔드의 분리된 쪽 클램프를 조입니다.
타이 로드 어셈블리 전체를 같은 방향(안쪽 또는 바깥쪽)으로 완전히 한 바퀴 돌립니다.
타이 로드 엔드의 연결된 쪽 클램프를 조입니다.
홈붙이 너트를 사용하여 타이 로드 엔드를 차축 케이스 스티어링 암에 조립합니다.
토우인을 측정합니다. 뒤바퀴 정렬 상태 점검을 참조하십시오.
필요하면 홈붙이 너트를 제거하고 2~9 단계를 반복합니다.
전방 및 후방 측정값의 차이가 3 mm 이하일 경우, 홈붙이 너트를 조이고 새로운 코터 핀을 설치합니다.
엔진 냉각수를 삼키면 중독될 수 있으므로, 아이들과 애완 동물의 손이 닿지 않게 하십시오.
압력이 가해진 뜨거운 냉각수가 방출되거나 뜨거운 라디에이터 및 주변 부품을 건드리면 심한 화상을 입을 수 있습니다.
엔진을 끈 후 15분 이상 냉각시킨 다음에 라디에이터 캡을 여십시오.
라디에이터 캡을 열 때에는 천 조각을 사용하고 증기가 빠져나가도록 천천히 캡을 여십시오.
공장 출하 시 냉각수 탱크에는 물과 에틸렌 글리콜 50/50 용액 계열의 수명 연장 냉각수가 채워져 있습니다.
Important: 수명 연장 냉각수 표준 표에 명시된 사양에 부합하는 상용 냉각수만 사용하십시오.전통적인(녹색) 무기산 기술(IAT) 냉각수를 사용하지 마십시오. 전통적인 냉각수와 수명 연장 냉각수를 혼합하지 마십시오.
|
에틸렌 글리콜 유형 |
부식 방지 유형 |
|
수명 연장 부동액 |
유기산 기술(OAT) |
|
Important: 전통적인(녹색) 유기산 기술(IAT) 냉각수와 수명 연장 냉각수 사이의 차이를 식별할 때 냉각수 색깔을 기준으로 삼지 마십시오.냉각수 제조업체가 수명 연장 냉각수를 빨간색, 핑크색, 오렌지색, 노란색, 파란색, 청록색, 보라색, 녹색 중 하나로 염색할 수 있습니다. 수명 연장 냉각수 표준 표에 명시된 사양에 부합하는 냉각수를 사용하십시오. |
|
|
ATSM 국제 표준 |
SAE 국제 표준 |
|
D3306 및 D4985 |
J1034, J814, 및 1941 |
Important: 냉각수 농도는 냉각수와 물의 50/50 혼합액이어야 합니다.
선호 사항: 농축액에 냉각수를 혼합할 때 증류수를 혼합하십시오.
선호 옵션: 증류수를 사용할 수 없을 경우, 농축액 대신 미리 혼합된 냉각수를 사용하십시오.
최소 요구 사항: 증류수 및 사전 혼합된 냉각수를 사용할 수 없는 경우, 농축 냉각수를 깨끗한 음용수와 혼합하십시오.
| 유지보수 서비스 간격 | 유지보수 절차 |
|---|---|
| 매번 사용하기 전 또는 매일 |
|
엔진이 작동 중이었다면 가압된 뜨거운 냉각수가 분출하여 화상을 입을 수 있습니다.
엔진이 작동 중일 때에는 라디에이터 캡을 열지 마십시오.
라디에이터 캡을 열 때에는 천 조각을 사용하고 증기가 빠져나가도록 천천히 캡을 여십시오.
장비의 유지보수를 준비합니다. 냉각수 레벨 점검를 참조하십시오.
후드를 열고 엔진이 식을 때까지 기다립니다. 후드 열기을 참조하십시오.
라디에이터 캡을 주의해서 제거합니다(그림 98).

라디에이터의 냉각수 레벨을 확인합니다.
Note: 라디에이터 주입구 상단에 있으면 냉각수 레벨이 올바른 것입니다(그림 98).
확장 탱크의 냉각수 레벨을 확인합니다.
Note: 확장 탱크의 FULL(가득 참) 마크에 있으면 냉각수 레벨이 올바른 것입니다.
냉각수가 낮으면 지정된 냉각수를 라디에이터, 확장 탱크, 또는 두 개 모두에 보충합니다. 냉각수 사양을 참조하십시오.
라디에이터 캡과 확장 탱크 캡을 장착합니다.
후드를 닫고 래치를 잠급니다. 후드 닫기을 참조하십시오.
| 유지보수 서비스 간격 | 유지보수 절차 |
|---|---|
| 매번 사용하기 전 또는 매일 |
|
장비의 유지보수를 준비합니다. 유지보수 준비를 참조하십시오.
래치를 풀고 후방 스크린을 엽니다(그림 99).

양쪽 스크린 측면을 청소합니다.
힌지 핀에서 스크린을 들어 올린 다음 장비에서 스크린을 분리합니다.
후드를 엽니다. 후드 열기을 참조하십시오.
압축 공기로 오일 쿨러/라디에이터 영역(그림 100)의 양쪽을 말끔히 청소합니다. 라디에이터의 전방에서부터 시작하여 잔해물을 뒤쪽으로 날려 보냅니다. 그런 다음 후방측에서 청소하여 전방으로 날려 보냅니다. 잡풀과 찌꺼기가 전부 제거될 때까지 이 절차를 여러 차례 반복하십시오.
Important: 오일 쿨러/라디에이터를 물로 청소하면 구성품의 조기 부식 손상이 촉진되며 잔해물이 눌릴 수 있습니다.

후드를 닫고 래치를 잠급니다. 후드 닫기을 참조하십시오.
스크린을 힌지 핀에 조립합니다(그림 101).

스크린을 닫고 래치를 잠급니다.
브레이크 페달의 유격이 13 mm 이상이거나 브레이크가 밀리면 주 브레이크를 조정하십시오. 유격이란 운전자가 브레이크 페달을 밟고 나서 브레이크 페달의 저항을 느낄 때까지의 거리입니다.
장비의 유지보수를 준비합니다. 유지보수 준비를 참조하십시오.
브레이크 페달 사이의 페달 잠금 래치를 풀어 양쪽 페달이 독립적으로 작동되게 합니다(그림 102).

브레이크 케이블의 나사산 끝에 있는 전방 잼 너트를 풉니다(그림 103).


브레이크 페달의 유격을 줄이려면 후방 잼 너트를 조여 브레이크 페달의 자유 이동 거리가 0~13 mm가 될 때까지 케이블을 뒤로 이동시킵니다.
Note: 페달을 놓으면 브레이크 케이블 장력이 없는지 확인하십시오.
브레이크가 올바르게 조정된 후 전방 잼 너트를 조입니다.
필요하면 다른 브레이크 케이블에서 3~5 단계를 반복하십시오.
| 유지보수 서비스 간격 | 유지보수 절차 |
|---|---|
| 매 100시간 |
|
매 100시간 작동 후 벨트(그림 104)의 상태 및 장력을 점검하십시오.
평평한 곳에 장비를 주차시켜 커팅 유닛을 내리고 주차 브레이크를 걸고 엔진을 멈춘 후 키를 뺍니다.
후드를 엽니다. 후드 열기을 참조하십시오.
교류 발전기 벨트의 상태를 점검하십시오.
Note: 닳거나 손상된 벨트를 교체합니다.
벨트 장력을 점검합니다.
Note: 벨트 장력이 적당하면 두 풀리 중간에 있는 벨트에 45 N의 힘을 가했을 때 10 mm의 휨이 발생합니다.
벨트가 10 mm 이상 또는 이하로 휜다면 교류 발전기 장착 볼트를 풉니다(그림 104).

교류 발전기 벨트 장력을 높이거나 낮춘 다음 장착 볼트를 조이십시오.
벨트의 휨량을 다시 점검하여 장력이 적당한지 확인합니다.
후드를 닫고 래치를 잠급니다. 후드 닫기을 참조하십시오.
유압 오일이 피부에 침투하면 즉시 의학적 치료를 받으십시오. 주입된 오일은 몇 시간 내에 의사가 수술 방식으로 제거해야 합니다.
모든 유압 오일 호스 및 라인의 상태가 양호하고 모든 유압 연결부 및 피팅이 단단히 조여 있는지 확인한 후에 유압 시스템에 압력을 가하십시오.
고압의 유압 오일이 분출되는 핀 홀 구멍이나 노즐 근처에 손이나 신체를 두지 마십시오.
유압 오일 누출 지점은 판지나 종이를 사용하여 찾으십시오.
유압 시스템에 어떤 작업이라도 수행하기 전에 유압 시스템의 모든 압력을 배출하십시오.
| 유지보수 서비스 간격 | 유지보수 절차 |
|---|---|
| 매번 사용하기 전 또는 매일 |
|
유압 라인과 호스의 누출, 꼬인 라인, 느슨한 장착 지지대, 마모, 느슨한 부품, 기상 악화 및 화학적 노화 여부를 점검하십시오. 작동 전에 필요한 모든 수리를 시행하십시오.
탱크는 출고 시 고품질 유압 오일로 채워져 있습니다. 엔진을 처음 시동하기 전, 그리고 그 후에는 매일 유압 오일 레벨을 점검합니다. 유압 오일 레벨 점검를 참조하십시오.
권장 유압 오일: Toro PX 수명 연장 유압 오일. 19 L들이 통이나 208 L들이 드럼으로 구입할 수 있습니다.
Note: 권장 교체 오일을 사용하는 장비는 오일과 필터를 교체해야 하는 빈도가 적습니다.
대체 유압 오일:Toro PX 수명 연장 유압 오일을 구할 수 없는 경우, 다음 모든 물질 속성에 대해 명시된 범위 내이며 산업 표준을 충족하는 규격의 기존에 사용하던 다른 석유계 유압 오일을 사용할 수 있습니다. 합성유는 사용하지 마십시오. 적절한 제품을 알아보려면 오일 판매 대리점에 문의하십시오.
Note: Toro는 부적절한 대체 제품으로 인해 발생하는 손상에 대해 책임지지 않습니다. 따라서 권장 제품을 보증하는 유명 제조사의 제품만 사용하십시오.
| 물질 속성: | ||
| 점도, ASTM D445 | cSt @ 40°C 44~48 | |
| 점도 지수 ASTM D2270 | 140 이상 | |
| 유동점, ASTM D97 | -37°C ~ -45°C | |
| 업계 표준: | Eaton Vickers 694(I-286-S, M-2950-S/35VQ25 또는 M-2952-S) | |
Note: 많은 유압 오일이 거의 무색이어서 누출 여부를 알기 어렵습니다. 유압 오일용 붉은색 첨가제는 20 ml들이 병으로 판매됩니다. 한 병이면 유압 오일 15~22 L에 충분히 사용할 수 있습니다. Toro 공식 판매 대리점에서 부품 번호가 44-2500인 부품을 주문하십시오.
Important: Toro 프리미엄 합성 생분해성 유압 오일은 Toro에서 승인한 유일한 합성 생분해성 오일입니다. 이 유압 오일은 Toro 유압 시스템에 사용되는 엘라스토머와 호환이 가능하며, 다양한 온도 조건에 적합합니다. 이 유압 오일은 기존의 광유와도 호환이 가능하지만, 최고의 생분해성과 성능을 내기 위해서는 유압 시스템에서 기존 오일을 완전히 씻어내야 합니다. 이 오일은 Toro 지정 판매 대리점에서 19 L들이 통이나 208 L들이 드럼으로 구입하실 수 있습니다.
| 유지보수 서비스 간격 | 유지보수 절차 |
|---|---|
| 매번 사용하기 전 또는 매일 |
|
탱크는 출고 시 고품질 유압 오일로 채워져 있습니다.
| 유지보수 서비스 간격 | 유지보수 절차 |
|---|---|
| 매 800시간 |
|
| 매 1,000시간 |
|
다음과 같은 Toro 유압 필터를 사용하십시오.
|
이름 |
Toro 부품 번호 |
위치 |
|
반환 필터 |
94-2621 |
우측 프레임 채널 하부. |
|
충전 필터 |
75-1310 |
시트 플레이트 하부. |
|
Important: 지정된 유형이 아닌 필터를 사용할 경우 일부 구성 요소에 대한 보증이 무효가 됩니다. |
||
엔진을 시동하고 약 2분간 작동되도록 두어 시스템에서 공기를 방출합니다.
유압 오일 누출이 없는지 필터 및 필터 헤드 주변을 점검합니다.
Note: 유압 오일 누출 부위를 수리합니다.
엔진을 끄고 키를 뺍니다.
시트를 내립니다. 시트 내리기을 참조하십시오.
28.4 L. 유압 오일 규격를 참조하십시오
| 유지보수 서비스 간격 | 유지보수 절차 |
|---|---|
| 매 800시간 |
|
| 매 2,000시간 |
|
오일이 오염되었다면 시스템을 세척해야 하므로 현지 Toro 지정 판매 대리점에 문의하십시오. 오염된 오일은 깨끗한 오일에 비해 우윳빛이나 검게 보입니다.
드레인 팬 용량: 30L 이상
지정 유압 오일을 탱크에 채웁니다. 유압 오일 규격 및 유압 오일 용량을 참조하십시오.
Important: 지정된 유압 오일만 사용하십시오. 다른 유압 오일을 사용하면 시스템이 손상될 수 있습니다.
탱크에 계량봉 및 유압 탱크 마개를 끼웁니다.

엔진을 시동하고 모든 유압 제어 장치를 작동시켜 유압 오일이 시스템 구석구석까지 퍼지게 합니다.
유압 오일 누출을 점검하고 엔진을 끈 다음 키를 뺍니다.
모든 유압유 누출을 수리합니다.
후드를 닫고 래치를 잠급니다. 후드 닫기을 참조하십시오.
오일 레벨을 점검합니다. 유압 오일 레벨 점검을 참조하십시오.
Note: 필요하면 계량봉의 Full(가득 참) 표시까지 차도록 충분한 양의 유압 오일을 보충합니다. 유압 탱크를 과도하게 채우지 마십시오.
마모되거나 손상된 블레이드나 베드 나이프는 깨질 수 있으며, 블레이드 조각이 운전자나 주변에 있는 사람에게로 날아가 중상 또는 사망을 유발할 수 있습니다.
주기적으로 블레이드 및 베드 나이프가 지나치게 마모되거나 손상되지 않았는지 점검하십시오.
블레이드를 점검할 때에는 주의하십시오. 정비할 때에는 장갑을 착용하고 주의를 기울여야 합니다. 블레이드 및 베드 나이프를 교체하거나 이면 연마하는 작업만 하십시오. 절대 블레이드를 펴거나 용접하지 마십시오.
커팅 유닛이 여러 개인 장비에서는 커팅 유닛을 회전할 때 주의하십시오. 그렇게 하면 다른 커팅 유닛의 릴도 회전하게 됩니다.
릴이나 움직이는 다른 부품에 닿으면 부상을 입을 수 있습니다.
손가락, 손 및 옷이 릴이나 기타 움직이는 부품에 닿지 않게 하십시오.
엔진 작동 중에 절대로 릴을 손이나 발로 돌리려 하지 마십시오.
Note: 백래핑에 대한 추가 설명 및 절차는 Toro 연삭 릴 및 로터리 모어 설명서 양식 번호 80-300SL에서 확인할 수 있습니다.
백래핑 도중에 엔진 속도를 변경하면 릴이 멈출 수 있습니다.
백래핑 도중에는 엔진 속도를 변경하지 마십시오.
낮은 엔진 공회전 속도에서만 백랩하십시오.
Note: 백래핑 시에는 전방 유닛이 모두 함께 작동된 다음에 후방 유닛이 같이 작동됩니다.
트랙션 페달이 Neutral(중립) 위치이고 주차 브레이크가 걸렸는지 확인합니다.
엔진을 시동하여 저속으로 공회전시킵니다.
예초 속도 제한기 레버를 전방, MOW(예초) 위치로 돌립니다(그림 112).

PTO 스위치를 ENGAGE(체결) 위치로 이동합니다.
내림(예초)/올림 제어 레버를 앞으로 옮깁니다.
Note: 백래핑을 위해 설정한 릴은 후방으로 작동합니다.
긴 자루 브러시로 릴에 래핑 컴파운드를 바릅니다.
움직이는 커팅 유닛에 닿으면 부상을 당할 수 있습니다.
손잡이가 짧은 브러시는 사용하지 마십시오.
개인 상해를 방지하기 위해 작업을 진행하기 전에 커팅 유닛에서 떨어지십시오.
백래핑 중에 릴이 멈추거나 속도가 일정하지 않으면 릴이 안전화될 때까지 스로틀 속도를 증가합니다.
백래핑 도중에 커팅 유닛을 조정해야 한다면 다음 단계를 수행하십시오.
내림(예초)/올림 제어 레버를 뒤로 옮깁니다.
Note: 커팅 유닛을 정지하고, 올리지는 마십시오.
PTO 스위치를 DISENGAGE(해제) 위치로 이동합니다.
엔진을 끄고 키를 뺍니다.
커팅 유닛을 조정합니다.
2~7 단계를 반복합니다.
백래핑하려는 모든 커팅 유닛에 대해 6 단계를 반복합니다.
Important: 백래핑 후 백랩 스위치를 OFF(꺼짐) 위치로 되돌리지 않으면 커팅 유닛이 올라가지 않거나 제대로 작동하지 않게 됩니다.
엔진을 끄고 키를 뺍니다.
커팅 유닛에 묻은 모든 래핑 컴파운드를 닦아 냅니다.
필요에 따라 커팅 유닛의 릴-베드나이프 간격을 조정합니다.
백랩 레버를 F(예초) 위치로 돌립니다.

연마 작업 후에 베드나이프의 앞면을 줄로 다듬어 절단면을 좀 더 매끄럽게 하십시오.
Note: 이렇게 하면 절단면에 생길 수 있는 거친 부분이나 울퉁불퉁한 부분이 제거됩니다.
후드를 닫고 래치를 잠급니다. 후드 닫기을 참조하십시오.
물만 사용하거나 중성 세제를 사용하여 필요에 따라 장비를 세척하십시오. 장비를 세척할 때 천 조각을 사용할 수도 있습니다.
Important: 소금기가 있는 물이나 재생된 물을 사용하여 장비를 청소하지 마십시오.
Important: 압력 세척 장비를 사용하여 장비를 세척하지 마십시오. 압력 세척 장비는 전기 시스템을 손상시키거나 중요한 데칼이 느슨해지게 하거나 마찰 지점에서 꼭 필요한 그리스를 씻어낼 수 있습니다. 제어판, 엔진, 배터리 등의 근처에서는 물을 과도하게 사용하지 마십시오.
Important: 엔진 작동 중에 장비를 세척하지 마십시오. 엔진 작동 중에 장비를 세척하면 엔진 내부가 손상될 수 있습니다.
운전석을 떠나기 전에 다음을 이행하십시오:
장비를 평지에 주차합니다.
커팅 유닛을 체결 해제하고 내립니다.
주차 브레이크를 체결합니다.
엔진을 끄고 키를 뺍니다.
모든 움직임이 멈출 때까지 기다립니다.
장비가 식은 후에 장비를 조정, 정비, 청소 또는 보관하십시오.
온수기나 기타 기구 등 노출된 화염, 불꽃, 점화용 불씨 등이 있는 곳에는 장비나 연료통을 보관하지 마십시오.
평평한 곳에 장비를 주차시켜 커팅 유닛을 내리고 주차 브레이크를 걸고 엔진을 멈춘 후 키를 뺍니다.
트랙션 유닛, 커팅 유닛 및 엔진을 철저하게 청소합니다.
타이어 압력을 점검합니다. 타이어 공기압 점검 참조.
모든 조임부의 느슨함 여부를 점검하고 필요에 따라 조입니다.
모든 구리스 피팅과 피벗 지점에 그리스나 오일을 바릅니다. 과도한 윤활제는 닦아 냅니다.
긁히거나 벗겨지거나 녹슨 페인트칠 부분을 사포로 가볍게 문지른 다음 수정 페인트를 칠합니다. 금속 바디에 파인 곳이 있으면 수리합니다.
배터리와 케이블을 다음과 같이 정비합니다. 전기 시스템 안전성를 참조하십시오:
배터리 포스트에서 배터리 단자를 제거합니다.
와이어 브러시와 베이킹 소다 용액으로 배터리, 단자 및 포스트를 청소합니다.
부식 방지를 위해 Grafo 112X 스킨오버 그리스(Toro 부품 번호: 505-47) 또는 바셀린을 케이블 단자와 배터리 포스트에 바릅니다.
60일마다 24시간 동안 배터리를 서서히 충전하여 배터리의 납 황산화를 방지합니다.
오일 팬의 엔진 오일을 배출하고 드레인 플러그를 장착합니다.
오일 필터를 제거하여 폐기합니다. 새 오일 필터를 장착합니다.
엔진에 지정된 모터 오일을 채웁니다.
엔진을 시동하고 약 2분간 공회전시킵니다.
엔진을 끄고 키를 뺍니다.
신선하고 깨끗한 연료로 연료 탱크를 씻어냅니다.
모든 연료 시스템 피팅을 고정합니다.
에어 클리너 어셈블리를 철저하게 청소하고 정비합니다.
내후성 테이프를 사용하여 에어 클리너 흡입구와 배기구를 밀봉합니다.
부동액을 점검하고 필요하면 해당 지역에서 예상되는 최저 온도에 맞추어 물과 에틸렌 글리콜 부동액을 50대 50으로 섞은 용액을 첨가합니다.
장비를 30일 이상 보관하는 경우, 배터리를 빼내서 최대한 충전하십시오. 배터리를 선반이나 장비에 보관합니다. 케이블을 장비 안에 보관하게 될 때는 분리해 둡니다. 배터리를 차가운 공기 속에 보관하여 배터리의 전력이 빨리 방전되지 않게 하십시오. 배터리가 얼지 않도록 최대한 충전합니다. 최대한 충전된 배터리의 비중은 1.265~1.299입니다.