Întreţinere
Verificarea și curățarea greblei și a unității de tracțiune
După greblare, curățați bine mașina. Deoarece utilizați această mașină în principal în nisip, iar nisipul este extrem de abraziv, spălați nisipul după fiecare utilizare. În cazul în care curățați frecvent mașina (înainte ca nisipul să se poată aglomera), curățați-o cu un jet de apă cu furtunul cu duza îndepărtată. Un jet de înaltă presiune ar putea cauza pătrunderea nisipului în zonele de uzură, unde ar acționa ca un produs abraziv.
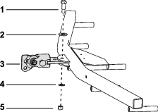
Note: Dacă adaptorul dispozitivului de atașare se blochează în adaptorul unității de tracțiune, introduceți un levier sau o șurubelniță în orificiul pentru levier decupla piesele (Figura 16).

Lubrifierea adaptorului dispozitivului de atașare
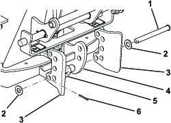
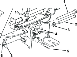
Dacă maneta de blocare de pe adaptorul dispozitivului de atașare nu pivotează liber și ușor, aplicați un strat ușor de lubrifiant pe zona prezentată în Figura 17.


















