평평한 곳에 장비를 주차합니다.
주차 브레이크를 체결합니다.
엔진을 끄고 키를 뺍니다.
배터리를 분리합니다. 사용 설명서를 참조하십시오.
화물칸을 덤프 위치로 올리고 받침대로 고정합니다.
이 절차를 수행하는 데 필요한 부품:
| 전방 장착 튜브 | 2 |
| 플랜지 헤드 볼트(5/16 x 3 인치) | 2 |
| 스페이서(5/8 x 1 인치) | 2 |
| 플랜지 너트(5/16 인치) | 4 |
| 캐리지 볼트(5/16 x 2 인치) | 2 |
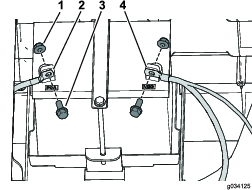
그림 3과 같이 플랜지 헤드 볼트(5/16 x 3 인치) 2개, 스페이서(5/8 x 1 인치) 2개, 플랜지 너트(5/16 인치) 4개, 및 캐리지 볼트(5/16 x 2 인치) 2개를 사용하여 전방 장착 튜브 2개를 느슨하게 설치합니다.

Important: 이 절차를 수행하기 전에 설치용 구멍이 이미 존재하는지 장비를 확인하십시오. 존재하지 않는다면 이 절차를 진행하십시오.
Note: 이 절차에서 제거된 모든 하드웨어를 보관하십시오.
연료 탱크를 탱크 트레이에 고정하는 플랜지 헤드 볼트를 제거합니다(그림 4).

홀드 다운을 고정하는 나사를 제거합니다(그림 4).
탱크에서 통기 튜브 및 연료 라인을 분리합니다(그림 4).
Note: 수거를 준비하고 탱크에서 연료 라인을 분리할 때 누출된 연료를 청소하십시오.
특정 환경에서 연료는 가연성이 극히 높으며 쉽게 폭발할 수 있습니다. 연료로 인한 화재나 폭발은 자신과 타인에게 화상을 입힐 수 있으며 재산상의 피해를 초래할 수도 있습니다.
엔진이 식으면 연료 탱크에서 연료를 배출합니다. 이 작업은 막히지 않은 공간의 실외에서 하십시오. 흘린 연료가 있으면 모두 닦아 내십시오.
휘발유를 취급할 때 절대 담배를 피워서는 안 되며, 노출된 화염이 있는 곳이나 불꽃으로 인해 휘발유 가스에 불이 붙을 수 있는 곳에서 멀리 떨어지십시오.
트레이에서 연료 탱크를 제거합니다.
탱크 트레이를 프레임에 고정하는 플랜지 헤드 볼트 2개를 풉니다(그림 5).

좌측 측면 패널을 하단 시트 어셈블리에 고정하는 나사 4개를 제거합니다(그림 6).

배터리에서 음극(-) 케이블을 분리한 다음 양극(+) 케이블을 분리합니다(그림 7).

배터리 트레이를 프레임에 고정하는 플랜지 헤드 볼트 2개를 풉니다(그림 8).

우측 측면 패널을 하단 시트 어셈블리에 고정하는 나사 4개를 제거합니다(그림 8).
그림 11에 표시된 치수를 사용하여 지지 브래킷의 구멍을 뚫습니다.
최고 상단 구멍을 뚫을 때, 외부 브래킷, 프레임 튜브, 방화벽을 모두 통과하도록 구멍을 뚫어야 합니다.
전동 장비의 프레임 우측에서 구멍을 뚫을 때 주의하십시오.
너무 깊이 구멍을 뚫으면 배터리 또는 기타 부품을 손상시킬 수 있습니다.

앞에서 제거한 나사 4개를 사용하여 우측 측면 패널을 고정합니다(그림 8).
앞에서 제거한 플랜지 헤드 볼트 2개를 사용하여 프레임에 배터리 트레이를 고정합니다(그림 8).
앞에서 제거한 볼트 2개 및 너트 2개를 사용하여 배터리 케이블을 고정하고 배터리 단자를 연결합니다(그림 7).
앞에서 제거한 나사 4개를 사용하여 좌측 측면 패널을 고정합니다(그림 6).
앞에서 제거한 플랜지 헤드 볼트 2개를 사용하여 프레임에 탱크 트레이를 고정합니다(그림 5).
연료 탱크를 탱크 트레이 내부에 놓습니다.
연료 탱크에 연료 라인 및 통기 튜브를 연결합니다(그림 4).
앞에서 제거한 나사를 사용하여 홀드 다운을 고정합니다(그림 4).
앞에서 제거한 플랜지 헤드 볼트를 사용하여 연료 탱크를 탱크 트레이에 고정합니다(그림 4).
연료 탱크를 채웁니다. 사용 설명서를 참조하십시오.
이 절차를 수행하는 데 필요한 부품:
| 후방 장착 튜브 | 2 |
| 튜브 장착 브래킷 | 1 |
| 플랜지 헤드 볼트(5/16 x 3 인치) | 2 |
| 플랜지 너트(5/16 인치) | 2 |
| 플랜지 헤드 볼트(3/8 x 1-3/4 인치) | 2 |
| 플랜지 헤드 볼트(3/8 x 3-1/2 인치) | 2 |
| 록너트(⅜ 인치) | 4 |
| 트림 씰 | 1 |
그림 12와 같이 플랜지 헤드 볼트(3/8 x 3-1/2 인치) 2개, 플랜지 헤드 볼트(3/8 x 1-3/4 인치) 2개, 록너트(3/8 인치) 4개를 사용하여 후방 장착 튜브 2개를 느슨하게 설치합니다.

그림 13과 같이 플랜지 헤드 볼트(5/16 x 3 인치) 2개 및 플랜지 너트(5/16 인치) 2개를 사용하여 후방 장착 튜브에 튜브 장착 브래킷을 설치합니다.
튜브 장착 브래킷 위에 트림 씰을 설치합니다(그림 13).

1 단계에서 설치한 패스너를 조입니다.
5/16 인치 패스너를 20~25 N·m 토크로 조입니다.
3/8 인치 패스너를 37~45 N·m 토크로 조입니다.
이 절차를 수행하는 데 필요한 부품:
| 캐노피 | 1 |
| 플랜지 헤드 볼트(¼ x 1-¾ 인치) | 4 |
| 밀폐 와셔 | 4 |
| 록너트(¼ 인치) | 4 |
Important: 거울 키트를 설치할 경우, 캐노피를 장착하기 전에 설치하십시오.
그림 15와 같이 플랜지 헤드 볼트(¼ x 1-¾ 인치) 4개, 밀폐 와셔 4개, 록너트(¼ 인치) 4개를 사용하여 전방 및 후방 장착 튜브에 캐노피를 고정하십시오.

이 절차를 수행하는 데 필요한 부품:
| 캐노피 지지 튜브 | 1 |
| 록너트(¼ 인치) | 6 |
| 밀폐 와셔 | 2 |
| 플랜지 헤드 볼트(¼ x 1-½ 인치) | 2 |
| 폼 패드 | 1 |
| 플랜지 헤드 볼트(¼ x 1-¼ 인치) | 4 |