Parcați maşina pe o suprafață uniformă.
Cuplați frâna de parcare.
Opriţi motorul şi scoateţi cheia.
Deconectați bateria; consultați Manualul operatorului.
Ridicați platforma de încărcare în poziția de descărcare și fixați-o cu tija de susținere.
Piese solicitate pentru această procedură:
| Tub de montare față | 2 |
| Șurub cu guler (5/16 x 3") | 2 |
| Distanțier (⅝ x 1") | 2 |
| Piuliţă cu guler (5/16") | 4 |
| Șurub de fixare (5/16 x 2") | 2 |
Montați fără a strânge cele 2 tuburi de montare față folosind 2 șuruburi cu guler (5/16 x 3"), 2 distanțiere (⅝ x 1"), 4 piulițe cu guler (5/16") și 2 șuruburi de fixare (5/16 x 2") așa cum se arată în Figura 3.

Important: Înainte de a efectua această procedură, verificați mașina pentru a vedea dacă sunt prezente orificiile pentru montare. În caz contrar, efectuați această procedură.
Note: Păstrați toate elementele de fixare pe care le îndepărtați în această procedură.
Îndepărtați șurubul cu guler care fixează rezervorul de combustibil în compartimentul acestuia (Figura 4).

Îndepărtați șuruburile elementului de fixare (Figura 4).
Deconectați tubul de aerisire și conducta de combustibil de la rezervor (Figura 4).
Note: Pregătiți-vă să captați și să curățați orice urmă de combustibil scurs atunci când deconectați conducta de combustibil de la rezervor.
În anumite condiții, combustibilul este extrem de inflamabil și foarte exploziv. Un incendiu sau o explozie cauzată de combustibil vă poate cauza arsuri dumneavoastră şi celor din jur și poate provoca pagube materiale.
Goliți combustibilul din rezervor când motorul este rece. Faceți acest lucru la exterior, într-un spațiu deschis. Ștergeți orice urme de combustibil vărsat.
Nu fumați niciodată când manipulați combustibil și stați departe de flăcări deschise sau de locuri în care o scânteie ar putea aprinde vaporii de combustibil.
Îndepărtați rezervorul de combustibil din compartimentul acestuia.
Îndepărtați cele 2 - șuruburi cu guler care fixează compartimentul rezervorului pe cadru (Figura 5).

Îndepărtați cele 4 șuruburi care fixează panoul lateral stânga pe ansamblul părții inferioare a scaunului (Figura 6).

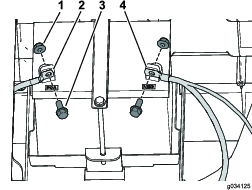
Îndepărtați de la baterie cablul negativ (–) și apoi cablul pozitiv (+) (Figura 7).

Îndepărtați cele 2 șuruburi cu guler care fixează compartiment baterie pe cadru (Figura 8).

Îndepărtați cele 4 șuruburi care fixează panoul lateral dreapta pe ansamblul părții inferioare a scaunului (Figura 8).
Important: Înainte de a efectua această procedură, verificați mașina pentru a vedea dacă sunt prezente orificiile pentru montare. În caz contrar, efectuați această procedură.
Note: Păstrați toate elementele de fixare pe care le îndepărtați în această procedură.
Îndepărtați cele 4 șuruburi cu autofiletare care fixează panoul lateral dreapta pe mașină (Figura 9).

Îndepărtați cele 2 șuruburi care fixează suportul încărcătorului pe compartimentul bateriei (Figura 10).

Îndepărtați cele 4 - șuruburi cu autofiletare care fixează panoul lateral stânga pe mașină (Figura 10).
Efectuați orificii în suport folosind măsurătorile prezentate în Figura 11.
Când efectuați cel mai înalt orificiu superior, aveți grijă să găuriți în totalitate suportul exterior, tubul cadrului și peretele ignifug.
Aveți grijă când efectuați orificiile în partea dreaptă a cadrului la o mașină electrică.
Dacă găuriți prea mult, puteți deteriora bateriile sau alte componente.

Fixați panoul lateral dreapta folosind cele 4 șuruburi îndepărtate anterior (Figura 8).
Fixați compartimentul bateriei pe cadru folosind cele 2 șuruburi cu guler îndepărtare anterior (Figura 8).
Fixați cablurile bateriei folosind cele 2 șuruburi și 2 piulițe îndepărtate anterior și conectați bornele bateriei (Figura 7).
Fixați panoul lateral stânga folosind cele 4 șuruburi îndepărtate anterior (Figura 6).
Fixați compartimentul rezervorului pe cadru folosind cele 2 șuruburi cu guler îndepărtate anterior (Figura 5).
Amplasați rezervorul de combustibil în compartimentul rezervorului.
Conectați conducta de combustibil și tubul de aerisire la rezervorul de combustibil (Figura 4).
Fixați elementul de fixare folosind șuruburile îndepărtate anterior (Figura 4).
Fixați rezervorul de combustibil pe compartimentul acestuia folosind șurubul cu guler îndepărtat anterior (Figura 4).
Umpleți rezervorul de combustibil; consultați Manualul operatorului.
Fixați panoul lateral stânga folosind cele 4 șuruburi cu autofiletare îndepărtate anterior (Figura 10).
Fixați suportul încărcătorului la compartimentul bateriei folosind cele 2 șuruburi îndepărtate anterior (Figura 10).
Fixați panoul lateral dreapta folosind cele 4 șuruburi cu autofiletare îndepărtate anterior (Figura 9).
Piese solicitate pentru această procedură:
| Tub de montare spate | 2 |
| Suport tub de montare | 1 |
| Șurub cu guler (5/16 x 3") | 2 |
| Piuliţă cu guler (5/16") | 2 |
| Șurub cu guler (⅜ x 1-¾") | 2 |
| Șurub cu guler (⅜ x 3-½") | 2 |
| Contrapiuliţă (⅜") | 4 |
| Garnitură de etanșare | 1 |
Montați fără a strânge cele 2 tuburi de montare spate folosind 2 șuruburi cu guler (⅜ x 3-½), 2 șuruburi cu guler (⅜ x 1-¾") și 4 contrapiulițe (⅜") așa cum se arată în Figura 12.

Montați suportul tubului de montare la tuburile de montare spate utilizând 2 șuruburi cu guler (5/16 x 3") și 2 piulițe cu guler (5/16") după cum se arată în Figura 13.
Montați garnitura de etanșare pe suportul tubului de montare (Figura 13).

Strângeți elementele de fixare montate la pasul 1.
Strângeţi elementele de fixare de 5/16" la un cuplu de 20 - 25 Nm.
Strângeţi elementele de fixare de ⅜" la un cuplu de 37 - 45 Nm.
Piese solicitate pentru această procedură:
| Suport lung al apărătorii | 2 |
| Şurub cu cap hexagonal și șaibă (5/16 x ¾") | 8 |
| Garnitură de etanșare | 2 |
Piese solicitate pentru această procedură:
| Apărătoare | 1 |
| Șurub cu guler (¼ x 1-¾") | 4 |
| Șaibă de etanșare | 4 |
| Contrapiuliţă (¼") | 4 |
Important: Dacă montați un set de oglinzi, montați-l înainte de a monta apărătoarea.
Fixați apărătoarea pe tuburile de montare față și spate folosind 4 șuruburi cu guler (¼ x 1-¾"), 4 șaibe de etanșare și 4 contrapiulițe (¼") așa cum se arată în Figura 15.

Piese solicitate pentru această procedură:
| Suport apărătoare | 1 |
| Șurub cu guler (¼ × 2-¼") | 2 |
| Contrapiuliţă (¼") | 2 |
| Șaibă de etanșare | 2 |
| Garnitură de etanșare | 1 |
| Distanțier (¼") | 2 |
Piese solicitate pentru această procedură:
| Tub de susținere a apărătorii | 1 |
| Contrapiuliţă (¼") | 6 |
| Șaibă de etanșare | 2 |
| Șurub cu guler (¼ × 1-½") | 2 |
| Placă spumă | 1 |
| Șurub cu guler (¼ × 1-¼") | 4 |
Aplicați placa din spumă pe tubul de susținere a apărătorii (Figura 18).

Fixați tubul de susținere a apărătorii pe suporții lungi ai apărătorii utilizând 4 șuruburi cu guler (¼ × 1-¼") și 4 contrapiulițe (¼"), așa cum se arată în Figura 19.

Folosind tubul de susținere a apărătorii ca șablon, efectuați 2 orificii (6 mm) în apărătoare.
Fixați tubul de susținere a apărătorii pe apărătoare utilizând 2 șuruburi cu guler (¼ × 1-½"), 2 șaibe de etanșare și 2 contrapiulițe (¼"), așa cum se arată în Figura 20.
