Important: Los pesos usados en este kit se venden por separado.
CALIFORNIA
Advertencia de la Propuesta 65
El uso de este producto puede provocar la exposición a sustancias químicas que el Estado de California considera causantes de cáncer, defectos congénitos u otros trastornos del sistema reproductor.
![]() |
Las calcomanías de seguridad e instrucciones están a la vista del operador y están ubicadas cerca de cualquier zona de peligro potencial. Sustituya cualquier calcomanía que esté dañada o que falte. |

Aparque la máquina en una superficie nivelada o mueva la máquina a un elevador de máquinas.
Ponga el freno de estacionamiento.
Apague el motor y retire la llave.
Espere a que se detengan todas las piezas en movimiento.
Calce las ruedas o eleve la máquina con un elevador de máquinas.
Piezas necesarias en este paso:
| Portapesos | 1 |
| Peso (se vende por separado) – 19.1 kg (42 libras) | 3 |
| Varilla de bloqueo de los pesos | 1 |
| Perno de cuello cuadrado (⅜" x 1") | 4 |
| Contratuerca (⅜") | 6 |
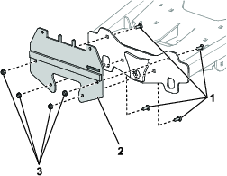
Monte el portapesos en la placa de montaje delantera de la máquina usando 4 pernos de cuello cuadrado (⅜" x 1") y 4 contratuercas (⅜"), como se muestra en la Figura 1.
Note: Oriente el portapesos de manera que la tira de goma quede orientada hacia fuera respecto a la máquina.

Cuelgue los pesos en el portapesos usando las ranuras, como se muestra en la Figura 2.

Coloque la varilla de bloqueo de los pesos debajo de las asas de los pesos (Figura 3).
Introduzca los extremos de la varilla de bloqueo de los pesos a través de los orificios del portapesos, y sujétela con 2 contratuercas (Figura 3).
Apriete las contratuercas hasta que los pesos estén firmes.
