Maintenance
Note: Determine the left and right sides of the machine from the normal operating position.
Maintenance Safety
-
Park machine on level ground, disengage drives, set parking brake, stop engine, and remove key. Wait for all moving parts to stop before leaving the operator’s position. Allow the machine to cool before servicing, adjusting, fueling, unclogging, cleaning, or storing.
Warning
The engine can become very hot. Touching a hot engine can cause severe burns.
Allow the engine to cool completely before service or making repairs around the engine area.
-
If you leave the key in the switch, someone could accidently start the engine and seriously injure you or other bystanders. Remove the key from the switch before you perform any maintenance.
-
Never allow untrained personnel to service machine.
-
Keep all guards, shields, switches, and all safety devices in place and in proper working condition. Frequently check for worn or deteriorating components and replace them with genuine Exmark parts when necessary.
Warning
Removal or modification of original equipment, parts and/or accessories may alter the warranty, controllability, and safety of the machine. Unauthorized modifications to the original equipment or failure to use original Exmark parts could lead to serious injury or death. Unauthorized changes to the machine, engine, fuel or venting system, may violate applicable safety standards such as: ANSI, OSHA and NFPA and/or government regulations such as EPA and CARB.
-
Keep your hands and feet away from moving parts or hot surfaces. If possible, Do Not make adjustments with the engine running.
Warning
Contact with moving parts or hot surfaces may cause personal injury.
Keep your fingers, hands, and clothing clear of rotating components and hot surfaces.
-
Keep all parts in good working condition and all hardware tightened.
Recommended Maintenance Schedule(s)
| Maintenance Service Interval | Maintenance Procedure |
|---|---|
| Before each use or daily |
|
| Every 25 hours |
|
| Every 50 hours |
|
| Yearly or before storage |
|
Periodic Maintenance
Check Blower Housing/Impeller
| Maintenance Service Interval | Maintenance Procedure |
|---|---|
| Before each use or daily |
|
-
Stop engine, wait for all moving parts to stop, and remove key. Engage parking brake.
-
Inspect for wear or damage daily. Replace or repair worn parts as needed.
Note: When mowing in areas with sandy soil, use low lift blades on the cutting deck and higher cutting heights to minimize wear on the blower components.
Check Door Cloth Mesh
| Maintenance Service Interval | Maintenance Procedure |
|---|---|
| Before each use or daily |
|
-
Stop engine, wait for all moving parts to stop, and remove key. Engage parking brake.
-
Inspect the door cloth mesh for wear, tears, or damage.
Warning
Under normal use the cloth mesh will deteriorate and wear. Objects could exit through worn cloth mesh at high speeds. Thrown objects can cause serious injury or kill you or bystanders.
Check cloth mesh frequently for tears and holes. Replace worn cloth mesh.
Check Exhaust Diverter
| Maintenance Service Interval | Maintenance Procedure |
|---|---|
| Before each use or daily |
|
Caution
The exhaust diverter is hot. Touching a hot exhaust diverter can cause severe burns.
Allow the exhaust diverter to cool completely before performing maintenance.
-
Stop engine, wait for all moving parts to stop, and remove key. Engage parking brake.
-
Inspect and remove debris from the exhaust diverter daily.
Lubricate Grease Fittings
| Maintenance Service Interval | Maintenance Procedure |
|---|---|
| Every 25 hours |
|
Note: See chart for service intervals.
-
Stop engine, wait for all moving parts to stop, and remove key. Engage parking brake.
-
Lubricate fittings with NLGI grade #2 multi-purpose gun grease.
Refer to the following chart for fitting locations and lubrication schedule.
Lubrication Chart Fitting Locations Initial Pumps Number of Places Service Interval 1. Idler Bushings 1–2 1 25 Hours 2. Door Handle 1–2 1 25 Hours 3. Lift Handle Pivot (11-Bushel Unit Only) 1–2 1 Yearly
Check Condition of Belt
| Maintenance Service Interval | Maintenance Procedure |
|---|---|
| Every 50 hours |
|
All Units
-
Stop engine, wait for all moving parts to stop, and remove key. Engage parking brake.
-
Inspect the belt for damage or wear. Replace belt with one of the following:
Deck Part No. 48 inch 1-653333 52 inch 1-653438 60 inch 103-0866 72 inch 103-0867
Adjustments
Adjusting the Blower Drive Belt Position
-
Read the operator’s manual for the UltraVac and mower before performing this adjustment. Make sure that you understand the controls, their locations their functions and safety requirements.
-
Ensure the blower, belt cover, tubes and hopper are in good condition, properly attached and latched.
-
Run the unit with the PTO and the blower engaged for two minutes.
-
Disengage the PTO, stop the engine and remove the key.
-
Remove the belt cover and check to make sure that the belt is riding near the center of the flat idler on the idler arm. If the belt is not riding near the center of the idler, remove the blower, and bend the idler arm slightly.
-
Reinstall the blower and belt cover and perform steps 3-5 again to verify belt position.
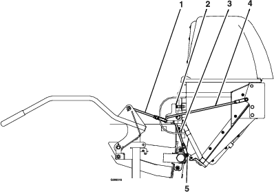
Adjusting the Door Linkage
7-Bushel Unit:
-
If the door does not close properly adjust the rods as shown in Figure 22.
-
Shorten the rod to increase over center force.
-
Lengthen the rod to reduce.
Adjust the rods on both sides so they are approximately equal.

-
-
If the left and right stops do not make contact with the door link when it is in the extended position:
Adjust the position of the stops (see Figure 22) so that the door link contacts them when the upper tube of the door frame is within 1/4 inch (6.35 mm) ± 1/8 (3.2 mm) from the lower lip of the hood.
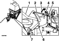
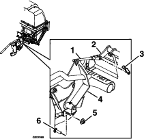
11-Bushel Unit:

-
Door closing: The closing of the door is controlled by the two hinge links and the two stop screws (see Figure 23). The stop screws should be adjusted so that both will be contacted when the contacting arm is straight up and down. With the stop screws adjusted, the length of the hinge links can be changed to provide complete closing of the door, and reasonable force on the handle to latch or unlatch the door. Lengthen the links to reduce the force. Shorten the links to increase the force. With the door closed, both links should be slightly tight to minimize rattling.
-
Door opening: After adjusting the hinge links for door closing, the handle link can be adjusted to obtain maximum door opening (see Figure 23). Lengthen the link to open the door farther. Shorten the link to open the door less. The maximum door opening is limited by the contacting arm hitting the stop. This stop is non adjustable, and prevents over opening damage from occurring to the linkage.
-
Latches: Once the open and closed positions have been set, the latches can be adjusted (see Figure 23). With the door closed, the latch link should be set so that the latch plate completely engages and contacts the latch rod welded to the door. The latch plates should not be tight against the latch rod. They should easily “wiggle”.
Cleaning
Cleaning and Storing Safety
-
Park machine on level ground, disengage drives, set parking brake, stop engine, and remove key. Wait for all moving parts to stop before leaving the operator’s position. Allow the machine to cool before servicing, adjusting, fueling, unclogging, cleaning, or storing.
-
Clean grass and debris from the cutting unit, muffler, drives, grass catcher, and engine compartment to prevent fires.
-
Allow the machine to cool before storing the machine in any enclosure. Do Not store the machine or fuel container, or refuel, where there is an open flame, spark, or pilot light such as on a water heater or other appliance.
Clean Muffler and Rear Frame Area
| Maintenance Service Interval | Maintenance Procedure |
|---|---|
| Before each use or daily |
|
Stop engine, wait for all moving parts to stop, and remove key. Engage parking brake.
Warning
Operating engine parts, especially the muffler, become extremely hot. Severe burns can occur on contact and debris, such as leaves, grass, brush, etc. can catch fire.
-
Allow engine parts, especially the muffler, to cool before touching.
-
Remove accumulated debris from muffler, exhaust diverter, and engine area.
Clean Rear Screen In Hopper
| Maintenance Service Interval | Maintenance Procedure |
|---|---|
| Before each use or daily |
|
-
Stop engine, wait for all moving parts to stop, and remove key. Engage parking brake.
-
Open door and remove clippings that are stuck to the screen.
Clean Blower
| Maintenance Service Interval | Maintenance Procedure |
|---|---|
| Yearly or before storage |
|
Grass build up may cause problems with the impeller when the unit is put back into operation.
-
Stop engine, wait for all moving parts to stop, and remove key. Engage parking brake.
-
Remove grass buildup from around the impeller before placing it in storage.






























