| Cadenza di manutenzione | Procedura di manutenzione |
|---|---|
| Prima di ogni utilizzo o quotidianamente |
|
Questo veicolo polifunzionale è stato progettato principalmente per trasportare persone e carichi di materiale su percorsi fuoristrada. L'utilizzo di questo prodotto per scopi diversi da quelli previsti potrebbe rivelarsi pericoloso per voi ed eventuali astanti.
Leggere attentamente queste informazioni per l’uso e la manutenzione del prodotto e per evitare infortuni e danni. Il proprietario è responsabile del corretto utilizzo del prodotto e della sicurezza.
Visitate il sito www.Toro.com per ricevere materiali di formazione sulla sicurezza e il funzionamento dei prodotti, avere informazioni sugli accessori, ottenere assistenza nella ricerca di un rivenditore o registrare il vostro prodotto.
Ogni volta che vi occorre assistenza, ricambi Toro originali o informazioni aggiuntive, contattate un Centro assistenza autorizzato o il Servizio clienti Toro e tenete pronto il numero di modello e il numero di serie del vostro prodotto. Il numero del modello e il numero di serie si trovano nella posizione illustrata nella Figura 1. Scrivere i numeri nell’apposito spazio.
Important: Con un dispositivo mobile è possibile effettuare la scansione del codice QR sull’adesivo che riporta il numero di serie (se presente) per accedere alla garanzia, ai ricambi e ad altre informazioni sui prodotti.

Per evidenziare le informazioni vengono utilizzate due parole. Importante indica informazioni di carattere meccanico di particolare importanza e Nota evidenzia informazioni generali di particolare rilevanza.
Il simbolo di avviso di sicurezza (Figura 2) compare sia in questo manuale sia sulla macchina per richiamare la vostra attenzione su importanti messaggi di sicurezza di cui dovrete seguire le indicazioni per evitare incidenti. Questo simbolo verrà accompagnato dalle parole Pericolo, Avvertenza o Attenzione.
Pericolo indica una situazione di pericolo imminente che, se non evitata, determina la morte o gravi infortuni.
Avvertenza indica una situazione di potenziale pericolo che, se non evitata, può determinare la morte o gravi infortuni.
Attenzione indica una situazione di potenziale pericolo che, se non evitata, potrebbe determinare infortuni lievi o moderati.

Questo prodotto è conforme a tutte le direttive europee pertinenti; vedere i dettagli nella Dichiarazione di Conformità (DICO) specifica del prodotto, fornita a parte.
Costituisce una trasgressione al Codice delle Risorse Pubbliche della California, Sezione 4442 o 4443, utilizzare o azionare questo motore su terreno forestale, sottobosco o prateria a meno che il motore non sia dotato di un parascintille, come definito nella Sezione 4442, mantenuto in effettivo stato di marcia, o a meno che il motore non sia realizzato, attrezzato o mantenuto per la prevenzione di incendi.
Il Manuale d'uso del motore allegato fornisce informazioni sull'Environmental Protection Agency (EPA) degli Stati Uniti e sul regolamento del Controllo delle Emissioni dello stato della California riguardo a sistemi di emissione, manutenzione e garanzia. I pezzi di ricambio possono essere ordinati tramite il produttore del motore.
CALIFORNIA
Avvertenza norma "Proposition 65"
Il gas di scarico di questo prodotto contiene sostanze chimiche note allo Stato della California come cancerogene e responsabili di difetti congeniti ed altri problemi riproduttivi.
I poli delle batterie, i morsetti e gli accessori attinenti contengono piombo e relativi composti, sostanze chimiche che nello Stato della California sono considerate cancerogene e causa di anomalie della riproduzione. Lavate le mani dopo aver maneggiato la batteria.
Questa macchina è stata progettata in conformità con i requisiti della norma SAE J2258 (novembre 2016).
Questo prodotto è in grado di procurare lesioni agli individui. Rispettate sempre tutte le norme di sicurezza per evitare gravi infortuni alla persona.
Leggete e comprendete il contenuto del presente Manuale dell'operatore prima di avviare la macchina. Accertatevi che chiunque utilizzi il prodotto sappia come farlo funzionare e comprenda le avvertenze.
Prestate la massima attenzione mentre utilizzate la macchina. Non intraprendete alcuna attività che vi possa distrarre; in caso contrario potreste causare infortuni o danni alla proprietà.
Non mettete le mani o i piedi vicino a componenti in movimento della macchina.
Non utilizzate la macchina senza che tutti gli schermi e gli altri dispositivi di protezione siano montati e correttamente funzionanti.
Tenete gli astanti e i bambini lontano dall’area di lavoro. Non permettete mai che bambini e ragazzi utilizzino la macchina.
Arrestate e spegnete la macchina e togliete la chiave prima di effettuare interventi di assistenza o rifornimento.
L'errato utilizzo o la manutenzione di questa macchina
può causare infortuni. Per ridurre il rischio di incidenti,
rispettate le seguenti norme di sicurezza e fate sempre attenzione
al simbolo di allarme (
), che indica: Attenzione, Avvertenza o Pericolo
– “norme di sicurezza”. Il mancato rispetto di queste
istruzioni può provocare infortuni o morte.
![]() |
Gli adesivi di sicurezza e di istruzione sono chiaramente visibili e sono affissi accanto a zone particolarmente pericolose. Sostituite eventuali adesivi se danneggiati o mancanti. |














Note: Stabilite i lati sinistro e destro della macchina dalla normale posizione di guida.
Parti necessarie per questa operazione:
| Volante | 1 |
| Coperchio del volante | 1 |
| Rondella (½") | 1 |
| Coperchietto antipolvere | 1 |
Togliete la protezione, se installata, dal mozzo del volante (Figura 3).
Togliete il dado di bloccaggio (½") dal piantone dello sterzo (Figura 3).
Fate scorrere volante, coperchietto antipolvere e rondella (½") sull'albero dello sterzo (Figura 3).
Note: Con le ruote anteriori diritte, orientate il volante in modo che la razza più piccola sul volante sia verticale.
Fissate il volante all'albero con il controdado (½") e serratelo tra 18 e 30 N∙m.
Montate la protezione sul volante (Figura 3).

Controllate il livello dell'olio motore prima e dopo l’avvio iniziale del motore; fate riferimento a Controllo del livello dell'olio motore.
Controllate il livello del liquido dei freni prima dell’avvio iniziale del motore; fate riferimento a Controllo del livello del fluido dei freni.
Controllate il livello del liquido del transaxle prima dell’avvio iniziale del motore; fate riferimento a Controllo del livello del fluido nel transaxle.
Controllate la pressione dell'aria degli pneumatici; fate riferimento a Controllo della pressione degli pneumatici.
Per garantire prestazioni ottimali dell'impianto frenante, brunite (rodate) i freni prima dell'uso.
Portate la macchina a pieno regime, applicate i freni per fermare rapidamente la macchina senza bloccare gli pneumatici.
Ripetete questa procedura 10 volte, attendendo 1 minuto tra le fermate, per evitare di surriscaldare i freni.
Important: Questa procedura è più efficace se la macchina ha un carico di 227 kg.
Parti necessarie per questa operazione:
| Manuale dell'operatore | 1 |
| Manuale d'uso del motore | 1 |
| Scheda di registrazione | 1 |
| Modulo di controllo preconsegna | 1 |
| Certificato di qualità | 1 |
| Chiave | 2 |
Read the Operator's Manual and the engine owner's manual.
Compilate la scheda di registrazione.
Compilate il Modulo di controllo preconsegna.
Controllate il Certificato di qualità


Familiarizzate con tutti i comandi prima di avviare il motore e utilizzare la macchina.

Utilizzate il pedale dell'acceleratore (Figura 6) per variare la velocità di trazione della macchina. Premendo il pedale dell'acceleratore avviate il motore. Premendo ulteriormente il pedale aumenterete la velocità di trazione. Il rilascio del pedale consente di rallentare la macchina e di arrestare il motore.
Note: La velocità di avanzamento massima è di 26 km/h.
Utilizzate il pedale del freno per arrestare o rallentare la macchina (Figura 6).
L'utilizzo della macchina con i freni usurati o regolati male può comportare lesioni alle persone.
Se la corsa del pedale del freno si trova entro 25 mm dalla pedana della macchina, regolate o riparate i freni.
L'interruttore a chiave è situato nell'angolo inferiore destro del cruscotto (Figura 6).
L'interruttore a chiave prevede 3 posizioni: SPEGNIMENTO, ACCENSIONE e AVVIAMENTO.
Esistono 2 modalità per avviare la macchina; fate riferimento a Avviamento del motore.
La leva del freno di stazionamento è situata sul quadro di comando (Figura 6).
Ogni volta che arrestate il motore, inserite il freno di stazionamento per evitare il movimento accidentale della macchina. Se la macchina è parcheggiata su una pendenza ripida, assicuratevi di inserire il freno di stazionamento.
Per inserire il freno di stazionamento, tirate la relativa leva verso di voi (Figura 7).

Per disinserire il freno di stazionamento, spingete il pulsante sopra la leva del freno di stazionamento, tirate la leva del freno di stazionamento verso di voi per rilasciare la pressione e poi spingete la leva del freno di stazionamento in avanti (Figura 8).

Il comando dello starter è situato sul quadro di comando. Utilizzate lo starter per l'avvio del motore a freddo tirando il relativo comando verso l'esterno. Quando il motore si avvia, regolate lo starter in modo da mantenere un regime regolare. Quando il motore si riscalda, spingete il comando dello starter in posizione di SPEGNIMENTO.
La leva del cambio presenta 3 posizioni sul relativo indicatore: MARCIA AVANTI, RETROMARCIA e FOLLE (Figura 9).
Note: Il motore può essere avviato e funzionare in una qualsiasi di queste 3 posizioni.
Dalla posizione di FOLLE, potete spostare la leva del cambio a sinistra in posizione di MARCIA AVANTI o a destra in posizione di RETROMARCIA (Figura 9).
Important: Prima di cambiare marcia fermate sempre la macchina.

L'interruttore dell'avvisatore acustico è situato sul quadro di comando (Figura 6). Premete l'interruttore per attivare l'avvisatore acustico.
Utilizzate l'interruttore delle luci (Figura 6) per accendere i fari. Spingete in alto l'interruttore delle luci per accendere i fari. Spingete in basso l'interruttore delle luci per spegnere i fari.
Il contaore si trova sulla destra dell'interruttore delle luci (Figura 6). Utilizzate il contaore per determinare il numero totale di ore del motore. Il contaore inizia a funzionare girando la chiave di accensione in posizione di ACCENSIONE, in posizione di AVVIAMENTO o se il motore è in funzione.
Note: Quando la macchina è in funzione, il contaore lampeggia continuamente, registrando l'utilizzo.
La presa di alimentazione USB si trova sulla sinistra della leva del freno di stazionamento (Figura 6). La presa di alimentazione viene utilizzata per alimentare accessori elettrici.
Important: Inserite il tappo di gomma nel punto di alimentazione USB quando non lo utilizzate per prevenire danni a suo carico.
L'indicatore di livello carburante (Figura 10) si trova sul serbatoio carburante nel tappo di riempimento posto sul lato sinistro della macchina. Questo strumento indica la quantità di carburante presente nel serbatoio.

Le maniglie del passeggero sono situate all'esterno di ciascun sedile (Figura 11).

Note: Specifiche e disegno sono soggetti a variazione senza preavviso.
| Peso di base | 397 kg |
| Capacità nominale (su terreno piano) | 544 kg totali, incluso un peso di 90,7 kg dell'operatore e di 90,7 kg del passeggero, carico, accessori e attrezzi |
| Peso lordo del veicolo (GVW) – su terreno pianeggiante | 941 kg totali, compresi tutti i pesi sopra elencati |
| Capacità di carico massima (su terreno pianeggiante) | 363 kg totali, inclusi gli accessori montati posteriormente |
| Capacità massima supporto posteriore per accessori del pianale | 45 kg totali |
| Capacità di traino | Peso del timone: 91 kg |
| Peso lordo del rimorchio (GTW): 680 kg | |
| Larghezza totale | 119 cm |
| Lunghezza totale | 302 cm |
| Altezza totale | 127,5 cm |
| Distanza da terra | 21,6 cm nella parte anteriore, senza carico né operatore |
| 14 cm nella parte posteriore, senza carico od operatore | |
| Interasse | 220 cm |
| Carreggiata (da linea centrale a linea centrale) | Anteriore: 119 cm |
| Posteriore: 119 cm | |
| Lunghezza del cassone | Interna: 102 cm |
| Esterna: 114,3 cm | |
| Larghezza del cassone | All'interno: 98 cm |
| All’esterno dei parafanghi stampati: 107,3 cm | |
| Altezza del cassone | 28 cm interna |
| Regime del motore | Minimo inferiore: 1.250–1.350 giri/min |
| Minimo superiore: 3.650–3.750 giri/min |
È disponibile una gamma di attrezzi ed accessori approvati da Toro per l'impiego con la macchina, per ottimizzare ed ampliare le sue applicazioni. Richiedete la lista degli attrezzi e accessori approvati a un Centro assistenza o a un distributore Toro autorizzati, oppure visitate www.Toro.com.
Per garantire prestazioni ottimali e mantenere sempre la macchina in conformità con le norme di sicurezza, utilizzate esclusivamente ricambi e accessori originali Toro. L'utilizzo di parti di ricambio e accessori di altri produttori può essere pericoloso e rendere nulla la garanzia.
Note: Stabilite i lati sinistro e destro della macchina dalla normale posizione di guida.
Non lasciate mai che bambini o persone non addestrate o fisicamente inabili utilizzino o effettuino interventi di manutenzione sulla macchina. Le normative locali possono imporre limiti all'età dell'operatore. Il proprietario è responsabile della formazione di tutti gli operatori e i meccanici.
Acquisite familiarità con il funzionamento sicuro dell'attrezzatura, dei comandi dell'operatore e dei segnali di sicurezza.
Spegnete la macchina, togliete la chiave e attendete che tutte le parti in movimento si arrestino prima di abbandonare la posizione dell'operatore. Lasciate raffreddare la macchina prima di eseguire interventi di riparazione, manutenzione, pulizia o di rimessarla.
Imparate come arrestare e spegnere rapidamente la macchina.
Assicuratevi che il numero di occupanti (voi e il/i passeggero/i) non superi il numero di maniglie presenti sulla macchina.
Controllate che tutti i dispositivi di sicurezza e gli adesivi siano al loro posto. Riparate o sostituite tutti i dispositivi di sicurezza illeggibili o mancanti. Non azionate la macchina se non sono presenti e funzionanti.
Prestate estrema cautela nel maneggiare il carburante. È infiammabile e i suoi vapori sono esplosivi.
Spegnete sigarette, sigari, pipa e altre fonti di accensione.
Utilizzate soltanto taniche per carburanti approvate.
Non rimuovete il tappo del carburante né rabboccate il serbatoio del carburante mentre il motore è in funzione o è caldo.
Non dedicatevi a operazioni di aggiunta o di rimozione di carburante in spazi chiusi.
Non rimessate la macchina o la tanica del carburante in luoghi in cui siano presenti fiamme libere, scintille o spie, come quelle di uno scaldabagno o di altri apparecchi.
Se del carburante dovesse fuoriuscire, non tentate di avviare il motore, evitate di creare fonti di innesco fino a quando i vapori di carburante non saranno evaporati.
| Cadenza di manutenzione | Procedura di manutenzione |
|---|---|
| Prima di ogni utilizzo o quotidianamente |
|
Ogni giorno, prima di avviare la macchina, effettuate le procedure Ogni utilizzo/Giornaliere elencate in .
| Cadenza di manutenzione | Procedura di manutenzione |
|---|---|
| Prima di ogni utilizzo o quotidianamente |
|
Specifiche della pressione dell'aria negli pneumatici anteriori e posteriori: da 1,65 a 2,07 bar.
Important: Non superate la pressione dell'aria massima riportata sulle pareti laterali degli pneumatici.
Note: La pressione dell'aria necessaria è determinata dal carico utile che si intende trasportare.
Controllare la pressione d'aria degli pneumatici.
Utilizzate una pressione minore dell'aria negli pneumatici per carichi utili più leggeri, per ridurre la compattazione del suolo, regolarizzare la corsa e ridurre al minimo il segno degli pneumatici a terra.
Utilizzate una pressione maggiore dell'aria negli pneumatici per trasportare carichi utili più elevati a velocità superiori.
Se necessario, regolate la pressione dell'aria negli pneumatici aggiungendo o togliendo aria negli pneumatici.

| Tipo | Benzina senza piombo |
| Numero di ottano minimo | 87 (USA) o 91 (ottano ricerca; al di fuori degli USA) |
| Etanolo | Non maggiore del 10% in volume |
| Metanolo | Spenta |
| MTBE (metil-t-butil etere) | Non maggiore del 15% in volume |
| Olio | Non aggiungete al carburante |
Utilizzate solo carburante pulito, fresco (non più vecchio di 30 giorni), proveniente da una fonte affidabile.
Important: Per ridurre i problemi di avviamento, aggiungete stabilizzatore/additivo del carburante al carburante fresco come indicato dal produttore dello stabilizzatore/additivo del carburante.
Fate riferimento al manuale d’uso del vostro motore per ulteriori informazioni.
La capacità del serbatoio del carburante è di circa 19 litri.
Parcheggiate la macchina su terreno pianeggiante.
Spostate la trasmissione in FOLLE.
Inserite il freno di stazionamento.
Spegnete la macchina e togliete la chiave.
Pulite intorno al tappo del serbatoio del carburante (Figura 13).

Rimuovete il tappo del serbatoio del carburante.
Riempite il serbatoio sino a circa 25 mm dall’estremità superiore dello stesso (parte inferiore del collo del bocchettone).
Note: Questo spazio permette l'espansione del carburante. Non riempite troppo il serbatoio carburante.
Montate saldamente il tappo del serbatoio del carburante.
Tergete il carburante eventualmente versato.
| Cadenza di manutenzione | Procedura di manutenzione |
|---|---|
| Dopo le prime 100 ore |
|
Seguite le seguenti linee guida per ottenere prestazioni ottimali dalla macchina.
Assicuratevi che i freni siano rodati; fate riferimento a Brunitura dei freni.
Controllate regolarmente il livello dell'olio motore e del fluido. Prestate attenzione ad eventuali segnali di surriscaldamento della macchina o dei suoi componenti.
Dopo avere avviato il motore a freddo, lasciatelo riscaldare per circa 15 secondi prima di utilizzare la macchina.
Note: Attendete più tempo per il riscaldamento del motore in condizioni di temperature basse.
Variate la velocità della macchina durante il funzionamento. Evitate avvii e arresti rapidi.
Un olio di rodaggio per il motore non è necessario. L'olio originale del motore è dello stesso tipo di quello indicato per i normali cambi dell'olio.
Vedere per eventuali controlli speciali a distanza di poche ore.
Controllate il posizionamento della sospensione anteriore e all'occorrenza regolatelo; fate riferimento a Regolazione dell’allineamento delle ruote anteriori.
Il proprietario/operatore può impedire ed è responsabile di incidenti che potrebbero causare infortuni alle persone o danni alla proprietà.
I passeggeri devono sedere unicamente nei posti designati. Non trasportate passeggeri nel pianale. Tenete gli astanti e i bambini e lontano dall’area di lavoro.
Indossate abbigliamento consono, comprendente occhiali di protezione, pantaloni lunghi, scarpe robuste e antiscivolo e protezioni per l'udito. Legate i capelli lunghi e non indossate abiti o gioielli larghi o pendenti.
Prestate la massima attenzione mentre utilizzate la macchina. Non intraprendete alcuna attività che vi possa distrarre; in caso contrario potreste causare infortuni o danni alla proprietà.
Non azionate la macchina se siete malati, stanchi o sotto l'influenza di alcool o farmaci.
Utilizzate la macchina solo all'aperto o in un'area ben ventilata.
Non superate il peso lordo massimo del veicolo (GVW).
Prestate particolare attenzione quando azionate la macchina, frenate o sterzate con un carico pesante nel pianale di carico.
Il trasporto di carichi fuori misura nel pianale riduce la stabilità della macchina. Non superate la capacità di trasporto del pianale.
Sterzata, frenata e stabilità della macchina possono subire conseguenze negative quando si trasporta un carico in cui il peso del materiale non possa essere fissato alla macchina. Quando trasportate materiale che non possa essere fissato alla macchina, prestate attenzione durante le sterzate o le frenate.
Riducete il carico e la velocità di trasferimento della macchina durante l'utilizzo su terreno accidentato o irregolare, e in prossimità di cordoli, buche e altre variazioni improvvise del terreno. I carichi potrebbero spostarsi, rendendo instabile la macchina.
Prima di avviare la macchina, assicuratevi che la trasmissione sia in posizione di folle, che il freno di stazionamento sia inserito e che vi troviate nella posizione operativa.
Voi e il passeggero dovete rimanere seduti ogniqualvolta la macchina è in movimento. Tenete le mani sul volante; il passeggero è tenuto a utilizzare le apposite maniglie. Tenete sempre le braccia e le gambe all'interno della carrozzeria della macchina.
Utilizzate la macchina solo quando la visibilità è buona. Prestate attenzione a buche, solchi, dossi, rocce o altri oggetti nascosti. Il terreno accidentato può ribaltare la macchina. L'erba alta può nascondere gli ostacoli. Prestate attenzione quando vi avvicinate ad angoli ciechi, cespugli, alberi o altri oggetti che possano ostacolare la vostra visuale.
Non utilizzate la macchina nelle adiacenze di scarpate, fossati o terrapieni. La macchina potrebbe ribaltarsi improvvisamente nel caso in cui una ruota ne superi il bordo o se il bordo dovesse cedere.
Prestate sempre attenzione ad evitare basse sporgenze come rami di alberi, stipiti di porte, passaggi sopraelevati ecc.
Prima di invertire la marcia, guardate indietro e in basso, assicurandovi che il percorso sia libero.
Quando utilizzate la macchina su strade pubbliche, attenetevi a tutte le norme del traffico e utilizzate gli accessori aggiuntivi eventualmente richiesti per legge, come luci, indicatori di direzione, segnali di veicolo lento (SMW) e altri, come applicabile.
Se la macchina dovesse vibrare in modo anomalo, arrestate e spegnete immediatamente la macchina, attendete che ogni movimento si interrompa e ispezionate per individuare eventuali danni. Riparate tutti i danni alla macchina prima di rimetterla in funzione.
Il tempo di arresto della macchina su superfici bagnate può essere maggiore rispetto a quello necessario su superfici asciutte. Per far asciugare i freni bagnati, guidate lentamente su una superficie pianeggiante esercitando una leggera pressione sul pedale del freno.
Una guida ad alta velocità seguita da una frenata brusca può causare un blocco delle ruote posteriori, con la conseguente perdita di controllo sulla macchina.
Non toccate il motore, la trasmissione, la marmitta o il collettore della marmitta quando il motore è in funzione o poco dopo averlo spento, in quanto queste superfici possono scottare ed ustionarvi.
Non lasciate incustodita una macchina in moto.
Prima di abbandonare la posizione di guida, seguite le seguenti istruzioni:
Parcheggiate la macchina su terreno pianeggiante.
Spostate la trasmissione in FOLLE.
Inserite il freno di stazionamento.
Spegnete la macchina e togliete la chiave.
Attendete che tutte le parti in movimento si arrestino.
Non utilizzate la macchina se c'è rischio di fulmini.
Usate soltanto accessori e attrezzi approvati da The Toro® Company.
Non superate il peso lordo del veicolo (GVW). Dovete tenere conto di voi stessi, dei passeggeri e del carico sul pianale che si sommano per contribuire al peso lordo complessivo della macchina.
I passeggeri devono sedere unicamente nei posti designati. Non consentite ai passeggeri di sedere nel pianale.
Voi e i passeggeri dovete rimanere seduti ogniqualvolta la macchina è in movimento.
Una lunghezza superiore della macchina determina un raggio di sterzata maggiore, quindi ricordate di lasciare uno spazio maggiore per le manovre.
Note: Una protezione antiribaltamento (ROPS) a 2 montanti è disponibile per questa macchina come accessorio. Utilizzate un ROPS se lavorate in prossimità di scarpate, zone d'acqua, terreni accidentati o su pendenze che potrebbero causare il ribaltamento. Per maggiori informazioni rivolgetevi a un distributore Toro autorizzato di zona.
Le pendenze sono la causa principale di incidenti dovuti a perdita di controllo e ribaltamenti, che possono provocare gravi infortuni o la morte.
Analizzate il sito per valutare su quali pendenze è sicuro utilizzare la macchina e decidete le vostre personali procedure e regole per l’uso su tali pendenze. Basatevi sempre su buon senso e giudizio quando effettuate questa ricognizione.
Se non vi sentite a vostro agio nell'utilizzo della macchina in pendenza, non utilizzatela.
Mantenete tutti i movimenti in pendenza lenti e graduali. Non cambiate bruscamente la velocità o la direzione della macchina.
Evitate di utilizzare la macchina su terreno bagnato. Gli pneumatici possono perdere trazione. Può verificarsi un ribaltamento prima che gli pneumatici perdano trazione.
Sui pendii, procedete dritti verso l’alto o verso il basso.
Se durante la salita di un pendio iniziate a perdere velocità, azionate i freni e invertite lentamente la marcia, scendendo dal pendio in linea retta.
Le manovre di svolta durante la salita o la discesa su un pendio possono essere pericolose. Qualora dobbiate svoltare su un pendio, procedete lentamente e con estrema cautela.
Sui pendii, i carichi pesanti influiscono sulla stabilità. Riducete il peso del carico e la velocità di trasferimento durante l'utilizzo del veicolo su un pendio oppure qualora il carico presenti un alto baricentro. Fissate il carico al pianale della macchina per evitarne lo spostamento. Prestate ulteriore attenzione quando trasportate carichi che si muovono con facilità (come liquidi, pietrame, sabbia, ecc.).
Evitate di avviare, arrestare o sterzare con la macchina in pendenza, soprattutto in presenza di un carico. L'arresto mentre si scende da un pendio richiede più tempo dell'arresto in pianura. Se la macchina deve essere arrestata, evitate improvvise variazioni di velocità che potrebbero causarne il ribaltamento o il rotolamento. Non agite bruscamente sui freni se scivolate all’indietro per evitare che la macchina si capovolga.
Non superate il peso lordo del veicolo (GVW) durante l’utilizzo con un carico nel pianale e/o trainando un rimorchio; fate riferimento a Specifiche.
Distribuite il carico in modo uniforme per migliorare la stabilità e il controllo della macchina.
Prima di scaricare, accertatevi che non vi sia nessuno dietro la macchina.
Non scaricate mai un pianale carico mentre la macchina si trova in posizione obliqua su un pendio. La variazione della distribuzione del peso può causare il capovolgimento della macchina.
Il pianale sollevato potrebbe cadere e causare lesioni alle persone sottostanti.
Utilizzate sempre l'asta di supporto per tenere sollevato il pianale prima di lavorarvi sotto.
Rimuovete il carico contenuto nel pianale prima di sollevarlo.
Guidare la macchina con il pianale sollevato potrebbe causare il ribaltamento o far oscillare più facilmente la macchina. Se la macchina viene utilizzata con il pianale sollevato, la struttura del pianale potrebbe riportare danni.
Utilizzate la macchina quando il pianale è abbassato.
Abbassate il pianale dopo averlo svuotato.
Se, quando sganciate i fermi, il carico è concentrato vicino alla parte posteriore del pianale, questo potrebbe inaspettatamente aprirsi e rovesciarsi ferendo voi o chi si trova nelle vicinanze.
Posizionate il carico quanto più possibile al centro del pianale.
Quando sganciate i fermi tenete giù il pianale e accertatevi che nessuno vi sia chinato sopra o si trovi dietro di esso.
Rimuovete qualsiasi carico dal pianale prima di sollevarlo per eseguire interventi di manutenzione alla macchina.
Il peso del pianale può essere notevole. Le mani o altre parti del corpo possono rimanere schiacciate.
Tenete mani e altre parti del corpo a distanza quando abbassate il pianale.
Accertatevi che il pianale sia abbassato e fissato.
Utilizzando entrambe le mani, sollevate la sponda posteriore utilizzando il bordo vicino alla parte superiore della sponda posteriore (Figura 16).
Abbassate la sponda posteriore in modo che sia a livello con la parte inferiore del pianale (Figura 16).

Se avete scaricato rinfuse come sabbia, pietre per la costruzione di giardini o segatura dal pianale della macchina, parte di tale materiale potrebbe essere penetrato nell'area delle cerniere della sponda posteriore. Effettuate i seguenti passaggi prima di chiudere la sponda posteriore.
Rimuovete la maggiore parte del materiale dall'area delle cerniere con le mani.
Ruotate la sponda posteriore in posizione di circa 45° (Figura 17).

Agitate con un movimento rapido per ruotare la sponda posteriore avanti e indietro più volte (Figura 17).
Note: L'azione consente di rimuovere il materiale dall'area delle cerniere.
Abbassate la sponda posteriore e controllare l'eventuale materiale rimasto nell'area delle cerniere.
Ripetete le fasi da 1 a 4 fino alla rimozione del materiale dell'area delle cerniere.
Ruotate la sponda posteriore verso l’alto e sollevatela inserendola nelle tacche nel pianale.
Usate il supporto posteriore per accessori del pianale per fissare gli accessori alla parte posteriore della macchina.
Capacità: 45 kg
Allentate la maniglia a T ruotandola in senso orario (Figura 18).

Inserite l'accessorio nel ricevitore in modo che i fori siano allineati (Figura 18).
Fissate l'accessorio assemblato al tubo del ricevitore con il perno con testa e la coppiglia in dotazione con l'accessorio
Serrate la maniglia a T ruotandola in senso antiorario (Figura 19).

Seguite le linee guida riportate sotto per caricare il pianale e azionare la macchina.
Rispettate la capacità di carico della macchina e limitate il peso del carico da trasportare nel pianale come descritto in Specifiche e sull'etichetta della macchina che riporta il peso lordo del veicolo.
Note: Il carico nominale si riferisce esclusivamente al funzionamento della macchina su superfici piane.
Quando azionate la macchina su pendenze e terreno accidentato, riducete il peso del carico trasportato nel pianale.
Riducete il peso del carico trasportato in presenza di materiali lunghi (con baricentro elevato) come pile di mattoni, legname per la costruzione di giardini o sacchi di fertilizzante. Distribuite il carico mantenendolo il più basso possibile e assicuratevi che non riduca la visibilità posteriore mentre la macchina è in funzione.
Mantenete i carichi centrati caricando il pianale come segue:
Sistemate uniformemente il peso nel pianale da un lato all'altro.
Important: Le probabilità di ribaltamento aumentano se si carica il pianale da un solo lato.
Distribuite uniformemente il peso nel pianale dalla parte anteriore a quella posteriore.
Important: Se si posiziona il carico dietro l'assale posteriore riducendo la trazione sugli pneumatici anteriori può accadere di perdere il controllo dello sterzo o che la macchina si ribalti.
Prestate ulteriore cautela durante il trasporto di carichi di grandi dimensioni nel pianale, in particolare quando non è possibile centrare il peso del carico sovradimensionato sul pianale.
Se possibile, fissate il carico bloccandolo nel pianale in modo che non si sposti.
Quando trasportate liquidi, prestate particolare attenzione, se procedete in salita o in discesa, a bruschi cambiamenti di velocità o arresti e alle superfici sconnesse.
La capacità del pianale è di 0,28 m3. La quantità (volume) di materiale che potete collocare nel pianale senza superare il carico nominale della macchina può variare notevolmente in funzione della densità del materiale.
Per i limiti dei volumi di carico relativi a diversi materiali fate riferimento alla tabella riportata di seguito.
| Materiale | Densità | Capacità massima del pianale(su terreno pianeggiante) |
| Ghiaia asciutta | 1.522 kg/m3 | Pieno |
| Ghiaia bagnata | 1.922 kg/m3 | 3/4 pieno |
| Sabbia asciutta | 1.442 kg/m3 | Pieno |
| Sabbia bagnata | 1.922 kg/m3 | 3/4 pieno |
| Legna | 721 kg/m3 | Pieno |
| Corteccia | <721 kg/m3 | Pieno |
| Terra, costipata | 1.602 kg/m3 | 3/4 pieno (circa) |
Sedetevi sul sedile dell'operatore, inserite la chiave nel relativo interruttore e giratela in senso orario, in posizione ACCENSIONE o AVVIAMENTO.
Esistono 2 modalità per avviare la macchina:
Avvio con pedale – spostate l'interruttore a chiave in posizione ACCENSIONE} e premete sul pedale dell'acceleratore.
Note: Quando togliete il piede dal pedale dell'acceleratore, il motore si spegne.
Avvio con chiave: spostate l'interruttore a chiave in posizione AVVIAMENTO e il motore rimarrà acceso fino a quando la chiave non viene girata in posizione SPEGNIMENTO.
Note: Quando utilizzate l’avviamento con la chiave, potete inserire il freno di stazionamento e lavorare lontano dalla macchina sinché il motore è in funzione e la batteria mantiene la carica.
Note: Se girate la chiave in posizione AVVIAMENTO, il motore gira fino ad avviarsi. Se il motore gira per oltre 10 secondi, ritornate alla posizione di SPEGNIMENTO e individuate il problema (ad es. i comandi dello starter devono essere inseriti, verificate il filtro dell'aria per escludere ostruzioni, assicuratevi che il serbatoio del carburante sia pieno, la candela è usurata, ecc.) prima di avviare nuovamente la macchina.
Note: Se dotato di allarme di riserva opzionale e se spostate il selettore di velocità in posizione RETROMARCIA quando l'interruttore a chiave è in posizione ACCENSIONE o AVVIAMENTO, viene attivato il cicalino per avvertire l'operatore che la macchina è in retromarcia.
Spostate il selettore di velocità nella direzione di marcia desiderata per la macchina.
Disinserite il freno di stazionamento.
Premete lentamente il pedale dell'acceleratore.
Note: Se il motore è freddo, premete e tenete premuto il pedale dell'acceleratore a metà corsa circa e tirate fuori la manopola dello starter, in posizione ACCENSIONE. Quando il motore si sarà riscaldato, riportate la manopola dello starter in posizione SPEGNIMENTO.
Important: Quando arrestate la macchina in pendenza, utilizzate i freni di servizio per arrestare la macchina e inserite il freno di stazionamento per fissare la macchina in posizione. L'uso dell'acceleratore per fermare la macchina in pendenza può danneggiarla.
Togliete il piede dal pedale dell'acceleratore.
Premete lentamente il pedale del freno per applicare i freni di servizio fino a quando la macchina non si ferma completamente.
Note: La distanza di arresto può variare in funzione del carico e della velocità della macchina.
Arrestate la macchina utilizzando i freni di servizio, tenendo premuto il pedale del freno.
Inserite il freno di stazionamento tirando la relativa leva verso di voi.
Girate la chiave in senso antiorario in posizione SPEGNIMENTO.
Togliete la chiave.
Prima di abbandonare la posizione di guida, seguite le seguenti istruzioni:
Parcheggiate la macchina su terreno pianeggiante.
Spostate la trasmissione in FOLLE.
Inserite il freno di stazionamento.
Spegnete la macchina e togliete la chiave.
Attendete che tutte le parti in movimento si arrestino.
Lasciate raffreddare la macchina prima di eseguire interventi di riparazione, manutenzione, pulizia o di rimessarla.
Non rimessate la macchina in luoghi in cui siano presenti fiamme libere, scintille o fiamme pilota, come quelle di uno scaldabagno o di altri apparecchi.
Mantenete tutte le parti della macchina in buone condizioni operative e la bulloneria ben serrata.
Eseguite la manutenzione e la pulizia della/e cintura/e di sicurezza secondo necessità.
Sostituite tutti gli adesivi usurati, danneggiati o mancanti.
Prestate cautela durante il carico o lo scarico della macchina su un rimorchio o un autocarro.
Utilizzate rampe a piena larghezza per il carico della macchina su un rimorchio o un autocarro.
Ancorate saldamente la macchina.
Vedere Figura 20 e Figura 21 per conoscere la posizione dei punti di attacco sulla macchina.
Note: Caricate la macchina sul rimorchio con la parte anteriore rivolta in avanti. Se questo non è possibile, assicurate il cofano della macchina al telaio per mezzo di una cinghia, oppure rimuovete il cofano, poi trasportatelo separatamente dopo averlo assicurato al rimorchio, altrimenti potrebbe staccarsi durante il trasporto.
I sedili non correttamente fissati possono cadere dalla macchina e dal rimorchio durante il trasporto della macchina stessa e cadere su un'altra macchina od ostruire la strada.
Rimuovete i sedili o assicuratevi che siano fissati tramite i perni degli snodi.


In caso di emergenza, potete trainare la macchina per una breve distanza; tuttavia, ciò non deve trasformarsi in una normale procedura operativa.
Il traino a velocità eccessive può causare la perdita di controllo della sterzata e causare infortuni.
Non trainate mai la macchina a velocità superiori a 8 km/h.
Il traino della macchia deve essere effettuato da 2 persone. Se dovete spostare la macchina per una considerevole distanza, trasportatela su un autocarro o un rimorchio; fate riferimento a Traino di un rimorchio
Rimuovete la cinghia di trasmissione dalla macchina; fate riferimento a Sostituzione della cinghia di trasmissione.
Fissate una fune di traino al timone sulla parte anteriore del telaio della macchina (Figura 20).
Spostate la trasmissione in posizione FOLLE e disinserite il freno di stazionamento.
La macchina è in grado di trainare rimorchi. Per questa macchina è disponibile un gancio di traino. Per maggiori informazioni rivolgetevi al Distributore Toro autorizzato di zona.
Durante il trasporto di un carico o il traino di un rimorchio, non sovraccaricate la macchina né il rimorchio. Il sovraccarico della macchina o del rimorchio può dar luogo a prestazioni insoddisfacenti o danneggiare i freni, l'assale, il motore, il transaxle, lo sterzo, la sospensione, la carrozzeria o gli pneumatici.
Caricate il rimorchio sistemando sempre il 60% del peso del carico nella parte anteriore. Ciò colloca circa il 10% del peso lordo del rimorchio (GTW) sull'attacco di traino della macchina.
Per consentire una frenata e una trazione appropriate, caricate sempre il pianale quando trainate un rimorchio. Non superate i limiti del peso lordo del rimorchio o del veicolo.
Evitate di parcheggiare la macchina con rimorchio su un pendio. Qualora dobbiate stazionare su un pendio, innestate il freno di stazionamento e bloccate gli pneumatici del rimorchio.
Non permettete che personale non addestrato esegua interventi di manutenzione sulla macchina.
Prima di abbandonare la posizione di guida, seguite le seguenti istruzioni:
Parcheggiate la macchina su terreno pianeggiante.
Spostate la trasmissione in FOLLE.
Inserite il freno di stazionamento.
Abbassate il pianale.
Spegnete la macchina e togliete la chiave.
Attendete che tutte le parti in movimento si arrestino.
Lasciate raffreddare la macchina prima di eseguire interventi di riparazione, manutenzione, pulizia o di rimessarla.
Supportate la macchina con cavalletti ogniqualvolta lavorate sotto di essa.
Non lavorate sotto un pianale sollevato senza aver inserito in posizione l'opportuno supporto di sicurezza del pianale.
Non ricaricate le batterie durante la manutenzione della macchina.
Per garantire che l'intera macchina sia in buone condizioni, mantenete tutta la bulloneria correttamente serrata.
Per ridurre il rischio di incendio, eliminate eccessive quantità di grasso, erba, foglie e i residui accumulatisi nell'area della macchina.
Se possibile, non effettuate la manutenzione mentre la macchina è in funzione. Tenetevi a distanza dalle parti in movimento.
Se dovete tenere la macchina in funzione per l'esecuzione di eventuali regolazioni di manutenzione, tenete mani, piedi, abbigliamento e qualsiasi parte del corpo a distanza da eventuali parti in movimento. Tenete lontano gli astanti dalla macchina.
Tergete l'olio e il carburante versati.
Controllate il funzionamento del freno di stazionamento come raccomandato nel programma di manutenzione ed effettuate regolazioni e manutenzione, come opportuno.
Mantenete tutte le parti della macchina in buone condizioni operative e la bulloneria correttamente serrata. Sostituite tutti gli adesivi usurati o danneggiati.
Non interferite mai con la funzione prevista di un dispositivo di sicurezza e non riducete la protezione fornita dal dispositivo stesso.
Non utilizzare il motore a regime eccessivo alterando la taratura del regolatore. Per garantire condizioni di sicurezza e precisione, fate controllare la velocità massima del motore con un contagiri da un Centro assistenza Toro autorizzato.
Qualora siano necessari interventi di assistenza o di riparazione importanti, rivolgetevi a un distributore Toro autorizzato.
La modifica di questa macchina in qualsiasi modo può influire sul suo funzionamento, prestazioni, durata, oppure il suo utilizzo può comportare infortuni o la morte. Un tale utilizzo può rendere nulla la garanzia di The Toro® Company.
| Cadenza di manutenzione | Procedura di manutenzione |
|---|---|
| Dopo le prime 5 ore |
|
| Dopo le prime 8 ore |
|
| Dopo le prime 50 ore |
|
| Dopo le prime 100 ore |
|
| Prima di ogni utilizzo o quotidianamente |
|
| Ogni 50 ore |
|
| Ogni 100 ore |
|
| Ogni 200 ore |
|
| Ogni 300 ore |
|
| Ogni 400 ore |
|
| Ogni 800 ore |
|
| Ogni 1000 ore |
|
| Ogni anno |
|
Note: Scaricate una copia gratuita degli schemi elettrici dal sito www.Toro.com; per cercare la vostra macchina utilizzate il link Manuali sulla home page.
Important: Per ulteriori interventi di manutenzione si rimanda al manuale d'uso del motore.
Una manutenzione non corretta della macchina può determinare un guasto prematuro dei sistemi della macchina, causando possibili infortuni a voi o agli astanti.
Sottoponete sempre la macchina alla corretta manutenzione e mantenetela in buone condizioni operative, come indicato in queste istruzioni.
Solo personale qualificato e autorizzato deve effettuare interventi di manutenzione, riparazione, regolazione o ispezione della macchina.
Evitate i rischi d'incendio e tenete apparati antincendio nell'area di lavoro. Non usate una fiamma libera per controllare il livello dei liquidi o eventuali perdite di carburante, di elettrolito della batteria o di refrigerante.
Non usate bacinelle di carburante o preparati fluidi infiammabili per pulire i componenti.
Se lasciate la chiave nell'interruttore, qualcuno potrebbe accidentalmente avviare il motore e ferire gravemente voi o gli astanti.
Spegnete il motore e togliete la chiave dall'interruttore prima di effettuare qualsiasi intervento di manutenzione.
Fotocopiate questa pagina e utilizzatela quando opportuno.
| Punto di verifica per la manutenzione | Per la settimana di: | ||||||
|---|---|---|---|---|---|---|---|
| Monday (lunedì) | Tuesday (martedì) | Wednesday (mercoledì) | Thursday (giovedì) | Friday (venerdì) | Saturday (sabato) | Sunday (domenica) | |
| Controllate il funzionamento del freno e del freno di stazionamento. | |||||||
| Controllate il funzionamento del selettore di velocità/folle. | |||||||
| Controllate il livello dell'acqua delle batterie. | |||||||
| Controllate il livello del fluido dei freni. | |||||||
| Controllate i rumori insoliti di funzionamento. | |||||||
| Controllate la pressione degli pneumatici. | |||||||
| Verificate che non ci siano perdite di liquido. | |||||||
| Verificate il funzionamento degli strumenti. | |||||||
| Verificate il funzionamento dell'acceleratore. | |||||||
| Ritoccate la vernice danneggiata. | |||||||
| Lavate la macchina. | |||||||
Important: Se la macchina è sottoposta a una delle condizioni indicate sotto, effettuate la manutenzione con una frequenza doppia.
Utilizzo nel deserto
Utilizzo in climi freddi, a meno di 10 °C
Traino di un rimorchio
Servizio frequente in ambiente polveroso
Lavori di costruzione
Dopo l'utilizzo prolungato in presenza di fango, sabbia, acqua o in ambienti che abbiano un analogo livello di sporcizia, attenetevi alle seguenti istruzioni:
Provvedete a ispezionare e pulire i freni quanto prima. Ciò evita un'eccessiva usura da parte di materiale abrasivo.
Lavate la macchina con acqua soltanto oppure acqua con l'aggiunta di un detergente neutro.
Important: Non utilizzate acqua salmastra o depurata per pulire la macchina.
Parcheggiate la macchina su terreno pianeggiante.
Spostate la trasmissione in FOLLE.
Inserite il freno di stazionamento.
Spegnete il motore e togliete la chiave.
Svuotate e sollevate il pianale di carico.
Durante l'impiego di un martinetto la macchina potrebbe risultare instabile. La macchina potrebbe scivolare dal martinetto, ferendo chi si trova sotto di essa.
Non avviate la macchina mentre si trova su un martinetto.
Togliete sempre la chiave dal relativo interruttore prima di abbandonare la macchina.
Bloccate gli pneumatici quando la macchina è supportata da attrezzatura di sollevamento.
Utilizzate cavalletti per sostenere la macchina una volta sollevata.
Important: Ogni volta che mettete in funzione la macchina per eseguire un intervento di manutenzione di routine e/o di diagnostica, assicuratevi che le ruote posteriori della macchina siano sollevate di 25 mm da terra con l'assale posteriore supportato da cavalletti.
Il punto di sollevamento nella parte anteriore della macchina si trova davanti al telaio dietro al timone di traino (Figura 22).

Il punto di sollevamento nella parte posteriore della macchina si trova sotto i tubi dell'assale (Figura 23).

Fate scorrere il gruppo sedile sui perni e abbassatelo (Figura 27).

| Cadenza di manutenzione | Procedura di manutenzione |
|---|---|
| Ogni 300 ore |
|
Specifiche del grasso: Mobilgrease XHP™-222
Alzate la parte anteriore della macchina e appoggiatela su cavalletti metallici.
Togliete i 4 dadi a staffa che fissano la ruota al mozzo (Figura 28).

Togliete i bulloni a testa flangiata (⅜" x ¾") che fissano la staffa del gruppo del freno al mandrino e separate il freno dal mandrino (Figura 29).
Note: Sostenete il gruppo del freno prima di procedere al passaggio successivo.

Rimuovete il coperchietto antipolvere dal mozzo (Figura 30).

Rimuovete la coppiglia e il fermadado dal mandrino e dal relativo dado (Figura 30).
Rimuovete il dado del mandrino dal mandrino e separate il gruppo mozzo e rotore dal mandrino (Figura 30 e Figura 31).

Pulite il mandrino con un panno.
Ripetete i passaggi da 1 a 7 per il mozzo e il rotore sull'altro lato della macchina.
Rimuovete il cuscinetto esterno e il relativo anello dal mozzo (Figura 32).

Rimuovete la guarnizione e il cuscinetto interno dal mozzo (Figura 32).
Pulite la guarnizione e verificate che non sia consumata o danneggiata.
Note: Non pulite la guarnizione con solventi. Sostituite la guarnizione se usurata o danneggiata.
Pulite i cuscinetti e i relativi anelli e verificate che non siano consumati o danneggiati.
Note: Sostituite tutti i componenti usurati o danneggiati. Accertatevi che i cuscinetti e i relativi anelli siano puliti e asciutti.
Pulite la cavità del mozzo da tutto il grasso, la sporcizia e i detriti (Figura 32).
Ingrassate i cuscinetti con il grasso specificato.
Riempite la cavità del mozzo per il 50–80% di grasso specificato (Figura 32).
Montate il cuscinetto interno sull'anello sul lato interno del mozzo e montate la guarnizione (Figura 32).
Ripetete i passaggi da 1 a 8 per i cuscinetti dell'altro mozzo.
Lubrificate leggermente il mandrino con il grasso specificato (Figura 33).

Montate il mozzo e il rotore sul mandrino con il rotore verso l'interno (Figura 33).
Montate il cuscinetto esterno sul mandrino e inserite il cuscinetto sull'anello esterno (Figura 33).
Montate la rondella di sicurezza sul mandrino (Figura 33).
Avvitate il dado del mandrino sul mandrino e serrate il dado a 15 N∙m mentre ruotate il mozzo per posizionare in sede il cuscinetto (Figura 33).
Allentate il dado del mandrino fino a quando il mozzo non ruota liberamente.
Serrate il dado del mandrino a un valore compreso tra 1,7 e 2,26 N∙m.
Montate il fermo sul dado e controllate l'allineamento della scanalatura sul fermo con il foro del mandrino per la coppiglia (Figura 34).
Note: Se la scanalatura sul fermo e il foro del mandrino non sono allineati, serrate il dado del mandrino per allineare la scanalatura e il foro a una coppia massima di 2,26 N∙m sul dado.

Montate la coppiglia e piegate ciascuna asticella attorno al fermo (Figura 34).
Montate il coperchietto antipolvere sul mozzo (Figura 34).
Ripetete i passaggi da 1 a 10 per il mozzo e il rotore sull'altro lato della macchina.
Pulite i 2 bulloni a testa flangiata (⅜" x ¾") e applicate uno strato di composto frenafiletti a resistenza media sulle filettature dei bulloni.
Allineate le pastiglie dei freni su ciascun lato del rotore (Figura 29) e i fori sulla staffa della pinza con i fori sul supporto del freno del telaio del mandrino (Figura 33).
Fissate la staffa del calibro al telaio del mandrino (Figura 29) utilizzando i 2 bulloni a testa flangiata (⅜" x ¾").
Serrate i 2 bulloni a testa flangiata a una coppia compresa tra 47 e 54 N∙m.
Allineate i fori sulla ruota ai prigionieri del mozzo e montate la ruota sul mozzo con lo stelo della valvola rivolto all'esterno (Figura 28).
Note: Accertatevi che la superficie di montaggio della ruota sia in linea rispetto al mozzo.
Fissate la ruota al mozzo utilizzando i dadi per le ruote (Figura 28).
Serrate i dadi ad aletta tra 108 e 122 N∙m.
Ripetete i passaggi da 1 a 5 per il freno e la ruota sull’altro lato della macchina.
Spegnete il motore, togliete la chiave e attendete che tutte le parti in movimento si fermino prima di controllare l’olio o di aggiungerne nella coppa.
Tenete mani, piedi, viso, abbigliamento ed altre parti del corpo lontano da marmitta e altre superfici calde.
| Cadenza di manutenzione | Procedura di manutenzione |
|---|---|
| Ogni 50 ore |
|
Verificate che il corpo del filtro dell'aria sia privo di danni che possano causare una fuoriuscita d'aria. Sostituite il filtro dell'aria se danneggiato.
Pulite il coperchio del filtro dell’aria e rimuovete i residui dal coperchietto antipolvere riprodotto nella Figura 35.

| Cadenza di manutenzione | Procedura di manutenzione |
|---|---|
| Ogni 50 ore |
|
| Ogni 100 ore |
|
Note: Eseguite la manutenzione dell'elemento filtrante dell'aria più di frequente (ogni poche ore) in ambienti molto inquinati o sabbiosi.
Estraete con cautela l'elemento filtrante dell'aria dal corpo del filtro (Figura 36).
Note: Evitate che il filtro dell’aria urti contro il lato del corpo.
Important: Non tentate di pulire l'elemento filtrante.
Controllate che il nuovo elemento non sia danneggiato proiettando una luce forte sulla sua parte esterna e guardando all'interno.
Note: I fori dell'elemento filtrante appaiono come punti luminosi. Controllate che l'elemento non sia strappato, che non vi siano strati untuosi e che la tenuta di gomma non sia danneggiata. Non utilizzate l'elemento se è danneggiato.
Fate scorrete con attenzione l'elemento nel corpo del filtro dell'aria.
Important: Non esercitare pressione sulla parte morbida interna dell'elemento.
Montate il coperchio dell'elemento filtrante con il lato indicato come UPUP rivolto verso l’alto e fissate i dispositivi di chiusura (Figura 36).

Capacità della coppa dell'olio: 1,0 litro
Tipo di olio: olio detergente API service classe SJ o superiore
Viscosità: vedere la tabella seguente.

| Cadenza di manutenzione | Procedura di manutenzione |
|---|---|
| Prima di ogni utilizzo o quotidianamente |
|
Note: Al momento della fornitura la coppa del motore della macchina contiene dell'olio, il cui livello deve tuttavia essere controllato prima e dopo l'avvio del motore.
Note: Il momento migliore per controllare l'olio del motore è a motore freddo prima che venga avviato per la giornata. Se avete già avviato il motore, lasciate che l'olio ritorni nel pozzetto per almeno 10 minuti prima di controllarlo. Se il livello dell'olio è basso, aggiungete olio fino a portarne il livello alla tacca Full (pieno). Non riempite troppo.
Controllate il livello dell'olio motore come illustrato nella Figura 38.

| Cadenza di manutenzione | Procedura di manutenzione |
|---|---|
| Dopo le prime 5 ore |
|
| Ogni 50 ore |
|
| Ogni 100 ore |
|
Note: Cambiate l'olio più spesso in ambienti particolarmente polverosi o sabbiosi.
Note: Consegnate l'olio motore esausto e il filtro dell'olio usato ad un centro di riciclaggio autorizzato.
Avviate la macchina e lasciate girare il motore per qualche minuto.
Parcheggiate la macchina su terreno pianeggiante.
Inserite il freno di stazionamento.
Spegnete il motore e togliete la chiave.
Sollevate il pianale e fissatelo con l'asta di supporto; fate riferimento a Sollevamento del pianale nella posizione di manutenzione.
Cambiate l'olio motore come mostrato nella Figura 39.

| Cadenza di manutenzione | Procedura di manutenzione |
|---|---|
| Ogni 100 ore |
|
Tipo di candela per i modelli con carburatore: Champion XC12YC
Tipo di candela per i modelli EFI: Champion RC12LC4
Distanza tra gli elettrodi per i modelli con carburatore: 0,76 mm
Distanza tra gli elettrodi per i modelli EFI: 1 mm
Important: È necessario sostituire le candele rotte, imbrattate, sporche o malfunzionanti. Non sabbiate, raschiate o pulite gli elettrodi con una spazzola metallica, poiché la graniglia potrebbe cadere dalla candela nel cilindro, danneggiando probabilmente il motore.
Note: In linea di massima la candela dura molto tempo, tuttavia dovete toglierla e controllarla ogni volta che il motore accusa un'avaria.
Pulite l'area attorno alla candela in modo da impedire che materia estranea cada nel cilindro quando rimuovete la candela.
Staccate il cappellotto dal terminale della candela.
Togliete la candela dalla testata.
Controllate le condizioni degli elettrodi laterale e centrale, e dell'isolatore dell'elettrodo centrale, per accertare che non siano danneggiati (Figura 40).
Note: Non usate una candela danneggiata o usurata. Sostituitela con una candela nuova del tipo specificato.

Impostate la distanza tra il centro e il lato degli elettrodi a 1 mm per i modelli EFI o 0,76 mm per i modelli con carburatore, come illustrato nella Figura 40.
Montate la candela nella testa del cilindro e serratela a 27 N∙m.
Collegate il cappellotto alla candela.
Ripetete i punti da 1 a 7 per l'altra candela.
Sollevate il cassone e fissatelo con l'asta di supporto.
Per aumentare il minimo inferiore, in corrispondenza dell’alloggiamento dei cavi dell’acceleratore, allentate il controdado anteriore e serrate il controdado posteriore (Figura 41).

Verificate il minimo superiore con un tachimetro.
Assicuratevi che la leva del cambio sia in posizione di FOLLE.
Avviate il motore.
Premete a fondo il pedale dell’acceleratore e misurate il regime del motore con un tachimetro; il regime del motore dovrà essere compreso tra 3650 e 3750 giri/min. In caso contrario, spegnete il motore e regolate i controdadi del cavo.
Important: Non abbassate il minimo superiore. Verificate con un tachimetro che il minimo superiore sia compreso tra 3650 e 3750 giri/min.
Abbassate e fissate il pianale.
| Cadenza di manutenzione | Procedura di manutenzione |
|---|---|
| Ogni 400 ore |
|
Controllate tubi di alimentazione, raccordi e fascette per verificare l'assenza di perdite, deterioramenti, danni o allentamento dei raccordi.
Note: Prima di usare la macchina, riparate i componenti dell'impianto di alimentazione eventualmente danneggiato o con perdite.
| Cadenza di manutenzione | Procedura di manutenzione |
|---|---|
| Ogni 400 ore |
|
Parcheggiate la macchina su terreno pianeggiante.
Inserite il freno di stazionamento.
Spegnete il motore e togliete la chiave.
Sollevate il pianale e sostenetelo con l'asta di supporto.
Scollegate la batteria; fate riferimento a Scollegamento della batteria.
Mettete un contenitore pulito sotto il filtro del carburante e sostituite il filtro del carburante come illustrato nella Figura 42.

Collegate la batteria e abbassate il pianale; fate riferimento a Collegamento della batteria.
| Cadenza di manutenzione | Procedura di manutenzione |
|---|---|
| Dopo le prime 50 ore |
|
| Ogni 200 ore |
|
Controllate l'apertura alla base del filtro dell'aria nel canister a carboni attivi per accertare che sia pulito e privo di detriti e ostruzioni (Figura 43).
Pulite il filtro dell'aria del canister a carboni attivi con aria compressa pulita.

Scollegate la batteria prima di riparare la macchina. Scollegate prima il morsetto negativo, per ultimo quello positivo. Collegate prima il morsetto positivo e per ultimo quello negativo.
Caricate la batteria in un'area aperta e ben ventilata, lontano da scintille e fiamme. Scollegate il caricabatteria prima di collegare o scollegare la batteria. Indossate indumenti di protezione e utilizzate attrezzi isolati.
Tensione della batteria: 12 V con 300 A per avviamento a freddo a -18 °C
Tenete sempre la batteria carica e pulita.
Se i morsetti delle batterie presentano segni di corrosione, puliteli con una soluzione di 4 parti di acqua ed 1 di bicarbonato di sodio.
Lubrificate leggermente i morsetti della batteria con del grasso per prevenirne la corrosione.
In caso di errato percorso dei cavi della batteria, la macchina ed i cavi possono venire danneggiati e causare scintille, che possono fare esplodere i gas della batteria e causare infortuni.
Scollegate sempre il cavo negativo (nero) della batteria prima di quello positivo (rosso).
Ricollegate sempre il cavo positivo (rosso) della batteria prima di quello negativo (nero).
Tenete sempre correttamente posizionata la cinghia della batteria in modo da proteggerla e fissarla saldamente.
I morsetti della batteria e gli attrezzi metallici possono creare cortocircuiti contro i componenti metallici, e provocare scintille, che possono fare esplodere i gas della batteria e causare infortuni.
In sede di rimozione o montaggio della batteria, impedite ai morsetti di toccare le parti metalliche della macchina.
Non lasciate che gli attrezzi metallici creino cortocircuiti fra i morsetti della batteria e le parti metalliche della macchina.
Scollegate la batteria come illustrato nella Figura 44.

Scollegate i cavi della batteria; fate riferimento a Scollegamento della batteria.
Rimuovete la batteria come illustrato nella Figura 45.

Montate la batteria come illustrato nella Figura 46.

Collegate i cavi della batteria; fate riferimento a Collegamento della batteria.
Collegate la batteria come illustrato nella Figura 47.

Durante la ricarica della batteria si sviluppano gas esplosivi.
Non fumate mai nelle adiacenze della batteria e tenetela lontano da scintille e fiamme.
Important: Tenete sempre la batteria carica. Questo aspetto è particolarmente importante per evitare di danneggiare la batteria qualora la temperatura scenda al di sotto di 0 ℃.
Togliete la batteria dalla macchina; vedere Rimozione della batteria.
Collegate un caricabatterie da 3–4 A ai poli della batteria. Caricate la batteria a 3–4 A per 4–8 ore (12 V).
Note: Non sovraccaricatela.
Montate la batteria; fate riferimento a Montaggio della batteria.
Se rimessate la macchina per oltre 30 giorni, rimuovete la batteria e caricatela completamente. Conservatela o su uno scaffale o nella macchina. Se la conservate nella macchina, lasciate scollegati i cavi. Conservate la batteria in un luogo fresco, per evitare che si scarichi rapidamente. Per impedirne il congelamento, verificate che la batteria sia completamente carica.
Sono presenti 4 fusibili nell'impianto elettrico; gli altri slot sono aperti per gli accessori opzionali. Sono situati sotto il gruppo sedile (Figura 48).
| Avvisatore acustico | 30 A |
| Alimentazione principale | 15 A |
| Fari | 10 A |
| Presa di alimentazione USB/accessori | 10 A |
| Kit di sollevamento opzionale – aperto | 15 A |

Sono presenti 5 fusibili nell'impianto elettrico; gli altri slot sono aperti per gli accessori opzionali. Sono situati sotto il gruppo sedile (Figura 49).
| Avvisatore acustico | 20 A |
| Alimentazione principale | 15 A |
| Fari | 10 A |
| Presa di alimentazione USB/accessori | 10 A |
| Carburante | 10 A |
| Kit di sollevamento opzionale – aperto | 15 A |

Specifica: Vedere il Catalogo ricambi.
Scollegate la batteria; fate riferimento a Scollegamento della batteria.
Aprite il cofano.
Scollegate il connettore elettrico del cablaggio dal connettore del gruppo luci (Figura 50).

Togliete i fermagli che tengono bloccato il faro anteriore sulla relativa staffa (Figura 50).
Note: Conservate tutte le parti per il montaggio del nuovo faro.
Rimuovete il gruppo faro anteriore spostandolo in avanti attraverso l'apertura nel paraurti anteriore (Figura 50).
Montate il nuovo faro anteriore attraverso l'apertura nel paraurti (Figura 50).
Note: Assicuratevi che i poli di regolazione siano allineati con i fori nella staffa di montaggio dietro il paraurti.
Fissate il gruppo faro anteriore con i fermagli rimossi alla fase 4.
Collegate il connettore elettrico del cablaggio al connettore del nuovo gruppo luci (Figura 50).
Regolate i fari anteriori in modo da dirigere i fasci nella posizione desiderata, fate riferimento a Regolazione dei fari.
Osservate la seguente procedura per regolare la posizione del fascio dei fari ogni volta che viene sostituito o rimosso un gruppo faro.
Parcheggiate la macchina su terreno pianeggiante con i fari a circa 7,6 m di distanza da una parete (Figura 51).
Misurate la distanza dal pavimento al centro del faro e fate un segno sulla parete alla stessa altezza.
Girate l'interruttore a chiave sulla posizione ACCENSIONE e accendete i fari.
Prendete nota del punto in cui i fari puntano sulla parete.
La parte più luminosa del fascio dei fari deve trovarsi 20 cm sotto il segno tracciato sulla parete (Figura 51).

Sul retro del gruppo faro, ruotate le viti di regolazione (Figura 50) per ruotare il gruppo faro e allineare la posizione di getto del fascio.
Collegate la batteria e chiudete il cofano; fate riferimento a Collegamento della batteria.
| Cadenza di manutenzione | Procedura di manutenzione |
|---|---|
| Ogni 100 ore |
|
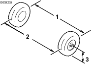
Ispezionate pneumatici e cerchi per escludere segni di usura e danni.
Note: Gli inconvenienti di gestione, come l'urto di un cordolo, possono danneggiare lo pneumatico o il cerchio e alterare l'allineamento delle ruote; in seguito ad un simile inconveniente controllate le condizioni degli pneumatici.
Serrate i dadi a staffe delle ruote a una coppia tra 108 e 122 N·m.
| Cadenza di manutenzione | Procedura di manutenzione |
|---|---|
| Ogni 100 ore |
|
Con il volante in posizione centrata (Figura 52) ruotate il volante a sinistra o a destra. Se ruotate il volante per più di 13 mm a destra o a sinistra, e gli pneumatici non girano, controllate i seguenti componenti dello sterzo e delle sospensioni per accertarvi che non siano lenti o danneggiati:
Giunto di assemblaggio del piantone con la cremagliera
Important: Ispezionate lo stato e la sicurezza della guarnizione dell'albero del pignone (Figura 53).
Tiranti del gruppo cremagliera di sterzo


| Cadenza di manutenzione | Procedura di manutenzione |
|---|---|
| Ogni 100 ore |
|
Controllate la pressione degli pneumatici per accertare che gli anteriori siano gonfiati a 0,83 bar.
Aggiungete zavorra al posto di guida pari al peso dell'operatore medio della macchina o fate sedere l'operatore sul sedile. La zavorra o l'operatore devono rimanere sul sedile per la durata dell’operazione di regolazione.
Su un terreno pianeggiante spostate la macchina all'indietro di 2–3 m e quindi in avanti nella posizione originale. Ciò fa sì che la sospensione si inserisca nella posizione operativa.
Attrezzi forniti dal proprietario: chiave fissa, n. cat. Toro 132-5069; fate riferimento al vostro distributore Toro autorizzato.
Important: Effettuate le regolazioni della campanatura solo se utilizzate un accessorio anteriore o se è presente usura disomogenea degli pneumatici.
Controllate la campanatura su ciascuna ruota; l’allineamento dovrebbe approssimarsi il più possibile al neutro (zero).
Note: Gli pneumatici dovrebbero essere allineati con il battistrada che poggia in modo uniforme sul terreno per evitare la formazione di zone differenti di usura.
Se la campanatura della ruota non è regolata correttamente, usate la chiave fissa per ruotare il collare dell’ammortizzatore per allineare la ruota (Figura 54).

Important: Prima di regolare la convergenza, assicuratevi che la campanatura sia regolata il più vicino possibile al neutro; fate riferimento a Regolazione della campanatura.
Misurate la distanza tra i pneumatici anteriori all'altezza dell'assale, davanti e dietro le ruote (Figura 55).

Se la misura non rientra nel campo specificato di 0–6 mm, allentate i controdadi all'estremità esterna dei tiranti (Figura 56).

Girate entrambi i tiranti in modo da spostare la parte anteriore dello pneumatico verso l'interno o l'esterno.
Quando la regolazione sarà corretta, serrate i controdadi dei tiranti.
Verificate che il volante presenti una corsa massima in entrambe le direzioni.
| Cadenza di manutenzione | Procedura di manutenzione |
|---|---|
| Ogni 100 ore |
|
Tipo di fluido: SAE 80W-90 (API MT-1) o SAE 80W-90 (API GL-5)
Parcheggiate la macchina su terreno pianeggiante.
Inserite il freno di stazionamento.
Spegnete il motore e togliete la chiave.
Togliete il tappo di riempimento sul transaxle (Figura 57).
Note: Il fluido deve essere a filo con la base del tappo di riempimento.

Se il livello del fluido è basso, togliete il tappo di riempimento e aggiungete il fluido specificato finché non fuoriesce (Figura 57).
Sostituite il tappo di riempimento e serrate tra 20 e 27 N∙m.
| Cadenza di manutenzione | Procedura di manutenzione |
|---|---|
| Ogni 800 ore |
|
Tipo di fluido: SAE 80W-90 (API MT-1) o SAE 80W-90 (API GL-5)
Capienza della coppa del fluido 1,6 litri
Allineate una bacinella di spurgo sotto il tappo di spurgo (Figura 57).
Togliete il tappo di riempimento e la guarnizione (Figura 57).
Note: Conservate il tappo di riempimento e la guarnizione per l'installazione alla fase 6.
Togliete il tappo di spurgo e la guarnizione per lasciare defluire completamente il fluido (Figura 57).
Note: Conservate il tappo di spurgo e la guarnizione per l'installazione alla fase 4.
Montate il tappo di spurgo e la guarnizione e serratelo a una coppia tra 20 e 27 N∙m.
Riempite il transaxle con il fluido indicato in modo che fuoriesca dal foro di riempimento.
Montate il tappo di riempimento e la guarnizione e serrate a una coppia tra 20 e 27 N∙m.
| Cadenza di manutenzione | Procedura di manutenzione |
|---|---|
| Prima di ogni utilizzo o quotidianamente |
|
| Ogni 100 ore |
|
Durante l'esecuzione della manutenzione ordinaria e/o della diagnostica del motore, cambiate il transaxle in FOLLE. La macchina è provvista della posizione di FOLLE sul selettore della velocità, che comanda la posizione di folle sul transaxle. Per accertarvi che la leva del cambio in folle agisca correttamente sulla posizione di folle del transaxle, osservate i punti sotto indicati:
Mettete il selettore della velocità in FOLLE.
Ruotate la frizione secondaria (Figura 64) per vedere se gira liberamente in posizione FOLLE.
Mettete il selettore della velocità in posizione MARCIA AVANTI.
Ruotate la frizione secondaria (Figura 64) per accertare che faccia girare le ruote posteriori.
Mettete il selettore della velocità in posizione RETROMARCIA.
Ruotate la frizione secondaria (Figura 64) per accertare che faccia girare le ruote posteriori.
Qualora uno di questi test abbia esito negativo, passate a Regolazione della posizione del cambio in folle.
Allentate i controdadi sul cavo del cambio e regolateli come opportuno (Figura 58).

Testate la posizione del cambio ruotando il selettore della velocità nelle 3 diverse posizioni e verificate se la leva (Figura 58) cambia in modo opportuno tra una marcia e l'altra; fate riferimento a Leva e indicatore del cambio.
Verificate che tutte le posizioni funzionino correttamente ripetendo i passaggi in Controllo della posizione del cambio in folle.
| Cadenza di manutenzione | Procedura di manutenzione |
|---|---|
| Ogni 400 ore |
|
La polvere nella frizione può essere trasportata per via aerea e causare danni agli occhi, oppure può essere inalata provocando difficoltà respiratorie.
Quando effettuate questa operazione indossate occhiali di sicurezza e una mascherina antipolvere, o un altro tipo di protezione degli occhi e delle vie respiratorie.
Sollevate e fissate il pianale.
Togliete i 3 bulloni che fissano il carter della frizione e togliete il carter (Figura 59).
Note: Conservate il coperchio e i bulloni per il montaggio.

Pulite accuratamente con aria compressa il carter e i componenti interni della frizione.
Montate il carter della frizione e fissatelo con i 3 bulloni (Figura 59) tolti in precedenza 2.
Abbassate il pianale.
La polvere nella frizione può essere trasportata per via aerea e causare danni agli occhi, oppure può essere inalata provocando difficoltà respiratorie.
Quando effettuate questa operazione indossate occhiali di sicurezza e una mascherina antipolvere, o un altro tipo di protezione degli occhi e delle vie respiratorie.
Sollevate il pianale e bloccatelo; fate riferimento a Sollevamento del pianale nella posizione di manutenzione.
Rimuovete i bulloni che fissano il carter della frizione principale come illustrato in Figura 60.
Important: Prestate attenzione quando rimuovete il carter della frizione; la molla è compressa.
Important: Annotate l'orientamento della X sui carter e i gruppi della frizione; servirà successivamente durante il montaggio.

Rimuovete la molla.
Aggiungete o rimuovete i distanziali per regolare la velocità massima. Fate riferimento alla tabella seguente per stabilire il numero di distanziali necessario.
| Distanziali | Velocità massima |
| 2 (standard) | 26 km/h (standard) |
| 3 | 19 km/h |
| 4 | 14 km/h |
| 5 | 10 km/h |
| 6 | 6 km/h |
Important: Non usate la macchina in assenza di almeno 2 distanziali della frizione montati.
Montate la molla e il carter della frizione.
Important: Assicuratevi che la X si trovi nuovamente nella posizione originale.
Serrate i bulloni a 179–228 N∙m.
Ingerire refrigerante per motori può provocare avvelenamento. Tenete lontano dalla portata dei bambini e degli animali da compagnia.
Il rilascio di refrigerante caldo o sotto pressione o il contatto con un radiatore caldo e le zone circostanti può provocare ustioni serie.
Lasciare sempre raffreddare il motore per almeno 15 minuti prima di togliere il tappo del radiatore.
Aprite il tappo del radiatore con un cencio, agendo lentamente per lasciare fuoriuscire il vapore.
Non usate la macchina se i carter non sono montati.
Mantenete dita, mani e abbigliamento lontani dalla ventola e dalla cinghia di trasmissione rotanti.
Spegnete il motore e togliete la chiave prima di ogni intervento di manutenzione.
| Cadenza di manutenzione | Procedura di manutenzione |
|---|---|
| Ogni 100 ore |
|
Important: L'azionamento del motore con uno schermo rotante ostruito, sporco o con alette di raffreddamento otturate o senza coperture protettive di raffreddamento può determinare danni al motore a causa del surriscaldamento.
Important: Non pulite mai il motore con acqua sotto pressione, perché potrebbe contaminare il sistema di alimentazione del carburante.
Pulite l'ingresso, le alette di raffreddamento e le superfici esterne del motore.
Note: Pulite i componenti di raffreddamento del motore con maggior frequenza in condizioni estreme di morchia e polvere.
Per inserire il freno di stazionamento tirate la relativa leva verso di voi fino ad avvertire tensione.
Se non percepite la tensione tirando il freno di stazionamento verso di voi tra 11,4 e 16,5 cm dal simbolo “P” sul cruscotto, è necessario regolare il freno di stazionamento; fate riferimento a Regolazione del freno di stazionamento.
Assicuratevi che il freno di stazionamento sia disinserito.
Utilizzando dei cavalletti metallici, sollevate la parte posteriore della macchina; vedere Sollevamento della macchina.
Utilizzando 2 chiavi, mantenete fermo il montante di regolazione sulla pinza con una chiave e allentate il controdado di 1/4 di giro con l'altra chiave (Figura 61).

Tenendo fermo il montante di regolazione e il controdado, girate il montante di regolazione per serrarlo (Figura 61).
Note: Effettuate questa operazione fino ad avvertire attrito sulla ruota.
Tenendo fermo il montante di regolazione e il controdado, allentate di ¼ di giro (Figura 61).
Tenendo fermo il montante di regolazione e il controdado, serrate il controdado (Figura 61).
Effettuate le voci da 1 a 6 sull'altro lato.
Assicuratevi che il freno di stazionamento sia regolato alla giusta tensione; fate riferimento a Controllo del freno di stazionamento.
Note: Se non riuscite a regolare il freno di stazionamento alla tensione necessaria, le pastiglie dei freni potrebbero essere usurate e richiedere la sostituzione. Contattate il vostro distributore Toro autorizzato per ricevere assistenza.
| Cadenza di manutenzione | Procedura di manutenzione |
|---|---|
| Prima di ogni utilizzo o quotidianamente |
|
Tipo di fluido dei freni: DOT 3
Parcheggiate la macchina su terreno pianeggiante.
Inserite il freno di stazionamento.
Spegnete il motore e togliete la chiave.
Sollevate il cofano per avere accesso al cilindro del freno principale e al serbatoio (Figura 62).

Osservate la linea del livello del fluido sul lato del serbatoio (Figura 63).
Note: L'olio deve superare la linea del minimo.

Se il livello del fluido è basso, agite come segue:
Pulite l'area intorno al tappo del serbatoio e togliete il tappo (Figura 62).
Aggiungete il fluido dei freni DOT 3 al serbatoio, in modo che il livello del fluido sia superiore alla linea del minimo (Figura 63).
Note: Non riempite troppo il serbatoio con il fluido dei freni.
Montate il tappo sul serbatoio (Figura 62).
Chiudete il cofano della macchina.
| Cadenza di manutenzione | Procedura di manutenzione |
|---|---|
| Ogni 100 ore |
|
Important: I freni sono componenti di sicurezza di somma importanza per la macchina. Ispezionateli accuratamente agli intervalli di manutenzione raccomandati per garantire prestazioni e sicurezza ottimali.
Ispezionate il rivestimento dei freni per escludere usura o danni. Se lo spessore del rivestimento (cuscinetto del freno) è inferiore a 1,6 mm, sostituite il rivestimento.
Ispezionate la piastra di supporto ed altri componenti per individuare eventuali segni di usura eccessiva o di deformazione. Sostituite eventuali componenti deformati.
Controllate il livello del fluido dei freni; vedere Controllo del livello del fluido dei freni.
| Cadenza di manutenzione | Procedura di manutenzione |
|---|---|
| Ogni 400 ore |
|
Rivolgetevi al distributore Toro autorizzato per l'ispezione e la possibile sostituzione delle pastiglie del freno di servizio e del freno di stazionamento.
| Cadenza di manutenzione | Procedura di manutenzione |
|---|---|
| Ogni 1000 ore |
|
Contattate il vostro distributore Toro autorizzato.
| Cadenza di manutenzione | Procedura di manutenzione |
|---|---|
| Dopo le prime 8 ore |
|
| Ogni 200 ore |
|
Parcheggiate la macchina su terreno pianeggiante.
Inserite il freno di stazionamento.
Spegnete il motore e togliete la chiave.
Sollevate il pianale e fissatelo con l'asta di supporto; fate riferimento a Sollevamento del pianale in posizione di scarico.
Spostate la trasmissione in FOLLE.
Fate girare la cinghia (Figura 64) ed ispezionatela per rilevarne eventuale segni di eccessiva usura o danni.
Note: Sostituite la cinghia se eccessivamente usurata o danneggiata; fate riferimento a Sostituzione della cinghia di trasmissione.

Abbassate il pianale.
Sollevate il pianale; fate riferimento a Sollevamento del pianale in posizione di scarico.
Spostate la trasmissione in posizione FOLLE, innestate il freno di stazionamento, ruotate l'interruttore a chiave in posizione SPEGNIMENTO e togliete la chiave.
Girate la cinghia e fatela passare sulla frizione secondaria (Figura 64).
Rimuovete la cinghia dalla frizione primaria (Figura 64).
Note: Eliminate la cinghia usata.
Allineate la nuova cinghia sopra la frizione primaria (Figura 64).
Girate la cinghia e fatela passare sulla frizione secondaria (Figura 64).
Abbassate il pianale.
| Cadenza di manutenzione | Procedura di manutenzione |
|---|---|
| Dopo le prime 8 ore |
|
| Ogni 200 ore |
|
Sollevate il pianale; fate riferimento a Sollevamento del pianale in posizione di scarico.
Allentate il dado di rotazione del generatore di avviamento (Figura 64).
Allineate un piede di porco tra l'incastellatura del motore e il motorino di avviamento.
Applicate una pressione verso il basso sul piede di porco per ruotare il motorino di avviamento fino alla fessura in modo che la tensione della cinghia consenta soltanto una flessione di 6 mm della cinghia stessa con forza pari a 44 N∙m (Figura 64).
Serrate manualmente il dado di rotazione e rimuovete il piede di porco (Figura 64).
Serrate il dado di rotazione a una coppia tra 88 e 115 N∙m.
Abbassate il pianale.
Se il fermo del pianale non è regolato correttamente, il pianale vibra verso l'alto e verso il basso mentre guidate. Potete regolare le colonnette di ancoraggio in modo che i fermi blocchino saldamente il pianale al telaio.
Accertatevi che il pianale si blocchi.
Note: Se il pianale non si blocca, il suo gancio di chiusura è probabilmente troppo basso. Se il pianale si blocca, ma vibra su e giù mentre guidate, il suo gancio di chiusura è probabilmente troppo alto.
Sollevate il pianale; fate riferimento a Sollevamento del pianale in posizione di scarico.
Allentate i 2 bulloni sul gancio di chiusura del pianale e spostate il gancio su o giù, a seconda se è troppo alto o troppo basso (Figura 65).

Serrate i 2 bulloni sul gancio di chiusura del pianale (Figura 65).
Verificate che la regolazione sia corretta bloccando varie volte il pianale.
| Cadenza di manutenzione | Procedura di manutenzione |
|---|---|
| Prima di ogni utilizzo o quotidianamente |
|
Lavate la macchina secondo necessità con acqua soltanto oppure acqua con l'aggiunta di un detergente neutro. Potete utilizzare un panno per il lavaggio della macchina.
Important: Non utilizzate acqua salmastra o depurata per pulire la macchina.
Important: Non lavate la macchina utilizzando un'attrezzatura di lavaggio elettrica, che potrebbe danneggiare l'impianto elettrico, staccare adesivi importanti ed eliminare il grasso necessario nei punti di attrito. Non usate una quantità d’acqua eccessiva in prossimità della plancia, del motore e della batteria.
Important: Non lavate la macchina quando il motore gira. Il lavaggio della macchina con il motore avviato può causare danni interni al motore.
Spegnete la macchina, togliete la chiave e attendete che tutte le parti in movimento si arrestino prima di abbandonare la posizione dell'operatore. Lasciate raffreddare la macchina prima di eseguire interventi di riparazione, manutenzione, pulizia o di rimessarla.
Non rimessate la macchina o la tanica del carburante in luoghi in cui siano presenti fiamme libere, scintille o spie, come quelle di uno scaldabagno o di altri apparecchi.
Parcheggiate la macchina su terreno pianeggiante.
Inserite il freno di stazionamento.
Spegnete il motore e togliete la chiave.
Rimuovete la terra e lo sporco da tutta la macchina, comprese le alette della testa del motore e l'alloggiamento del compressore.
Important: La macchina può essere lavata con detersivo neutro ed acqua. Non lavate la macchina utilizzando un'attrezzatura di lavaggio elettrica. Il lavaggio a pressione potrebbe danneggiare l'impianto elettrico o rimuovere il grasso necessario per la lubrificazione dei punti di attrito. Non utilizzate una quantità d’acqua eccessiva in prossimità del quadro di comando, luci, motore e batteria.
Ispezionate i freni; fate riferimento a Ispezione dei freni.
Revisionate il filtro dell'aria; fate riferimento a Revisione del filtro dell'aria.
Cambiate il filtro dell'olio del motore; vedere Revisione dell'olio motore.
Controllate la pressione degli pneumatici; vedere Controllo della pressione degli pneumatici.
In caso di rimessaggio superiore a 30 giorni, preparate l'impianto di alimentazione come riportato di seguito.
Aggiungete stabilizzatore/additivo del carburante al carburante fresco nel serbatoio. Non utilizzate stabilizzatore del carburante a base d'alcol (etanolo o metanolo).
Important: Non stoccate il carburante contenente stabilizzatore/additivo più a lungo della durata raccomandata dal produttore dello stabilizzatore.
Fate funzionare il motore per distribuire il carburante condizionato nel sistema di alimentazione per 5 minuti.
Spegnete il motore, lasciatelo raffreddare e spurgate il serbatoio del carburante.
Note: Smaltite il carburante nel rispetto dell'ambiente. Riciclatelo in conformità con le leggi locali.
Riavviate il motore e fatelo girare finché non si spegne.
Chiudete l'aria al motore.
Avviate il motore e lasciatelo girare finché non si avvia più.
Rimuovete la candela e controllatene lo stato; vedere Manutenzione della candela.
Con le candele staccate dal motore, versate 15 ml (2 cucchiaiate) d'olio motore nel foro della candela.
Attivate il motorino di avviamento elettrico per distribuire l'olio nel cilindro.
Montate la(e) candela(e) e serratela(e) alla coppia indicata; fate riferimento a Manutenzione della candela.
Note: Non montate il cappellotto sulla candela (o candele).
Togliete la batteria dallo chassis e caricatela completamente; fate riferimento a Rimozione della batteria.
Note: Non collegate i cavi della batteria ai poli durante il rimessaggio.
Important: Per impedirne il congelamento e l’avaria a temperature sotto lo zero, la batteria deve essere completamente carica. A temperature inferiori a 4 °C, una batteria completamente carica conserva la propria carica per 50 giorni circa.
Controllate tutti i dispositivi di fermo e serrateli. Riparate o sostituite le parti danneggiate.
Verniciate tutte le superfici in metallo graffiate o spoglie con la vernice disponibile presso il vostro distributore Toro autorizzato.
Riponete la macchina in una rimessa o in un deposito pulito ed asciutto.
Togliete la chiave dal relativo interruttore e riponetela in un luogo sicuro, fuori dalla portata dei bambini.
Coprite la macchina con un telo per proteggerla e mantenerla pulita.