Important: Et voi käyttää tai asentaa jäähdyttimen suojussarjaa (malli 07145) tämän sarjan kanssa.
Note: Koneen vasen ja oikea puoli määritellään normaalista käyttöasennosta käsin.
Pysäköi kone tasaiselle alustalle.
Kytke seisontajarru.
Sammuta moottori ja irrota virta-avain.

Työnnä istuinkokoonpano eteenpäin nostettuun asentoon.
Liu’uta istuinkokoonpano sivuun pois tapeista ja nosta istuinkokoonpanoa ylöspäin (Kuva 2).

Irrota akkujen kytkennät. Lisätietoja on koneen käyttöoppaassa.
Note: Irrota akkujen kytkennät huolellisesti ohjeiden mukaan. Irrota akun päämiinuskaapeli (musta) ja sitten pääpluskaapeli (punainen).
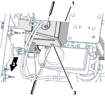
Irrota laturi ja laturin johto laturin kannattimesta (Kuva 5).

Irrota neljä Torx-ruuvia (M6,0 × 22 mm), joilla laturin kannatin on kiinni vasemmanpuoleisessa paneelissa (Kuva 6).

Irrota neljä Torx-ruuvia (M6,0 × 22 mm) vasemmanpuoleisesta paneelista ja irrota se (Kuva 7).

Toista vaihe 4 oikealla puolella.
Irrota ilmaletku ja polttoaineletku polttoainesäiliöstä (Kuva 8).
Tietyissä oloissa polttoaine on hyvin tulenarkaa ja räjähdysherkkää. Polttoaineen aiheuttama tulipalo tai räjähdys voi aiheuttaa palovammoja ja omaisuusvahinkoja.
Polttoainesäiliön tyhjennys tulee suorittaa silloin, kun moottori on kylmä. Tyhjennys tulee suorittaa ulkona ja avoimessa tilassa. Pyyhi läikkynyt polttoaine pois.
Älä tupakoi polttoainetta käsitellessäsi ja pysy kaukana avotulesta tai paikoista, joissa kipinä voi sytyttää polttoainehöyryt.
Irrota kaksi ruuvia, joilla pidike on kiinnitetty vasemmanpuoleiseen paneeliin, ja irrota pidike (Kuva 8).
Irrota laippapultti, jolla polttoainesäiliö on kiinni polttoainesäiliön alustassa, ja irrota polttoainesäiliö (Kuva 8).

Irrota kuusi Torx-ruuvia (M6,0 × 22 mm) vasemmanpuoleisesta paneelista ja irrota paneeli (Kuva 9).

Irrota akusta ensin miinuskaapeli (–) ja sitten pluskaapeli (+) kuvan mukaisesti (Kuva 10).

Irrota kaksi laippakantapulttia (5/16 × ¾ tuumaa), joilla akkualusta on kiinni rungossa, ja neljä Torx-ruuvia (M6,0 × 22 mm), jotka kiinnittävät oikeanpuoleisen paneelin, ja irrota oikeanpuoleinen paneeli (Kuva 11).
Note: Akku irtoaa oikeanpuoleisen paneelin mukana kuvan mukaisesti (Kuva 11).


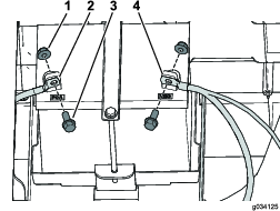
Irrota kymmenen muovista niittiä ja nippuside kustakin kumisuojuksesta ja irrota kumisuojukset (Kuva 13).

Vaiheeseen tarvittavat osat:
| Lattiatuki | 2 |
| Laippakantapultit (5/16 × 1 tuumaa) | 20 |
| Laippalukkomutteri (5/16 tuumaa) | 20 |

Kohdista lattiatuki koneeseen seuraavalla tavalla:
Kohdista lattiatuen laipat koneen sivurunkokiskoa, etulattiakiskoa ja takarunkokiskoa vasten (Kuva 15).
Kohdista lattiatuki yhdensuuntaisesti lattian kanssa (Kuva 15).

Kiinnitä lattiatuki sivurunkokiskoon ja lattiakiskoihin.
Käytä lattiatukea mallina ja merkitse reikien sijainnit sivurunkokiskoon ja lattiakiskoihin (Kuva 15, Kuva 16 ja Kuva 17).


Irrota lattiatuki koneesta.
Merkitse pistepuikolla kohdan Runkokiskojen poraus vaiheessa 3 tehdyt kymmenen merkintää.

Poraa sivu- ja lattiakiskot pistepuikon merkintöjen kohdalla 8 mm:n (5/16 tuuman) poranterällä (Kuva 18).
Toista vaiheet 1–6 koneen toisella puolella olevalle lattiatuelle.
Kohdista lattiatuen reiät sivu- ja lattiakiskoihin poraamiisi reikiin (Kuva 19).

Kiinnitä lattiatuki sivu- ja lattiakiskoihin kymmenellä laippakantapultilla (5/16 × 1 tuumaa) ja kymmenellä laippalukkomutterilla (5/16 tuumaa) kuvan mukaisesti (Kuva 19).
Kiristä laippakantapultit ja laippalukkomutterit momenttiin 19,8 – 25,4 N·m.
Toista vaiheet 2–3 koneen toisella puolella olevalle lattiatuelle.
Vaiheeseen tarvittavat osat:
| Kaatumissuojausjärjestelmän vasemmanpuoleinen kannatin | 1 |
| Kaatumissuojausjärjestelmän oikeanpuoleinen kannatin | 1 |
| Laippakantapultti (½ × 3 tuumaa) | 6 |
| Litteä aluslaatta (½ tuumaa) | 10 |
| Lukkomutteri (½ tuumaa) | 6 |
| Turvakaari | 1 |
| Laippakantapultti (½ × 3½ tuumaa) | 4 |
| Lukkomutteri (½ tuumaa) | 4 |
| Nippuside | 2 |
| Muoviniitti | 4 |
Ole varovainen poratessasi reikiä sähkökäyttöisen koneen rungon oikealle puolelle.
Liian syvälle poraaminen voi vaurioittaa akkuja tai muita osia.
Kohdista kaatumissuojausjärjestelmän kannatin istuimen jalustan takana olevaan kahteen reikään sekä runkokiskon etuosan reikään kuvan mukaisesti (Kuva 20).

Kiinnitä kaatumissuojausjärjestelmän kannatin paikalleen pidättimellä.
Merkitse reikien paikat kaatumissuojausjärjestelmän kannattimeen (Kuva 20).
Käytä kaatumissuojausjärjestelmän kannatinta mallina ja poraa kolme 13,5 mm:n (17/32 tuuman) reikää runkoon (Kuva 21).

Toista toimenpide vastakkaisella puolella.
Leikkaa kumisuojukset esitettyjen mittojen mukaisesti (Kuva 22).
Note: Kumisuojukset on leikattava kaatumissuojausjärjestelmän kannattimien asennusta varten.

Asenna kukin kumisuojus kymmenellä muovisella niitillä ja nippusiteellä, jotka irrotettiin aikaisemmin (Kuva 23).
Note: Jos aiemmin irrotetut niitit ovat vaurioituneet tai ne puuttuvat, käytä niiden tilalla tämän sarjan mukana toimitettuja niittejä.

Leikkaa sivupaneelit esitettyjen mittojen mukaisesti (Kuva 24).

Asenna kaatumissuojausjärjestelmän kannatin kolmella laippakantapultilla (½ × 3 tuumaa), viidellä litteällä aluslaatalla (½ tuumaa) ja kolmella lukkomutterilla (½ tuumaa) kuvan mukaisesti (Kuva 25).
Note: Varmista, että asennat kaksi litteää aluslaattaa (½ tuumaa) ulkopuolelle kuvan mukaisesti (Kuva 25).

Kiristä kolme laippakantapulttia (½ × 3 tuumaa) momenttiin 94–108 N·m.
Toista toimenpide vastakkaisella puolella.
Asenna turvakaaren toinen puoli kaatumissuojausjärjestelmän kannattimeen kahdella laippakantapultilla (½ × 3½ tuumaa) ja kahdella lukkomutterilla (½ tuumaa) kuvan mukaisesti (Kuva 26).

Kiristä kaksi laippakantapulttia (½ × 3½ tuumaa) momenttiin 94–108 N·m.
Toista toimenpide vastakkaisella puolella.
Vaiheeseen tarvittavat osat:
| Turvavyö | 2 |
| Istuimen salpa | 2 |
| Kuusiokantapultti (7/16 × 1 tuumaa) | 4 |
| Litteä aluslaatta (7/16 tuumaa) | 8 |
| Lukkomutteri (7/16 tuumaa) | 4 |
Sähkökäyttöiset koneet
Asenna vasemmanpuoleinen paneeli neljällä aikaisemmin irrotetulla Torx-ruuvilla (M6,0 × 22 mm) kuvan mukaisesti (Kuva 7).
Kiinnitä laturin kannatin vasemmanpuoleiseen paneeliin aikaisemmin irrotetulla neljällä Torx-ruuvilla (M6,0 × 22 mm) kuvan mukaisesti (Kuva 6).
Kiinnitä laturi ja laturin johto laturin kannattimeen (Kuva 5).
Toista vaihe 1 oikealla puolella.
Bensiinikäyttöiset koneet
Asenna kumpikin sivupaneeli aikaisemmin irrotetuilla Torx-ruuveilla (M6,0 × 22 mm) kuvien mukaisesti (Kuva 9 ja Kuva 11).
Kiinnitä polttoainesäiliö polttoainesäiliön alustaan aikaisemmin irrotetulla laippapultilla (Kuva 8).
Kiinnitä pidike vasemmanpuoleiseen paneeliin aikaisemmin irrotetulla kahdella ruuvilla (Kuva 8).
Liitä ilmaletku ja polttoaineletku polttoainesäiliöön (Kuva 8).
Asenna istuimen salpa kuusiokantapultilla (7/16 × 1 tuumaa), kahdella litteällä aluslaatalla (7/16 tuumaa) ja lukkomutterilla (7/16 tuumaa) kuvan mukaisesti (Kuva 27).

Kiristä kuusiokantapultti (7/16 × 1 tuumaa) momenttiin 68–81 N·m.
Asenna toinen istuimen salpa toistamalla vaiheet 1 ja 2.
Asenna turvavyö kuusiokantapultilla (7/16 × 1 tuumaa), kahdella litteällä aluslaatalla (7/16 tuumaa) ja lukkomutterilla (7/16 tuumaa) kuvan mukaisesti (Kuva 28).

Kiristä kuusiokantapultti (7/16 × 1 tuumaa) momenttiin 68–81 N·m.
Asenna toinen turvavyö toistamalla vaiheet 4 ja 5.
Vaiheeseen tarvittavat osat:
| Vasen tuulilasin tuki | 1 |
| Oikea tuulilasin tuki | 1 |
| Etutuki | 1 |
| Katoksen takatuki | 1 |
| Vasemmanpuoleinen etuasennuskannake | 1 |
| Oikeanpuoleinen etuasennuskannake | 1 |
| Vasemmanpuoleinen taka-asennuskannake | 1 |
| Oikeanpuoleinen taka-asennuskannake | 1 |
| Vasemmanpuoleinen takakulmatuki | 1 |
| Oikeanpuoleinen takakulmatuki | 1 |
| Vasemmanpuoleinen etukulmatuki | 1 |
| Oikeanpuoleinen etukulmatuki | 1 |
| Eturistituki | 1 |
| Ristiputki | 2 |
| Laippamutteri (5/16 tuumaa) | 30 |
| Mutteri (¼ tuumaa) | 2 |
| Kuusiolaippapultti (¼ × 1½ tuumaa) | 2 |
| Lukkopultti (5/16 × 1¾ tuumaa) | 16 |
| Kuusiolaippapultti (5/16 × 1 tuumaa) | 2 |
| Lukkopultti (5/16 × 2¾ tuumaa) | 6 |
| Lukkopultti (5/16 × 1 tuumaa) | 4 |
Note: Älä kiristä kiinnikkeitä, ellei niin ohjeisteta tekemään.
Käytä kuvassa olevia mittoja (Kuva 29) ja poraa kaksi reikää (5/16 tuumaa) lattialevyn ulkopuolelle koneen vasemmalla ja oikealla puolella.

Käytä kuvassa olevia mittoja (Kuva 30) ja poraa yksi reikä (5/16 tuumaa) jalkalevyn ulkopuolelle koneen vasemmalla ja oikealla puolella.

Kiinnitä tuulilasin vasemman ja oikean tuen keskimmäinen kannatin koneeseen kahdella kuusiolaippapultilla (5/16 × 1 tuumaa) ja kahdella mutterilla (5/16 tuumaa) aiemmin porattuihin reikiin (Kuva 31).

Kiinnitä tuulilasin vasemman ja oikean tuen alempi kannatin koneeseen neljällä lukkopultilla (5/16 × 1 tuumaa) ja neljällä laippamutterilla (5/16 tuumaa) vaiheessa 1 porattujen reikien kautta (Kuva 32).

Kiinnitä katoksen takatuki ja takasäleikkö turvakaareen kahdella lukkopultilla (5/16 × 2¾ tuumaa) ja kahdella laippamutterilla (5/16 tuumaa) (Kuva 33).

Kiinnitä taka-asennuskannakkeet ja takakulmatuet turvakaareen neljällä lukkopultilla (5/16 × 2¾ tuumaa) ja neljällä mutterilla (5/16 tuumaa) (Kuva 34).

Kiinnitä takasäleikkö turvakaareen kahdella lukkopultilla (5/16 × 2¾ tuumaa) ja kahdella mutterilla (5/16 tuumaa) (Kuva 34).
Asenna ristiputket löysästi taka-asennuskannakkeisiin ja takakulmatukiin neljällä lukkopultilla (5/16 × 1¾ tuumaa) ja neljällä laippamutterilla (5/16 tuumaa) kuvan mukaisesti (Kuva 35).

Asenna etuasennuskannakkeet ja etukulmatuet löysästi ristiputkiin ja tuulilasin tukiin kahdeksalla lukkopultilla (5/16 × 1¾ tuumaa) ja kahdeksalla laippamutterilla (5/16 tuumaa) kuvan mukaisesti (Kuva 35).
Asenna eturistituki löysästi etuasennuskannakkeisiin ja kulmatukiin neljällä lukkopultilla (5/16 × 1¾ tuumaa) ja neljällä laippamutterilla (5/16 tuumaa) kuvan mukaisesti (Kuva 36).

Kiinnitä etutuki eturistitukeen kahdella kuusiolaippapultilla (¼ × 1½ tuumaa) ja kahdella mutterilla (¼ tuumaa) (Kuva 37).

Kiristä kaikki löysät kiinnikkeet.
Liu’uta istuinkokoonpano tappeihin ja laske se (Kuva 65).

Vaiheeseen tarvittavat osat:
| Oikeanpuoleinen ovikokoonpano | 1 |
| Vasemmanpuoleinen ovikokoonpano | 1 |
| Oven lieka | 2 |
| Oikeanpuoleisen oven sarana | 2 |
| Vasemmanpuoleisen oven sarana | 2 |
| Lukkopultti (5/16 × 2¾ tuumaa) | 4 |
| Olkatappi (5/16 × ½ tuumaa) | 4 |
| Välikappale | 4 |
| Laippamutteri (5/16 tuumaa) | 8 |
Katso kuvaa (Kuva 39) seuraavia vaiheita suoritettaessa.
Kiinnitä vasemman- ja oikeanpuoleisen oven saranat turvakaareen neljällä lukkopultilla (5/16 × 2¾ tuumaa) ja neljällä laippamutterilla (5/16 tuumaa).
Note: Näillä kiinnitystarvikkeilla kiinnitetään myös takasäleikön oikea ja vasen puoli turvakaareen.
Aseta välikappale kuhunkin oven saranaan.
Levitä kuhunkin oven saranaan ohut kerros rasvaa.
Asenna molemmat ovikokoonpanot liu’uttamalla ovet ovien saranoihin.
Note: Varmista, että molemmat ovet kääntyvät helposti. Säädä oven lukitustappia niin, että se on ovenkahvan salvan keskellä.
Kiinnitä ovien lieat ovikokoonpanoihin ja ristiputkiin neljällä olkatapilla (5/16 × ½ tuumaa) ja neljällä laippamutterilla (5/16 tuumaa).

Nosta konepellin kummallakin puolella olevien kumisalpojen kahva (Kuva 40).

Kierrä konepeltiä eteenpäin.
Tue konepeltiä, työnnä nivelsalpaa sisäänpäin ja liikuta konepeltiä taaksepäin, kunnes konepellin liitintappi irtoaa salvasta (Kuva 41).

Toista vaihe 3 konepellin toisella puolella.
Irrota konepelti koneesta.
Tue puskuria ja irrota kahdeksan laippakantapulttia, joilla puskuri on kiinnitetty puskurin kiinnikkeisiin ja ajovalojen kannattimiin (Kuva 42).

Irrota puskuri koneesta.
Vaiheeseen tarvittavat osat:
| Ajovalon suojus | 2 |
| Laippapultti (5/16 × ⅝ tuumaa) | 4 |
Irrota koneen johdinsarjan 2-istukkainen liitin ajovalon takana olevasta 2-nastaisesta liittimestä (Kuva 43).
Note: Säilytä kiinnikkeet kokoamista varten.

Irrota kolme kiinnikettä kolmesta ajovalon säätömutterista ja irrota ajovalo ajovalon kannattimesta (Kuva 43).
Tarkista, onko ajovalojen asennuskannakkeissa kiinnitysreiät ajovalojen suojuksia varten.
Jos ajovalojen asennuskannakkeissa ei ole kiinnitysreikiä, poraa kaikkiin ajovalojen asennuskannakkeisiin kaksi 11 mm:n (7/16 tuuman) reikää seuraavan kuvan mittojen mukaan (Kuva 44).

Kiinnitä ajovalojen suojukset ajovaloihin kuvan mukaisesti (Kuva 45).

Kohdista kolme ajovalon säätömutteria ajovalon asennuskannakkeen reikien läpi ja kiinnitä mutterit kiinnikkeillä (Kuva 43), jotka irrotettiin vaiheessa 2.

Kytke koneen johdinsarjan 2-istukkainen liitin ajovalon takana olevaan 2-nastaiseen liittimeen (Kuva 46).
Kiinnitä ajovalon suojus ajovalojen asennuskannakkeisiin (Kuva 45) neljällä laippapultilla (5/16 × ⅝ tuumaa).

Vaiheeseen tarvittavat osat:
| Pallonkerääjän kannatin | 1 |
| Alakannatin | 1 |
| Laippakantapultti (⅜ × 1 tuumaa) | 14 |
| Laippalukkomutteri (⅜ tuumaa) | 14 |
Kiinnitä pallonkerääjän kannatin puskurin tukeen kuvan mukaisesti (Kuva 48).

Kiinnitä alakannatin löysästi pallonkerääjän kannattimeen (Kuva 49) neljällä laippapultilla (⅜ × 1 tuumaa) ja neljällä laippalukkomutterilla (⅜ tuumaa).

Kohdista alakannattimen takimmainen reuna keskikiskon levyn huoltoaukon reunaan (Kuva 50).

Merkitse alakannattimen neljän reiän sijainnit keskikiskon levyyn kuvan mukaisesti (Kuva 50).
Irrota neljä laippapulttia (⅜ × 1 tuumaa), neljä laippalukkomutteria (⅜ tuumaa) ja alakannatin pallonkerääjän kannattimesta (Kuva 49).
Merkitse pistepuikolla vaiheessa 4 keskikiskon levyyn tehdyt neljä merkintää.
Poraa neljä 10 mm:n (⅜ tuuman) reikää keskikiskon levyyn vaiheessa 6 pistepuikolla tehtyihin merkintöihin kuvan mukaisesti Kuva 51.

Kiinnitä alakannatin, pallonkerääjän kannatin ja keskikiskon levy löysästi kuvan mukaisesti (Kuva 52) kahdeksalla laippapultilla (⅜ × 1 tuumaa) ja kahdeksalla laippalukkomutterilla (⅜ tuumaa).

Merkitse alakannattimen kuuden reiän sijainnit keskikiskon levyyn kuvien mukaisesti (Kuva 53, Kuva 54 ja Kuva 55).



Irrota kahdeksan laippapulttia (⅜ × 1 tuumaa), kahdeksan laippalukkomutteria (⅜ tuumaa), alakannatin ja pallonkerääjän kannatin koneesta (Kuva 52).
Merkitse pistepuikolla vaiheessa 2 keskikiskon levyyn tehdyt kuusi merkintää.
Poraa kuusi 10 mm:n (⅜ tuuman) reikää keskikiskon levyyn vaiheessa 4 pistepuikolla tehtyihin merkintöihin.

Tee puskurin takaosassa merkintä 2,5 cm puskurin pohjan yläpuolelle painautuneella keskialueella kuvan mukaisesti (Kuva 60).

Leikkaa merkitty alue, jotta pallonkerääjän kannattimelle saadaan tilaa.
Tue puskuria niin, että se kohdistuu puskurin ja ajovalon kiinnikkeeseen kuvan mukaisesti (Kuva 42).
Asenna puskuri kahdeksalla laippakantapultilla, jotka irrotettiin kohdassa Konepellin ja puskurin irrotus.
Kierrä konepellin etuosa eteenpäin ja kohdista konepellin etuosan liitintappi sitä vastaavaan jousisalpaan kohdan Konepellin ja puskurin irrotus kuvan mukaisesti (Kuva 41).
Työnnä liitintappi loveen niin, että nivelsalpa lukitsee sen.
Toista vaihe 2 konepellin toisella puolella.
Laske konepelti alas ja kiinnitä se kumisalvoilla konepellin joka puolella kuvan mukaisesti (Kuva 40).
Vaiheeseen tarvittavat osat:
| Tuulilasi | 1 |
| Olkatappi (5/16 × 1¼ tuumaa) | 8 |
| Kuusiolaippapultti (¼ × 1½ tuumaa) | 5 |
| Kumiholkki | 16 |
| Tukialuslaatta | 8 |
| Tuulilasin tukikokoonpano | 1 |
| Tuulilasin kannake | 1 |
| Mutteri (5/16 tuumaa) | 8 |
| Mutteri (¼ tuumaa) | 5 |
Kiinnitä tuulilasin kannake tuulilasin tukikokoonpanoon yhdellä kuusiolaippapultilla (¼ × 1½ tuumaa) ja yhdellä mutterilla (¼ tuumaa) (Kuva 61).

Kiinnitä tuulilasin tukikokoonpano tuulilasin vasempaan ja oikeaan tukeen neljällä kuusiolaippapultilla (¼ × 1½ tuumaa) ja neljällä mutterilla (¼ tuumaa) (Kuva 61).
Kiinnitä tuulilasi kahdeksalla olkatapilla (5/16 × 1¼ tuumaa), kahdeksalla tukialuslaatalla, 16 kumiholkilla ja kahdeksalla mutterilla (5/16 tuumaa) kuvan mukaisesti (Kuva 62).

Vaiheeseen tarvittavat osat:
| Lukitustappi | 2 |
| Painealuslaatta | 4 |
| Tapin suojus | 2 |
| Vastamutteri | 2 |
Kohdista lukitustappi ja tapin suojus asennuskannakkeen aukkoon kuvan mukaisesti (Kuva 63).
Aseta lukitustappi (ensin ilman aluslaattoja) tapin suojukseen (Kuva 63).
Note: Jos lukitustappi ei ole keskellä oven salpaa, lisää yksi tai kaksi painealuslaattaa. Kohdista lukitustappi ovenkahvan salpaan painealuslaatoilla.

Kohdista lukitustappi ja vastamutteri asennuskannakkeen aukon takaosaan (Kuva 63).
Kiristä vastamutteri lukitustappiin käsin (Kuva 63).
Vaiheeseen tarvittavat osat:
| Häikäisysuoja | 1 |
| Kiinnike | 2 |
| Tiivistealuslaatta | 4 |
| Kuusiolaippapultti (¼ × 1 tuumaa) | 4 |
| Kitka-aluslaatta | 2 |
| Muovialuslaatta | 4 |
| Laippaholkki | 2 |
Asenna häikäisysuoja etulevyihin kahdella kiinnikkeellä, kahdella tiivistealuslaatalla ja kahdella kuusiolaippapultilla (¼ × 1 tuumaa) kuvan mukaisesti (Kuva 64).
Important: Lisää kierrelukitetta kuusiolaippapultteihin ennen asennusta.

Asenna häikäisysuoja takaristitukeen kahdella kuusiolaippapultilla (¼ × 1 tuumaa), kahdella tiivistealuslaatalla, kahdella kitka-aluslaatalla, neljällä muovialuslaatalla ja kahdella laippaholkilla (Kuva 65).
Important: Lisää kierrelukitetta kuusiolaippapultteihin ennen asennusta.
Important: Varmista, että muovialuslaatat asennetaan häikäisysuojan ylä- ja alaosaan, sillä näin ehkäistään häikäisysuojan vaurioituminen.

Sähkökäyttöiset koneet
Kytke akku. Lisätietoja on koneen käyttöoppaassa.
Note: Kiinnitä akkujen kytkennät huolellisesti ohjeiden mukaan. Kytke akun pääpluskaapeli (punainen) ja sitten päämiinuskaapeli (musta).
Bensiinikäyttöiset koneet
Kiinnitä akkualusta oikealle puolelle aikaisemmin irrotetulla kahdella laippakantapultilla (5/16 × ¾ tuumaa) kohdan Sivupaneelien irrotus kuvan mukaisesti (Kuva 11).
Kytke pluskaapeli (+) akkuun pultilla ja mutterilla (Kuva 10).
Kytke miinuskaapeli (–) akkuun pultilla ja mutterilla (Kuva 10).