Important: Du kan ikke bruge eller montere børsteafskærmningssættet (model 07145) med dette sæt.
Note: Maskinens venstre og højre side er som set fra den normale betjeningsposition.
Parker maskinen på en plan flade.
Aktiver parkeringsbremsen.
Sluk motoren, og tag nøglen ud.

Skub sædet fremad til den hævede position.
Skub sædet ud til siden af tapperne, og løft sædet opad (Figur 2).

Frakobl batterierne. Se maskinens betjeningsvejledning.
Note: Følg nøje proceduren til frakobling af batterierne. Frakobl minushovedbatterikablet (sort), og frakobl derefter plushovedbatterikablet (rødt).
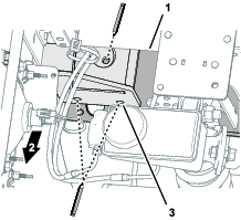
Tag opladeren og opladerkablet ud af opladerens beslag (Figur 5).

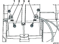
Fjern de 4 torx-skruer (M6,0 x 22 mm), der fastgør opladerens beslag til venstre sidepanel (Figur 6).

Fjern de 4 torx-skruer (M6,0 x 22 mm) fra venstre sidepanel, og fjern det (Figur 7).

Gentag trin 4 på højre side.
Kobl udluftningsslangen og brændstofrøret fra brændstoftanken (Figur 8).
Under visse forhold er brændstof meget brandfarligt og yderst eksplosivt. En brand eller eksplosion forårsaget af brændstof kan give dig eller andre forbrændinger samt medføre tingsskade.
Tap brændstoffet af brændstoftanken, når motoren er kold. Dette skal gøres udendørs og i et åbent område. Tør spildt brændstof op.
Ryg aldrig, når du håndterer brændstof, og hold dig på afstand af åben ild eller steder, hvor brændstofdampene kan antændes af en gnist.
Fjern de 2 skruer, der fastgør tilholderen til venstre sidepanel, og fjern tilholderen (Figur 8).
Fjern flangebolten, der fastgør brændstoftanken til brændstoftankens bakke, og fjern brændstoftanken (Figur 8).

Fjern de 6 torx-skruer (M6,0 x 22 mm) fra venstre sidepanel, og fjern sidepanelet (Figur 9).

Frakobl batteriets minuskabel (–) fra batteriet og derefter pluskablet (+), som vist i Figur 10.

Fjern de 2 flangehovedbolte (5/16" x ¾"), der fastgør batteribakken til stellet, og de 4 torx-skruer (M6,0 x 22 mm), der fastgør højre sidepanel, og fjern det højre sidepanel (Figur 11).
Note: Batteriet afmonteres med det højre sidepanel som vist i Figur 11.


Fjern de 10 plastnitter og kabelbåndet fra hvert gummidæksel, og afmonter gummidækslerne (Figur 13).

Dele, der skal bruges til dette trin:
| Gulvafstiver | 2 |
| Flangehovedbolte (5/16" x 1") | 20 |
| Flangelåsemøtrik (5/16") | 20 |

Få gulvafstiveren til at flugte med maskinen på følgende måde:
Få gulvafstiverens flanger til at flugte med maskinens sidestelskinne, forreste gulvpladeskinne og bageste stelskinne (Figur 15).
Ret gulvafstiveren ind, så den er parallel med gulvet (Figur 15).

Klem gulvafstiveren fast på sidestelskinnen og gulvpladeskinnerne.
Brug gulvafstiveren som skabelon, og markér hullernes placering på sidestelskinnen og gulvpladeskinnerne (Figur 15, Figur 16 og Figur 17).


Fjern gulvafstiveren fra maskinen.
Udstans de 10 mærker, du lavede i trin 3 af Boring af stelskinnerne.

Bor side- og gulvpladeskinnerne ved udstansningsmærkerne med et borehoved på 8 mm (5/16") (Figur 18).
Gentag trin 1 til 6 for gulvafstiveren på den anden side af maskinen.
Få hullerne i gulvafstiveren til at flugte med de huller, du borede i side- og gulvpladeskinnerne (Figur 19).

Monter gulvafstiveren på side- og gulvpladeskinnerne med 10 flangehovedbolte (5/16" x 1") og 10 flangelåsemøtrikker (5/16") som vist i Figur 19.
Tilspænd flangehovedboltene og flangelåsemøtrikkerne med et moment på 19,8 til 25,4 Nm.
Gentag trin 2 til 3 for gulvafstiveren på den anden side af maskinen.
Dele, der skal bruges til dette trin:
| Venstre styrtbøjlebeslag | 1 |
| Højre styrtbøjlebeslag | 1 |
| Flangehovedbolt (½" x 3") | 6 |
| Flad spændeskive (½") | 10 |
| Låsemøtrik (½") | 6 |
| Styrtbøjle | 1 |
| Flangehovedbolt (½" x 3½") | 4 |
| Låsemøtrik (½") | 4 |
| Kabelbånd | 2 |
| Plastnitte | 4 |
Vær forsigtig, når du borer hullerne i højre side af stellet på en elektrisk maskine.
Hvis du borer for langt, kan du beskadige batterierne eller andre komponenter.
Ret et styrtbøjlebeslag ind efter de 2 huller bag sædesoklen og hullet mod fronten af stelvangen som vist i Figur 20.

Brug en klemme til at fastgøre styrtbøjlebeslaget.
Marker hulplaceringerne på styrtbøjlebeslaget (Figur 20).
Brug et styrtbøjlebeslag som retningslinje, og bor 3 huller (13,5 mm / 17/32") i rammen (Figur 21).

Gentag proceduren på den anden side.
Tilskær gummidækslerne vha. målene, der er vist i Figur 22.
Note: Tilskæringerne i gummidækslet giver plads til at montere styrtbøjlens beslag.

Monter hvert gummidæksel med de 10 plastnitter, du fjernede tidligere, og et kabelbånd (Figur 23).
Note: Hvis de nitter, du fjernede tidligere, er beskadigede eller mangler, skal de udskiftes med de nitter, der følger med dette sæt.

Tilskær sidepanelerne vha. målene, der er vist i Figur 24.

Monter et styrtbøjlebeslag med 3 flangehovedbolte (½" x 3"), 5 flade spændeskiver (½") og 3 låsemøtrikker (½") som vist i Figur 25.
Note: Sørg for, at du monterer de 2 flade spændeskiver (½") på ydersiden som vist i Figur 25.

Spænd de 3 flangehovedbolte (½" x 3") til et moment på 94 til 108 N·m.
Gentag proceduren på den anden side.
Fastgør den ene side af styrtbøjlen til et styrtbøjlebeslag med 2 flangehovedbolte (½" x 3½") og 2 låsemøtrikker (½") som vist i Figur 26.

Tilspænd de 2 flangehovedbolte (½" x 3½") til et moment på 94 til 108 N·m.
Gentag proceduren på den anden side.
Dele, der skal bruges til dette trin:
| Sikkerhedssele | 2 |
| Sædelås | 2 |
| Sekskantbolt (7/16" x 1") | 4 |
| Flad spændeskive (7/16") | 8 |
| Låsemøtrik (7/16") | 4 |
Eldrevne maskiner
Monter venstre sidepanel med de 4 torx-skruer (M6,0 x 22 mm), du fjernede tidligere, som vist i Figur 7.
Fastgør opladningsbeslaget til venstre sidepanel med de 4 torx-skruer (M6,0 x 22 mm), du fjernede tidligere, som vist i Figur 6.
Fastgør opladeren og opladerens kabel til opladerens beslag (Figur 5).
Gentag trin 1 på højre side.
Benzindrevne maskiner
Monter hvert sidepanel med de torx-skruer (M6,0 x 22 mm), du fjernede tidligere, som vist i Figur 9 og Figur 11.
Fastgør brændstoftanken til brændstoftankens bakke med den tidligere afmonterede flangehovedbolt (Figur 8).
Fastgør tilholderen til venstre sidepanel med de 2 skruer, du fjernede tidligere (Figur 8).
Tilslut udluftningsslangen og brændstofrøret til brændstoftanken (Figur 8).
Monter en sædelås med en sekskantbolt (7/16" x 1"), 2 flade spændeskiver (7/16") og en låsemøtrik (7/16") som vist i Figur 27.

Tilspænd sekskantbolten (7/16" x 1") til et moment på 68 til 81 N·m.
Gentag trin 1 og 2 for at montere den anden sædelås.
Monter sikkerhedsselen med en sekskantbolt (7/16" x 1"), 2 flade spændeskiver (7/16") og en låsemøtrik (7/16") som vist i Figur 28.

Tilspænd sekskantbolten (7/16" x 1") til et moment på 68 til 81 N·m.
Gentag trin 4 og 5 for at montere den anden sikkerhedssele.
Dele, der skal bruges til dette trin:
| Venstre forrudestøtte | 1 |
| Højre forrudestøtte | 1 |
| Forreste støtte | 1 |
| Bageste kalechestøtte | 1 |
| Venstre forreste monteringsbeslag | 1 |
| Højre forreste monteringsbeslag | 1 |
| Venstre bageste monteringsbeslag | 1 |
| Højre bageste monteringsbeslag | 1 |
| Venstre bageste hjørnebeslag | 1 |
| Højre bageste hjørnebeslag | 1 |
| Venstre forreste hjørnebeslag | 1 |
| Højre forreste hjørnebeslag | 1 |
| Forreste krydsforbindelse | 1 |
| Krydsforbindelsesrør | 2 |
| Flangemøtrik (5/16") | 30 |
| Møtrik (¼") | 2 |
| Sekskantet flangehovedbolt (¼" x 1½") | 2 |
| Bræddebolt (5/16" x 1¾") | 16 |
| Sekskantet flangebolt (5/16" x 1") | 2 |
| Bræddebolt (5/16" x 2¾") | 6 |
| Bræddebolt (5/16" x 1") | 4 |
Note: Stram ikke nogen fastgørelsesanordninger, undtagen når du bliver bedt om det.
Brug målene vist i Figur 29, og bor to huller (5/16") i ydersiden af gulvpladen på venstre og højre side af maskinen.

Brug målene vist i Figur 30, og bor et hul (5/16") i ydersiden af trinbrættet på venstre og højre side af maskinen.

Fastgør det midterste beslag på venstre og højre forrudestøtte til maskinen med 2 sekskantede flangebolte (5/16" x 1") og 2 møtrikker (5/16") i de huller, du borede (Figur 31).

Fastgør det nederste beslag på venstre og højre forrudestøtte til maskinen med 4 bræddebolte (5/16" x 1") og 4 flangemøtrikker (5/16") i de huller, du borede i trin 1 (Figur 32).

Brug 2 bræddebolte (5/16" x 2¾") og 2 flangemøtrikker (5/16") til at fastgøre bageste kalechestøtte og baggitteret til styrtbøjlen (Figur 33).

Brug 4 bræddebolte (5/16" x 2¾") og 4 flangemøtrikker (5/16") til at fastgøre de bageste monteringsbeslag og de bageste hjørnebeslag til styrtbøjlen (Figur 34).

Brug 2 bræddebolte (5/16" x 2¾") og 2 møtrikker (5/16") til at fastgøre baggitteret til styrtbøjlen (Figur 34).
Sæt krydsforbindelsesrørene løst på de bageste monteringsbeslag og de bageste hjørnebeslag med 4 bræddebolte (5/16" x 1¾") og 4 flangemøtrikker (5/16") som vist i Figur 35.

Sæt de forreste monteringsbeslag og de forreste hjørnebeslag løst på krydsforbindelsesrørene og forrudestøtterne med 8 bræddebolte (5/16" x 1¾") og 8 flangemøtrikker (5/16") som vist i Figur 35.
Sæt den forreste krydsforbindelse løst på de forreste monteringsbeslag og hjørnebeslag med 4 bræddebolte (5/16" x 1¾") og 4 flangemøtrikker (5/16") som vist i Figur 36.

Brug 2 sekskantede flangehovedbolte (¼" x 1½") og 2 møtrikker (¼") til at fastgøre den forreste støtte til den forreste krydsforbindelse (Figur 37).

Tilspænd alle løse fastgørelsesanordninger.
Skub sædet på tapperne, og sænk sædet (Figur 65).

Dele, der skal bruges til dette trin:
| Højre dørenhed | 1 |
| Venstre dørenhed | 1 |
| Dørforankring | 2 |
| Højre dørhængsel | 2 |
| Venstre dørhængsel | 2 |
| Bræddebolt (5/16" x 2¾") | 4 |
| Ansatsbolt (5/16" x ½") | 4 |
| Afstandsklods | 4 |
| Flangemøtrik (5/16") | 8 |
Se Figur 39, når du udfører følgende trin.
Brug 4 bræddebolte (5/16" x 2¾") og 4 flangemøtrikker (5/16") til at fastgøre venstre og højre dørhængsel til styrtbøjlen.
Note: Disse bolte og møtrikker fastgør også højre og venstre side af baggitteret til styrtbøjlen.
Sæt en afstandsbøsning på hvert dørhængsel.
Påfør et fint lag fedt på hvert dørhængsel.
Monter hver dørenhed ved at lade dørene glide ned på dørhængslerne.
Note: Kontroller, at hver dør kan dreje frit. Juster dørens låsestift, så den er centreret i dørens låsehåndtag.
Brug 4 ansatsbolte (5/16" x ½") og 4 flangemøtrikker (5/16") til at fastgøre dørforankringerne til dørenhederne og krydsforbindelsesrørene.

Løft gummilåsenes håndtag på hver side af motorhjelmen (Figur 40).

Drej motorhjelmen fremad.
Understøt motorhjelmen, skub drejelåsen indad, og flyt motorhjelmen bagud, indtil motorhjelmens gaffelbolt er fri af låsen (Figur 41).

Gentag trin 3 på den anden side af motorhjelmen.
Tag motorhjelmen af maskinen.
Understøt stødfangeren, og fjern de 8 flangehovedbolte, der fastgør stødfangeren på stødfangerens monteringspunkter og forlygtebeslag (Figur 42)

Afmonter stødfangeren på maskinen.
Dele, der skal bruges til dette trin:
| Forlygteværn | 2 |
| Flangebolt (5/16" x ⅝") | 4 |
Fjern 2-sokkelkonnektoren på maskinens ledningsnet fra 2-benskonnektoren bag på forlygten (Figur 43).
Note: Behold klemmerne til montering.

Fjern de 3 klemmer fra de 3 forlygtejusteringsmøtrikker, og fjern forlygten til forlygtebeslaget (Figur 43).
Efterse forlygtemonteringsbeslagene til forlygteværnenes monteringshuller.
Hvis forlygtemonteringsbeslagene ikke er udstyret med monteringshuller, skal der bores 2 huller (11 mm / 7/16") i hvert af forlygtemonteringsbeslagene i henhold til målene i Figur 44.

Monter forlygteværnene på forlygterne, som vist i Figur 45.

Ret de 3 forlygtejusteringsmøtrikker igennem hullerne i forlygtemonteringsbeslagene, og fastgør møtrikkerne med klemmen (Figur 43), du fjernede i trin 2.

Tilslut 2-sokkelkonnektoren på maskinens ledningsnet til 2-benskonnektoren bag på forlygten (Figur 46).
Fastgør forlygteværnet på forlygtemonteringsbeslagene (Figur 45) med 4 flangebolte (5/16" x ⅝").

Dele, der skal bruges til dette trin:
| Boldopsamlerbeslag | 1 |
| Nederste beslag | 1 |
| Flangebolt (⅜" x 1") | 14 |
| Flangelåsemøtrik (⅜") | 14 |
Monter boldopsamlerbeslaget på stødfangerstøtten som vist i Figur 48.

Monter løst det nederste beslag på boldopsamlerbeslaget (Figur 49) med 4 flangebolte (⅜" x 1") og 4 flangelåsemøtrikker (⅜").

Få det nederste beslags bageste kant til at flugte med midterskinnepladens inspektionsåbning (Figur 50).

Markér de 4 huller på det nederste beslag på midterskinnepladen som vist i Figur 50.
Fjern de 4 flangebolte (⅜" x 1"), 4 flangelåsemøtrikker (⅜") og det nederste beslag fra boldopsamlerbeslaget (Figur 49).
Udstans de 4 mærker, du lavede på midterskinnepladen i trin 4.
Bor 4 huller 10 mm (⅜") ind i midterskinnepladen ved udstansningsmærkerne, som du lavede i trin 6, som vist i Figur 51.

Monter løst det nederste beslag, boldopsamlerbeslaget og midterskinnepladen, som vist i Figur 52, med 8 flangebolte (⅜" x 1") og 8 flangelåsemøtrikker (⅜").

Markér de 6 huller på det nederste beslag på midterskinnepladen som vist i figurerne Figur 53, Figur 54 og Figur 55.



Fjern de 8 flangebolte (⅜" x 1"), 8 flangelåsemøtrikker (⅜"), det nederste beslag og boldopsamlerbeslaget fra maskinen (Figur 52).
Udstans de 6 mærker, du lavede på midterskinnepladen i trin 2.
Bor 6 huller 10 mm (⅜") ind i midterskinnepladen ved udstansningsmærkerne, som du lavede i trin (4).

Lav en afmærkning på bagsiden af stødfangeren 1" over stødfangerens bund i det forsænkede midterområde som vist i Figur 60.

Skær det markerede område ud for at skabe spillerum for boldopsamlerbeslaget.
Understøt stødfangeren, så den flugter med stødfanger- og forlygtemonteringen, som vist i Figur 42.
Monter stødfangeren med de 8 flangehovedbolte, du fjernede i Afmontering af motorhjelmen og stødfangeren.
Drej motorhjelmens forende fremad, og ret en gaffelbolt foran på motorhjelmen ind efter den tilsvarende fjederlås, som vist i Figur 41 af Afmontering af motorhjelmen og stødfangeren.
Skub gaffelbolten ind i hakket, så det fastgøres af drejelåsen.
Gentag trin 2 på den anden side af motorhjelmen.
Sænk motorhjelmen, og fastgør den med gummilåsene på hver side af motorhjelmen som vist i Figur 40.
Dele, der skal bruges til dette trin:
| Forrude | 1 |
| Ansatsbolt (5/16" x 1¼") | 8 |
| Sekskantet flangehovedbolt (¼" x 1½") | 5 |
| Gummibøsning | 16 |
| Reservespændeskive | 8 |
| Forrudestøtteenhed | 1 |
| Forrudebeslag | 1 |
| Møtrik (5/16") | 8 |
| Møtrik (¼") | 5 |
Brug 1 sekskantet flangehovedbolt (¼" x 1½") og 1 møtrik (¼") til at fastgøre forrudebeslaget til forrudestøtteenheden (Figur 61).

Brug 4 sekskantede flangehovedbolte (¼" x 1½") og 4 møtrikker (¼") til at fastgøre forrudestøtteenheden til højre og venstre forrudestøtte (Figur 61).
Monter forruden med 8 ansatsbolte (5/16" x 1¼"), 8 reservespændeskiver, 16 gummibøsninger og 8 møtrikker (5/16") som vist i Figur 62.

Dele, der skal bruges til dette trin:
| Låsestift | 2 |
| Trykskive | 4 |
| Stiftafskærmning | 2 |
| Kontramøtrik | 2 |
Placer låsestiften og stiftafskærmningen ud for åbningen på monteringsbeslaget som vist i Figur 63.
Sæt låsestiften (først uden spændeskiver) ind i stiftafskærmningen (Figur 63).
Note: Hvis låsestiften ikke er centreret i dørlåsen, skal der benyttes 1 eller 2 trykskiver. Brug trykskiverne til at få låsestiften til at flugte med dørhåndtagslåsen.

Juster låsestiften og kontramøtrikken på bagsiden af åbningen i monteringsbeslaget (Figur 63).
Stram kontramøtrikken på låsestiften med hånden (Figur 63).
Dele, der skal bruges til dette trin:
| Solskærm | 1 |
| Klemme | 2 |
| Forseglingsskive | 4 |
| Sekskantet flangebolt (¼" x 1") | 4 |
| Friktionsskive | 2 |
| Plastikskive | 4 |
| Flangebøsning | 2 |
Fastgør solskærmen på frontpladerne med 2 klemmer, 2 forseglingsskiver og 2 sekskantede flangebolte (¼" x 1") som vist i Figur 64.
Important: Påfør gevindlåseklæbemiddel på de sekskantede flangebolte inden montering.

Fastgør solskærmen på den bageste krydsforbindelse med to sekskantede flangebolte (¼" x 1"), to forseglingsskiver, to friktionsskiver, fire plastikskiver og to flangebøsninger (Figur 65).
Important: Påfør gevindlåseklæbemiddel på de sekskantede flangebolte inden montering.
Important: Sørg for, at plastikskiverne er fastgjort på toppen og bunden af solskærmen, da dette forhindrer beskadigelse af solskærmen.

Eldrevne maskiner
Tilslut batteriet. Se betjeningsvejledningen til maskinen.
Note: Følg nøje proceduren til tilslutning af batterierne. Tilslut plushovedbatterikablet (rødt), og tilslut derefter minushovedbatterikablet (rødt).
Benzindrevne maskiner
Fastgør batteribundpladen på højre side med de 2 flangehovedbolte (5/16" x ¾"), du fjernede tidligere, som vist i Figur 11 af Afmontering af sidepanelerne.
Tilslut batteriets pluskabel (+) til batteriet med bolten og møtrikken (Figur 10).
Tilslut batteriets minuskabel (–) til batteriet med bolten og møtrikken (Figur 10).