Important: Sie können das Rammschutzkit (Modell 07145) nicht mit diesem Kit verwenden oder installieren.
Note: Bestimmen Sie die linke und rechte Seite der Maschine anhand der normalen Sitz- und Bedienerposition.
Parken Sie die Maschine auf einer ebenen Fläche.
Aktivieren Sie die Feststellbremse.
Stellen Sie den Motor ab und ziehen Sie den Zündschlüssel ab.

Schieben Sie den Sitz vorwärts in die angehobene Stellung.
Schieben Sie den Sitz seitlich aus den Stiften heraus und heben Sie den Sitz hoch (Bild 2).

Schließen Sie die Batterien ab, siehe Bedienungsanleitung der Maschine.
Note: Schließen Sie die Batterien richtig ab. Schließen Sie das Minuskabel der Batterie (Schwarz) und dann das Pluskabel der Batterie (Rot) ab.
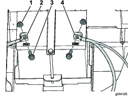
Nehmen Sie das Ladegerät und das Ladegerätkabel aus der Ladegeräthalterung (Bild 5).

Entfernen Sie die vier Torxschrauben (M6,0 x 22 mm), mit denen die Ladegeräthalterung an der linken Seitenplatte befestigt ist (Bild 6).

Entfernen Sie die vier Torxschrauben (M6,0 x 22 mm) von der linken Seitenplatte ab und nehmen sie ab (Bild 7).

Wiederholen Sie Schritt 4 an der rechten Seite.
Schließen Sie den Entlüftungsschlauch und die Kraftstoffleitung vom Kraftstofftank ab (Bild 8).
Unter bestimmten Bedingungen ist Kraftstoff extrem leicht entflammbar und hochexplosiv. Feuer und Explosionen durch Kraftstoff können Verbrennungen und Sachschäden verursachen.
Lassen Sie den Kraftstoff aus dem Kraftstofftank ab, wenn der Motor kalt ist. Tun Sie das im Freien in einem offenen Bereich. Wischen Sie verschütteten Kraftstoff auf.
Rauchen Sie nie beim Umgang mit Kraftstoff und halten einen Abstand zu offenen Flammen und Bereichen, in denen Kraftstoffdämpfe durch Funken entzündet werden könnten.
Nehmen Sie die zwei Schrauben ab, mit denen die Befestigungsplatte an der linken Seitenplatte befestigt ist, und nehmen Sie die Befestigungsplatte ab (Bild 8).
Entfernen Sie den Bundbolzen, mit dem der Kraftstofftank am Kraftstofftankfach befestigt ist, und nehmen Sie den Kraftstofftank ab (Bild 8).

Entfernen Sie die sechs Torxschrauben (M6,0 x 22 mm) von der linken Seitenplatte und nehmen Sie die Seitenplatte ab (Bild 9).

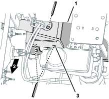
Klemmen Sie das Minuskabel (-) und dann das Pluskabel (+) von der Batterie ab, wie in Bild 10 abgebildet.

Entfernen Sie die zwei Bundkopfschrauben (5/16" x ¾"), mit denen das Batteriefach am Rahmen befestigt ist, und die vier Torxschrauben (M6,0 x 22 mm), mit denen die rechte Seitenplatte befestigt ist, und nehmen Sie die rechte Seitenplatte ab (Bild 11).
Note: Die Batterie wird mit der rechten Seitenplatte abgenommen, wie in Bild 11 abgebildet.


Entfernen Sie die zehn Kunststoffnieten und den Kabelbinder von jeder Gummiabdeckung und nehmen Sie die Gummiabdeckungen ab (Bild 13).

Für diesen Arbeitsschritt erforderliche Teile:
| Bodenstrebe | 2 |
| Bundkopfschrauben (5/16" x 1") | 20 |
| Sicherungsbundmutter (5/16") | 20 |

Fluchten Sie die Bodenstrebe wie folgt mit der Maschine aus:
Fluchten Sie die Flansche der Bodenstrebe bündig mit dem Seitenrahmenkanal, dem vorderen Bodenkanal und dem Hinterrahmenkanal der Maschine aus (Bild 15).
Fluchten Sie die Bodenstrebe parallel mit dem Boden aus (Bild 15).

Klemmen Sie die Bodenstrebe am Seitenrahmenkanal und den Bodenkanälen fest.
Verwenden Sie die Bodenstrebe als Schablone und markieren Sie die Lochpositionen am Seitenrahmenkanal und an den Bodenkanälen (Bild 15, Bild 16 und Bild 17).


Nehmen Sie die Bodenstrebe von der Maschine ab.
Stanzen Sie die 10 Markierungen aus, die Sie in Schritt 3 in Bohren der Rahmenkanäle gemacht haben.

Bohren Sie an der Stanzmarkierungen mit einem 8 mm (5/16") Bohrer in die Seitenrahmen- und Bodenkanäle (Bild 18).
Wiederholen Sie die Schritte 1 bis 6 für die Bodenstrebe an der anderen Seite der Maschine.
Fluchten Sie die Löcher in der Bodenstrebe mit den Löchern aus, die Sie in die Seitenkanal- und Bodenkanäle gebohrt haben (Bild 19).

Montieren Sie die Bodenstrebe mit zehn Bundkopfschrauben (5/16" x 1") und zehn Sicherungsbundmuttern (5/16") an den Seitenkanal- und Bodenkanälen, wie in Bild 19 abgebildet.
Ziehen Sie die Bundkopfschrauben und Sicherungsbundmuttern mit 19,8-25,4 N·m an.
Wiederholen Sie die Schritte 2 bis 3 für die Bodenstrebe an der anderen Seite der Maschine.
Für diesen Arbeitsschritt erforderliche Teile:
| Linke Überrollschutzhalterung | 1 |
| Rechte Überrollschutzhalterung | 1 |
| Bundkopfschraube (½" x 3") | 6 |
| Flachscheibe (½") | 10 |
| Sicherungsmutter (½") | 6 |
| Überrollbügel | 1 |
| Bundkopfschraube (½" x 3½") | 4 |
| Sicherungsmutter (½") | 4 |
| Kabelbinder | 2 |
| Kunststoffniete | 4 |
Passen Sie bei einer elektrischen Maschine auf, wenn Sie die Löcher an der rechten Seite des Rahmens bohren.
Wenn Sie zu tief bohren, können Sie die Batterien oder andere Teile beschädigen.
Fluchten Sie eine Überrollschutzhalterung mit den zwei Löchern hinter dem Sitzunterteil und dem Loch vorne an der Rahmenschiene aus, wie in Bild 20 abgebildet.

Befestigen Sie die Überrollschutzhalterung mit einer Klemme.
Markieren Sie die Lochpositionen an der Überrollschutzhalterung (Bild 20).
Verwenden Sie eine Überrollschutzhalterung als Schablone und bohren Sie drei 13,5 mm (17/32") große Löcher in den Rahmen (Bild 21).

Wiederholen Sie diesen Schritt an der anderen Seite.
Schneiden Sie die Gummiabdeckungen basierend auf den in Bild 22 abgebildeten Werten zu.
Note: Die Ausschnitte in der Gummiabdeckung ergeben Platz für das Befestigen der Überrollschutzhalterungen.

Befestigen Sie jede Gummiabdeckung mit den zehn vorher entfernten Kunststoffnieten und einem Kabelbinder (Bild 23).
Note: Wenn die vorher entfernten Nieten beschädigt sind oder fehlen, verwenden Sie die Nieten aus dem Kit.

Schneiden Sie die Seitenplatten basierend auf den in Bild 24 abgebildeten Werten zu.

Befestigen Sie eine Überrollschutzhalterung mit drei Bundkopfschrauben (½" x 3"), fünf Flachscheiben (½") und drei Sicherungsmuttern (½"), wie in Bild 25 abgebildet.
Note: Stellen Sie sicher, dass Sie die zwei Flachscheiben (½") an der Außenseite befestigen, wie in Bild 25 abgebildet.

Ziehen Sie die drei Bundkopfschrauben (½" x 3") mit 94-108 N·m an.
Wiederholen Sie diesen Schritt an der anderen Seite.
Befestigen Sie eine Seite des Überrollbügels mit zwei Bundkopfschrauben (½" x 3½") und zwei Sicherungsmuttern (½") an einer Überrollschutzhalterung, wie in Bild 26 abgebildet.

Ziehen Sie die zwei Bundkopfschrauben (½" x 3½") mit 94-108 N·m an.
Wiederholen Sie diesen Schritt an der anderen Seite.
Für diesen Arbeitsschritt erforderliche Teile:
| Sicherheitsgurt | 2 |
| Sitzriegel | 2 |
| Sechskantschraube (7/16" x 1") | 4 |
| Flachscheibe (7/16") | 8 |
| Sicherungsmutter (7/16") | 4 |
Für Maschinen mit Elektromotor
Befestigen Sie die linke Seitenplatte mit den vier vorher entfernten Torxschrauben (M6,0 x 22 mm), wie in Bild 7 abgebildet.
Befestigen Sie die Ladegeräthalterung mit den vier vorher entfernten Torxschrauben (M6,0 x 22 mm) an der linken Seitenplatte, wie in Bild 6 abgebildet.
Befestigen Sie das Ladegerät und das Ladegerätkabel an der Ladegeräthalterung (Bild 5).
Wiederholen Sie Schritt 1 an der rechten Seite.
Für Maschinen mit Benzinmotor
Befestigen Sie jede Seitenplatte mit den vorher entfernten Torxschrauben (M6,0 x 22 mm), wie in Bild 9 und Bild 11 abgebildet.
Befestigen Sie den Kraftstofftank mit dem vorher entfernten Bundbolzen am Kraftstofftankfach (Bild 8).
Befestigen Sie die Befestigungsplatte mit den zwei vorher entfernten Schrauben an der linken Seitenplatte (Bild 8).
Schließen Sie den Entlüftungsschlauch und die Kraftstoffleitung am Kraftstofftank an (Bild 8).
Befestigen Sie einen Sitzriegel mit einer Sechskantschraube (7/16" x 1"), zwei Flachscheiben (7/16") und einer Sicherungsmutter (7/16"), wie in Bild 27 abgebildet.

Ziehen Sie die Sechskantschraube (7/16" x 1") mit 68-81 N·m an.
Wiederholen Sie die Schritte 1 und 2 für das Befestigen des anderen Sitzriegels.
Befestigen Sie einen Sicherheitsgurt mit einer Sechskantschraube (7/16" x 1"), zwei Flachscheiben (7/16") und einer Sicherungsmutter (7/16"), wie in Bild 28 abgebildet.

Ziehen Sie die Sechskantschraube (7/16" x 1") mit 68-81 N·m an.
Wiederholen Sie die Schritte 4 und 5 für das Befestigen des anderen Sicherheitsgurts.
Für diesen Arbeitsschritt erforderliche Teile:
| Linke Windschutzscheibenstütze | 1 |
| Rechte Windschutzscheibenstütze | 1 |
| Vordere Stütze | 1 |
| Hintere Sonnendachstütze | 1 |
| Befestigungshalterung vorne links | 1 |
| Befestigungshalterung vorne rechts | 1 |
| Befestigungshalterung hinten links | 1 |
| Befestigungshalterung hinten rechts | 1 |
| Eckenverstärkung hinten links | 1 |
| Eckenverstärkung hinten rechts | 1 |
| Eckenverstärkung vorne links | 1 |
| Eckenverstärkung vorne rechts | 1 |
| Vordere Querverbindung | 1 |
| Querverbindungsrohr | 2 |
| Bundmutter (5/16") | 30 |
| Mutter (¼") | 2 |
| Sechskantbundkopfschraube (¼" x -1½") | 2 |
| Schlossschraube (5/16" x 1¾") | 16 |
| Sechskantschraube mit Flansch (5/16" x 1") | 2 |
| Schlossschraube (5/16" x 2¾") | 6 |
| Schlossschraube (5/16" x 1") | 4 |
Note: Ziehen Sie die Befestigungen erst fest, wenn Sie dazu aufgefordert werden.
Verwenden Sie die in Bild 29 abgebildeten Abmessungen und bohren Sie zwei 5/16" große Löcher in die Außenseite der Bodenplatte an der linken und rechten Seite der Maschine.

Verwenden Sie die in Bild 30 abgebildeten Abmessungen und bohren Sie ein 5/16" großes Loch in die Außenseite des Trittbretts an der linken und rechten Seite der Maschine.

Befestigen Sie die mittlere Halterung der linken und rechten Windschutzscheibenstützen mit zwei Sechkantbundbolzen (5/16" x 1") und zwei Muttern (5/16") in den Bohrlöchern, die Sie in (Bild 31) gebohrt haben.

Befestigen Sie die untere Halterung der linken und rechten Windschutzscheibenstützen mit vier Schlossschrauben (5/16" x 1") und vier Bundmuttern (5/16") in den in Schritt 1 gebohrten Löchern (Bild 32).

Befestigen Sie die hintere Sonnendachstütze und das hintere Gitter mit zwei Schlossschrauben (5/16" x 2¾") und zwei Bundmuttern (5/16") am Überrollbügel (Bild 33).

Befestigen Sie die hinteren Befestigungshalterungen und die hinteren Eckenverstärkungen mit vier Schlossschrauben (5/16" x 2¾") und vier Muttern (5/16") am Überrollbügel (Bild 34).

Befestigen Sie das hintere Gitter mit zwei Schlossschrauben (5/16" x 2¾") und zwei Bundmuttern (5/16") am Überrollbügel (Bild 34).
Befestigen Sie die Querverbindungsrohre lose mit vier Schlossschrauben (5/16" x 1¾") und vier Bundmuttern (5/16") an den hinteren Befestigungshalterungen, wie in Bild 35 abgebildet.

Befestigen Sie die vorderen Befestigungshalterungen und die vorderen Eckenverstärkungen lose mit acht Schlossschrauben (5/16" x 1¾") und acht Bundmuttern (5/16") an den vorderen Querverbindungsrohren und den Windschutzscheibenstützen, wie in Bild 35 abgebildet.
Befestigen Sie die vordere Querverbindung lose mit vier Schlossschrauben (5/16" x 1¾") und vier Bundmuttern (5/16") an den vorderen Befestigungshalterungen und den Eckenverstärkungen, wie in Bild 36 abgebildet.

Befestigen Sie die vordere Stütze mit zwei Bundkopfschrauben (¼" x 1½") und zwei Muttern (¼") an der vorderen Querverbindung (Bild 37).

Ziehen Sie alle losen Befestigungen an.
Schieben Sie den Sitz auf die Stifte und senken Sie den Stift ab (Bild 65).

Für diesen Arbeitsschritt erforderliche Teile:
| Rechte Tür | 1 |
| Linke Tür | 1 |
| Türgurt | 2 |
| Rechtes Türscharnier | 2 |
| Linkes Türscharnier | 2 |
| Schlossschraube (5/16" x 2¾") | 4 |
| Ansatzschraube (5/16" x ½") | 4 |
| Distanzstück | 4 |
| Bundmutter (5/16") | 8 |
Beziehen Sie sich beim Durchführen der folgenden Schritte auf Bild 39.
Befestigen Sie das linke und rechte Türscharnier mit vier Schlossschrauben (5/16" x 2¾") und vier Bundmuttern (5/16") am Überrollbügel.
Note: Diese Befestigungen befestigen auch die linke und rechte Seite des hinteren Gitters am Überrollbügel.
Legen Sie ein Distanzstück auf jedes Türscharnier.
Fetten Sie jedes Türscharnier leicht ein.
Schieben Sie die Türen auf die Scharniere, um jede Tür zu befestigen.
Note: Stellen Sie sicher, dass sich jede Tür ungehindert dreht. Stellen Sie den Arretierbolzen der Tür so ein, dass er im Türverriegelungsgriff zentriert ist.
Befestigen Sie die Türgurte mit vier Ansatzschrauben (5/16" x ½") und vier Bundmuttern (5/16") an den Türen und an den Querverbindungsrohren.

Heben Sie den Hebel der Gummiriegel an jeder Seite der Motorhaube an (Bild 40).

Drehen Sie die Motorhaube nach vorne.
Stützen Sie die Motorhaube ab; drücken Sie den Drehriegel nach innen und bewegen die Motorhaube nach hinten, bis der Lastösenbolzen der Motorhaube aus dem Riegel heraus ist (Bild 41).

Wiederholen Sie den Schritt 3 an der anderen Seite der Motorhaube.
Nehmen Sie die Motorhaube von der Maschine ab.
Stützen Sie die Stoßstange ab und entfernen Sie die acht Bundkopfschrauben, mit denen die Stoßstange an den Befestigungen der Stoßstange und den Scheinwerferhalterungen befestigt ist (Bild 42)

Nehmen Sie die Stoßstange von der Maschine ab.
Für diesen Arbeitsschritt erforderliche Teile:
| Scheinwerfer-Schutzvorrichtung | 2 |
| Bundbolzen (5/16" x ⅝") | 4 |
Ziehen Sie den 2-Buchsen-Stecker des Maschinenkabelbaums vom 2-Stift-Stecker hinten am Scheinwerfer ab (Bild 43).
Note: Bewahren Sie die Clips für den Einbau auf.

Entfernen Sie die drei Clips von den drei Scheinwerfer-Einstellmuttern und nehmen Sie den Scheinwerfer von der Scheinwerferhalterung ab (Bild 43).
Prüfen Sie die Befestigungshalterungen des Scheinwerfers auf die Befestigungslöcher für die Scheinwerfer-Schutzvorrichtung.
Wenn die Befestigungshalterungen des Scheinwerfers keine Befestigungslöcher haben, verwenden Sie die in Bild 44 angegebenen Werte und bohren Sie zwei 11 mm (7/16") große Löcher in jede Befestigungshalterung des Scheinwerfers.

Montieren Sie die Scheinwerfer-Schutzvorrichtungen an den Scheinwerfern, wie in Bild 45 abgebildet.

Fluchten Sie die drei Einstellmuttern des Scheinwerfers durch die Löcher in der Scheinwerfer-Befestigungshalterung aus und befestigen Sie die Muttern mit den Clips (Bild 43), die Sie in Schritt 2 entfernt haben.

Schließen Sie den 2-Buchsen-Stecker des Maschinenkabelbaums am 2-Stift-Stecker hinten am Scheinwerfer an (Bild 46).
Befestigen Sie die Scheinwerfer-Schutzvorrichtung mit den vier Bundbolzen (5/16" x ⅝") an den Befestigungshalterungen des Scheinwerfers (Bild 45).

Für diesen Arbeitsschritt erforderliche Teile:
| Befestigung für Ballaufnehmer | 1 |
| Untere Halterung | 1 |
| Bundbolzen (⅜" x 1") | 14 |
| Sicherungsbundmutter (⅜") | 14 |
Montieren Sie die Befestigung für den Ballaufnehmers an der Stoßstangenstütze, wie in Bild 48 abgebildet.

Befestigen Sie die untere Halterung mit vier Bundbolzen (⅜" x 1") und vier Sicherungsbundmuttern (⅜") lose an der Befestigung für den Ballaufnehmer (Bild 49).

Fluchten Sie die hintere Kante der unteren Halterung mit der Kante der Zugangsöffnung in der mittleren Kanalplatte aus (Bild 50).

Markieren Sie die vier Lochpositionen der unteren Halterung auf der mittleren Kanalplatte, wie in Bild 50 abgebildet.
Nehmen Sie die vier Bundbolzen (⅜" x 1"), die vier Sicherungsbundmuttern (⅜") und die untere Halterung von der Befestigung für den Ballaufnehmers ab (Bild 49).
Stanzen Sie die vier Markierungen aus, die Sie in Schritt 4 in der mittleren Kanalplatte gemacht haben.
Bohren Sie vier 10 mm große Löcher an den in Schritt 6 ausgestanzten Markierungen in die mittlere Kanalplatte, wie in Bild 51 dargestellt.

Befestigen Sie die untere Halterung, die Befestigung für den Ballaufnehmer und die mittlere Kanalplatte lose mit acht Bundbolzen (⅜" x 1") und acht Sicherungsbundmuttern (⅜"), wie in Bild 52 abgebildet.

Markieren Sie die sechs Lochpositionen der unteren Halterung auf der mittleren Kanalplatte, wie in Bild 53, Bild 54 und Bild 55 abgebildet.



Nehmen Sie die acht Bundbolzen (⅜" x 1"), acht Sicherungsbundmuttern (⅜"), die untere Halterung und die Befestigung für den Ballaufnehmer von der Maschine ab (Bild 52).
Stanzen Sie die sechs Markierungen aus, die Sie in Schritt 2 in der mittleren Kanalplatte gemacht haben.
Bohren Sie sechs 10 mm (⅜") große Löcher an den in Schritt 4 ausgestanzten Markierungen in die mittlere Kanalplatte.

Bringen Sie an der Rückseite der Stoßstange 2,5 cm über der Unterseite der Stoßstange im vertieften mittleren Bereich eine Markierung an, wie in Bild 60 abgebildet.

Schneiden Sie den markierten Bereich aus, um einen Abstand für die Befestigung für den Ballaufnehmer zu schaffen.
Stützen Sie die Stoßstange ab, sodass sie mit der Stoßstange und der Scheinwerfer-Befestigung ausgefluchtet ist, wie in Bild 42 abgebildet.
Befestigen Sie die Stoßstange mit den acht Bundkopfschrauben, die Sie in Entfernen der Motorhaube und der Stoßstange entfernt haben.
Drehen Sie die Vorderseite der Motorhaube nach vorne und fluchten Sie den Lastösenbolzen vorne an der Motorhaube mit dem entsprechenden Federriegel aus, wie in Bild 41 in Entfernen der Motorhaube und der Stoßstange abgebildet.
Schieben Sie das Lastösenbolzen in die Kerbe, sodass er durch den Drehriegel befestigt ist.
Wiederholen Sie den Schritt 2 an der anderen Seite der Motorhaube.
Senken Sie die Motorhaube ab und befestigen Sie sie mit den Gummiriegeln an jeder Seite der Motorhaube, wie in Bild 40 abgebildet.
Für diesen Arbeitsschritt erforderliche Teile:
| Windschutzscheibe | 1 |
| Ansatzschraube (5/16" x 1¼") | 8 |
| Sechskantbundkopfschraube (¼" x 1½") | 5 |
| Gummibüchse | 16 |
| Unterlegscheibe | 8 |
| Windschutzscheibenstütze | 1 |
| Windschutzscheibenhalterung | 1 |
| Mutter (5/16") | 8 |
| Mutter (¼") | 5 |
Befestigen Sie die Windschutzscheibenhalterung mit einer Sechskantbundkopfschraube (¼" x 1½") und einer Mutter (¼") an den Windschutzscheibenstützen (Bild 61).

Befestigen Sie die Windschutzscheibenstütze mit vier Sechskantbundkopfschrauben (¼" x 1½") und vier Muttern (¼") an der rechten und linken Windschutzscheibenstütze (Bild 61).
Befestigen Sie die Windschutzscheibe mit acht Ansatzschrauben (5/16" x 1¼"), acht Sicherungsscheiben, 16 Gummibüchsen und acht Muttern (5/16"), wie in Bild 62 abgebildet.

Für diesen Arbeitsschritt erforderliche Teile:
| Arretierbolzen | 2 |
| Druckscheibe | 4 |
| Stiftschutzvorrichtung | 2 |
| Klemmmutter | 2 |
Fluchten Sie den Arretierbolzen und die Bolzenschutzvorrichtung mit der Öffnung in der Befestigungshalterung aus, wie in Bild 63 abgebildet.
Stecken Sie den Arretierbolzen (zuerst ohne die Scheiben) in die Bolzenschutzvorrichtung (Bild 63).
Note: Wenn der Arretierbolzen nicht im Türriegel zentriert ist, legen Sie eine oder zwei Druckscheiben auf. Fluchten Sie den Arretierbolzen mit den Druckscheiben mit dem Türgriffriegel aus.

Fluchten Sie den Arretierbolzen und die Klemmmutter an der Rückseite der Öffnung an der Befestigungshalterung aus (Bild 63).
Ziehen Sie die Klemmmutter mit der Hand zum Arretierbolzen an (Bild 63).
Für diesen Arbeitsschritt erforderliche Teile:
| Sonnendach | 1 |
| Clip | 2 |
| Dichtungsscheibe | 4 |
| Sechskantbundbolzen (¼" x 1") | 4 |
| Reibscheibe | 2 |
| Kunststoffscheibe | 4 |
| Bundbüchse | 2 |
Befestigen Sie das Sonnendach mit zwei Clips, zwei Dichtungsscheiben und zwei Bundbolzen (¼" x 1") an den vorderen Platten, wie in Bild 64 abgebildet.
Important: Tragen Sie vor dem Einsetzen Gewindesperrmittel auf die Sechskantbundbolzen auf.

Befestigen Sie das Sonnendach mit zwei Sechskantschrauben mit Flansch (¼" x 1"), zwei Dichtungsscheiben, zwei Reibscheiben, vier Kunststoffscheiben und zwei Bundbüchsen an der hinteren Querverbindung (Bild 65).
Important: Tragen Sie vor dem Einsetzen Gewindesperrmittel auf die Sechskantbundbolzen auf.
Important: Stellen Sie sicher dass die Kunststoffscheiben unten und oben auf dem Sonnendach aufgelegt sind, um eine Beschädigung des Sonnendaches zu verhindern.

Für Maschinen mit Elektromotor
Schließen Sie die Batterie an, siehe Bedienungsanleitung der Maschine.
Note: Schließen Sie die Batterien richtig an. Schließen Sie das Pluskabel der Batterie (Rot) und dann das Minuskabel der Batterie (Schwarz) an.
Für Maschinen mit Benzinmotor
Befestigen Sie das Batterieunterteil mit den zwei vorher entfernten Bundkopfschrauben (5/16" x ¾") an der rechten Seite, wie in Bild 11 in Entfernen der Seitenwände abgebildet.
Schließen Sie das Pluskabel (+) der Batterie mit der Schraube und Mutter an der Batterie an (Bild 10).
Schließen Sie das Minuskabel (–) der Batterie mit der Schraube und Mutter an der Batterie an (Bild 10).