Important: Du kan inte använda eller installera borstskyddssatsen (modell 07145) med denna sats.
Note: Vänster och höger sida på maskinen är lika med förarens vänstra respektive högra sida vid normal körning.
Parkera maskinen på ett plant underlag.
Koppla in parkeringsbromsen.
Stäng av motorn och tag ut nyckeln.

För sätet framåt till uppfällt läge.
Skjut sätet åt sidan utanför tapparna och lyft sätet uppåt (Figur 2).

Koppla loss batterierna. Se maskinens bruksanvisning.
Note: Var noga med att följa rutinen för losskoppling av batterierna. Koppla bort huvudminuskabeln (svart) och därefter huvudpluskabeln (röd).
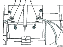
Ta bort laddaren och laddarkabeln från laddarens fäste (Figur 5).

Avlägsna de 4 torxskruvarna (M6,0 x 22 mm) som håller fast laddarens fäste på vänsterpanelen (Figur 6).

Avlägsna de 4 torxskruvarna (M6,0 x 22 mm) från den vänstra sidopanelen och ta bort den (Figur 7).

Upprepa steg 4 på höger sida.
Koppla bort luftningsröret och bränsleslangen från bränsletanken (Figur 8).
Under vissa förhållanden är bränsle extremt brandfarligt och mycket explosivt. Brand eller explosion i bränsle kan orsaka brännskador och materiella skador.
Töm bränsletanken på bränsle när motorn är kall. Gör det på en öppen plats utomhus. Torka upp utspillt bränsle.
Rök aldrig när du hanterar bränsle och håll dig borta från öppen eld eller platser där bränsleångorna kan antändas av gnistor.
Avlägsna de 2 skruvarna som håller fast låsblocket på vänsterpanelen. Ta därefter bort låsblocket (Figur 8).
Avlägsna flänsskruven som håller fast bränsletanken på tankbrickan och ta bort bränsletanken (Figur 8).

Avlägsna de 6 torxskruvarna (M6,0 x 22 mm) från vänster sidopanel och ta bort sidopanelen (Figur 9).

Lossa minuskabeln (–) från batteriet och därefter pluskabeln (+) enligt Figur 10.

Avlägsna de 2 flänsskruvarna (5/16 x ¾ tum) som håller fast batterilådan på ramen och de 4 torxskruvarna (M6,0 x 22 mm) som håller fast den högra sidopanelen och ta bort den (Figur 11).
Note: Batteriet avlägsnas tillsammans med den högra sidopanelen enligt Figur 11.


Avlägsna de tio plastnitarna och kabelbandet från varje gummiskydd och ta sedan bort gummiskydden (Figur 13).

Delar som behövs till detta steg:
| Golvstag | 2 |
| Flänsskruvar (5/16 x 1 tum) | 20 |
| Flänslåsmutter (5/16 tum) | 20 |

Rikta in golvstaget på maskinen på följande sätt:
Rikta in flänsarna på golvstaget jäms med sidoramskanalen, den främre golvkanalen och den bakre ramkanalen på maskinen (Figur 15).
Rikta in golvstaget parallellt med golvet (Figur 15).

Kläm fast golvstaget på sidoramskanalen och golvkanalerna.
Använd golvstaget som mall och markera hålen på sidoramskanalen och golvkanalerna (Figur 15, Figur 16 och Figur 17).


Ta bort golvstaget från maskinen.
Använd en körnare och märk ut mitten på de tio märkena som du gjorde i steg 3 av Borra ramkanalerna.

Borra sido- och golvkanalerna på körnarmärkena med ett 8 mm (5/16 tum) borrskär (Figur 18).
Upprepa steg 1 till och med 6 för golvstaget på maskinens andra sida.
Rikta in hålen i golvstaget mot hålen du borrade på sido- och golvkanalerna (Figur 19).

Montera golvstaget på sido- och golvkanalerna med tio flänsskruvar (5/16 x 1 tum) och tio flänslåsmuttrar (5/16 tum) enligt Figur 19.
Dra åt flänsskruvarna och flänslåsmuttrarna till 19,8–25,4 Nm.
Upprepa steg 2 till och med 3 för golvstaget på maskinens andra sida.
Delar som behövs till detta steg:
| Vänster vältskyddsfäste | 1 |
| Höger vältskyddsfäste | 1 |
| Flänsskruv (½ x 3 tum) | 6 |
| Planbricka (½ tum) | 10 |
| Låsmutter (½ tum) | 6 |
| Vältskydd | 1 |
| Flänsskruv (½ x 3½ tum) | 4 |
| Låsmutter (½ tum) | 4 |
| Kabelband | 2 |
| Plastnit | 4 |
Var försiktig när du borrar hål i den högra sidan av ramen på den elektriska maskinen.
Om du borrar för djupt kan det skada batterierna eller andra komponenter.
Justera vältskyddets fäste så det passar ihop med de båda hålen bakom sätessockeln och hålet på framsidan av ramrännan enligt Figur 20.

Fäst vältskyddsfästet på plats med hjälp av en klämma.
Märk ut platserna för hålen på vältskyddsfästet (Figur 20).
Borra tre hål (13,5 mm eller 17/32 tum i diameter) i ramen med ett vältskyddsfäste som mall (Figur 21).

Gör likadant på den andra sidan.
Skär till gummiskydden enligt de mått som anges i Figur 22.
Note: Skårorna i gummiskyddet ger dig utrymme att montera vältskyddsfästena.

Montera gummiskydden med de tio plastnitarna och kabelbanden som du tog bort tidigare (Figur 23).
Note: Om nitarna som du tog bort tidigare är skadade eller saknas kan du byta ut dem mot nitarna som ingår i den här satsen.

Skär till sidopanelerna enligt de mått som anges i Figur 24.

Fäst ena sidan av störtbågen på vältskyddsfästet med två flänsskruvar (½ x 3½ tum) och två låsmuttrar (½ tum) enligt Figur 26.

Dra åt de 2 flänsskruvarna (½ x 3½ tum) till 94–108 N·m.
Gör likadant på den andra sidan.
Delar som behövs till detta steg:
| Säkerhetsbälte | 2 |
| Sätesspärr | 2 |
| Sexkantsskruv (7/16 x 1 tum) | 4 |
| Planbricka (7/16 tum) | 8 |
| Låsmutter (7/16 tum) | 4 |
För eldrivna maskiner
Montera den vänstra sidopanelen med de fyra torxskruvar (M6,0 x 22 mm) som du tog bort tidigare enligt Figur 7.
Fäst laddarens fäste på vänsterpanelen med tidigare borttagna 4 torxskruvarna (M6,0 x 22 mm) enligt Figur 6.
Fäst laddaren och laddarkabeln på laddarens fäste (Figur 5).
Genomför steg 1 igen på höger sida.
För bensindrivna maskiner
Montera båda sidopanelerna med de torxskruvar (M6,0 x 22 mm) som du tog bort tidigare enligt Figur 9 och Figur 11.
Fäst bränsletanken på tankbrickan med den tidigare borttagna flänsskruven (Figur 8).
Fäst låsblocket på vänsterpanelen med de tidigare borttagna 2 skruvarna (Figur 8).
Anslut luftningsröret och bränsleslangen till bränsletanken (Figur 8).
Montera ena säteslåset med en sexkantsskruv (7/16 x 1 tum), 2 planbrickor (7/16 tum) och en låsmutter (7/16 tum) enligt Figur 27.

Dra åt sexkantsskruven (7/16 x 1 tum) till 68–81 N·m.
Upprepa steg 1 och 2 för att montera den andra sitsspärren.
Montera ena säkerhetsbältet med en sexkantsskruv (7/16 x 1 tum), 2 planbrickor (7/16 tum) och en låsmutter (7/16 tum) enligt Figur 28.

Dra åt sexkantsskruven (7/16 x 1 tum) till 68–81 N·m.
Upprepa steg 4 och 5 för att montera det andra säkerhetsbältet.
Delar som behövs till detta steg:
| Vänster vindrutestöd | 1 |
| Höger vindrutestöd | 1 |
| Främre stöd | 1 |
| Bakre soltaksstöd | 1 |
| Monteringsfäste vänster fram | 1 |
| Monteringsfäste höger fram | 1 |
| Monteringsfäste vänster bak | 1 |
| Monteringsfäste höger bak | 1 |
| Hörnstödvinkel vänster bak | 1 |
| Hörnstödvinkel höger bak | 1 |
| Hörnstödvinkel vänster fram | 1 |
| Hörnstödvinkel höger fram | 1 |
| Främre tvärbindning | 1 |
| Tvärgående rör | 2 |
| Flänsmutter (5/16 tum) | 30 |
| Mutter (¼ tum) | 2 |
| Sexkantsflänsskruv (¼ x 1½ tum) | 2 |
| Vagnsskruv (5/16 x 1¾ tum) | 16 |
| Sexkantsflänsskruv (5/16 x 1 tum) | 2 |
| Vagnsskruv (5/16 x 2¾ tum) | 6 |
| Vagnsskruv (5/16 x 1 tum) | 4 |
Note: Dra bara åt eventuella fästelement om så anges.
Använd måtten som visas i Figur 29 och borra 2 hål (5/16 tum) i golvplattans utsida på maskinens vänstra och högra sida.

Använd måtten som visas i Figur 30 och borra 1 hål (5/16 tum) i fotgavelns utsida på maskinens vänstra och högra sida.

Fäst vänster och höger vindrutestöds mittfäste på maskinen med två sexkantsflänsskruvar (5/16 x 1 tum) och två muttrar (5/16 tum) i hålen du borrade (Figur 31).

Fäst vänster och höger vindrutestöds nedre fäste på maskinen med fyra vagnsskruvar (5/16 x 1 tum) och fyra flänsmuttrar (5/16 tum) i hålen du borrade i steg 1 (Figur 32).

Fäst det bakre soltaksstödet och det bakre gallret vid störtbågen med två vagnsskruvar (5/16 x 2¾ tum) och två flänsmuttrar (5/16 tum) (Figur 33).

Fäst de bakre monteringsfästena och de bakre hörnstödvinklarna vid störtbågen med fyra vagnsskruvar (5/16 x 2¾ tum) och fyra muttrar (5/16 tum) (Figur 34).

Fäst det bakre gallret vid störtbågen med två vagnsskruvar (5/16 x 2¾ tum) och två muttrar (5/16 tum) (Figur 34).
Montera de tvärgående rören löst vid de bakre monteringsfästena och de bakre hörnstödvinklarna med fyra vagnsskruvar (5/16 x 1¾ tum) och fyra flänsmuttrar (5/16 tum) enligt Figur 35.

Montera de främre monteringsfästena och de främre hörnstödvinklarna löst vid de tvärgående rören och vindrutestöden med åtta vagnsskruvar (5/16 x 1¾ tum) och åtta flänsmuttrar (5/16 tum) enligt Figur 35.
Montera den främre tvärbindningen löst vid de främre monteringsfästena och hörnstödvinklarna med fyra vagnsskruvar (5/16 x 1¾ tum) och fyra flänsmuttrar (5/16 tum) enligt Figur 36.

Fäst det främre stödet på den främre tvärbindningen med två sexkantsflänsskruvar (¼ x 1½ tum) och två muttrar (¼ tum) (Figur 37).

Dra åt alla lösa fästelement.
Skjut på sätet på tapparna och sänk ned det (Figur 65).

Delar som behövs till detta steg:
| Höger dörrenhet | 1 |
| Vänster dörrenhet | 1 |
| Dörrtjuder | 2 |
| Höger dörrgångjärn | 2 |
| Vänster dörrgångjärn | 2 |
| Vagnsskruv (5/16 x 2¾ tum) | 4 |
| Ansatsskruv (5/16 x ½ tum) | 4 |
| Distansbricka | 4 |
| Flänsmutter (5/16 tum) | 8 |
Se Figur 39 när du utför de följande stegen.
Fäst höger och vänster dörrgångjärn på störtbågen med fyra vagnsskruvar (5/16 x 2¾ tum) och fyra flänsmuttrar (5/16 tum).
Note: Dessa fästelement fäster även höger och vänster sida av det bakre gallret vid störtbågen.
Sätt en distansbricka på vardera dörrgångjärn.
Stryk på ett tunt lager fett på vardera dörrgångjärn.
Montera dörrenheterna genom att trä på dörrarna på dörrgångjärnen.
Note: Kontrollera att dörrarna svänger fritt. Justera dörrspärrpinnen så att den är centrerad i dörrens spärrhandtag.
Fäst dörrtjudren på dörrenheterna och de tvärgående rören med fyra ansatsskruvar (5/16 x ½ tum) och fyra flänsmuttrar (5/16 tum).

Stötta upp stötdämparen och ta bort de åtta flänsskruvarna som fäster stötdämparen vid stötdämparfästena och strålkastarfästena (Figur 42)

Ta bort stötdämparen från maskinen.
Delar som behövs till detta steg:
| Strålkastarskydd | 2 |
| Flänsskruv (5/16 x 5/8 tum) | 4 |
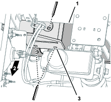
Ta bort maskinkablagets kontakt med två uttag från kontakten med två stift på baksidan av strålkastaren (Figur 43).
Note: Spara klämmorna för montering.

Ta bort de tre klämmorna från de tre strålkastarjustermuttrarna och ta bort strålkastaren från strålkastarfästet (Figur 43).
Se om det finns monteringshål för strålkastarskydden på strålkastarens monteringsfästen.
Om strålkastarens monteringsfästen inte har monteringshål ska du använda måtten i Figur 44 för att borra två hål (11 mm eller 7/16 tum) i varje monteringsfäste för strålkastaren.

Montera strålkastarskydden på strålkastarna enligt Figur 45.

Rikta in de tre strålkastarjustermuttrarna genom hålen i strålkastarens monteringsfäste och fäst muttrarna med klämmorna (Figur 43) som du tog bort i steg 2.

Anslut maskinkablagets kontakt med två uttag till kontakten med två stift på baksidan av strålkastaren (Figur 46).
Fäst strålkastarskyddet på strålkastarens monteringsfästen (Figur 45) med de fyra flänsskruvarna (5/16 x ⅝ tum).

Delar som behövs till detta steg:
| Bollplockarfäste | 1 |
| Nedre fäste | 1 |
| Flänsskruv (⅜ x 1 tum) | 14 |
| Flänslåsmutter (⅜ tum) | 14 |
Montera bollplockarfästet på stötdämparstödet enligt Figur 48.

Montera det nedre fästet löst på bollplockarfästet (Figur 49) med fyra flänsskruvar (⅜ x 1 tum) och fyra flänslåsmuttrar (⅜ tum).

Rikta in den bakre kanten på det nedre fästet längs kanten på serviceöppningen på mittkanalsplattan (Figur 50).

Markera det nedre fästets fyra hål på mittkanalsplattan enligt Figur 50.
Ta bort de fyra flänsskruvarna (⅜ x 1 tum), de fyra flänslåsmuttrarna (⅜ tum) och det nedre fästet från bollplockarfästet (Figur 49).
Använd en körnare och märk ut mitten på de fyra hålen som du gjorde på mittkanalsplattan i steg 4.
Borra fyra hål (10 mm) i mittkanalsplattan vid körnarmärkena som du gjorde i steg 6 enligt Figur 51.

Montera det nedre fästet, bollplockarfästet och mittkanalsplattan löst enligt Figur 52 med åtta flänsskruvar (⅜ x 1 tum) och åtta flänslåsmuttrar (⅜ tum).

Markera det nedre fästets sex hål på mittkanalsplattan enligt fig. Figur 53, Figur 54 och Figur 55.



Ta bort de åtta flänsskruvarna (⅜ x 1 tum), de åtta flänslåsmuttrarna (⅜ tum), det nedre fästet och bollplockarfästet från maskinen (Figur 52).
Använd en körnare och märk ut mitten på de sex hålen som du gjorde på mittkanalsplattan i steg 2.
Borra sex hål (10 mm eller ⅜ tum) i mittkanalsplattan vid körnarmärkena som du gjorde i steg 4.

Gör en markering 2,54 cm från den nedre kanten i fördjupningen på baksidan av stötdämparen, enligt Figur 60.

Skär ut det markerade området för att ge plats för bollplockarfästet.
Stötta upp stötdämparen så att den är inriktad mot stötdämpar- och strålkastarfästet enligt Figur 42.
Montera stötdämparen med de åtta flänsskruvarna som togs bort i Ta bort huven och stötdämparen.
Rikta in en sprintbult på huvens framsida med motsvarande fjäderlås med huvens främre del roterad framåt enligt Figur 41 av Ta bort huven och stötdämparen.
För in sprintbulten i skåran så att den fästs med vridningsspärren.
Upprepa steg 2 på andra sidan av huven.
Sänk ned huven och säkra den med gummispärrarna på vardera sidan av huven enligt Figur 40.
Delar som behövs till detta steg:
| Vindruta | 1 |
| Ansatsskruv (5/16 x 1¼ tum) | 8 |
| Sexkantsflänsskruv (¼ x 1½ tum) | 5 |
| Gummibussning | 16 |
| Extra bricka | 8 |
| Vindrutestöd | 1 |
| Vindrutefäste | 1 |
| Mutter (5/16 tum) | 8 |
| Mutter (¼ tum) | 5 |
Fäst vindrutefästet på vindrutestödet med en sexkantsflänsskruv (¼ x 1½ tum) och en mutter (¼ tum) (Figur 61).

Fäst vindrutestödet på de högra och vänstra vindrutestöden med fyra sexkantsflänsskruvar (¼ x 1½ tum) och fyra muttrar (¼ tum) (Figur 61).
Montera vindrutan med åtta ansatsskruvar (5/16 x 1¼ tum), åtta extra brickor, sexton gummibussningar och åtta muttrar (5/16 tum) enligt Figur 62.

Delar som behövs till detta steg:
| Spärrpinne | 2 |
| Tryckbricka | 4 |
| Bultskydd | 2 |
| Kontramutter | 2 |
Rikta in spärrpinnen och bultskyddet mot öppningen i monteringsfästet enligt Figur 63.
För in spärrpinnen (utan brickorna till en början) i bultskyddet (Figur 63).
Note: Om spärrpinnen inte är centrerad i dörrspärren ska du lägga till en eller två av tryckbrickorna. Använd tryckbrickorna för att rikta in spärrpinnen mot dörrhandtagets spärr.

Rikta in spärrpinnen och kontramuttern på baksidan av monteringsfästets öppning (Figur 63).
Dra åt kontramuttern på spärrpinnen för hand (Figur 63).
Delar som behövs till detta steg:
| Solskärm | 1 |
| Klämma | 2 |
| Tätningsbricka | 4 |
| Sexkantsflänsskruv (¼ x 1 tum) | 4 |
| Friktionsbricka | 2 |
| Plastbricka | 4 |
| Flänsbussning | 2 |
Montera solskärmen på de främre plattorna med två klämmor, två tätningsbrickor och två sexkantsskruvar (¼ x 1 tum) enligt Figur 64.
Important: Stryk på gängtätningsmassa på sexkantsskruvarna innan du monterar.

Montera solskärmen på den bakre tvärbindningen med två sexkantsskruvar (¼ x 1 tum), två tätningsbrickor, två friktionsbrickor, fyra plastbrickor och två flänsbussningar (Figur 65).
Important: Stryk på gängtätningsmassa på sexkantsskruvarna innan du monterar.
Important: Kontrollera att plastbrickorna har monterats på både överdelen och underdelen på solskärmen eftersom detta förhindrar att solskärmen skadas.

För eldrivna maskiner
Anslut batteriet. Se maskinens bruksanvisning.
Note: Var noga med att följa rutinen för anslutning av batterierna. Anslut huvudpluskabeln (röd) och därefter huvudminuskabeln (svart).
För bensindrivna maskiner
Fäst batterilådan på höger sida med de två tidigare borttagna flänsskruvarna (5/16 x ¾ tum) enligt Figur 11 av Avlägsna sidopanelerna.
Anslut pluskabeln (+) till batteriet med skruven och muttern (Figur 10).
Anslut minuskabeln (–) till batteriet med skruven och muttern (Figur 10).