Important: 无法通过此套件使用或安装 Brush Guard 套件(07145 型号)。
Note: 请根据正常操作位置确定机器的左右侧。
将机器停在水平地面上。
接合驻车刹车。
关闭发动机并拔下钥匙。

将座椅组件向前推到升起位置。
将座椅组件滑出到销钉的一侧,向上提出座椅组件(图 2)。

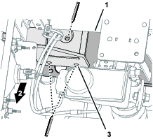
从油箱上断开通气管和燃油管线(图 8)。
在特定条件下,燃油极为易燃易爆。燃油起火或爆炸会灼伤您和他人,而且还会造成财产损失。
发动机冷却下来后,将燃油排出油箱。请在室外开阔区域排油。擦干净溢出的燃油。
处理燃油时切勿吸烟,而且要远离明火或火花可能点燃燃油烟气的场所。
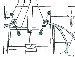
卸下将压紧装置固定到左侧板上的 2 个螺丝,然后取下压紧装置(图 8)。
拧下将油箱固定到油箱托盘上的凸缘螺栓,然后取下油箱(图 8)。

卸下左侧板上的 6 个梅花头螺丝(M6.0 x 22mm),然后取下左侧板(图 9)。

如图 10 所示,先后从电池上断开负极 (–) 接线和正极 (+) 接线。

卸下将电池托盘固定到机架上的 2 个凸缘头螺栓(5/16 x ¾ 英寸),并卸下固定右侧板的 4 个梅花头螺丝(M6.0 x 22mm),然后卸下右侧板(图 11)。
Note: 如图 11 所示,电池与右侧板一块脱离。

此程序中需要的物件:
| 底板梁 | 2 |
| 凸缘头螺栓(5/16 x 1 英寸) | 20 |
| 凸缘锁紧螺母(5/16 英寸) | 20 |
此程序中需要的物件:
| 左 ROPS 支架 | 1 |
| 右 ROPS 支架 | 1 |
| 凸缘头螺栓(½ x 3 英寸) | 6 |
| 扁平垫圈(½ 英寸) | 10 |
| 锁紧螺母(½ 英寸) | 6 |
| 维护标贴 | 1 |
| 凸缘头螺栓(½ x 3½ 英寸) | 4 |
| 锁紧螺母(½ 英寸) | 4 |
| 扎带 | 2 |
| 塑料铆钉 | 4 |
使用如图 24 所示的测量值修剪侧面板。

如图 26 所示,用 2 个凸缘头螺栓(½ x 3½ 英寸)和 2 个锁紧螺母(½ 英寸)将翻车保护杆的一侧固定到 ROPS 支架上。

上紧 2 个凸缘头螺栓(½ x 3½ 英寸)扭矩至 94~108N∙m。
在另一侧重复此步骤。
此程序中需要的物件:
| 安全带 | 2 |
| 座椅闩锁 | 2 |
| 六角头螺栓(7/16 x 1 英寸) | 4 |
| 扁平垫圈(7/16 英寸) | 8 |
| 锁紧螺母 (7/16 英寸) | 4 |
此程序中需要的物件:
| 左风挡支撑 | 1 |
| 右风挡支撑 | 1 |
| 前支架 | 1 |
| 后顶篷支架 | 1 |
| 左前安装支架 | 1 |
| 右前底座支架 | 1 |
| 左后底座支架 | 1 |
| 右后底座支架 | 1 |
| 左后角撑板 | 1 |
| 右后角撑板 | 1 |
| 左前角撑板 | 1 |
| 右前角撑板 | 1 |
| 前交联 | 1 |
| 交联管 | 2 |
| 凸缘螺母(5/16 英寸) | 30 |
| 螺母(¼ 英寸) | 2 |
| 六角头凸缘螺栓(¼ x 1½ 英寸) | 2 |
| 托架螺栓(5/16 x 1¾ 英寸) | 16 |
| 六角凸缘螺栓(5/16 x 1 英寸) | 2 |
| 托架螺栓(5/16 x 2¾ 英寸) | 6 |
| 托架螺栓 (5/16 x 1 英寸) | 4 |
Note: 除非有特别说明,否则不要上紧任何紧固件。
使用图 29 中所示的尺寸,在机器左右侧的底板外侧钻 2 个孔(5/16 英寸)。

使用图 30 中所示的尺寸,在机器左右侧的脚踏板外侧钻 1 个孔(5/16 英寸)。

用 2 个六角凸缘螺栓(5/16 x 1 英寸)和 2 个螺母(5/16 英寸)将左、右风挡支撑的中间支架固定到机器上钻出的孔内(图 31)。

用 4 个托架螺栓(5/16 x 1 英寸)和 4 个凸缘螺母(5/16 英寸)将左、右风挡支撑的下支架固定到您在步骤 1 中钻出的孔内(图 32)。

使用 2 个托架螺栓(5/16 x 2¾ 英寸)和 2 个凸缘螺母(5/16 英寸),将后顶篷支架和后滤网固定到翻车保护杆上(图 33)。

使用 4 个托架螺栓(5/16 x 2¾ 英寸)和 4 个螺母(5/16 英寸),将后安装支架和后角撑板固定到翻车保护杆上(图 34)。

安装 2 个托架螺栓(5/16 x 2¾ 英寸)和 2 个螺母(5/16 英寸),将后滤网固定到翻车保护杆上(图 34)。
如图 35 所示,用 4 个托架螺栓(5/16 x 1¾ 英寸)和 4 个凸缘螺母(5/16 英寸)将交联管松松地安装到后安装支架和后角撑板上。

如图 35 所示,用 8 个托架螺栓(5/16 x 1¾ 英寸)和 8 个凸缘螺母(5/16 英寸)将前安装支架和前角撑板松松地安装到交联管和风挡支撑上。
如图 36 所示,用 4 个托架螺栓(5/16 x 1¾ 英寸)和 4 个凸缘螺母(5/16 英寸)将前交联松松地安装到前安装支架和角撑板上。

用 2 个六角头凸缘螺栓(¼ x 1½ 英寸)和 2 个螺母(¼英寸),将前支架固定到前交联上(图 37)。

上紧所有松的紧固件。
将座椅组件滑到销上,放下座椅组件(图 65)。

此程序中需要的物件:
| 右门组件 | 1 |
| 左门组件 | 1 |
| 门系锁 | 2 |
| 右门铰链 | 2 |
| 左门铰链 | 2 |
| 托架螺栓(5/16 x 2¾ 英寸) | 4 |
| 轴肩螺栓 (5/16 x ½ 英寸) | 4 |
| 隔片 | 4 |
| 凸缘螺母 (5/16 英寸) | 8 |
执行以下步骤时请参考 图 39。
用 4 个托架螺栓(5/16 x 2¾ 英寸)和 4 个凸缘螺母(5/16 英寸),将左、右门铰链固定到翻车保护杆上。
Note: 该五金件还可将后滤网的右侧和左侧固定到翻车保护杆上。
将隔片放至各个门铰链上。
在各个门铰链上涂上一薄层润滑脂。
将门滑动到门铰链上,安装每个门总成。
Note: 确保每个门能够自由摆动。调整门闩锁销,使其置于门闩锁把手的中心位置
用 4 个轴肩螺栓(5/16 x ½ 英寸)和 4 个凸缘螺母(5/16 英寸),将门系锁固定到门总成和交联管上。

此程序中需要的物件:
| 大灯护罩 | 2 |
| 凸缘螺栓(5/16 x ⅝ 英寸) | 4 |
从大灯后面的 2 针接头拔掉机器线束的 2 插槽接头(图 43)。
Note: 保留夹子,以备组装。

从 3 个大灯调整螺母卸下 3 个夹子,然后从大灯支架上取下大灯 (图 43)。
检查大灯安装支架是否有大灯护罩安装孔。
如果大灯安装支架没有安装孔,请使用图 44 中的测量结果在每个大灯安装支架上钻 2 个孔——11mm。

如图 45 所示,将大灯护罩组装到大灯上。

将 3 个大灯调整螺母穿过大灯安装支架中的孔,用在步骤 2 中卸下的夹子(图 43)固定螺母。

将机器线束的 2 插槽接头连接到大灯后面的 2 针接头(图 46)。
用 4 个凸缘螺栓(5/16 x ⅝ 英寸)将大灯护罩固定到大灯安装支架上(图 45)。

此程序中需要的物件:
| 捡球器安装座 | 1 |
| 底部支架 | 1 |
| 凸缘螺栓(⅜ x 1 英寸) | 14 |
| 凸缘锁紧螺母(⅜ 英寸) | 14 |
此程序中需要的物件:
| 遮阳篷 | 1 |
| 夹子 | 2 |
| 密封垫圈 | 4 |
| 六角凸缘螺栓(¼ x 1 英寸) | 4 |
| 摩擦垫圈 | 2 |
| 塑料垫圈 | 4 |
| 凸缘轴套 | 2 |