Important: Du kan ikke bruke eller installere børstevernsettet (modell 07145) sammen med dette settet.
Note: Angi hva som er høyre og venstre side på maskinen ved å stå i normal arbeidsstilling.
Parker maskinen på en jevn flate.
Sett på parkeringsbremsen.
Slå av motoren og ta ut nøkkelen.

Skyv seteenheten forover til hevet stilling.
Skyv seteenheten til siden ut av pinnene, og løft setet oppover (Figur 2).

Koble fra batteriene. Se maskinens brukerhåndbok.
Note: Følg prosedyren for frakobling av batteriene. Koble fra den negative hovedbatterikabelen (svart), og deretter den positive hovedbatterikabelen (rød).
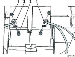
Fjern laderen og ladekabelen fra laderbraketten (Figur 5).

Fjern de fire torxskruene (M6,0 x 22 mm) som fester laderbraketten til venstre sidepanel (Figur 6).

Fjern de fire torxskruene (M6,0 x 22 mm) fra venstre sidepanel, og fjern det (Figur 7).

Gjenta trinn 4 på høyre side.
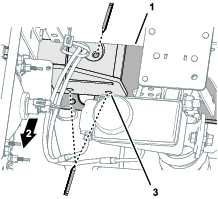
Koble utluftingsslangen og drivstoffslangen fra drivstofftanken (Figur 8).
Under visse forhold er drivstoff er meget brannfarlig og svært eksplosivt. Brann eller eksplosjon forårsaket av drivstoff kan påføre deg og andre brannskader samt ødelegge eiendom.
Tøm drivstoff ut av drivstofftanken når motoren er kald. Dette skal gjøres utendørs og på et åpent sted. Tørk opp eventuelt drivstoffsøl.
Du må aldri røyke når du håndterer drivstoff, og du må holde deg unna åpen ild eller steder der gnister kan antenne drivstoffdamp.
Fjern de to skruene som fester tilholderen til venstre sidepanel, og fjern tilholderen (Figur 8).
Fjern flensbolten som fester drivstofftanken til drivstofftankbrettet, og fjern drivstofftanken (Figur 8).

Fjern de seks torxskruene (M6,0 x 22 mm) fra det venstre sidepanelet, og fjern sidepanelet (Figur 9).

Koble den negative (–) batterikabelen og deretter den positive (+) batterikabelen fra batteriet, som vist i Figur 10.

Fjern de to flenshodeboltene (5/16 x ¾ tomme) som fester batteriholderen til rammen, og de fire torxskruene (M6,0 x 22 mm) som fester det høyre sidepanelet, og fjern det høyre sidepanelet (Figur 11).
Note: Batteriet fjernes sammen med det høyre sidepanelet, som vist i Figur 11.

Deler som er nødvendige for dette trinnet:
| Gulvbjelke | 2 |
| Flenshodebolter (5/16 x 1 tomme) | 20 |
| Flenslåsemutter (5/16 tomme) | 20 |

Innrett gulvbjelken med maskinen på følgende måte:
Innrett gulvbjelkens flens i flukt med siderammekanalen, maskinens fremre gulvkanal og maskinens bakre rammekanal (Figur 15).
Innrett gulvbjelken parallelt med gulvet (Figur 15).

Klem gulvbjelken til siderammekanalen og gulvkanalene.
Bruk gulvbjelken som mal og marker hullplasseringene på siderammekanalen og gulvkanalene (Figur 15, Figur 16 og Figur 17).


Fjern gulvbjelken fra maskinen.
Marker med kjørner de ti merkene du laget i trinn 3 av Bore rammekanaler.

Bor i side- og gulvkanaler ved kjørnermerkene med et 8 mm (5/16 tomme) bor (Figur 18).
Gjenta trinn 1 til og med 6 for gulvbjelken på den andre siden av maskinen.
Innrett hullene i gulvbjelken med hullene du boret i side- og gulvkanalene (Figur 19).

Monter gulvbjelken til side- og gulvkanalene med ti flenshodebolter (5/16 x 1 tomme) og ti flenslåsemuttere (5/16 tomme), som vist i Figur 19.
Stram flenshodeboltene og flenslåsemutterne til 19,8 til 25,4 Nm.
Gjenta trinn 2 til og med 3 for gulvbjelken på den andre siden av maskinen.
Deler som er nødvendige for dette trinnet:
| Venstre veltebeskyttelsesbrakett | 1 |
| Høyre veltebeskyttelsesbrakett | 1 |
| Flenshodebolt (½ x 3 tommer) | 6 |
| Flat skive (½ tomme) | 10 |
| Låsemutter (½ tomme) | 6 |
| Veltebøyle | 1 |
| Flenshodebolt (½ x 3½ tomme) | 4 |
| Låsemutter (½ tomme) | 4 |
| Kabelfeste | 2 |
| Plastnagle | 4 |
Vær forsiktig når du borer hull i høyre side av rammen på elektriske maskiner.
Hvis du borer for langt, kan du skade batteriene eller andre komponenter.
Innrett en veltebeskyttelsesbrakett med de to hullene bak setebasen og hullet mot fronten av rammeskinnen, som vist i Figur 20.

Fest veltebeskyttelsesbraketten på plass med en klemme.
Merk av hullposisjonene på veltebeskyttelsesbraketten (Figur 20).
Bruk en veltebeskyttelsesbrakett som mal, og bor tre hull (diameter på 13,5 mm eller 17/32 tomme) i rammen (Figur 21).

Gjenta prosedyren på motsatt side.
Lag kutt i gummidekslene utfra målene vist i Figur 22.
Note: Kuttene i gummidekslet gir plass til å montere veltebeskyttelsesbrakettene.

Monter hvert av gummidekslene med de ti plastnaglene som du fjernet tidligere og et kabelfeste (Figur 23).
Note: Hvis de tidligere fjernede naglene er skadet eller mangler, erstatt dem med naglene som følger med dette settet.

Beskjær sidepanelene utfra målene vist i Figur 24.

Monter en veltebeskyttelsesbrakett med tre flenshodebolter (½ x 3 tommer), fem flate skiver (½ tomme) og tre låsemuttere (½ tomme), som vist i Figur 25.
Note: Påse at du monterer to flate skiver (½ tomme) på utsiden, som vist i Figur 25.

Trekk til de tre flenshodeboltene (½ x 3 tommer) med et moment på 94–108 N·m.
Gjenta prosedyren på motsatt side.
Fest den ene siden av veltebøylen til en veltebeskyttelsesbrakett med to flenshodebolter (½ x 3½ tomme) og to låsemuttere (½ tomme), som vist i Figur 26.

Trekk til de to flenshodeboltene (½ x 3½ tomme) med et moment på 94-108 N·m.
Gjenta prosedyren på motsatt side.
Deler som er nødvendige for dette trinnet:
| Sikkerhetsbelte | 2 |
| Setelås | 2 |
| Sekskantbolt (7/16 x 1 tomme) | 4 |
| Flat skive (7/16 tomme) | 8 |
| Låsemutter (7/16 tomme) | 4 |
For elektriske maskiner
Monter venstre sidepanel med de fire torxskruene (M6,0 x 22 mm) du fjernet tidligere, som vist i Figur 7.
Fest laderbraketten til venstre sidepanel med de fire torxskruene (M6,0 x 22 mm) du fjernet tidligere, som vist i Figur 6.
Fest laderen og laderkabelen til laderbraketten (Figur 5).
Gjenta trinn 1 på høyre side.
For bensindrevne maskiner
Monter hvert sidepanel med torxskruene (M6,0 x 22 mm) du fjernet tidligere, som vist i Figur 9 og Figur 11.
Fest drivstofftanken til drivstofftankbrettet med flensbolten du fjernet tidligere (Figur 8).
Fest tilholderen til venstre sidepanel med de to skruene du fjernet tidligere (Figur 8).
Koble lufteslangen og drivstoffslangen til drivstofftanken (Figur 8).
Monter en setelås med en sekskantbolt (7/16 x 1 tomme), to flate skiver (7/16 tomme) og en låsemutter (7/16 tomme), som vist i Figur 27.

Trekk til sekskantbolten (7/16 x 1 tomme) med et moment på 68–81 N·m.
Gjenta trinn 1 og 2 for å montere den andre setelåsen.
Monter et sikkerhetsbelte med en sekskantbolt (7/16 x 1 tomme), to flate skiver (7/16 tomme) og en låsemutter (7/16 tomme), som vist i Figur 28.

Trekk til sekskantbolten (7/16 x 1 tomme) med et moment på 68–81 N·m.
Gjenta trinn 4 og 5 for å montere det andre sikkerhetsbeltet.
Deler som er nødvendige for dette trinnet:
| Venstre frontrutestøtte | 1 |
| Høyre frontrutestøtte | 1 |
| Fremre støtte | 1 |
| Bakre kalesjestøtte | 1 |
| Venstre, fremre monteringsbrakett | 1 |
| Høyre, fremre monteringsbrakett | 1 |
| Venstre, bakre monteringsbrakett | 1 |
| Høyre, bakre monteringsbrakett | 1 |
| Venstre, bakre hjørnebeslag | 1 |
| Høyre, bakre hjørnebeslag | 1 |
| Venstre, fremre hjørnebeslag | 1 |
| Høyre, fremre hjørnebeslag | 1 |
| Fremre tverrbinding | 1 |
| Tverrbindingsrør | 2 |
| Flensmutter (5/16 tomme) | 30 |
| Mutter (¼ tomme) | 2 |
| Flensbolt med sekskanthode (¼ x 1½ tomme) | 2 |
| Låsebolt (5/16 x 1¾ tomme) | 16 |
| Flensbolt med sekskanthode (5/16 x 1 tomme) | 2 |
| Låsebolt (5/16 x 2¾ tomme) | 6 |
| Låsebolt (5/16 x 1 tomme) | 4 |
Note: Ikke stram alle festene unntatt når det er angitt.
Bruk målene vist i Figur 29 til å bore to hull (5/16 tomme) i utsiden av gulvplaten på venstre og høyre side av maskinen.

Bruk målene vist i Figur 30 til å bore ett hull (5/16 tomme) i utsiden av fotbrettet på venstre og høyre side av maskinen.

Fest den midtre braketten på venstre og høyre frontrutestøtte til maskinen med to flensbolter med sekskanthode (5/16 x 1 tomme) og to muttere (5/16 tomme) i hullene du boret (Figur 31).

Fest den nedre braketten på venstre og høyre frontrutestøtte til maskinen med fire låsebolter (5/16 x 1 tomme) og fire flensmuttere (5/16 tomme) i hullene du boret i trinn 1 (Figur 32).

Bruk to låsebolter (5/16 x 2¾ tomme) og to flensmuttere (5/16 tomme) for å feste den bakre kalesjestøtten og bakre skjerm til veltebøylen (Figur 33).

Bruk fire låsebolter (5/16 x 2¾ tomme) og fire flensmuttere (5/16 tomme) for å feste de bakre monteringsstøttene og bakre hjørnebeslag til veltebøylen (Figur 34).

Bruk to låsebolter (5/16 x 2¾ tomme) og to muttere (5/16 tomme) for å feste bakre skjerm til veltebøylen (Figur 34).
Monter fremre tverrbindingsrør løst til de bakre monteringsbrakettene og hjørnebeslagene med fire låsebolter (5/16 x 1¾ tomme) og fire flensmuttere (5/16 tomme), som vist i Figur 35.

Monter fremre monteringsbraketter og fremre hjørnebeslag løst til tverrbindingsrørene og frontrutestøttene med åtte låsebolter (5/16 x 1¾ tomme) og åtte flensmuttere (5/16 tomme), som vist i Figur 35.
Monter fremre tverrbinding løst til de fremre monteringsbrakettene og hjørnebeslagene med fire låsebolter (5/16 x 1¾ tomme) og fire flensmuttere (5/16 tomme), som vist i Figur 36.

Bruk to flensbolter med sekskanthode (¼ x 1½ tomme) og to muttere (¼ tomme) for å feste frontrutestøtten til fremre tverrbinding (Figur 37).

Stram til alle de løse festene.
Skyv seteenheten inn på stiftene, og senk seteenheten (Figur 65).

Deler som er nødvendige for dette trinnet:
| Høyre dørenhet | 1 |
| Venstre dør | 1 |
| Dørtjoring | 2 |
| Høyre dørhengsel | 2 |
| Venstre dørhengsel | 2 |
| Låsebolt (5/16 x 2¾ tomme) | 4 |
| Skulderbolt (5/16 x ½ tomme) | 4 |
| Avstandsstykke | 4 |
| Flensmutter (5/16 tomme) | 8 |
Se Figur 39 når du utfører de følgende trinnene.
Bruk fire låsebolter (5/16 x 2¾ tomme) og fire flensmuttere (5/16 tomme) for å feste venstre og høyre dørhengsel til veltebøylen.
Note: Denne maskinvaren fester også høyre og venstre side av bakre skjerm til veltebøylen.
Plasser et avstandsstykke på hver dørhengsel.
Påfør et tynt lag smørefett på hver dørhengsel.
Monter hver dørenhet ved å skyve dørene inn på dørhengslene.
Note: Påse at hver dør svinger fritt. Juster dørlåsestiften slik at den er plassert midt i dørhåndtaket
Bruk fire skulderbolter (5/16 x ½ tomme) og fire flensmuttere (5/16 tomme) for å feste dørtjoringene til dørenhetene og tverrbindingsrørene.

Løft opp håndtaket på gummilåsene på hver side av panseret (Figur 40).

Drei panseret fremover.
Mens du støtter opp panseret, skyv svinglåsen innover og flytt panseret bakover til panserets splittpinne går klar av låsen (Figur 41).

Gjenta trinn 3 på den andre siden av panseret.
Fjern panseret fra maskinen.
Mens du støtter opp støtfangeren, fjern de åtte flenshodeboltene som fester støtfangeren til støtfangerfestene og frontlysbrakettene (Figur 42)

Fjern støtfangeren fra maskinen.
Deler som er nødvendige for dette trinnet:
| Frontlysverneplater | 2 |
| Flensbolt (5/16 x ⅝ tomme) | 4 |
Fjern maskinledningssatsens kontakt med to sokler fra kontakten med to pinner på baksiden av frontlyset (Figur 43).
Note: Behold klemmene for montering.

Fjern de tre klemmene fra de tre frontlysjusteringsmutterne og fjern frontlysene fra frontlysbraketten (Figur 43).
Sjekk at monteringsbrakettene har monteringshull for frontlysverneplatene.
Hvis monteringsbrakettene for frontlysene ikke har monteringshull, bruk målene i Figur 44 til å bore to hull (11 mm eller 7/16 tomme) i monteringsbrakettene.

Monter frontlysverneplatene på frontlysene, som vist i Figur 45.

Innrett de tre frontlysjusteringsmutterne gjennom hullene i monteringsbraketten for frontlys, og fest mutterne med klipsene (Figur 43) som du fjernet i trinn 2.

Koble maskinledningssatsens kontakt med to sokler til kontakten med to pinner på baksiden av frontlyset (Figur 46).
Fest frontlysverneplaten til frontlysmonteringsbrakettene (Figur 45) med de fire flensboltene (5/16 x ⅝ tomme).

Deler som er nødvendige for dette trinnet:
| Ballplukkerfeste | 1 |
| Nederste brakett | 1 |
| Flensskrue (⅜ x 1 tomme) | 14 |
| Flenslåsemutter (⅜ tomme) | 14 |
Monter ballplukkerfestet på støtfangerstøtten, som vist i Figur 48.

Monter den nedre braketten løst på ballplukkerfestet (Figur 49) med fire flensbolter (⅜ x 1 tomme) og fire flenslåsemuttere (⅜ tomme).

Innrett den bakerste kanten av den nederste braketten med kanten på tilgangsåpningen i den midtre kanalplaten (Figur 50).

Merk av de fire hullplasseringene på den nedre braketten på den midtre kanalplaten, som vist i Figur 50.
Fjern de fire flensboltene (⅜ x 1 tomme), fire flenslåsemuttere (⅜ tomme) og nedre brakett fra ballplukkerfestet (Figur 49).
Marker med kjørner de fire merkene du laget på den midtre kanalplaten i trinn 4.
Bor fire hull på 10 mm (⅜ tomme) i den midtre kanalplaten ved kjørnermerkene du laget i trinn 6 som vist i Figur 51.

Monter den nedre braketten, ballplukkerfestet og midtre kanalplaten løst, som vist i Figur 52, med åtte flensbolter (⅜ x 1 tomme) og åtte flenslåsemuttere (⅜ tomme).

Merk av de seks hullplasseringene på den nedre braketten på den midtre kanalplaten, som vist i figur Figur 53, Figur 54 og Figur 55.



Fjern de åtte flensboltene (⅜ x 1 tomme), åtte flenslåsemutterne (⅜ tomme), nederste brakett og ballplukkerfestet fra maskinen (Figur 52).
Marker med kjørner de seks merkene du laget på den midtre kanalplaten i trinn 2.
Bor seks hull 10 mm (⅜ tomme) inn i den midtre kanalplaten på kjørnermerkene du laget i trinn 4.

På baksiden av støtfangeren, merk av 2,5 cm over bunnen av støtfangeren i det nedtrykte området i midten, som vist i Figur 60.

Skjær ut det markerte området for å lage klaring for ballplukkerfestet.
Støtt støtfangeren slik at det den er innrettet med støtfangeren og frontlysfestet, som vist i Figur 42.
Monter støtfangeren med de åtte flenshodeboltene som ble fjernet i Fjerne panser og støtfanger.
Med fronten av panseret rotert fremover, plasser en splittpinne foran på panseret på linje med den tilhørende fjærlåsen, som vist i Figur 41 av Fjerne panser og støtfanger.
Skyv splittpinnen inn i hakket, slik at den sikres av svinglåsen.
Gjenta trinn 2 på den andre siden av panseret.
Senk panseret og fest det med gummilåsene på hver side av panseret, som vist i Figur 40.
Deler som er nødvendige for dette trinnet:
| Frontrute | 1 |
| Skulderbolt (5/16 x 1¼ tomme) | 8 |
| Flensbolt med sekskanthode (¼ x 1½ tomme) | 5 |
| Plasthylse | 16 |
| Ekstra skive | 8 |
| Frontrutestøtteenhet | 1 |
| Frontrutebrakett | 1 |
| Mutter (5/16") | 8 |
| Mutter (¼ tomme) | 5 |
Bruk en flensbolt med sekskanthode (¼ x 1½ tomme) og en mutter (¼ tomme) for å feste frontrutebraketten til frontrutestøtteenheten (Figur 61).

Bruk fire flensbolter med sekskanthode (¼ x 1½ tomme) og fire muttere (¼ tomme) for å feste frontrutestøtteenheten til venstre og høyre frontrutestøtte (Figur 61).
Monter frontruten med åtte skulderbolter (5/16 x 1¼ tommer), åtte reserveskiver, 16 gummihylser og åtte muttere (5/16 tomme), som vist i Figur 62.

Deler som er nødvendige for dette trinnet:
| Låsestift | 2 |
| Trykkskive | 4 |
| Stiftvern | 2 |
| Kontramutter | 2 |
Innrett låsestiften og stiftvernet med åpningen på monteringsbraketten som vist i Figur 63.
Sett inn låsestiften (først uten skivene) på stiftvernet (Figur 63).
Note: Hvis låsestiften ikke er sentrert i dørlåsen, setter du på 1 eller 2 av trykkskivene. Bruk trykkskivene for å innrette låsestiften med dørhåndtakslåsen.

Innrett låsestiften og låsemutteren på baksiden av åpningen på monteringsbraketten (Figur 63).
Stram låsemutteren på låsestiften for hånd (Figur 63).
Deler som er nødvendige for dette trinnet:
| Solskjerm | 1 |
| Klemme | 2 |
| Tetningsskive | 4 |
| Flensbolt med sekskanthode (¼ x 1 tomme) | 4 |
| Spennskive | 2 |
| Plastskive | 4 |
| Flensfôring | 2 |
Monter solskjermen til frontplatene med to klemmer, to forseglingsskiver og to flensbolter med sekskanthode (¼ x 1 tomme) som vist i Figur 64.
Important: Påfør gjengeforseglingsmiddel til flensboltene med sekskanthode før montering.

Monter solskjermen til den bakre tverrbindingen med to flensbolter med sekskanthode (¼ x 1 tomme), to forseglingsskiver, to spennskiver, fire plastskiver og to flensfôringer (Figur 65).
Important: Påfør gjengeforseglingsmiddel til flensboltene med sekskanthode før montering.
Important: Påse at plastskivene er montert på toppen og bunnen av solskjermen, da dette forhindrer skade på solskjermen.

For elektriske maskiner
Koble til batteriet. Se maskinens brukerhåndbok.
Note: Følg prosedyren for tilkobling av batteriene. Koble til den positive hovedbatterikabelen (rød), og deretter den negative hovedbatterikabelen (svart).
For bensindrevne maskiner
Fest batteribasen på høyre side med de to flenshodeboltene (5/16 x ¾ tomme) som ble fjernet tidligere, som vist i Figur 11 i Fjerne sidepanelene.
Koble den positive (+) batterikabelen til batteriet med bolten og mutteren (Figur 10).
Koble den negative (–) batterikabelen til batteriet med bolten og mutteren (Figur 10).