Important: Non è possibile utilizzare o montare il kit protezione spazzola (modello 07145) con questo kit.
Note: Stabilite i lati sinistro e destro della macchina dalla normale postazione di guida.
Parcheggiate la macchina su terreno pianeggiante.
Inserite il freno di stazionamento.
Spegnete il motore e togliete la chiave.

Spingete il gruppo sedile in avanti in posizione di sollevamento.
Fate scorrere il gruppo sedile sul lato estraendolo dai perni e sollevatelo (Figura 2).

Scollegate le batterie; consultate il Manuale dell'operatore della macchina.
Note: Seguite correttamente la procedura per scollegare le batterie. Scollegate il cavo negativo (nero) della batteria principale, quindi scollegate il cavo positivo (rosso) della batteria principale.
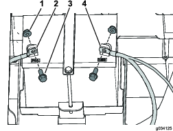
Rimuovete il caricatore e il cavo del caricatore dalla relativa staffa (Figura 5).

Rimuovete le 4 viti a testa Torx (M6,0 x 22 mm) che fissano la staffa del caricatore al pannello sinistro (Figura 6).

Rimuovete le 4 viti a testa Torx (M6,0 x 22 mm) che fissano il pannello sinistro e rimuovetelo (Figura 7).

Ripetete l'operazione 4 sul lato destro.
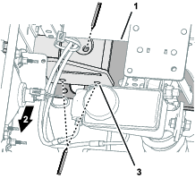
Scollegate il tubo di sfiato e il tubo di alimentazione dal serbatoio del carburante (Figura 8).
In talune condizioni il carburante è estremamente infiammabile ed altamente esplosivo. Un incendio o un'esplosione possono ustionare voi ed altre persone e causare danni.
Spurgate il carburante dal relativo serbatoio quando il motore è freddo. Eseguite questa operazione all'aperto e in un’area ampia e tergete il carburante versato.
Non fumate mai quando maneggiate il carburante e tenetevi a distanza da fiamme aperte o luoghi dove scintille possano accendere i vapori di carburante.
Rimuovete le 2 viti che fissano il dispositivo di tenuta al pannello sinistro e rimuovete il dispositivo di tenuta (Figura 8).
Rimuovete il bullone flangiato che fissa il serbatoio del carburante al relativo vassoio e rimuovete il serbatoio del carburante (Figura 8).

Rimuovete le 6 viti a testa Torx (M6,0 x 22 mm) che fissano il pannello sinistro e rimuovete il pannello (Figura 9).

Scollegate il cavo negativo (-) dalla batteria, poi scollegate quello positivo (+) come illustrato nella Figura 10.

Rimuovete i 2 bulloni a testa flangiata (5/16" x ¾") che fissano il vassoio della batteria al telaio e le 4 viti a testa Torx (M6,0 x 22 mm) che fissano il pannello destro e rimuovete il pannello (Figura 11).
Note: La batteria viene rimossa insieme al pannello destro, come illustrato nella Figura 11.


Rimuovete i 10 rivetti di plastica e la fascetta per cavi da ciascun cappuccio di gomma e rimuovete i cappucci di gomma (Figura 13).

Parti necessarie per questa operazione:
| Ancoraggio del pianale | 2 |
| Bulloni a testa flangiata (5/16" x 1") | 20 |
| Dado di bloccaggio flangiato (5/16") | 20 |

Allineate l'ancoraggio del pianale alla macchina, nel modo seguente:
Allineate le flange dell'ancoraggio del pianale a livello con il canale del telaio laterale, il canale del pianale anteriore e il canale del telaio posteriore della macchina (Figura 15).
Allineate l'ancoraggio del pianale in modo che sia parallelo al pianale (Figura 15).

Fissate l'ancoraggio del pianale al canale del telaio laterale e ai canali del pianale.
Utilizzando l'ancoraggio del pianale come riferimento, segnate le posizioni dei fori sul canale del telaio laterale e i canali del pianale (Figura 15, Figura 16 e Figura 17).


Rimuovete l'ancoraggio del pianale dalla macchina.
Punzonate i 10 segni che avete realizzato al passaggio 3 di Foratura dei canali del telaio.

Praticate un foro nei canali laterali e del pianale nei segni punzonati con una punta per trapano da 8 mm (5/16") (Figura 18).
Ripetete i passaggi da 1 a 6 per l'ancoraggio del pianale sull'altro lato della macchina.
Allineate i fori nell'ancoraggio del pianale con i fori che avete praticato nei canali laterali e del pianale (Figura 19).

Montate l'ancoraggio del pianale sui canali laterali e del pianale con 10 bulloni a testa flangiata (5/16" x 1") e 10 dadi di bloccaggio flangiati (5/16") come illustrato nella Figura 19.
Serrate i bulloni a testa flangiata e i dadi di bloccaggio flangiati a 19,8 - 25,4 N∙m.
Ripetete i passaggi da 2 a 3 per l'ancoraggio del pianale sull'altro lato della macchina.
Parti necessarie per questa operazione:
| Staffa sinistra del ROPS | 1 |
| Staffa destra del ROPS | 1 |
| Bullone a testa flangiata (½" x 3") | 6 |
| Rondella piana (½") | 10 |
| Dado di bloccaggio (½") | 6 |
| Roll bar | 1 |
| Bullone a testa flangiata (½" x 3½") | 4 |
| Dado di bloccaggio (½") | 4 |
| Fascetta per cavi | 2 |
| Rivetto di plastica | 4 |
Prestate cautela quando praticate i fori sul lato destro del telaio su una macchina elettrica.
Se praticate un foro troppo profondo, potreste danneggiare le batterie o altri componenti.
Allineate una staffa del ROPS con i 2 fori dietro la base del sedile e il foro verso la parte anteriore della guida del telaio, come illustrato nella Figura 20.

Utilizzando un morsetto, fissate in posizione la staffa del ROPS.
Segnate le posizioni dei fori sulla staffa del ROPS (Figura 20).
Utilizzando una staffa del ROPS come guida, praticate 3 fori (13,5 mm o 17/32") nel telaio (Figura 21).

Ripetete questa procedura sull'altro lato.
Tagliate le protezioni di gomma utilizzando le misure illustrate nella Figura 22.
Note: I tagli praticati nelle protezioni di gomma consentono di avere spazio per montare le staffe del ROPS.

Montate ciascun cappuccio di gomma utilizzando i 10 rivetti di plastica e una fascetta per cavi che avete rimosso in precedenza (Figura 23).
Note: Se i rivetti rimossi in precedenza sono danneggiati o mancanti, sostituiteli con i rivetti forniti in questo kit.

Rifinite i pannelli laterali utilizzando le misure illustrate nella Figura 24.

Montate una staffa del ROPS utilizzando 3 bulloni a testa flangiata (½" x 3"), 5 rondelle piane (½") e 3 dadi di bloccaggio (½") come illustrato nella Figura 25.
Note: Assicuratevi di installare le 2 rondelle piane (½") sul lato esterno, come illustrato nella Figura 25.

Serrate i 3 bulloni a testa flangiata (½" x 3") a 94–108 N∙m.
Ripetete questa procedura sull'altro lato.
Fissate un lato del roll bar a una staffa del ROPS utilizzando 2 bulloni a testa flangiata (½" x 3½") e 2 dadi di bloccaggio (½") come illustrato nella Figura 26.

Serrate i 2 bulloni a testa flangiata (½" x 3½") a 94–108 N∙m.
Ripetete questa procedura sull'altro lato.
Parti necessarie per questa operazione:
| Cintura di sicurezza | 2 |
| Fermo del sedile | 2 |
| Bullone a testa esagonale (7/16" x 1") | 4 |
| Rondella piana (7/16") | 8 |
| Dado di bloccaggio (7/16") | 4 |
Per le macchine elettriche
Montate il pannello sinistro utilizzando le 4 viti a testa Torx (M6,0 x 22 mm), rimosse in precedenza, come illustrato nella Figura 7.
Fissate la staffa del caricatore sul pannello sinistro utilizzando le 4 viti a testa Torx (M6,0 x 22 mm) rimosse in precedenza, come illustrato nella Figura 6.
Fissate il caricatore e il cavo del caricatore sulla relativa staffa (Figura 5).
Ripetete l'operazione 1 sul lato destro.
Per le macchine a benzina
Montate ciascun pannello laterale utilizzando le viti a testa Torx (M6,0 x 22 mm) rimosse in precedenza, come illustrato nella Figura 9 e Figura 11.
Fissate il serbatoio del carburante al relativo vassoio utilizzando il bullone flangiato rimosso in precedenza (Figura 8).
Fissate il dispositivo di tenuta al pannello sinistro utilizzando le 2 viti rimosse in precedenza (Figura 8).
Collegate il tubo di sfiato e il tubo di alimentazione al serbatoio del carburante (Figura 8).
Montate un fermo del sedile utilizzando un bullone a testa esagonale (7/16" x 1"), 2 rondelle piane (7/16") e un dado di bloccaggio (7/16") come illustrato nella Figura 27.

Serrate il bullone a testa esagonale (7/16" x 1") a 68–81 N∙m.
Ripetete i passaggi 1 e 2 per montare l'altro fermo del sedile.
Montate una cintura di sicurezza utilizzando un bullone a testa esagonale (7/16" x 1"), 2 rondelle piane (7/16") e un dado di bloccaggio (7/16") come illustrato nella Figura 28.

Serrate il bullone a testa esagonale (7/16" x 1") a 68–81 N∙m.
Ripetete i passaggi 4 e 5 per montare l'altra cintura di sicurezza.
Parti necessarie per questa operazione:
| Supporto del parabrezza di sinistra | 1 |
| Supporto del parabrezza di destra | 1 |
| Supporto anteriore | 1 |
| Supporto posteriore del tettuccio | 1 |
| Staffa di montaggio anteriore sinistra | 1 |
| Staffa di montaggio anteriore destra | 1 |
| Staffa di montaggio posteriore sinistra | 1 |
| Staffa di montaggio posteriore destra | 1 |
| Rinforzo angolo posteriore sinistro | 1 |
| Rinforzo angolo posteriore destro | 1 |
| Rinforzo angolo anteriore sinistro | 1 |
| Rinforzo angolo anteriore destro | 1 |
| Collegamento trasversale anteriore | 1 |
| Tubo di collegamento trasversale | 2 |
| Dado flangiato (5/16") | 30 |
| Dado (¼") | 2 |
| Bullone flangiato a testa esagonale (¼" x 1½") | 2 |
| Bullone a testa tonda (5/16" x 1¾") | 16 |
| Bullone esagonale flangiato (5/16" x 1") | 2 |
| Bullone a testa tonda (5/16" x 2¾") | 6 |
| Bullone a testa tonda (5/16" x 1") | 4 |
Note: Non serrate alcun dispositivo di fissaggio tranne quando indicato.
Utilizzando le dimensioni nella Figura 29, praticate 2 fori (5/16") all'esterno del pianale, sui lati sinistro e destro della macchina.

Utilizzando le dimensioni nella Figura 30, praticate 1 foro (5/16") all'esterno della pedana, sui lati sinistro e destro della macchina.

Fissate la staffa centrale dei supporti destro e sinistro del parabrezza alla macchina utilizzando 2 bulloni esagonali flangiati (5/16" x 1") e 2 dadi (5/16"), nei fori praticati in precedenza (Figura 31).

Fissate la staffa inferiore dei supporti destro e sinistro del parabrezza alla macchina utilizzando 4 bulloni a testa tonda (5/16" x 1") e 4 dadi flangiati (5/16"), nei fori praticati nel passaggio 1 (Figura 32).

Utilizzate 2 bulloni a testa tonda (5/16" x 2¾") e 2 dadi flangiati (5/16") per fissare il supporto posteriore del tettuccio e la griglia posteriore sul roll bar (Figura 33).

Utilizzate 4 bulloni a testa tonda (5/16" x 2¾") e 4 dadi (5/16") per fissare le staffe di montaggio posteriori e i rinforzi degli angoli posteriori sul roll bar (Figura 34).

Utilizzate 2 bulloni a testa tonda (5/16" x 2¾") e 2 dadi (5/16") per fissare la griglia posteriore sul roll bar (Figura 34).
Montate, senza serrarli, i tubi di collegamento trasversali sulle staffe di montaggio posteriori e sui rinforzi degli angoli posteriori con 4 bulloni a testa tonda (5/16" x 1¾") e 4 dadi flangiati (5/16") come illustrato nella Figura 35.

Montate, senza serrarle, le staffe di montaggio anteriori e i rinforzi degli angoli anteriori sui tubi di collegamento trasversali e sui supporti del parabrezza utilizzando 8 bulloni a testa tonda (5/16" x 1¾") e 8 dadi flangiati (5/16") come illustrato nella Figura 35.
Montate, senza serrarlo, il collegamento trasversale anteriore sulle staffe di montaggio e sui rinforzi degli angoli anteriori utilizzando 4 bulloni a testa tonda (5/16" x 1¾") e 4 dadi flangiati (5/16") come illustrato nella Figura 36.

Utilizzate 2 bulloni flangiati a testa esagonale (¼" x 1½") e 2 dadi (¼") per fissare il supporto anteriore sul collegamento trasversale anteriore (Figura 37).

Serrate tutti i dispositivi di fissaggio lenti.
Fate scorrere il gruppo sedile sui perni e abbassatelo (Figura 65).

Parti necessarie per questa operazione:
| Gruppo sportello destro | 1 |
| Gruppo sportello sinistro | 1 |
| Catena dello sportello | 2 |
| Cerniera sportello destro | 2 |
| Cerniera sportello sinistro | 2 |
| Bullone a testa tonda (5/16" x 2¾") | 4 |
| Bullone di spallamento (5/16" x ½") | 4 |
| Distanziale | 4 |
| Dado flangiato (5/16") | 8 |
Consultate la Figura 39 mentre eseguite i passaggi seguenti.
Utilizzate 4 bulloni a testa tonda (5/16" x 2¾") e 4 dadi flangiati (5/16") per fissare le cerniere degli sportelli destro e sinistro al roll bar.
Note: Questa stessa bulloneria fissa anche i lati destro e sinistro della griglia posteriore sul roll bar.
Collocate un distanziale su ciascuna cerniera.
Applicate uno strato leggero di grasso su ciascuna cerniera degli sportelli.
Montate ciascun gruppo sportello facendo scorrere gli sportelli nelle relative cerniere.
Note: Assicuratevi che gli sportelli oscillino liberamente. Regolate il perno di chiusura dello sportello in modo tale che sia centrato nel fermo della maniglia dello sportello.
Utilizzate 4 bulloni di spallamento (5/16" x ½") e 4 dadi flangiati (5/16") per fissare le catene degli sportelli ai gruppi sportello e ai tubi di collegamento trasversale.

Sollevate la stegola dei fermi in gomma su ciascun lato del cofano (Figura 40).

Ruotate il cofano in avanti.
Supportando il cofano, spingete verso l'interno il fermo orientabile e spostate il cofano all'indietro fino a quando il perno con testa del cofano non supera il fermo (Figura 41).

Ripetete il passaggio 3 sull'altro lato del cofano.
Rimuovete il cofano dalla macchina.
Supportando il paraurti, rimuovete gli 8 bulloni a testa flangiata che fissano il paraurti ai relativi supporti e alle staffe dei fari (Figura 42)

Rimuovete il paraurti dalla macchina.
Parti necessarie per questa operazione:
| Protezione del faro | 2 |
| Bullone flangiato (5/16" x ⅝") | 4 |
Rimuovete il connettore a 2 prese del cablaggio preassemblato della macchina dal connettore a 2 pin nella parte posteriore del faro (Figura 43).
Note: Conservate le graffette per il montaggio.

Rimuovete le 3 graffette dai 3 dadi di regolazione del faro e rimuovete il faro dalla relativa staffa (Figura 43).
Sulle staffe di montaggio dei fari cercate i fori di montaggio delle protezioni dei fari.
Se le staffe di montaggio dei fari non sono dotate di fori di montaggio, utilizzate le misure nella Figura 44 per praticare 2 fori di 11 mm (7/16") in ciascuna delle staffe di montaggio dei fari.

Montate le protezioni dei fari sui fari, come illustrato nella Figura 45.

Allineate i 3 dadi di regolazione del faro attraverso i fori nella staffa di montaggio del faro e fissate i dadi con le graffette (Figura 43) che avete rimosso al passaggio 2.

Collegate il connettore a 2 prese del cablaggio preassemblato della macchina al connettore a 2 pin nella parte posteriore del faro (Figura 46).
Fissate la protezione del faro alle relative staffe di montaggio (Figura 45) con i 4 bulloni a testa flangiata (5/16" x ⅝").

Parti necessarie per questa operazione:
| Supporto del raccattapalle | 1 |
| Staffa inferiore | 1 |
| Bullone flangiato (⅜" x 1") | 14 |
| Dado di bloccaggio flangiato (⅜") | 14 |
Montate il supporto del raccattapalle sul supporto del paraurti come illustrato nella Figura 48.

Montate, senza serrarla, la staffa inferiore sul supporto del raccattapalle (Figura 49) con 4 bulloni a testa flangiata (⅜" x 1") e 4 dadi di bloccaggio flangiati (⅜").

Allineate il bordo più arretrato della staffa inferiore con il bordo dell'apertura di accesso nella piastra del canale centrale (Figura 50).

Segnate i punti dei 4 fori nella staffa inferiore sulla piastra del canale centrale, come illustrato nella Figura 50.
Rimuovete i 4 bulloni a testa flangiata (⅜" x 1"), i 4 dadi di bloccaggio flangiati (⅜") e la staffa inferiore dal supporto del raccattapalle (Figura 49).
Punzonate i 4 segni che avete realizzato nella piastra del canale centrale al passaggio 4.
Praticate 4 fori di 10 mm (⅜") nella piastra del canale centrale nei segni punzonati che avete realizzato al passaggio 6 come illustrato nella Figura 51.

Montate, senza serrarla, la staffa inferiore, il supporto del raccattapalle e la piastra del canale centrale come illustrato nella Figura 52 con 8 bulloni flangiati (⅜" x 1") e 8 dadi di bloccaggio flangiati (⅜").

Segnate i punti dei 6 fori nella staffa inferiore sulla piastra del canale centrale, come illustrato nelle figure Figura 53, Figura 54 e Figura 55.



Rimuovete gli 8 bulloni flangiati (⅜" x 1"), gli 8 dadi di bloccaggio flangiati (⅜") e la staffa inferiore e il supporto del raccattapalle dalla macchina (Figura 52).
Punzonate i 6 segni che avete realizzato nella piastra del canale centrale al passaggio 2.
Praticate 6 fori di 10 mm (⅜") nella piastra del canale centrale nei segni punzonati che avete realizzato al passaggio 4.

Sul lato posteriore della macchina, misurate 2,5 cm sopra la parte inferiore del paraurti nell'area centrale concava, come illustrato nella Figura 60.

Tagliate via l'area segnata per creare uno spazio per il supporto del raccattapalle.
Supportate il paraurti in modo che si allinei al paraurti e al supporto del faro, come illustrato nella Figura 42.
Montate il paraurti con gli 8 bulloni a testa flangiata rimossi al passaggio Rimozione di cofano e paraurti.
Con la parte anteriore del cofano ruotata in avanti, allineate un perno con testa nella parte anteriore del cofano con il fermo a molla corrispondente, come illustrato nella Figura 41 di Rimozione di cofano e paraurti.
Fate scorrere il perno con testa nella scanalatura, in modo che sia fissato dal perno orientabile.
Ripetete il passaggio 2 sull'altro lato del cofano.
Abbassate il cofano e fissatelo con i fermi in gomma su ciascun lato del cofano, come illustrato nella Figura 40.
Parti necessarie per questa operazione:
| Parabrezza | 1 |
| Bullone di spallamento (5/16" x 1¼") | 8 |
| Bullone flangiato a testa esagonale (¼" x 1½") | 5 |
| Boccola di gomma | 16 |
| Rondella di riserva | 8 |
| Gruppo supporto del parabrezza | 1 |
| Staffa del parabrezza | 1 |
| Dado (5/16") | 8 |
| Dado (¼") | 5 |
Utilizzate 1 bullone flangiato a testa esagonale (¼" x 1½") e 1 dado (¼") per fissare la staffa del parabrezza al gruppo supporto del parabrezza (Figura 61).

Utilizzate 4 bulloni flangiati a testa esagonale (¼" x 1½") e 4 dadi (¼") per fissare il gruppo supporto del parabrezza ai supporti destro e sinistro del parabrezza (Figura 61).
Montate il parabrezza utilizzando 8 bulloni di spallamento (5/16" x 1¼"), 8 rondelle di riserva, 16 boccole di gomma e 8 dadi (5/16") come illustrato nella Figura 62.

Parti necessarie per questa operazione:
| Perno di chiusura | 2 |
| Rondella di spinta | 4 |
| Protezione del perno | 2 |
| Controdado | 2 |
Allineate il perno di chiusura e la relativa protezione all’apertura sulla staffa di montaggio come illustrato in Figura 63.
Inserite il perno di chiusura (prima senza le rondelle) nella protezione del perno (Figura 63).
Note: Se il perno di chiusura non è centrato nella chiusura della porta, aggiungete 1 o 2 rondelle di spinta. Usate le rondelle di spinta per allineare il perno di chiusura alla chiusura della maniglia dello sportello.

Allineate il perno di chiusura e il controdado sul retro dell'apertura nella staffa di montaggio (Figura 63).
Serrate manualmente il controdado sul perno di chiusura (Figura 63).
Parti necessarie per questa operazione:
| Parasole | 1 |
| Graffetta | 2 |
| Rondella di tenuta | 4 |
| Bullone esagonale flangiato (¼" x 1") | 4 |
| Rondella di frizione | 2 |
| Rondella di plastica | 4 |
| Boccola flangiata | 2 |
Installate il parasole sulle piastre anteriori utilizzando 2 graffette, 2 rondelle di tenuta e 2 bulloni esagonali flangiati (¼" x 1"), come mostrato nella Figura 64.
Important: Applicate un composto frenafiletti sui bulloni esagonali flangiati prima del loro montaggio.

Montate il parasole sul collegamento trasversale posteriore utilizzando 2 bulloni esagonali flangiati (¼" x 1"), 2 rondelle di tenuta, 2 rondelle di frizione, 4 rondelle di plastica e 2 boccole flangiate (Figura 65).
Important: Applicate un composto frenafiletti sui bulloni esagonali flangiati prima del loro montaggio.
Important: Assicuratevi che le rondelle di plastica siano montate sulla parte superiore e inferiore del parasole, dal momento che ciò evita di danneggiare il parasole.

Per le macchine elettriche
Collegate la batteria; consultate il Manuale dell'operatore della macchina.
Note: Seguite correttamente la procedura per collegare le batterie. Collegate il cavo positivo (rosso) della batteria principale, quindi collegate il cavo negativo (nero) della batteria principale.
Per le macchine a benzina
Fissate la base della batteria sul lato destro utilizzando i 2 bulloni a testa flangiata (5/16" x ¾") rimossi in precedenza, come illustrato nella Figura 11 di Rimozione dei pannelli laterali.
Collegate il cavo positivo (+) alla batteria utilizzando il bullone e il dado (Figura 10).
Collegate il cavo negativo (-) alla batteria utilizzando il bullone e il dado (Figura 10).