Important: U kunt de grillebeschermer (model 07145) niet monteren of gebruiken in combinatie met deze set.
Note: Bepaal vanuit de normale bedieningspositie de linker- en rechterzijde van de machine.
Parkeer de machine op een horizontaal oppervlak.
Stel de parkeerrem in werking.
Zet de motor af en haal het sleuteltje uit het contact.

Kantel de zitbank naar voren.
Schuif de zitbank opzij uit de pennen en til de zitbank op (Figuur 2).

Koppel de accu's los; raadpleeg de Gebruikershandleiding die bij uw machine hoort.
Note: Voer de procedure voor het loskoppelen van de accu's correct uit. Maak de negatieve hoofdkabel (zwart) los van de accu. Maak daarna de positieve hoofdkabel (rood) los.
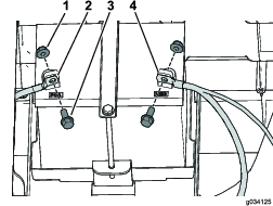
Verwijder de lader en de laderkabel uit de laderbeugel (Figuur 5).

Verwijder de 4 torxschroeven (M6,0 x 22 mm) waarmee de acculaderbeugel aan het linkerpaneel bevestigd is (Figuur 6).

Verwijder de 4 torxschroeven (M6,0 x 22 mm) van het linkerpaneel en verwijder het (Figuur 7).

Herhaal stap 4 aan de andere kant.
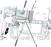
Koppel de ontluchtingsslang en de brandstofslang af van de brandstoftank (Figuur 8).
In bepaalde omstandigheden is brandstof uiterst ontvlambaar en zeer explosief. Brand of explosie van brandstof kan brandwonden bij u of anderen en materiële schade veroorzaken.
Tap de brandstof af uit de brandstoftank wanneer de motor koud is. Doe dit buiten en op een open terrein. Eventueel gemorste brandstof opnemen.
Rook nooit als u met benzine werkt en blijf uit de buurt van open vuur of als de kans bestaat dat benzinedampen door een vonk kunnen ontsteken.
Verwijder de 2 schroeven waarmee de houder aan het linkerpaneel bevestigd is, en verwijder de houder (Figuur 8).
Verwijder de flensbout waarmee de brandstoftank aan de brandstoftankbak bevestigd is en verwijder de brandstoftank (Figuur 8).

Verwijder de 6 torxschroeven (M6,0 x 22 mm) van het linkerpaneel en verwijder het zijpaneel (Figuur 9).

Koppel de minkabel (–) en vervolgens de pluskabel (+) af van de accu; zie Figuur 10.

Verwijder de 2 flenskopbouten (5/16" x ¾") waarmee de accubak aan het frame is bevestigd, alsook de 4 torxschroeven (M6,0 x 22 mm) waarmee het rechterpaneel bevestigd is, en verwijder het rechterpaneel (Figuur 11).
Note: U kunt de accu samen met het rechterpaneel verwijderen; zie Figuur 11.


Verwijder de 10 plastic nagels en kabelbinder van elke rubberen afdekplaat en verwijder de rubberen afdekplaten (Figuur 13).

Benodigde onderdelen voor deze stap:
| Vloersteun | 2 |
| Flenskopbouten (5/16" x 1") | 20 |
| Flensborgmoer (5/16") | 20 |

Lijn de vloersteun als volgt uit met de machine:
Zorg ervoor dat de flenzen van de vloersteun gelijkkomen met het kanaal van het zijframe, het voorste vloerkanaal en het achterframekanaal van de machine (Figuur 15).
Zorg ervoor dat de vloersteun parallel is met de vloer (Figuur 15).

Klem de vloersteun aan het kanaal van het zijframe en de vloerkanalen.
Gebruik de vloersteun als sjabloon en merk de locaties van de openingen op het kanaal van het zijframe en de vloerkanalen (Figuur 15, Figuur 16, en Figuur 17).


Verwijder de vloersteun van de machine.
Sla met een centerpons op de 10 markeringen die u hebt gemaakt in stap 3 van Boorgaten aanbrengen in de framekanalen.

Maak met een boor van 8 mm (5/16") gaten op de plaats van de centerponsmarkeringen in het kanaal van het zijframe en de vloerkanalen (Figuur 18).
Herhaal stap 1 tot en met 6 voor de vloersteun aan de andere kant van de machine.
Lijn de gaten in de vloersteun uit met de gaten die u geboord hebt in het kanaal van het zijframe en de vloerkanalen (Figuur 19).

Monteer de vloersteun aan het kanaal van het zijframe en de vloerkanalen met 10 flenskopbouten (5/16" x 1") en 10 flensborgmoeren (5/16") zoals getoond in Figuur 19.
Draai de flenskopbouten en flensborgmoeren vast met een torsie van 19,8 tot 25,4 N·m.
Herhaal stap 2 tot en met 3 voor de vloersteun aan de andere kant van de machine.
Benodigde onderdelen voor deze stap:
| Rolbeugelbevestiging, links | 1 |
| Rolbeugelbevestiging, rechts | 1 |
| Flenskopbout (½" x 3") | 6 |
| Platte ring (½") | 10 |
| Borgmoer (½") | 6 |
| Rolbeugel | 1 |
| Flenskopbout (½" x 3½") | 4 |
| Borgmoer (½") | 4 |
| Kabelbinder | 2 |
| Plastic nagel | 4 |
Voor elektrische machines: wees voorzichtig wanneer u de gaten in de rechterkant van het frame boort.
Als u te ver boort, kunt u de accu's of andere onderdelen beschadigen.
Lijn een rolbeugelbevestiging uit met de 2 gaten achter de voet van de stoel en het gat aan de voorzijde van de rail van het frame; zie Figuur 20.

Gebruik een klem om de rolbeugelbevestiging op zijn plaats te bevestigen.
Markeer de locatie van de gaten op de rolbeugelbevestiging (Figuur 20).
Gebruik een rolbeugelbevestiging als sjabloon om 3 gaten (13,5 mm / 17/32") te boren in het frame (Figuur 21).

Herhaal deze procedure aan de andere kant.
Snij de rubberen afdekplaten aan de hand van de afmetingen in Figuur 22.
Note: De uitsnijdingen in de rubberen afdekplaat bieden ruimte voor de montage van de rolbeugelbevestigingen.

Monteer elke rubberen afdekplaat met de 10 plastic nagels die eerder verwijderd zijn en een kabelbinder (Figuur 23).
Note: Als de eerder verwijderde nagels beschadigd zijn of ontbreken, vervang ze dan met de nagels in deze set.

Snij de zijpanelen bij aan de hand van de afmetingen in Figuur 24.

Monteer een rolbeugelbevestiging met 3 flenskopbouten (½" x 3"), 5 platte ringen (½") en 3 borgmoeren (½") zoals wordt getoond in Figuur 25.
Note: Zorg dat u de 2 platte ringen (½") aan de buitenkant monteert; zie Figuur 25.

Draai de 3 flenskopbouten (½ x 3") vast met een torsie van 94 tot 108 N·m.
Herhaal deze procedure aan de andere kant.
Bevestig 1 zijde van de rolbeugel aan een rolbeugelbevestiging met 2 flenskopbouten (½" x 3½") en 2 borgmoeren (½") zoals in Figuur 26.

Draai de 2 flenskopbouten (½ x 3½") vast met een torsie van 94 tot 108 N·m.
Herhaal deze procedure aan de andere kant.
Benodigde onderdelen voor deze stap:
| Veiligheidsgordel | 2 |
| Stoelvergrendeling | 2 |
| Zeskantbout (5/16" x 1") | 4 |
| Platte ring (7/16") | 8 |
| Borgmoer (7/16") | 4 |
Voor elektrische modellen
Monteer het linkerpaneel met de 4 Torxschroeven (M6,0 x 22 mm) die u eerder verwijderd hebt; zie Figuur 7.
Bevestig de laderbeugel aan het linkerpaneel; gebruik hierbij 4 torxschroeven (M6,0 x 22 mm) die u eerder verwijderd hebt; zie Figuur 6.
Bevestig de lader en de laderkabel aan de laderbeugel (Figuur 5).
Herhaal stap 1 aan de andere kant.
Voor benzinemodellen
Monteer de zijpanelen met de Torxschroeven (M6,0 x 22 mm) die u eerder verwijderd hebt; zie Figuur 9 en Figuur 11.
Bevestig de brandstoftank aan de bak van de brandstoftank; gebruik hierbij de flensbout die u eerder verwijderd hebt (Figuur 8).
Bevestig de houder aan het linkerpaneel; gebruik de 2 schroeven die u eerder verwijderd hebt (Figuur 8).
Sluit de ontluchtingsslang en de brandstofleiding aan op de brandstoftank (Figuur 8).
Monteer een stoelvergrendeling met een zeskantbout (5/16" x 1"), 2 platte ringen (5/16") en een borgmoer (5/16"); zie Figuur 27.

Haal de zeskantbout (5/16" x 1") aan met 68 tot 81 N·m.
Herhaal stap 1 en 2 om de andere stoelvergrendeling te monteren.
Monteer een veiligheidsgordel; gebruik hierbij een zeskantbout (5/16" x 1"), 2 platte ringen (7/16") en een borgmoer (7/16") zoals wordt getoond in Figuur 28.

Haal de zeskantbout (5/16" x 1") aan met 68 tot 81 N·m.
Herhaal stap 4 en 5 om de andere veiligheidsgordel te monteren.
Benodigde onderdelen voor deze stap:
| Voorruitsteun, links | 1 |
| Voorruitsteun, rechts | 1 |
| Voorste steun | 1 |
| Achterste steun van kap | 1 |
| Montagebeugel linksvoor | 1 |
| Montagebeugel rechtsvoor | 1 |
| Montagebeugel linksachter | 1 |
| Montagebeugel rechtsachter | 1 |
| Knoopplaat voor linkerachterhoek | 1 |
| Knoopplaat voor rechterachterhoek | 1 |
| Knoopplaat voor linkervoorhoek | 1 |
| Knoopplaat voor rechtervoorhoek | 1 |
| Voorste kruisverbinding | 1 |
| Kruisverbindingsbuis | 2 |
| Flensmoer (5/16") | 30 |
| Moer (¼") | 2 |
| Zeskantige flensbout (¼" x 1½") | 2 |
| Slotbout (5/16" x 1¾") | 16 |
| Zeskantbout met flens (5/16" x 1") | 2 |
| Slotbout (5/16" x 2¾") | 6 |
| Slotbout (5/16" x 1") | 4 |
Note: Draai het bevestigingsmateriaal alleen vast als dat gevraagd wordt.
Gebruik de afmetingen in Figuur 29 om 2 openingen (5/16") in de buitenkant van de bodemplaat aan de linker- en rechterkant van de machine te boren.

Gebruik de afmetingen in Figuur 30 om 1 opening (5/16") in de buitenkant van de voetplaat aan de linker- en rechterkant van de machine te boren.

Bevestig de middelste beugel van de linker- en rechtersteun van de voorruit aan de machine; breng 2 zeskante flensbouten (5/16" x 1") en 2 moeren (5/16") aan in de gaten die u geboord hebt (Figuur 31).

Bevestig de onderste beugel van de linker- en rechtersteun van de voorruit aan de machine; breng 4 slotbouten (5/16" x 1") en 4 flensmoeren (5/16") aan in de gaten die u geboord hebt in stap 1 (Figuur 32).

Gebruik 2 slotbouten (5/16" x 2¾") en 2 flensmoeren (5/16") om de achterste steun van de kap en het achterscherm te bevestigen aan de rolbeugel (Figuur 33).

Gebruik 4 slotbouten (5/16" x 2¾") en 4 moeren (5/16") om de achterste montagebeugels en de knoopplaten voor de achterste hoeken te bevestigen aan de rolbeugel (Figuur 34).

Plaats 2 slotbouten (5/16" x 2¾") en 2 moeren (5/16") om het achterscherm aan de rolbeugel te bevestigen (Figuur 34).
Monteer de kruisverbindingsbuizen losjes op de achterste montagebeugels en de knoopplaten van de achterste hoeken; gebruik 4 slotbouten (5/16" x 1¾") en 4 flensmoeren (5/16") zoals wordt getoond in Figuur 35.

Monteer de voorste montagebeugels en de knoopplaten voor de voorste hoeken losjes aan de kruisverbindingsbuizen en de steunen van de voorruit; gebruik 8 slotbouten (5/16" x 1¾") en 8 flensmoeren (5/16") zoals wordt getoond in Figuur 35.
Monteer de voorste kruisverbinding losjes op de voorste montagebeugels en de hoekknoopplaten; gebruik 4 slotbouten (5/16" x 1¾") en 4 flensmoeren (5/16") zoals wordt getoond in Figuur 36.

Gebruik 2 zeskantige flensbouten (¼" x 1½") en 2 moeren (¼") om de voorste steun aan de voorste kruisverbinding te bevestigen (Figuur 37).

Draai al het bevestigingsmateriaal dat nog loszit, vast.
Schuif de zitting opzij op de pennen en laat de zitting zakken (Figuur 65).

Benodigde onderdelen voor deze stap:
| Rechterdeur | 1 |
| Linkerdeur | 1 |
| Bevestigingskoord voor deur | 2 |
| Hengsel rechterdeur | 2 |
| Hengsel linkerdeur | 2 |
| Slotbout (5/16" x 2¾") | 4 |
| Borstbout (5/16" x ½") | 4 |
| Afstandsstuk | 4 |
| Flensmoer (5/16") | 8 |
Raadpleeg Figuur 39 bij het uitvoeren van de volgende stappen.
Gebruik 4 slotbouten (5/16" x 2¾") en 4 flensmoeren (5/16") om de hengsels van de linker- en rechterdeur te bevestigen aan de rolbeugel.
Note: Met dit bevestigingsmateriaal maakt u ook de linker- en rechterkant van het achterscherm vast aan de rolbeugel.
Plaats een afstandsstuk op elk deurhengsel.
Breng een dun laagje smeervet aan op de hengsels van de deuren.
Monteer de deuren door ze op de hengsels van de deuren te schuiven.
Note: Zorg ervoor dat de deuren vrij kunnen openzwaaien. Stel de pen van de deurvergrendeling zo af dat ze gecentreerd is in de deurvergrendeling.
Gebruik 4 borstbouten (5/16" x ½") en 4 flensmoeren (5/16") om de deurbevestigingskoorden vast te maken aan de deuren en de kruisverbindingsbuizen.

Til de handgreep van de rubberen grendels aan weerszijden van de motorkap op (Figuur 40).

Draai de motorkap naar voren.
Draai terwijl u de motorkap ondersteunt de draaivergrendeling naar binnen en verplaats de motorkap naar achteren tot de gaffelpen van de motorkap vrijkomt van de vergrendeling (Figuur 41).

Herhaal stap 3 aan de andere kant van de motorkap.
Verwijder de motorkap van de machine.
Verwijder terwijl u de bumper ondersteunt de 8 flenskopbouten waarmee de bumper is bevestigd aan de bumperhouders en koplampbeugels (Figuur 42).

Verwijder de bumper van de machine.
Benodigde onderdelen voor deze stap:
| Koplampscherm | 2 |
| Flensbout (5/16" x 5/8") | 4 |
Verwijder de connector met 2 contacten van de machinekabelboom van de connector met 2 pinnen aan de achterzijde van de koplamp (Figuur 43).
Note: Bewaar de klemmen voor de montageprocedure.

Verwijder de 3 klemmen van de 3 stelmoeren van de koplamp en verwijder de koplamp van de koplampbeugel (Figuur 43).
Controleer of de montagebeugels van de koplampen beschikken over montageopeningen voor de koplampschermen.
Als de montagebeugels van de koplampen geen montageopeningen hebben, boor dan 2 gaten van 11 mm (7/16") in de montagebeugels; hou hierbij de afmetingen in Figuur 44 aan.

Monteer de koplampschermen op de koplampen zoals getoond in Figuur 45.

Lijn de 3 stelmoeren van de koplamp uit door de openingen in de montagebeugel van de koplamp en bevestig de moeren met de klemmen (Figuur 43) die u hebt verwijderd in stap 2 .

Sluit de connector met 2 contacten van de machinekabelboom aan op de connector met 2 pinnen aan de achterzijde van de koplamp (Figuur 46).
Bevestig het koplampscherm aan de montagebeugels van de koplamp (Figuur 45) met de 4 flensbouten (5/16" x 5/8").

Benodigde onderdelen voor deze stap:
| Beugel voor ballenraper | 1 |
| Onderste beugel | 1 |
| Flensbout (⅜ x 1") | 14 |
| Flensborgmoer (⅜") | 14 |
Monteer de beugel voor de ballenraper op de bumpersteun zoals getoond in Figuur 48.

Monteer de onderste beugel losjes op de beugel voor de ballenraper (Figuur 49) met 4 flensbouten (3/8" x 1") en 4 flensborgmoeren (⅜").

Lijn de uiterst achterste rand van de onderste beugel uit met de rand van de toegangsopening in de plaat van het middelste kanaal (Figuur 50).

Merk de 4 openingen van de onderste beugel op de plaat van het middelste kanaal zoals getoond in Figuur 50.
Verwijder de 4 flensbouten (⅜" x 1"), 4 flensborgmoeren (⅜") en de onderste beugel van de beugel voor de ballenraper (Figuur 49).
Sla met een centerpons op de 4 markeringen die u hebt gemaakt in de plaat van het middelste kanaal in stap 4.
Maak 4 gaten met een boor van 10 mm in de plaat van het middelste kanaal op de plaats van de centerponsmarkeringen die u hebt gemaakt in stap 6 zoals getoond in Figuur 51.

Monteer de onderste beugel, de beugel voor de ballenraper en de plaat van het middelste kanaal losjes zoals getoond in Figuur 52 met 8 flensbouten (⅜" x 1") en 8 flensborgmoeren (⅜").

Merk de 6 openingen van de onderste beugel op de plaat van het middelste kanaal zoals getoond in afbeeldingen Figuur 53, Figuur 54, en Figuur 55.



Verwijder de 8 flensbouten (⅜" x 1"), 8 flensborgmoeren (⅜"), de onderste beugel en de beugel voor de ballenraper van de machine (Figuur 52).
Sla met een centerpons op de 6 markeringen die u hebt gemaakt in de plaat van het middelste kanaal in stap 2.
Maak 6 gaten met een boor van 10 mm (⅜") in de plaat van het middelste kanaal op de plaats van de centerponsmarkeringen die u hebt gemaakt in stap 4.

Breng aan de achterzijde van de bumper, 2,54 cm boven de onderkant van de bumper, een markering aan in in de inspringing in het midden zoals getoond in Figuur 60.

Snij het gemarkeerde gebied weg om vrije ruimte te creëren voor de beugel voor de ballenraper.
Ondersteun de bumper zodat hij wordt uitgelijnd met de bumper- en koplamphouder; zie Figuur 42.
Monteer de bumper met de 8 flenskopbouten die u hebt verwijderd in De motorkap en bumper verwijderen.
Draai de voorkant van de motorkap naar voren en lijn een gaffelpen aan de voorkant van de motorkap uit met de overeenkomende veersluiting zoals in Figuur 41 of De motorkap en bumper verwijderen.
Schuif de gaffelpen in de inkeping zodat ze wordt bevestigd door de draaivergrendeling.
Herhaal stap 2 aan de andere kant van de motorkap.
Laat de motorkap zakken en bevestig deze met de rubberen vergrendelingen aan elke kant van de motorkap zoals getoond in Figuur 40.
Benodigde onderdelen voor deze stap:
| Voorruit | 1 |
| Borstbout (5/16" x 1¼") | 8 |
| Zeskantige flensbout (¼" x 1½") | 5 |
| Rubberen lagerbus | 16 |
| Sluitring | 8 |
| Voorruitsteun | 1 |
| Voorruitbeugel | 1 |
| Moer (5/16") | 8 |
| Moer (¼") | 5 |
Gebruik 1 zeskantige flensbout (¼" x 1½") en 1 moer (¼") om de voorruitbeugel aan de voorruitsteun te bevestigen (Figuur 61).

Gebruik 4 zeskantige flensbouten (¼" x 1½") en 4 moeren (¼") om de voorruitsteun aan de linker- en rechtervoorruitsteun te bevestigen (Figuur 61).
Monteer de voorruit met 8 borstbouten (5/16" x 1¼"), 8 sluitringen, 16 rubberen lagerbussen en 8 moeren (5/16") zoals wordt getoond in Figuur 62.

Benodigde onderdelen voor deze stap:
| Vergrendelpen | 2 |
| Drukring | 4 |
| Kap van pen | 2 |
| Contramoer | 2 |
Breng de vergrendelpen en de kap van de pen op één lijn met de opening in de montagebeugel; zie Figuur 63.
Steek de vergrendelpen (in eerste instantie zonder de ringen) in de kap van de pen (Figuur 63).
Note: Als de vergrendelpen niet gecentreerd is in de deurgrendel, voegt u 1 of 2 drukringen toe. Gebruik de drukringen om de vergrendelpen uit te lijnen met de grendel van de deurhendel.

Plaats de vergrendelpen en de contramoer aan de achterkant van de opening in de montagebeugel (Figuur 63).
Draai de contramoer handmatig vast op de vergrendelpen (Figuur 63).
Benodigde onderdelen voor deze stap:
| Zonnescherm | 1 |
| Klem | 2 |
| Afdichtring | 4 |
| Zeskantbout met flens (¼" x 1") | 4 |
| Wrijvingsring | 2 |
| Kunststof ring | 4 |
| Flenslager | 2 |
Monteer het zonnescherm op de voorplaten; gebruik 2 klemmen, 2 afdichtringen en 2 zeskantbouten met flens (¼" x 1") zoals wordt getoond in Figuur 64.
Important: Breng vóór montage schroefdraadborgmiddel aan op de zeskantbouten met flens.

Bevestig het zonnescherm aan de achterste kruisverbinding met 2 zeskantbouten met flens (¼" x 1"), 2 afdichtringen, 2 wrijvingsringen, 4 plastic ringen en 2 flenslagers (Figuur 65).
Important: Breng vóór montage schroefdraadborgmiddel aan op de zeskantbouten met flens.
Important: Zorg ervoor dat de plastic ringen aanwezig zijn boven- en onderaan het zonnescherm; dit voorkomt beschadiging van het zonnescherm.

Voor elektrische modellen
Sluit de accu aan; raadpleeg de Gebruikershandleiding die bij uw machine hoort.
Note: Voer de procedure voor het aankoppelen van de accu's correct uit. Koppel eerst de positieve hoofdkabel (rood) aan op de accu, en vervolgens de negatieve hoofdkabel (zwart).
Voor benzinemodellen
Bevestig de voet van de accu aan de rechterkant; gebruik hierbij de 2 flenskopbouten (5/16" x ¾") die u eerder verwijderd hebt zoals getoond in Figuur 11 van De zijpanelen verwijderen.
Sluit de pluskabel (+) aan op de accu; gebruik de bout en de moer (Figuur 10).
Sluit de minkabel (–) aan op de accu; gebruik de bout en de moer (Figuur 10).