Important: С этим комплектом не допускается использовать или устанавливать Комплект защиты щетки (Модель 07145).
Note: Определите левую и правую стороны машины относительно места оператора.
Установите машину на ровной поверхности.
Включите стояночный тормоз.
Выключите двигатель и извлеките ключ из замка зажигания.

Наклоните сиденье в сборе вперед в поднятое положение.
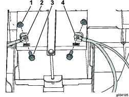
Сдвиньте сиденье в сборе в сторону, чтобы снять его со штифтов, и поднимите его вверх (Рисунок 2).

Отсоедините аккумулятор; см. Руководство оператора для своего автомобиля.
Note: Отсоединяйте аккумуляторы правильно. Сначала отсоедините главный отрицательный кабель аккумулятора (черный), затем отсоедините главный положительный кабель аккумулятора (красный).
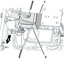
Снимите зарядное устройство и его кабель с кронштейна зарядного устройства (Рисунок 5).

Выверните 4 винта с головкой Torx (M6,0 x 22 мм), которые крепят кронштейн зарядного устройства к левой боковой панели (Рисунок 6).

Выверните 4 винта с головкой Torx (M6,0 x 22 мм) из левой боковой панели и снимите ее (Рисунок 7).

Повторите действие, описанное в пункте 4, на правой стороне.
Отсоедините вентиляционную трубку и топливный трубопровод от топливного бака (Рисунок 8).
При определенных условиях топливо является чрезвычайно огнеопасным и взрывоопасным веществом. Возгорание или взрыв топлива могут вызвать ожоги у людей и повреждение имущества.
Сливайте топливо из топливного бака при холодном двигателе. Делайте это вне помещения на открытой территории. Вытирайте все разлитое топливо.
Запрещается курить при работе с топливом. Держитесь на расстоянии от открытого пламени или от мест, где искры могут воспламенить пары топлива.
Выверните 2 винта, которые крепят прижим к левой боковой панели, и снимите прижим (Рисунок 8).
Выверните фланцевый болт, который крепит топливный бак к его поддону, и снимите топливный бак (Рисунок 8).

Выверните 6 винтов с головкой Torx (M6,0 x 22 мм) из левой боковой панели и снимите боковую панель (Рисунок 9).

Отсоедините отрицательный (-), а затем положительный (+) кабель от аккумуляторной батареи, как показано на Рисунок 10.

Выверните 2 болта с фланцевыми головками (5/16 x ¾ дюйма), которые крепят поддон аккумулятора к раме, и 4 винта с головкой Torx (M6,0 x 22 мм), которые крепят правую боковую панель, и снимите эту панель (Рисунок 11).
Note: Аккумуляторная батарея снимается вместе с правой боковой панелью, как показано на Рисунок 11.


Удалите 10 пластмассовых заклепок и кабельный хомут с каждого резинового кожуха и снимите резиновые кожухи (Рисунок 13).

Детали, требуемые для этой процедуры:
| Раскос пола | 2 |
| Болты с фланцевыми головками (5/16 x 1 дюйм) | 20 |
| Фланцевая контргайка (5/16 дюйма) | 20 |

Выровняйте раскос пола относительно автомобиля следующим образом:
Совместите фланцы раскоса пола так, чтобы они были заподлицо с боковым швеллером рамы, передним напольным швеллером и задним швеллером рамы автомобиля (Рисунок 15).
Выровняйте раскос пола так, чтобы он был расположен параллельно полу (Рисунок 15).

Прикрепите зажимом раскос пола к боковому швеллеру рамы и напольным швеллерам.
Используя раскос пола в качестве шаблона, отметьте расположение отверстий в боковом швеллере рамы и напольных швеллерах (Рисунок 15, Рисунок 16 и Рисунок 17).


Снимите раскос пола с автомобиля.
Накерните 10 отметок, сделанных при выполнении пункта 3 в разделе Сверление отверстий в швеллерах рамы.

Просверлите отверстия в накерненных точках в боковых и напольных швеллерах сверлом диаметром 8 мм (5/16 дюйма) (Рисунок 18).
Повторите пункты 1 – 6 для раскоса пола с другой стороны автомобиля.
Совместите отверстия в раскосе пола с отверстиями, просверленными в боковых и напольных швеллерах (Рисунок 19).

Установите раскос пола на боковые и напольные швеллеры с помощью 10 болтов с фланцевыми головками (5/16 x 1 дюйм) и 10 фланцевых контргаек (5/16 дюйма), как показано на Рисунок 19.
Затяните болты с фланцевыми головками и фланцевые контргайки с моментом от 19,8 до 25,4 Н∙м.
Повторите пункты 2 – 3 для раскоса пола с другой стороны автомобиля.
Детали, требуемые для этой процедуры:
| Левый кронштейн ROPS | 1 |
| Правый кронштейн ROPS | 1 |
| Болт с фланцевой головкой (½ x 3 дюйма) | 6 |
| Плоская шайба (½ дюйма) | 10 |
| Контргайка ½ дюйма) | 6 |
| Защитная дуга | 1 |
| Болты с фланцевой головкой (½ x 3½ дюйма) | 4 |
| Контргайка (½ дюйма) | 4 |
| Кабельный хомут | 2 |
| Пластмассовая заклепка | 4 |
Соблюдайте осторожность при сверлении отверстий на правой стороне рамы автомобилей с электрическим двигателем.
Если вы просверлите слишком глубоко, то можете повредить аккумуляторы или другие компоненты.
Совместите кронштейн ROPS с 2 отверстиями позади основания сиденья и отверстием впереди балки рамы, как показано на Рисунок 20.

Используя зажим, закрепите кронштейн ROPS на месте.
Разметьте расположение отверстий на кронштейне ROPS (Рисунок 20).
Используя кронштейн ROPS в качестве шаблона, просверлите 3 отверстия диаметром 13,5 мм в раме (Рисунок 21).

Повторите эти действия с другой стороны.
Сделайте вырезы на резиновых кожухах по размерам, показанным на Рисунок 22.
Note: Вырезы на резиновых кожухах освобождают место для установки кронштейнов конструкции ROPS.

Установите каждый резиновый кожух с помощью ранее снятых 10 пластмассовых заклепок и кабельного хомута (Рисунок 23).
Note: Если ранее снятые заклепки повреждены или отсутствуют, замените их заклепками из данного комплекта.

Подрежьте боковые панели по размерам, показанным на Рисунок 24.

Установите кронштейн ROPS с помощью 3 болтов с фланцевыми головками (½ x 3 дюйма), 5 плоских шайб (½ дюйма) и 3 контргаек (½ дюйма), как показано на Рисунок 25.
Note: Убедитесь, что 2 плоские шайбы (½ дюйма) установлены снаружи, как показано на Рисунок 25.

Затяните 3 болта с фланцевыми головками (½ x 3 дюйма) с моментом от 94 до 108 Н∙м.
Повторите эти действия с другой стороны.
Прикрепите одну сторону защитной дуги к кронштейну ROPS с помощью 2 болтов с фланцевыми головками (½ x 3½ дюйма) и 2 контргаек (½ дюйма), как показано на Рисунок 26.

Затяните 2 болта с фланцевыми головками (½ x 3½ дюйма) с моментом от 94 до 108 Н∙м.
Повторите эти действия с другой стороны.
Детали, требуемые для этой процедуры:
| Ремень безопасности | 2 |
| Фиксатор сиденья | 2 |
| Болт с шестигранной головкой (7/16 x 1 дюйм) | 4 |
| Плоская шайба (7/16 дюйма) | 8 |
| Контргайка (7/16 дюйма) | 4 |
На автомобилях с электрическим двигателем
Установите левую боковую панель при помощи ранее снятых 4 винтов с головками Torx (M6,0 x 22 мм), как показано на Рисунок 7.
Прикрепите кронштейн зарядного устройства к левой боковой панели при помощи ранее снятых 4 винтов с головкой Torx (M6,0 x 22 мм), как показано на Рисунок 6.
Прикрепите зарядное устройство и его кабель к кронштейну зарядного устройства (Рисунок 5).
Повторите действие, описанное в пункте 1, на правой стороне.
На автомобилях с бензиновым двигателем
Установите каждую боковую панель при помощи ранее снятых винтов с головками Torx (M6,0 x 22 мм), как показано на Рисунок 9 и Рисунок 11.
Прикрепите топливный бак к его поддону при помощи ранее снятого фланцевого болта (Рисунок 8).
Прикрепите прижим к левой боковой панели при помощи 2 ранее снятых винтов (Рисунок 8).
Подсоедините вентиляционную трубку и топливный трубопровод к топливному баку (Рисунок 8).
Установите фиксатор сиденья с помощью болта с шестигранной головкой (7/16 x 1 дюйм), 2 плоских шайб (7/16 дюйма) и контргайки (7/16 дюйма), как показано на Рисунок 27.

Затяните болт с шестигранной головкой (7/16 x 1 дюйм) с моментом от 68 до 81 Н∙м.
Повторите действия, описанные в пунктах 1 и 2, чтобы установить другой фиксатор сиденья.
Установите ремень безопасности с помощью болта с шестигранной головкой (7/16 x 1 дюйм), 2 плоских шайб (7/16 дюйма) и контргайки (7/16 дюйма), как показано на Рисунок 28.

Затяните болт с шестигранной головкой (7/16 x 1 дюйм) с моментом от 68 до 81 Н∙м.
Повторите действия, описанные в пунктах 4 и 5, чтобы установить другой ремень безопасности.
Детали, требуемые для этой процедуры:
| Левая опора ветрового стекла | 1 |
| Правая опора ветрового стекла | 1 |
| Передняя опора | 1 |
| Задняя опора навеса | 1 |
| Левый передний монтажный кронштейн | 1 |
| Правый передний монтажный кронштейн | 1 |
| Левый задний монтажный кронштейн | 1 |
| Правый задний монтажный кронштейн | 1 |
| Левое заднее угловое крепление | 1 |
| Правое заднее угловое крепление | 1 |
| Левое переднее угловое крепление | 1 |
| Правое переднее угловое крепление | 1 |
| Передняя поперечина | 1 |
| Поперечная труба | 2 |
| Фланцевая гайка (5/16 дюйма) | 30 |
| Гайка (¼ дюйма) | 2 |
| Болт с шестигранной фланцевой головкой (¼ x 1½ дюйма) | 2 |
| Каретный болт (5/16 x 1¾ дюйма) | 16 |
| Болт с шестигранной фланцевой головкой (5/16 x 1 дюйм) | 2 |
| Каретный болт (5/16 x 2¾ дюйма) | 6 |
| Каретный болт (5/16 x 1 дюйм) | 4 |
Note: Не затягивайте никакие крепежные детали, кроме указанных в руководстве.
Просверлите в наружных поверхностях панели пола с левой и правой стороны автомобиля два отверстия (5/16 дюйма) по размерам, указанным на Рисунок 29.

Просверлите в наружной поверхности подножной панели с левой и правой стороны автомобиля одно отверстие (5/16 дюйма) по размерам, указанным на Рисунок 30.

Прикрепите средние кронштейны левой и правой опор ветрового стекла к автомобилю с помощью 2 болтов с шестигранными фланцевыми головками (5/16 x 1 дюйм) и 2 гаек (5/16 дюйма), используя просверленные вами отверстия (Рисунок 31).

Прикрепите нижние кронштейны левой и правой опор ветрового стекла к автомобилю с помощью 4 каретных болтов (5/16 x 1 дюйм) и 4 фланцевых гаек (5/16 дюйма), используя отверстия, просверленные при выполнении пункта 1 (Рисунок 32).

С помощью 2 каретных болтов (5/16 x 2¾ дюйма) и 2 фланцевых гаек (5/16 дюйма) прикрепите заднюю опору навеса и заднюю решетку к защитной дуге (Рисунок 33).

С помощью 4 каретных болтов (5/16 x 2¾ дюйма) и 4 гаек (5/16 дюйма) прикрепите задние монтажные кронштейны и задние угловые крепления к защитной дуге (Рисунок 34).

Прикрепите заднюю решетку к стойке с помощью 2 каретных болтов (5/16 х 2¾ дюйма) и 2 гаек (5/16 дюйма) (Рисунок 34).
Установите, не затягивая, поперечные трубы на задние монтажные кронштейны и задние угловые крепления с помощью 4 каретных болтов (5/16 x 1¾ дюйма) и 4 фланцевых гаек (5/16 дюйма), как показано на Рисунок 35.

Установите, не затягивая, передние монтажные кронштейны и передние угловые крепления на поперечные трубы и опоры ветрового стекла с помощью 8 каретных болтов (5/16 x 1¾ дюйма) и 8 фланцевых гаек (5/16 дюйма), как показано на Рисунок 35.
Установите, не затягивая, переднюю поперечину на передние монтажные кронштейны и угловые крепления с помощью 4 каретных болтов (5/16 x 1¾ дюйма) и 4 фланцевых гаек (5/16 дюйма), как показано на Рисунок 36.

Прикрепите переднюю опору к передней поперечине с помощью 2 болтов с шестигранными фланцевыми головками (¼ x 1½ дюйма) и 2 гаек (¼ дюйма)(Рисунок 37).

Затяните все незатянутые детали крепления.
Установите сиденье в сборе на штифты и опустите его (Рисунок 65).

Детали, требуемые для этой процедуры:
| Правая дверь в сборе | 1 |
| Левая дверь в сборе | 1 |
| Привязной тросик двери | 2 |
| Правая дверная петля | 2 |
| Левая дверная петля | 2 |
| Каретный болт (5/16 x 2¾ дюйма) | 4 |
| Ступенчатый болт (5/16 x ½ дюйма) | 4 |
| Проставка | 4 |
| Фланцевая гайка (5/16 дюйма) | 8 |
При выполнении следующих действий см. Рисунок 39.
С помощью 4 каретных болтов (5/16 x 2¾ дюйма) и 4 фланцевых гаек (5/16 дюйма) прикрепите левую и правую петли двери к защитной дуге.
Note: Эти крепежные детали также крепят правую и левую стороны задней решетки к защитной дуге.
Установите проставку на каждую дверную петлю.
Нанесите тонкий слой консистентной смазки на каждую дверную петлю.
Установите каждую дверь в сборе, надев двери на дверные петли.
Note: Убедитесь, что каждая дверь свободно открывается. Отрегулируйте защелку двери так, чтобы она была расположена по центру в ручке защелки двери.
С помощью 4 ступенчатых болтов (5/16 x ½ дюйма) и 4 фланцевых гаек (5/16 дюйма) прикрепите привязные тросики к дверям в сборе и поперечным трубам.

Поднимите ручки резиновых фиксаторов с каждой стороны капота (Рисунок 40).

Отклоните капот вперед.
Поддерживая капот, нажмите поворотную защелку внутрь и передвигайте капот внутрь до тех пор, пока шплинтуемый штифт не освободит защелку (Рисунок 41).

Повторите действия, описанные в пункте 3, на другой стороне капота.
Снимите капот с автомобиля.
Поддерживая бампер, отверните 8 болтов с фланцевыми головками, с помощью которых бампер подсоединяется к его креплениям и кронштейнам фар (Рисунок 42).

Снимите бампер с автомобиля.
Детали, требуемые для этой процедуры:
| Защита фары | 2 |
| Фланцевый болт (5/16 x ⅝ дюйма) | 4 |
Отсоедините 2-гнездовой разъем жгута проводов автомобиля от 2-штыревого разъема в задней части фары (Рисунок 43).
Note: Сохраните зажимы для последующей установки.

Снимите 3 зажима с 3 гаек регулировки фар и снимите фару с кронштейна фары (Рисунок 43).
Посмотрите, предусмотрены ли в монтажных кронштейнах фар монтажные отверстия для защиты.
Если в монтажных кронштейнах фар нет монтажных отверстий, просверлите 2 отверстия (диаметром 11 мм) в каждом из монтажных кронштейнов фар, используя размеры, показанные на Рисунок 44.

Установите защиту фар на фары, как показано на Рисунок 45.

Вставьте 3 гайки регулировки фар через отверстия в кронштейне крепления фары и зафиксируйте гайки зажимами (Рисунок 43), снятыми при выполнении пункта 2.

Подсоедините 2-гнездовой разъем жгута проводов автомобиля к 2-штыревому разъему в задней части фары (Рисунок 46).
Прикрепите защиту фар к монтажным кронштейнам фар (Рисунок 45) при помощи 4 фланцевых болтов (5/16 x ⅝ дюйма).

Детали, требуемые для этой процедуры:
| Крепление подборщика мячей | 1 |
| Нижний кронштейн | 1 |
| Фланцевый болт (⅜ x 1 дюйм) | 14 |
| Фланцевая контргайка (⅜ дюйма) | 14 |
Установите крепление подборщика мячей на опору бампера, как показано на Рисунок 48.

Установите, не затягивая, нижний кронштейн на крепление подборщика мячей (Рисунок 49) с помощью 4 фланцевых болтов (⅜ x 1 дюйм) и 4 фланцевых контргаек (⅜ дюйма).

Совместите самую заднюю кромку нижнего кронштейна с кромкой отверстия доступа в средней пластине швеллера (Рисунок 50).

Разметьте расположение 4 отверстий нижнего кронштейна на средней пластине швеллера, как показано на Рисунок 50.
Отверните 4 фланцевых болта (⅜ x 1 дюйм), 4 фланцевые контргайки (⅜ дюйма) и снимите нижний кронштейн с крепления подборщика мячей (Рисунок 49).
Накерните 4 отметки, сделанные на средней пластине швеллера при выполнении пункта 4.
Просверлите 4 отверстия диаметром 10 мм в средней пластине швеллера в точках, накерненных при выполнении пункта 6. как показано на Рисунок 51.

Установите, не затягивая, нижний кронштейн, крепление подборщика мячей и среднюю пластину швеллера, как показано на Рисунок 52, с помощью 8 фланцевых болтов (⅜ x 1 дюйм) и 8 фланцевых контргаек (⅜ дюйма).

Разметьте расположение 6 отверстий нижнего кронштейна на средней пластине швеллера, как показано на Рисунок 53, Рисунок 54 и Рисунок 55.



Отверните 8 фланцевых болтов (⅜ x 1 дюйм), 8 фланцевых контргаек (⅜ дюйма), снимите нижний кронштейн и крепление подборщика мячей с автомобиля (Рисунок 52).
Накерните 6 отметок, сделанных на средней пластине швеллера при выполнении пункта 2.
Просверлите 6 отверстий диаметром 10 мм в средней пластине швеллера в точках, накерненных при выполнении пункта 4.

На задней стороне бампера отмерьте 25,4 мм от нижней части бампера в утопленной средней области, как показано на Рисунок 60.

Отрежьте отмеченную зону, чтобы получить зазор для крепления подборщика мячей.
Поддерживайте бампер таким образом, чтобы он был совмещен с креплением бампера и фары, как показано на Рисунок 42.
Установите бампер с помощью 8 болтов с фланцевыми головками, снятых при выполнении пункта Демонтаж капота и бампера.
Отклонив переднюю часть капота вперед, совместите шплинтуемый штифт в передней части капота с соответствующей пружинной защелкой, как показано на Рисунок 41 в разделе Демонтаж капота и бампера.
Вставьте шплинтуемый штифт в выемку так, чтобы он был зафиксирован поворотной защелкой.
Повторите действия, описанные в пункте 2, на другой стороне капота.
Опустите капот и зафиксируйте его резиновыми защелками с каждой стороны капота, как показано на Рисунок 40.
Детали, требуемые для этой процедуры:
| Ветровое стекло | 1 |
| Ступенчатый болт (5/16 x 1¼ дюйма) | 8 |
| Болт с шестигранной фланцевой головкой (¼ x 1½ дюйма) | 5 |
| Резиновая втулка | 16 |
| Опорная шайба | 8 |
| Опорный узел ветрового стекла | 1 |
| Кронштейн ветрового стекла | 1 |
| Гайка (5/16 дюйма) | 8 |
| Гайка (¼ дюйма) | 5 |
С помощью одного болта с шестигранной фланцевой головкой (¼ x 1½ дюйма) и одной гайки (¼ дюйма) прикрепите кронштейн ветрового стекла к опорному узлу ветрового стекла (Рисунок 61).

С помощью 4 болтов с шестигранными фланцевыми головками (¼ x 1½ дюйма) и 4 гаек (¼ дюйма) прикрепите опорный узел ветрового стекла к правой и левой опорам ветрового стекла (Рисунок 61).
Установите ветровое стекло с помощью 8 ступенчатых болтов (5/16 x 1¼ дюйма), 8 опорных шайб, 16 резиновых втулок и 8 гаек (5/16 дюйма), как показано на Рисунок 62.

Детали, требуемые для этой процедуры:
| Ось защелки | 2 |
| Упорная шайба | 4 |
| Ограничитель | 2 |
| Контргайка | 2 |
Совместите ось защелки и ограничитель с отверстием в монтажном кронштейне, как показано на Рисунок 63.
Вставьте ось защелки (сначала без шайб) в ограничитель (Рисунок 63).
Note: Если ось защелки не расположена по центру в защелке двери, добавьте 1 или 2 упорные шайбы. Используйте упорные шайбы для совмещения оси защелки с защелкой дверной ручки.

Выровняйте ось защелки и контргайку относительно задней стороны отверстия монтажного кронштейна (Рисунок 63).
Наверните контргайку на ось защелки, затянув от руки (Рисунок 63).
Детали, требуемые для этой процедуры:
| Солнцезащитный навес | 1 |
| Зажим | 2 |
| Уплотнительная шайба | 4 |
| Болт с шестигранной фланцевой головкой (¼ x 1 дюйм) | 4 |
| Фрикционная шайба | 2 |
| Пластмассовая шайба | 4 |
| Фланцевая втулка | 2 |
Установите солнцезащитный навес на передние пластины, используя два зажима, две уплотнительные гайки и два болта с шестигранными фланцевыми головками (¼ x 1 дюйм), как показано на Рисунок 64.
Important: Нанесите стопорящий состав для резьбы на болты с шестигранными фланцевыми головками перед их установкой.

Установите солнцезащитный навес на заднюю поперечину при помощи двух болтов с шестигранными фланцевыми головками (¼ x 1 дюйм), двух уплотнительных шайб, двух фрикционных шайб, 4 пластмассовых шайб и двух фланцевых втулок (Рисунок 65).
Important: Нанесите стопорящий состав для резьбы на болты с шестигранными фланцевыми головками перед их установкой.
Important: Убедитесь, что в верхней и нижней частях солнцезащитного навеса установлены пластмассовые шайбы, которые предотвращают его повреждение.

На автомобилях с электрическим двигателем
Подсоедините аккумулятор; см. Руководство оператора для своего автомобиля.
Note: Подсоедините аккумуляторы в правильной последовательности. Подсоедините главный положительный кабель аккумулятора (красный), затем подсоедините главный отрицательный кабель аккумулятора (черный).
На автомобилях с бензиновым двигателем
Прикрепите основание аккумулятора к правой стороне с помощью 2 ранее снятых болтов с фланцевыми головками (5/16 x ¾ дюйма), как показано на Рисунок 11 в разделе Демонтаж боковых панелей.
Подсоедините положительный (+) кабель к аккумуляторной батарее и закрепите его с помощью болта и гайки (Рисунок 10).
Подсоедините отрицательный (-) кабель к аккумуляторной батарее и закрепите его с помощью болта и гайки (Рисунок 10).