Întreţinere
Note: Utvrdite levu i desnu stranu mašine iz uobičajenog položaja operatera.
Program(e) de întreţinere recomandat(e)
| Interval de întreţinere şi service | Procedură de întreţinere |
|---|---|
| După primele 10 ore |
|
| Înainte de fiecare folosinţă sau zilnic |
|
| Înainte de depozitare |
|
Atenţie
Ako ostavite ključ u prekidaču za paljenje, neko bi mogao slučajno da pokrene mašinu i da ozbiljno povredi vas ili nekog od posmatrača.
Pre bilo kakvog održavanja, uklonite ključ iz prekidača kontakta i skinite kabl sa svećice. Gurnite kabl na stranu da ne bi slučajno došao u dodir sa svećicom.
Atenţie
Motori mogu biti vreli kad rade. Dodirivanje vrelih površina može dovesti do opekotina.
Sačekajte da se motor ohladi pre nego što ga dodirnete, naročito izduvni lonac.
Atenţie
Otpad poput lišća, trave i šiblja može da se zapali. Požar u predelu motora može da izazove telesne povrede i materijalnu štetu.
-
Pazite da se u predelu motora i izduvnog lonca ne nakupljaju otpaci.
-
Kada otvarate poklopac sakupljača, pazite da otpad ne pada na predeo motora i izduvnog lonca.
-
Sačekajte da se mašina ohladi pre odlaganja.
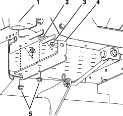
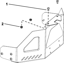
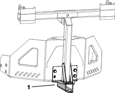
Pregled priključnog sakupljača
| Interval de întreţinere şi service | Procedură de întreţinere |
|---|---|
| După primele 10 ore |
|
| Înainte de depozitare |
|
-
Proverite izbacivač, odvodnu cev i poklopac sakupljača. Zamenite te delove ako su puknuti ili polomljeni.
-
Pritegnite sve navrtke, vijke i zavrtnje.
-
Pregledajte sve pričvršćivače i brave; zamenite sve delove koji nedostaju ili su oštećeni.
-
Proverite dotrajalost vreća za travu.
Atenţie
Vas ili posmatrače može ozbiljno da povredi letenje otpadaka ili odbacivanje predmeta koji mogu da prođu kroz pocepane, pohabane ili dotrajale vreće za travu.
-
Proverite da li vreće za travu imaju rupe, poderotine, znake habanja ili druge znake dotrajalosti.
-
Nemojte prati vreće za travu.
-
Ako je vreća dotrajala, postavite nove vreće za travu koje isporučuje proizvođač ovog priključnog sakupljača.
-
Pregled sečiva kosilice
Redovno pregledajte sečiva kosilice i pregledajte ih svaki put kad sečivo udari u neko strano telo.
Ako su sečiva teško pohabana ili oštećena, postavite nova sečiva. Pogledajte priručnik za kosačicu ili Priručnik za operatera kosačice za uputstva o kompletnom održavanju sečiva.
Čišćenje priključnog sakupljača
| Interval de întreţinere şi service | Procedură de întreţinere |
|---|---|
| Înainte de fiecare folosinţă sau zilnic |
|
| Înainte de depozitare |
|
-
Nakon svake upotrebe uklonite i vodom iz baštenskog creva operite unutrašnjost i spoljašnjost poklopca sakupljača, odvodnu cev, izbacivač i donju stranu kosilice. Koristite blagi deterdžent da uklonite tvrdokornu prljavštinu.
-
Obavezno uklonite slepljenu travu sa svih delova.
-
Isperite vreće za travu vodom iz baštenskog creva da biste uklonili preostale otpatke.
-
Nakon pranja ostavite delove da se temeljno osuše.






























