Tehniskā apkope
Note: Nosakiet mašīnas kreiso un labo pusi no normālas ekspluatācijas pozīcijas.
Ieteiktie tehniskās apkopes grafiki
| Tehniskās apkopes intervāls | Apkopes procedūra |
|---|---|
| Pēc pirmajām 10 stundām |
|
| Pirms katras lietošanas vai katru dienu |
|
| Pirms glabāšanas |
|
Brīdinājuma signāls
Ja atslēga atrodas aizdedzes slēdzī, kāds var nejauši iedarbināt dzinēju un nopietni ievainot jūs vai citus blakus stāvētājus.
Pirms apkopes veikšanas izņemiet atslēgu no aizdedzes un atvienojiet vadu no kvēlsveces. Nolieciet vadu malā, lai tas nejauši nesaskartos ar kvēlsveci.
Brīdinājuma signāls
Dzinēji darbības laikā var kļūt karsti. Saskaroties ar karstām virsmām, var rasties apdegumi.
Ļaujiet dzinējam, it īpaši slāpētājam, pirms pieskaršanās atdzist.
Brīdinājuma signāls
Gruži, piemēram, lapas, zāle vai zari var aizdegties. Uguns dzinēja zonā var radīt personas ievainojumus un īpašuma bojājumu.
-
Nodrošiniet, lai dzinēja un slāpētāja zonā neuzkrātos gruži.
-
Ievērojiet piesardzību, atverot savācējsomas pārsegu, lai gruži nenokristu dzinēja un slāpētāja zonā.
-
Ļaujiet mašīnai atdzist pirms glabāšanas.
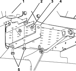
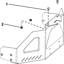
Savācējsomas agregāta pārbaude
| Tehniskās apkopes intervāls | Apkopes procedūra |
|---|---|
| Pēc pirmajām 10 stundām |
|
| Pirms glabāšanas |
|
Pēc pirmajām 10 ekspluatācijas stundām un pēc tam reizi mēnesī pārbaudiet savācējsomas agregātu.
-
Pārbaudiet tekni, izmetes cauruli un savācējsomas augšpusi. Nomainiet šīs daļas, ja tās ir ieplaisājušas vai saplīsušas.
-
Pievelciet visus uzgriežņus, bultskrūves un skrūves.
-
Pārbaudiet visus stiprinājumus un sakabes; nomainiet to, kas trūkst vai ir bojāts.
-
Pārbaudiet zāles maisu nolietojumu.
Brīdinājuma signāls
Jūs vai blakusstāvētāji var gūt traumas no lidojošiem gružiem vai priekšmetiem, kas var izlidot cauri saplīsušiem, nodilušiem vai nolietotiem zāles maisiem.
-
Pārbaudiet, vai zāles maisos nav caurumu, plēsumu, nodiluma vai cita nolietojuma.
-
Nemazgājiet zāles maisus.
-
Ja maiss ir nolietojiet, uzstādiet jaunus savācējsomas agregāta ražotāja nodrošinātus zāles maisus.
-
Pļāvēja asmeņu pārbaude
Regulāri pārbaudiet pļāvēja asmeņus, un ikreiz, kad asmens saduras ar svešķermeni.
Ja asmeņi ir ļoti nodiluši vai bojāti, uzstādiet jaunus asmeņus. Skatiet savu pļāvēju vai pļāvēja Operatora rokasgrāmatu, lai veiktu pilnīgu asmens apkopi.
Zāles maisu apkope
Nemazgājiet zāles maisus.
Lai novērstu strauju maisa materiāla nolietošanos, glabājiet maisus, kur tie pēc katras lietošanas reizes būs pilnīgi sausi.
Savācējsomas agregāta tīrīšana
| Tehniskās apkopes intervāls | Apkopes procedūra |
|---|---|
| Pirms katras lietošanas vai katru dienu |
|
| Pirms glabāšanas |
|
-
Pēc katras lietošanas reizes noņemiet un nomazgājiet savācējsomas augšpuses iekšpusi un ārpusi, izmetes cauruli, tekni un pļāvēja apakšpusi, izmantojot ūdeni no dārza šļūtenes. Izmantojiet maigu mazgāšanas līdzekli, lai notīrītu spēcīgus netīrumus.
-
Pārliecinieties, ka notīriet zāli no visām daļām.
-
Izskalojiet zāles maisus ar ūdeni, izmantojot dārza šļūteni, lai iztīrītu visus gružus.
-
Pēc mazgāšanas ļaujiet visām daļām kārtīgi nožūt.

























