ການບຳລຸງຮັກສາ
ການໃຊ້ຂາຄ້ຳໃນເວລາຍົກໜ່ວຍຕັດຂຶ້ນ
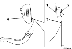
ທຸກຄັ້ງທີ່ຕ້ອງໄດ້ໃຊ້ໜ່ວຍຕັດເພື່ອສຳຜັດກັບແຜ່ນມີດ/ກຽວ, ໃຫ້ເປີດດ້ານຫຼັງຂອງໜ່ວຍຕັດກັບຂາຄ້ຳ (ໃຫ້ມາພ້ອມກັບລົດຕັດຫຍ້າ) ເພື່ອໃຫ້ແນ່ໃຈວ່ານັອດແມ່ຢູ່ດ້ານຫຼັງຂອງນັອດປັບແຖບແຜ່ນບໍ່ໄດ້ຢູ່ເທິງພື້ນທີ່ເຮັດວຽກ (ຮູບສະແດງ 20).

ການຫຼໍ່ລື່ນໜ່ວຍຕັດ
ໝັ່ນໃຫ້ຄວາມຫຼໍ່ລື່ນແກ່ຊິ້ນສ່ວນກະແລັດ 5 ອັນຂອງໜ່ວຍຕັດແຕ່ລະອັນດ້ວຍ (ຮູບສະແດງ 21) ນ້ຳມັນກະແລັດລີທຽມເບີ 2.
ມີຈຸດຫຼໍ່ລື່ນຢູ່ລູກກິ້ງທາງໜ້າ 2 ຈຸດ, ລູກກິ້ງທາງຫຼັງ 2 ຈຸດ ແລະ ຢູ່ຈຸດໂຄ້ງມໍເຕີ້ກຽວ 1 ຈຸດ.
Note: ການຫຼໍ່ລື່ນໜ່ວຍຕັດທັນທີຫຼັງຈາກລ້າງຈະຊ່ວຍຊັບນ້ຳອອກຈາກລູກບີ່ ແລະ ເພີ່ມອາຍຸການໃຊ້ງານຂອງລູກບີ່.
-
ເຊັດຊິ້ນສ່ວນນ້ຳມັນກະແລັດແຕ່ລະອັນດ້ວຍຜ້າທີ່ສະອາດ.
-
ທານ້ຳມັນກະແລັດໃສ່ຈົນກວ່າຈະມີນ້ຳມັນກະແລັດທີ່ສະອາດອອກມາຈາກຕົວອັດລູກກິ້ງ ແລະ ວາວລະບາຍແຮງດັນລູກບີ່.
-
ເຊັດນ້ຳມັນກະແລັດສ່ວນເກີນອອກ.

ການເຈຍສ່ວນນູນອອກມາຂອງກົງໝູນ
ກົງໝູນໃໝ່ມີໜ້າກ້ວາງ 1.3 ເຖິງ 1.5 ມມ (0.050 ເຖິງ 0.060 ນິ້ວ) ແລະ ການເຈຍສ່ວນນູນອອກມາ 30°.
ເມື່ອໜ້າກວ້າງກວ້າງກວ່າ 3 ມມ (0.120 ນິ້ວ), ໃຫ້ເຮັດດັ່ງຕໍ່ໄປນີ້:
-
ນຳໃຊ້ການເຈຍສ່ວນນູນອອກມາ 30° ໃນໃບມີດກົງໝູນທຸກໃບຈົນກ່ວາໜ້າກວ້າງເປັນ 1.3 ມມ (0.050 ນິ້ວ) ລວງກວ້າງ (ຮູບສະແດງ 22 ແລະ ຮູບສະແດງ 23).


-
ໝູນການເຈຍກົງໝູນໃຫ້ບັນລຸກົງໝູນໝົດ <0.025 ມມ (0.001 ນິ້ວ).
Note: ນີ້ເຮັດໃຫ້ໜ້າກວ້າງເພີ່ມຂຶ້ນເລັກນ້ອຍ.
Note: ເພື່ອຍືດອາຍຸການໃຊ້ງານຂອງຄວາມຄົມຂອງຂອບຂອງກົງໝູນ ແລະ ມີດນອນ, ຫຼັງຈາກໄດ້ເຈຍກົງໝູນ ແລະ/ຫຼື ມີດນອນ, ໃຫ້ກວດເບິ່ງການສຳຜັດຂອງກົງໝູນຫາມີດນອນອີກຄັ້ງຫຼັງຈາກການຕັດຫຍ້າທາງສະໜາມກັອຟ 2 ຄັ້ງ, ເພາະວ່າຈະມີການລົບສ້ຽນອອກ, ເຊິ່ງອາດຈະເຮັດໃຫ້ກົງໝູນກັບມີດນອນມີໄລຍະບໍ່ຖືກຕ້ອງ ແລະ ເລັ່ງໃຫ້ມີການຫຼຸ້ຍຫ້ຽນໄວ.
ການບຳລຸງຮັກສາມີດນອນ
ຂີດຈຳກັດການເຮັດວຽກຂອງມີດນອນແມ່ນລະບຸໄວ້ຢູ່ໃນຕາຕະລາງດັ່ງຕໍ່ໄປນີ້.
Important: ການໃຊ້ງານໜ່ວຍຕັດດ້ວຍມີດນອນທີ່ຕ່ຳກວ່າຂີດຈຳກັດການໃຊ້ງານອາດຈະສົ່ງຜົນກະທົບຕໍ່ປະສິດທິພາບການຕັດທີ່ບໍ່ດີ ແລະ ຫຼຸດຄວາມສົມບູນຂອງໂຄງສ້າງຂອງມີດນອນສຳລັບການກະທົບ.
| ຕາຕະລາງຂີດຈຳກັດການເຮັດວຽກຂອງມີດນອນ | ||||
| ມີດນອນ | ອາໄຫຼ່ເລກທີ | ລວງສູງຂອງຂອບມີດນອນ* | ຂີດຈຳກັດການເຮັດວຽກ* | ມູມການຝົນມູມດ້ານເທິງ/ໜ້າ |
| ລວງສູງຂອງການຕັດ (HOC) ຕ່ຳ (ລຸ້ນ 03489) | 121-3167 (45.7 ຊມ (18 ນິ້ວ))110-4084 (55.9 ຊມ (22 ນິ້ວ)) | 5.6 ມມ(0.220 ນິ້ວ) | 4.8 ມມ(0.190 ນິ້ວ) | 10/5 ອົງສາ |
| EdgeMax® ລວງສູງຂອງການຕັດ (HOC) (ລຸ້ນ 03485)(ລຸ້ນ 03487) | 137-6090 (45.7 ຊມ (18 ນິ້ວ))137-6093 (55.9 ຊມ (22 ນິ້ວ)) | 5.6 ມມ(0.220 ນິ້ວ) | 4.8 ມມ(0.190 ນິ້ວ) | 10/5 ອົງສາ |
| HOC (ລວງສູງຂອງການຕັດ) ຕ່ຳຂະຫຍາຍ (ເປັນຕົວເລືອກ) | 120-1640 (55.9 ຊມ (22 ນິ້ວ)) | 5.6 ມມ(0.220 ນິ້ວ) | 4.8 ມມ(0.190 ນິ້ວ) | 10/10 ອົງສາ |
| HOC (ລວງສູງຂອງການຕັດ) ຕ່ຳຂະຫຍາຍ EdgeMax® (ເປັນຕົວເລືອກ) | 119-4280 (55.9 ຊມ (22 ນິ້ວ)) | 5.6 ມມ(0.220 ນິ້ວ) | 4.8 ມມ(0.190 ນິ້ວ) | 10/10 ອົງສາ |
| EdgeMax® (ລຸ້ນ 03484)(ລຸ້ນ 03486) | 137-6091 (45.7 ຊມ (18 ນິ້ວ))137-6094 (55.9 ຊມ (22 ນິ້ວ)) | 6.9 ມມ(0.270 ນິ້ວ) | 4.8 ມມ(0.190 ນິ້ວ) | 10/5 ອົງສາ |
| ມາດຕະຖານ (ເປັນຕົວເລືອກ) | 121-3166 (45.7 ຊມ (18 ນິ້ວ))108-9096 (55.9 ຊມ (22 ນິ້ວ)) | 6.9 ມມ(0.270 ນິ້ວ) | 4.8 ມມ(0.190 ນິ້ວ) | 10/5 ອົງສາ |
| ວຽກໜັກ (ເປັນຕົວເລືອກ) | 110-4074 (55.9 ຊມ (22 ນິ້ວ)) | 9.3 ມມ(0.370 ນິ້ວ) | 4.8 ມມ(0.190 ນິ້ວ) | 10/5 ອົງສາ |
ມູມໃນການຝົນມີດນອນດ້ານໜ້າ ແລະ ທາງເທິງທີ່ແນະນຳ (ຮູບສະແດງ 24)

Note: ການວັດແທກຂີດຈຳກັດການບໍລິການຂອງມີດນອນທັງໝົດກ່ຽວຂ້ອງດ້ານລຸ່ມຂອງມີດນອນ (ຮູບສະແດງ 25)

ການກວດສອບມູມເຈຍດ້ານເທິງສຸດ
ມູມທີ່ທ່ານໃຊ້ໃນການເຈຍມີດນອນຂອງທ່ານແມ່ນມີຄວາມສຳຄັນຫຼາຍ.
ໃຊ້ຕົວຊີ້ວັດມູມ (ອາໄຫຼ່ Toro ເລກທີ 131-6828) ແລະ ມູມຊີ້ບອກການຕິດ (ອາໄຫຼ່ Toro ເລກທີ 131-6829) ເພື່ອກວດກາມູມທີ່ເຄື່ອງເຈຍຂອງທ່ານຜະລິດ ແລະ ຫຼັງຈາກນັ້ນແກ້ໄຂໃຫ້ຖືກຕ້ອງສຳລັບຄວາມບໍ່ຖືກຕ້ອງຂອງເຄື່ອງເຈຍ.
-
ວາງຕົວຊີ້ວັດມູມຢູ່ທາງລຸ່ມຂອງມີດນອນຕາມທີ່ສະແດງຢູ່ໃນ ຮູບສະແດງ 26.

-
ກົດປຸ່ມ Alt Zero ເທິງຕົວຊີ້ວັດມູມ.
-
ວາງຕົວຊີ້ວັດມູມທີ່ຕັ້ງຢູ່ເທິງຂອບຂອງມີດນອນເພື່ອໃຫ້ຂອບຂອງແມ່ເຫຼັກເຂົ້າກັບຂອບຂອງມີດນອນ (ຮູບສະແດງ 27).
Note: ຈໍສະແດງຜົນດິຈິຕອນຄວນຈະສາມາດເບິ່ງເຫັນໄດ້ຈາກຂ້າງດຽວກັນໃນລະຫວ່າງຂັ້ນຕອນນີ້ຄືກັບວ່າມັນຢູ່ໃນຂັ້ນຕອນ 1.

-
ວາງຕົວຊີ້ບອກມູມຢູ່ບ່ອນທີ່ຕິດດັ່ງທີ່ສະແດງຢູ່ໃນ ຮູບສະແດງ 27.
Note: ນີ້ແມ່ນມູມທີ່ເຄື່ອງເຈຍຂອງທ່ານຜະລິດ ແລະ ຄວນຢູ່ພາຍໃນ 2 ອົງສາຂອງມູມເຈຍ ດ້ານເທິງສຸດທີ່ໄດ້ແນະນຳ.
ການສ້ອມບຳລຸງຄານຮອງ
ການຍົກຍ້າຍຄານຮອງ
-
ຫັນນັອດກຽວປັບຄານຮອງໄປທາງກົງກັນຂ້າມກັບເຂັມໂມງເພື່ອຖອດມີດນອນອອກຈາກກົງໝູນ (ຮູບສະແດງ 28).

-
ດຶງນັອດສະປິງອອກຈົນກວ່າແຫວນແປບໍ່ມີຄວາມເຄັ່ງຕຶງອີກຕໍ່ໄປກັບຄານຮອງ (ຮູບສະແດງ 28).
-
ຢູ່ແຕ່ລະຂ້າງຂອງເຄື່ອງ, ມາຍນັອດລັອກແມ່ທີ່ຕິດກັບສະລັກກຽວຄານຮອງ (ຮູບສະແດງ 29).

-
ຖອດສະຫຼັກຄານຮອງແຕ່ລະອັນອອກເພື່ອໃຫ້ຄານຮອງຖືກດຶງລົງມາ ແລະ ເອົາອອກຈາກສະຫຼັກກຽວເຄື່ອງຈັກ (ຮູບສະແດງ 29).
Note: ເອົາໃຈໃສ່ຕໍ່ກັບແຫວນແປໄນລ້ອນ 2 ອັນ ແລະ ແຫວນແປເຫຼັກ 1 ອັນໃນແຕ່ລະດ້ານຂອງຄານຮອງ (ຮູບສະແດງ 30).

ການປະກອບຄານຮອງ
-
ຕິດຕັ້ງຄານຮອງ, ວາງຕຳແໜ່ງຫູຈັບລະຫວ່າງແຫວນແປ ແລະ ຕົວປັບຄານຮອງ.
-
ຕິດຄານຮອງໃນແຕ່ລະແຜ່ນດ້ານຂ້າງທີ່ມີສະລັກກຽວຄານຮອງ (ນັອດແມ່ເທິງສະລັກກຽວ) ແລະ ແຫວນແປ 6 ອັນ.
Note: ວາງຕຳແໜ່ງແຫວນແປໄນລ້ອນຢູ່ແຕ່ລະຂ້າງຂອງປຸ່ມແຜ່ນດ້ານຂ້າງ. ວາງແຫວນແປເຫຼັກຢູ່ດ້ານນອກຂອງແຫວນແປໄນລ້ອນ (ຮູບສະແດງ 30).
-
ບິດນັອດກຽວມີຫົວໃຫ້ໄດ້ 37 ຫາ 45 N∙m (27 ເຖິງ 33 ft-lb).
Note: ຫັນນັອດລັອກຈົນກວ່າແຫວນແປເຫຼັກດ້ານນອກຢຸດໝູນ ແລະ ໄດ້ຖອດຊ່ອງຫວ່າງຂອງເພົາອອກ ແຕ່ຢ່າຫັນ ຫຼື ໝູນແຜ່ນດ້ານຂ້າງແໜ້ນຈົນເກີນໄປ. ແຫວນແປຢູ່ທາງໃນອາດມີຊ່ອງຫວ່າງ.
-
ຫັນນັອດສະປິງໃຫ້ແໜ້ນຈົນກ່ວາສະປິງຍຸບລົງ, ຫຼັງຈາກນັ້ນໝູນກັບຄືນ ½ ຄັ້ງ (ຮູບສະແດງ 31).

ການຕິດຕັ້ງມີດນອນ
-
ກຳຈັດຂີ້ໝ້ຽງ, ຄາບເກາະຕິດ ແລະ ການກັດກ່ອນອອກຈາກພື້ນຜີວຂອງຄານຮອງ ແລະ ທານ້ຳມັນບາງໆໃສ່ພື້ນຜິວຂອງຄານຮອງ.
-
ທຳຄວາມສະອາດກຽວ.
-
ທາສ່ວນປະສົມທີ່ຕ້ານການຍຶດຕິດໃສ່ນັອດກຽວ ແລະ ຕິດຕັ້ງມີດນອນໃສ່ຄານຮອງດັ່ງຕໍ່ໄປນີ້ (ຮູບສະແດງ 32):

-
ເຈຍມີດນອນ.
ການບຳລຸງຮັກສາຕົວປັບຈຸດສອງດ້ານ (DPA) ແບບ HD
-
ຖອດອາໄຫຼ່ທັງໝົດອອກ (ໃຫ້ເບິ່ງ ຄຳແນະນຳການຕິດຕັ້ງ ສຳລັບຊຸດອຸປະກອນ DPA HD ແລະ ເພື່ອ ຮູບສະແດງ 34).
-
ທາສ່ວນປະສົມທີ່ຕ້ານການຍຶດຕິດໃສ່ບໍລິເວນນັອດໃນໂຄງທາງກາງຂອງໜ່ວຍຕັດ (ຮູບສະແດງ 34).
-
ຈັດຕຳແໜ່ງກະແຈໃສ່ໃນປອກເຫຼັກແປໃນໂຄງ ແລະ ຕິດຕັ້ງປອກເຫຼັກ (ຮູບສະແດງ 34).
-
ໃສ່ແຫວນຮອງຮູບຄື້ນໃນຕົວປັບເພົາ ແລະ ເລື່ອນຕົວປັບເພົາເຂົ້າໄປໃນປອກເຫຼັກແປໃນໂຄງຂອງໜ່ວຍຕັດ (ຮູບສະແດງ 34).
-
ຍຶດເພົາຕົວປັບກັບແຫວນພຽງ ແລະ ນັອດລັອກ (ຮູບສະແດງ 34).
-
ບິດນັອດລັອກໃຫ້ໄດ້ 20 ຫາ 27 N∙m (15 ເຖິງ 20 ft-lb).
Note: ເພົາຕົວປັບຄານຮອງມີກຽວເບື້ອງຊ້າຍມື.

-
ທາສ່ວນປະສົມທີ່ຕ້ານການຍຶດຕິດໃສ່ກຽວຂອງນັອດກຽວຕົວປັບຄານຮອງທີ່ພໍດີກັບກັບເພົາຕົວປັບປ່ຽນ.
-
ຫັນນັອດກຽວຕົວປັບຄານຮອງໃສ່ກັບເພົາຕົວປັບປ່ຽນ.
-
ໃສ່ແຫວນແປໜາ, ສະປິງ ແລະ ນັອດສະປິງແບບຫຼວມໆໃນນັອດກຽວຕົວປັບປ່ຽນ.
-
ຕິດຕັ້ງຄານຮອງ, ວາງຕຳແໜ່ງຫູຈັບລະຫວ່າງແຫວນແປ ແລະ ຕົວປັບຄານຮອງ.
-
ຕິດຄານຮອງໃນແຕ່ລະແຜ່ນດ້ານຂ້າງທີ່ມີສະລັກກຽວຄານຮອງ (ນັອດແມ່ເທິງສະລັກກຽວ) ແລະ ແຫວນແປ 6 ອັນ.
Note: ວາງຕຳແໜ່ງແຫວນແປໄນລ້ອນຢູ່ແຕ່ລະຂ້າງຂອງປຸ່ມແຜ່ນດ້ານຂ້າງ.
-
ວາງແຫວນແປເຫຼັກຢູ່ດ້ານນອກຂອງແຫວນແປໄນລ້ອນ (ຮູບສະແດງ 34).
-
ບິດນັອດກຽວມີຫົວໃຫ້ໄດ້ 37 ຫາ 45 N∙m (27 ເຖິງ 33 ft-lb).
-
ຫັນນັອດລັອກຈົນກວ່າແຫວນແປເຫຼັກດ້ານນອກຢຸດໝູນ ແລະ ໄດ້ຖອດຊ່ອງຫວ່າງຂອງເພົາອອກ ແຕ່ຢ່າຫັນ ຫຼື ໝູນແຜ່ນດ້ານຂ້າງແໜ້ນຈົນເກີນໄປ.
Note: ແຫວນແປຢູ່ທາງໃນອາດມີຊ່ອງຫວ່າງ (ຮູບສະແດງ 34).
-
ຫັນນັອດໃນສ່ວນປະກອບຕົວປັບຄານຮອງແຕ່ລະອັນໃຫ້ແໜ້ນຈົນກ່ວາສະປິງຍຸບລົງ, ຫຼັງຈາກນັ້ນໝູນກັບຄືນ ½ ຄັ້ງ (ຮູບສະແດງ 34).
-
ເຮັດຊ້ໍາຄືນຂັ້ນຕອນນີ້ກັບປາຍຂອງໜ່ວຍຕັດອື່ນໆ.
-
ປັບມີດນອນຫາກົງໝູນ; ໃຫ້ເບິ່ງ ການປັບມີດນອນກັບກົງໝູນ .
ການບຳລຸງຮັກສາລູກກິ້ງ
ອຸປະກອນປະກອບລູກກິ້ງ (ອາໄຫຼ່ເລກທີ 114-5430) ແລະ ອຸປະກອນເຄື່ອງມືປະກອບລູກກິ້ງ (ອາໄຫຼ່ເລກທີ 115-0803) (ຮູບສະແດງ 35) ແມ່ນມີໃຫ້ສຳລັບການບຳລຸງຮັກສາລູກກິ້ງ. ອຸປະກອນປະກອບລູກກິ້ງລວມມີຝາຮອງ, ນັອດຝາຮອງ, ຕົວກັນຊຶມດ້ານໃນ ແລະ ດ້ານນອກທຸກຢ່າງເພື່ອປະກອບກົງໝູນ. ຊຸດອຸປະກອນເຄື່ອງມືປະກອບລູກກິ້ງລວມມີເຄື່ອງມືທັງໝົດ ແລະ ຄຳແນະນຳການຕິດຕັ້ງທີ່ຈຳເປັນຕໍ່ກັບການປະກອບກົງໝູນດ້ວຍຊຸດອຸປະກອນປະກອບກົງໝູນ. ເບິ່ງລາຍການອາໄຫຼ່ຂອງທ່ານ ຫຼື ຕິດຕໍ່ຫາຕົວແທນ Toro ທີ່ໄດ້ຮັບອະນຸຍາດຂອງທ່ານເພື່ອຂໍຄວາມຊ່ວຍເຫຼືອ.



, ຊຶ່ງໝາຍເຖິງຂໍ້ຄວນລະວັງ,
ຄຳເຕືອນ ຫຼື ອັນຕະລາຍ, ເຊິ່ງກໍ່ແມ່ນຄຳແນະນຳຄວາມປອດໄພສ່ວນບຸກຄົນ. ການບໍ່ປະຕິບັດຕາມຄຳແນະນຳເຫຼົ່ານີ້ອາດຈະເຮັດໃຫ້ມີການບາດເຈັບສ່ວນຕົວ
ຫຼື ເສຍຊີວິດ.


















