본 설명서를 주의하여 읽어 제품을 적절하게 작동하고 유지보수하는 방법을 배우십시오. 본 설명서의 정보는 운전자와 작업자가 부상을 당하거나 장비에 손상을 입히는 사고를 방지하도록 돕습니다. Toro는 안전한 제품을 설계하고 생산하고 있지만 사용자는 제품을 제대로 안전하게 조작해야 할 책임이 있습니다.
www.Toro.com에서 Toro에 직접 문의하면 제품 안전성과 교육 자료, 액세서리 관련 정보와 판매점 연락처 정보를 얻거나 제품을 등록할 수도 있습니다.
서비스, Toro 순정 부품 또는 추가 정보가 필요하면 지정 서비스점 또는 Toro 고객 서비스에 연락하여 제품의 모델 번호와 일련 번호를 알려 주십시오. 그림 1은 제품의 모델 및 일련번호의 위치를 알려 줍니다.
Note: 이 제품은 모든 관련 유럽 지침을 준수합니다. 자세한 내용은 이 간행물의 뒷면에 나오는 조입 선언(Declaration of Incorporation, DOI)을 참조하십시오.정상 운전 위치에서 장비의 좌측과 우측을 판단하십시오.

캘리포니아
Proposition 65 경고
본 제품의 사용으로 캘리포니아 주에서 암, 선천성 기형 및 기타 생식 기능 장애를 일으키는 것으로 알려진 화학 물질이 들어 있습니다.
운전자나 소유자가 부적절하게 사용하거나 유지관리하면 부상을 당할 수 있습니다. 부상 위험을 줄이려면 여기에 나와 있는 안전 지침을 따르고 주의, 경고, 위험 등의 개인 안전 지침을 의미하는 안전 경고 기호에 항상 주의를 기울이십시오. 이 지침을 따르지 않으면 부상하거나 사망할 수 있습니다.
또한, 차량 사용 설명서의 안전 및 조작 지침을 읽어보십시오.
핸드 스프레이어를 사람이나 동물 쪽으로 향하게 하지 마십시오. 고압 유체는 피부에 침투하거나 심각한 부상을 입힐 수 있으며 신체가 절단되거나 사망에 이를 수 있습니다. 또한, 고온의 액체 및 화학물질은 화상이나 부상을 유발할 수 있습니다. 신체 일부가 스프레이액에 접촉되면 즉시 주사된 액체 부상에 대해 잘 아는 의사의 진료를 받아야 합니다.
스프레이 노즐 앞에 손이나 신체 일부를 노출하지 마십시오.
작업 현장을 떠날 때 장비에 압력을 가한 상태로 두지 마십시오.
호스, 트리거 잠금장치, 노즐 또는 기타 부품이 손상되거나 누락되면 핸드 스프레이어를 사용하지 마십시오.
호스, 피팅, 또는 기타 부품에서 누출이 발생하면 핸드 스프레이어를 사용하지 마십시오.
전력선 근방에 살포하지 마십시오.
핸드 스프레이어를 살포하면서 운전하지 마십시오.
핸드 스프레이어로 화학물질을 살포할 때 고무장갑, 보안경, 전시 보호 작업복을 착용하십시오.
번개는 중상 또는 사망을 유발할 수 있습니다. 번개가 보이거나 천둥 소리가 들릴 경우 장비를 작동하지 말고 피난처를 찾으십시오.
화학물질은 유해하며 신체 부상을 유발할 수 있습니다.
화학물질을 취급하기 전에 화학물질 라벨의 지침을 숙독하고 제조사의 모든 권장 사항 및 주의 사항을 따르십시오.
화학물질이 피부에 닿지 않게 하십시오. 피부와 접촉하면 비누와 깨끗한 물로 접촉 부위를 철저히 씻으십시오.
화학물질 제조사가 권장한 보안경 및 기타 보호장비를 착용하십시오.
![]() |
안전 문구 데칼과 지침은 운전자의 눈에 쉽게 보이며 잠재적인 위험이 있는 모든 부분에 부착되어 있습니다. 손상되거나 유실된 데칼은 교체하십시오. |

고객 준비 소모품:
PTFE 나사산 실런트(테이프 또는 페이스트)
식물유 등 비석유 기반 윤활유
배터리 단자 또는 금속 공구는 금속 장비 부품에 합선을 일으켜 불꽃이 튈 수 있습니다. 불꽃이 튀면 배터리 가스가 폭발하여 부상을 당할 수 있습니다.
배터리를 제거하거나 설치할 때 배터리 단자가 트랙터의 금속 부품에 접촉하지 않도록 하십시오.
금속 공구가 배터리 단자와 장비의 금속 부품 사이에서 합선을 유발하지 않도록 하십시오.
배터리 케이블 배선이 잘못되면 장비 및 케이블을 손상시켜 스파크가 발생할 수 있습니다. 불꽃이 튀면 배터리 가스가 폭발하여 부상을 당할 수 있습니다.
항상 음극(검은색) 배터리 케이블을 분리한 다음 양극(적색) 케이블을 분리하십시오.
항상 음극(검은색) 케이블을 연결하기 전에 양극(적색) 배터리 케이블을 먼저 연결하십시오.
수세조(옵션)을 설치할 때는 스프레이 탱크를 비웁니다. 수세조 키트에 대한 설치 지침의 헹굼 키트 작동 섹션을 참조하십시오.
장비의 스프레이어 탱크의 모든 액체를 비웁니다.
Note: 스프레이어 탱크에 화학 용액이 담겨 있다면, 깨끗한 물로 탱크 및 스프레이어 시스템을 완전히 세척하십시오. 자세한 내용은 차량의 사용 설명서를 참조하십시오.
평평한 곳에 장비를 주차하고, 주차 브레이크를 걸고, 스프레이어 펌프를 정지시키고, 엔진을 끄고 키 스위치에서 키를 뺍니다.
배터리의 음극 단자에서 음극 배터리 케이블을 분리합니다. 사용 설명서를 참조하십시오.
배터리의 양극 단자에서 양극 배터리 케이블을 분리합니다. 사용 설명서를 참조하십시오.
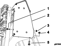
스프레이 탱크의 상단에서 흡입 호스의 90° 가시 피팅을 흡입 스크린 하우징에 고정하는 리테이너 포크를 분리하고, 하우징에서 가시 피팅을 분리합니다(그림 2).

흡입 스크린 하우징에서 90° 피팅을 제거합니다(그림 2).
수세조 바닥에서 벌트헤드 피팅에 공급 호스의 90° 피팅을 고정하는 리테이너 포크를 제거합니다(그림 3).

벌크헤드 피팅에서 90° 피팅을 제거합니다(그림 3).
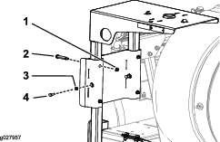
수세조용 2개의 꺾쇠 브래킷을 밸브 마운트에 고정하는 볼트 2개, 와셔 4개, 플랜지 록너트 2개를 분리하고 꺾쇠 브래킷을 제거합니다(그림 4).

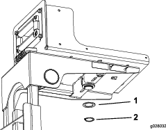
장비에서 수세조를 분리합니다(그림 5).

이 절차를 수행하는 데 필요한 부품:
| 너트(¼-20 인치) | 1 |
| 플랜지 너트(5/16-18 인치) | 5 |
| 플랜지 너트(⅜-16 인치) | 12 |
| 볼트(⅜-16 x 1 인치) | 5 |
| 볼트(¼-20 x ¾ 인치) | 1 |
| 볼트(⅜-16 인치) | 2 |
| 볼트(⅜-16 x 3 ½ 인치) | 2 |
| 상단 브래킷 | 1 |
| 하단 브래킷 지지대 | 1 |
| 하단 브래킷 | 1 |
| 휘즈 볼트(5/16-18 x 1 인치) | 1 |
| U-볼트 | 1 |
| 볼트(⅜-16 x 2 ¼ 인치) | 2 |
| 릴 셸프 지지 브래킷 | 1 |
| 숄더 볼트 | 4 |
| 릴 셸프 프레임 | 1 |
| 잼 너트(5/16-18 인치) | 2 |
| 볼트(5/16-18 x 1 인치) | 2 |
| 압력 게이지 리듀서 | 1 |
| 커플러 | 1 |
| 압력 게이지 | 1 |
그림 9와 같이 1개의 볼트(¼-20 x ¾ 인치), 1개의 너트(¼-20 인치), 1개의 휘즈 볼트(5/16-18 x 1 인치) 및 1개의 플랜지 너트(5/16-18 인치)로 상단 브래킷을 장착합니다.

그림 10과 같이 1개의 U-볼트, 1개의 볼트(⅜-16 x 1 인치) 및 3개의 플랜지 너트(⅜-16 인치)로 상단 브래킷의 후면을 고정합니다.

Note: 상단 브래킷을 설치하기 전에 수세조를 분리했다면 다음 단계를 진행하기 전에 수세조를 설치합니다.
그림 11과 같이 2개의 볼트(⅜-16 인치), 2개의 볼트(⅜-16 x 3 ½ 인치) 및 4개의 플랜지 너트(⅜-16 인치)로 하단 브래킷 및 하단 지지 브래킷을 장착합니다.

장비에 수세조 키트(옵션)를 설치했다면 그림(그림 12)과 같이 장비에 탱크를 정렬합니다.
Note: 수세조 설치의 설명에 따라 수세조 설치를 완료합니다.

그림 13과 같이 4개의 볼트(⅜-16 x 1 인치), 2개의 볼트(⅜-16 x 2 ¼ 인치) 및 6개의 플랜지 너트(⅜-16 인치)로 릴 셸프 지지 브래킷을 고정합니다.

릴 셸프 지지 브래킷의 슬롯에 릴 셸프 프레임을 삽입하고 그림 14와 같이 4개의 숄더 볼트, 4개의 플랜지 너트(5/16-18 인치), 2개의 볼트(5/16-18 x 1 인치) 및 2개의 잼 너트(5/16-18 인치)로 셸프를 고정합니다.

압력 게이지 나사산에 PTFE 테이프를 감고 그림 15와 같이 압력 게이지 어셈블리를 설치합니다.

릴 셸프 프레임에 대해 압력 게이지 지지 브래킷의 볼트를 조입니다.
수세조 상단에 몰딩된 릴리프와 꺾쇠 브래킷을 정렬합니다(그림 16).

밸브 마운트의 구멍과 꺾쇠 브래킷 슬롯을 정렬합니다(그림 16).
수세조 분리에서 제거한 볼트(⅜ x 1-½ 인치), 2개의 와셔(⅜ 인치) 및 플랜지 록너트(⅜ 인치)로 밸브 마운트(그림 16)에 꺾쇠를 느슨하게 조립합니다.
다른 꺾쇠로 수세조의 다른 오목한 부분에 대해 1에서 3 단계까지 반복합니다(그림 16).
손으로 볼트 및 프랜지 너트를 조심스럽게 고정합니다.
Important: 수세조가 안착되고 고정되어야 하지만 꺾쇠가 탱크를 변형시키거나 틀어지게 만들면 안 됩니다.
Note: 수세조를 처음 채웠을 때 꺾쇠와 수세조에 유격이 있는지 확인하십시오(탱크의 물 중량으로 탱크에 프레임에 더 안착될 수 있습니다). 필요하면 수제조에 꺾쇠가 맞춰지도록 볼트와 플랜지 록너트를 조입니다. 탱크 모양을 변형시키지는 않습니다.
이 절차를 수행하는 데 필요한 부품:
| 배선 하니스 | 1 |
| 스위치 박스 어셈블리 | 1 |
| 스러스트 와셔 | 1 |
| 스냅 링 | 1 |
| 호스 링 어셈블리 | 1 |
| 스프링 핀 | 1 |
| 와셔(7/16인치) | 4 |
| 플랜지 너트(5/16-18 인치) | 2 |
| 볼트(5/16-18 x ¼ 인치) | 2 |
| 와셔 | 1 |
| 플랜지 너트(⅜-16 인치) | 4 |
| 볼트(⅜-16 x 1 인치) | 4 |
Note: 호스 링 모터의 퓨즈는 스위치 박스에 있습니다(그림 19).

호스 릴 바닥의 구멍을 향해 스위블 플레이트를 올려 놓습니다.
호스 릴 프레임의 하부에서 스러스트 와셔 및 스냅 링을 스위블 플레이트의 포스트에 부착합니다(그림 20).

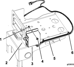
그림 21과 같이 2개의 볼트(5/16-18 x ¼ 인치) 및 2개의 플랜지 너트(5/16-18 인치)로 스위블 플레이트에 스위치 박스를 장착합니다.

기존 클립을 사용해서 스위블 플레이트 측면으로 배선 하니스를 고정합니다(그림 21).
그림 22와 같이 4개의 볼트(⅜-16 x 1 인치), 4개의 와셔(7/16 인치) 및 4개의 플랜지 너트(⅜-16 인치)로 스위블 플레이트에 호스 릴을 고정합니다.
Note: 호스 릴 모터는 스위치 패널과 마주 보면 안 됩니다.

호스 릴 프레임 하부에 와셔 및 스프링 핀을 설치합니다(그림 23).

나머지 배선 하니스 플러그를 모터, 주 하니스 전원, 호스 릴 키트 플러그에 연결합니다.
이 절차를 수행하는 데 필요한 부품:
| 제어 밸브 | 1 |
| T-피팅 | 1 |
| 호스 클램프 | 1 |
| 케이블 타이 | 3 |
| R-클램프 | 1 |
| 호스(180 cm) | 1 |
| 클램프 | 1 |
| 90° 엘보우 | 1 |
| 튜브 커플러 | 1 |
| 너트(¼-20 인치) | 1 |
| 플랜지 너트(⅜-16 인치) | 1 |
| 압력 변환기 튜브 | 1 |
| 볼트(¼-20 x 3/4 인치) | 1 |
| 밸브 마운트 | 1 |
| 제어 밸브 브래킷 | 1 |
| 볼트(6 x 12 mm) | 4 |
| 와셔(8 mm) | 4 |
| 플랜지 헤드 볼트(6 x 16 mm) | 4 |
| 플랜지 록너트(6 mm) | 4 |
그림 27의 A에 표시된 대로 제어 밸브에 밸브 마운트를 조립합니다.

플랜지 헤드 나사(#6)로 제어 밸브에 밸브 마운트를 고정하고, 손으로 나사를 고정합니다(그림 27의 B).
4개의 볼트(6 x 12 mm) 및 4개의 플랫 와셔로 제어 밸브 브래킷(그림 28)을 밸브 마운트에 조립하고, 10~12 N∙m으로 볼트를 조입니다.

그림 29과 같이 T-피팅의 플랜지를 제어 밸브의 플랜지에 정렬합니다.

개스킷 및 플랜지 클램프로 제어 밸브에 T-피팅을 느슨하게 부착합니다(그림 29).
그림 30와 같이 T-피팅 플랜지와 압력 변환기 플랜기를 정렬합니다.

개스킷과 플랜지 클램프로 압력 변환기를 T-피팅에 조립하고 손으로 클램프를 고정합니다(그림 30).
센스 튜브용 커넥터를 포함하는 90° 피팅과 T-피팅 포함 플랜지를 정렬합니다(그림 31).

개스킷 및 플랜지 클램프와 T-피팅 및 90° 피팅을 느슨하게 조립합니다(그림 31).
Note: 필요 시 제어 밸브 브래킷을 회전시켜 밸브 마운트 표면과 평행하도록 정렬합니다.
제어 밸브 브래킷을 템플릿으로 사용하여 매니폴드 마운트의 표면에 브래킷 구멍 위치를 표시합니다(그림 32).

센스 튜브용 커넥터를 포함하는 90° 피팅에서 크램프, 개스킷, T-피팅 포함 플랜지를 분리합니다(그림 31).
3 단계에서 표시한 매니폴드 마운트의 마크의 중심을 펀칭합니다.
5 단계에서 만든 매니폴드 마운트의 중심 펀칭 마크에 6 mm 구멍 4개를 드릴로 뚫습니다.

센스 튜브용 커넥터를 포함하는 90° 피팅과 T-피팅 포함 플랜지를 정렬합니다(그림 34).

개스킷 및 플랜지 클램프와 T-피팅 및 90° 피팅을 느슨하게 조립합니다(그림 34).
4개의 플랜지 헤드 볼트(6 x 16 mm) 및 4개의 플랜지 록너트(6 mm)로 제어 밸브 브래킷(그림 35)을 매니폴드 마운트에 조립하고, 10~12 N∙m으로 볼트를 조입니다.
센스 튜브용 커넥터로 제어 밸브 및 T-피팅을 고정하는 플랜지 클램프(그림 29)와 90° 피팅에 T-피팅을 고정하는 플랜지 클램프를 손으로 조입니다(그림 31 및 그림 34).
압력 변환기의 3 소켓 커넥터를 연결합니다(그림 35).

스프레이 원드 호스를 제어 밸브의 유자 호스 피팅을 조립하고 호스 클램프로 피팅을 호스에 고정합니다(그림 36).

그림 37과 같이 R-클램프, 볼트(¼-20 x 3/4 인치) 및 너트(¼-20 인치)로 호스 180 cm를 상단 브래킷에 고정합니다.

T-피팅 나사산에 PTFE 실런트를 바르고 제어 밸브의 T-피팅에 연결합니다(그림 37).
커플러 나사산에 PTFE 실런트를 바르고 커플러를 T-피팅에 연결합니다(그림 37).
압력 변환기 튜브를 90° 엘보우의 T-피팅 커플러 및 압력 게이지 커플러를 연결합니다(그림 38).

그림 39와 같이 호스 180 cm를 호스 릴 어셈블리의 유자 호스 피팅에 연결하고 호스 클램프로 호스를 피팅에 고정합니다.

3개의 케이블 타이로 릴용 공급 호스에 피벗팅 호스 릴 키트용 와이어 하니스를 고정합니다(그림 39).
이 절차를 수행하는 데 필요한 부품:
| 피팅 포함 스프레이 건 호스 | 1 |
| 스프레이 건 | 1 |
| 소형 호스 클램프 | 1 |
긴 호스의 호스 피팅 나사산에 PTFE 실런트를 바르고, 릴의 연결 튜브에 피팅을 설치합니다(그림 40).

스프레이 건의 피팅에 긴 호스의 다른 편을 연결합니다(그림 41).

소형 호스 클램프로 호스 끝을 고정합니다.
배터리 케이블을 다음과 같이 연결합니다.
배터리 케이블 배선이 잘못되면 장비 및 케이블을 손상시켜 스파크가 발생할 수 있습니다. 불꽃이 튀면 배터리 가스가 폭발하여 부상을 당할 수 있습니다.
항상 음극(검은색) 배터리 케이블을 분리한 다음 양극(적색) 케이블을 분리하십시오.
항상 음극(검은색) 케이블을 연결하기 전에 양극(적색) 배터리 케이블을 먼저 연결하십시오.
배터리의 양극 단자에 양극 배터리 케이블을 연결합니다. 사용 설명서를 참조하십시오.
배터리의 음극 단자에 음극 배터리 케이블을 연결합니다. 사용 설명서를 참조하십시오.
호스 감기 버튼을 누르고 릴에 호스를 조심스럽게 조정하여 호스가 양측에 균등하게 감기도록 합니다.
되감는 동안 호스 및 릴에 손, 느슨한 옷, 긴 머리카락, 느슨한 장신구가 감겨 부상을 당할 수 있습니다.
되감는 동안 릴 및 호스에 손을 대지 마십시오.
느슨한 옷이나 장신구를 착용하지 마시고, 긴 머리카락을 묶으십시오.
가압된 스프레이어 시스템에서 분출되는 액체는 피부에 침투하여 부상을 유발할 수 있습니다.
유압 시스템에 압력을 가하기 전에 모든 호스 및 라인의 상태가 양호하고 모든 유압 커넥터 및 피팅이 단단히 조여 있는지 확인하십시오.
고압의 오일이 분출되는 핀 홀 구멍이나 노즐 근처에 손이나 신체가 놓이지 않게 하십시오.
판지나 종이를 사용하여 액체 오일 누출 부위를 찾으십시오.
스프레이어 시스템에서 작업을 하는 경우 먼저 스프레이어 시스템의 모든 압력을 배출하십시오.
유압 오일이 피부에 침투하면 즉시 의학적 치료를 받으십시오.
깨끗한 물로 스프레이어 탱크를 부분적으로 채웁니다.
엔진을 시동하고, 엔진 속도를 중간 스로틀 위치로 조정하고, 스프레이어 펌프 스위치를 ON(켜짐) 위치에 놓습니다. 사용 설명서를 참조하십시오.
섹션 매니폴드 끝의 제어 밸브가 열렸는지 확인합니다.
매니폴드, 제어 밸브 및 호스에 누출이 없는지 확인합니다.
스위치 박스의 속도 스위치를 사용하여 호스 릴의 스프레이어 시스템 압력을 올립니다.
다음 구성품에 누출이 없는지 확인합니다.
피팅 및 커플링
압력 게이지 및 호스 릴 밸브
튜브, 호스 및 스프레이 건
Note: 스프레이어 시스템을 작동하기 전에 모든 누출 부위를 수리하십시오.
호스 릴의 제어 밸브를 닫고, 스프레이어 펌프 스위치를 OFF(꺼짐) 위치에 놓고, 엔진을 정지합니다.
가압된 액체는 피부에 침투하여 부상을 입힐 수 있습니다.
고압의 오일이 분출되는 노즐 근처에 손이나 신체가 놓이지 않게 하십시오.
스프레이어를 사람이나 동물 쪽으로 향하지 마십시오.
시스템에 압력을 가하기 전에 모든 액체 호스 및 라인의 상태가 양호하고 모든 커넥터 및 피팅이 단단히 조여 있는지 확인하십시오.
판지나 종이를 사용하여 누출 부위를 찾으십시오.
작업을 하는 경우 먼저 시스템의 모든 압력을 배출하십시오.
액체가 피부에 침투하면 즉시 의사의 진료를 받으십시오.
뜨거운 액체와 화학물질은 화상을 유발하거나, 기타 피해를 입힐 수 있습니다.
Important: 항상 사용 후 즉시 스프레이어를 비우고 청소하십시오. 청소하지 않으면 화학물질이 건조된 후 라인에 쌓여 펌프 및 다른 부품이 막힐 수 있습니다.
모든 스프레이 작업 후 각 스프레이 시스템을 청소하십시오. 스프레이 시스템을 적절하게 청소하는 방법:
3개의 별도 린스를 사용하십시오.
헹굴 때마다 최소 189 L를 사용하십시오.
화학물질 제조사가 권장하는 세제 및 중화제를 사용하십시오.
최종 헹굼에는 깨끗한 물을 사용하십시오(세제 또는 중화제 아님).
핸드 스프레이어를 사용하는 중 운전하면 제어를 하지 못해 부상을 당하거나, 사망에 이를 수 있습니다. 운전하는 중에는 핸드 스프레이어를 작동하지 마십시오.
장비를 정지시키고, 붐을 잠그고, 주차 브레이크를 겁니다.
장비 뒤에서 스프레이 건의 트리거 잠금장치를 잠갔는지 확인합니다.
제어 밸브의 레버를 OPEN(열림) 위치로 접습니다.
운전석에서 펌프를 켭니다.
마스터 붐을 ON(켬) 위치로 전환합니다.
원하는 속도로 엔진을 설정한 뒤 엔진 속도 잠금장치를 중립으로 놓습니다.
Important: 핸드 스프레이어를 1034 kPa 이상의 압력으로 설정하지 마십시오.
릴에서 원하는 길이로 호스를 잡아당깁니다.
Important: 스프레이 건으로 호스를 당기지 마십시오. 항상 호스를 잡고 직접 당기십시오. 건으로 호스를 잡아당기면 건의 피팅이 파손되어 호스가 손상될 수 있습니다.
트러거 잠금장치를 해제합니다.
스프레이 건 노즐을 살포할 구역으로 향하고 트리거를 당깁니다.
작업을 완료한 후 트리거를 놓고 트리거 잠금장치를 설정합니다.
되감는 동안 호스 및 릴에 손, 느슨한 옷, 긴 머리카락, 느슨한 장신구가 감겨 부상을 당할 수 있습니다.
되감는 동안 릴 및 호스에 손을 대지 마십시오.
느슨한 옷이나 장신구를 착용하지 마시고, 긴 머리카락을 묶으십시오.
릴에서 호스가 몇 피트 정도 나올 때까지 호스 릴의 되감기 버튼을 누릅니다.
제어 밸브의 레버를 CLOSED(닫힘) 위치로 접습니다.
스프레이 건 노즐을 살포해도 안전한 구역으로 향하고, 트러거 잠금장치를 해제하고, 모든 잔여 액체가 호스에서 나올 때까지 트리거를 당긴 다음 트러거 잠금장치를 채웁니다.
릴 후방의 홀더에 스프레이 건을 다시 걸어놓습니다.
엔진을 공회전 속도로 되돌립니다.
펌프를 정지합니다.
Important: 일상 청소 과정에서 깨끗한 새 물로 스프레이 건을 세척하십시오(스프레이어 사용 설명서를 참조하십시오). 스프레이 건을 적절하게 청소하지 않으면 성능이 저하되고 호스 릴 키트 및 스프레이 건의 신뢰도가 감소합니다.
속도 스위치를 사용하여 원하는 압력으로 설정합니다.