ອ່ານຄູ່ມືນີ້ຢ່າງລະອຽດເພື່ອຮຽນຮູ້ວິທີການນຳໃຊ້ ແລະ ບຳລຸງຮັກສາຜະລິດຕະພັນຂອງທ່ານຢ່າງຖືກຕ້ອງ. ຂໍ້ມູນໃນຄູ່ມືນີ້ສາມາດຊ່ວຍທ່ານ ແລະ ຜູ້ອື່ນຫຼີກລ່ຽງການບາດເຈັບ ແລະ ຄວາມເສຍຫາຍຂອງຜະລິດຕະພັນໄດ້. ເຖິງແມ່ນວ່າ Toro ອອກແບບ ແລະ ຜະລິດຜະລິດຕະພັນທີ່ປອດໄພກໍ່ຕາມກໍ່ຕາມ, ທ່ານຍັງຕ້ອງຮັບຜິດຊອບໃນການນຳໃຊ້ຜະລິດຕະພັນຢ່າງຖືກຕ້ອງ ແລະ ປອດໄພ.
ທ່ານອາດຈະຕິດຕໍ່ຫາ Toro ໄດ້ໂດຍກົງທີ່ www.Toro.com ສຳລັບຄວາມປອດໄພຂອງຜະລິດຕະພັນ ແລະ ອຸປະກອນການຝຶກອົບຮົມການນຳໃຊ້, ຂໍ້ມູນກ່ຽວກັບອຸປະກອນເສີມ, ຊ່ວຍຊອກຫາຕົວແທນຈຳໜ່າຍ ຫຼື ເພື່ອລົງທະບຽນຜະລິດຕະພັນຂອງທ່ານ.
ເມື່ອໃດກໍຕາມທີ່ທ່ານຕ້ອງການບໍລິການ, ອາໄຫຼ່ Toro ຂອງແທ້ ຫຼື ຂໍ້ມູນເພີ່ມເຕີມ, ຕິດຕໍ່ຕົວແທນຈຳໜ່າຍບໍລິການທີ່ໄດ້ຮັບອະນຸຍາດ ຫຼື ຝ່າຍບໍລິການລູກຄ້າ Toro ແລະ ໃຫ້ມີລຸ້ນ ແລະ ເລກລຳດັບຂອງຜະລິດຕະພັນຂອງທ່ານກຽມພ້ອມໄວ້. ຮູບສະແດງ 1 ອະທິບາຍໃຫ້ເຫັນບ່ອນຢູ່ຂອງລຸ້ນ ແລະ ເລກລຳດັບໃນຜະລິດຕະພັນ.
Note: ຜະລິດຕະພັນນີ້ປະຕິບັດຕາມຄຳສັ່ງແນະນຳຂອງເອີຣົບທີ່ກ່ຽວຂ້ອງທັງໝົດ. ສຳລັບລາຍລະອຽດ, ກະລຸນາເບິ່ງຖະແຫຼງການຂອງການລວມເຂົ້າກັນເປັນບໍລິສັດ (DOI) ຢູ່ດ້ານຫຼັງຂອງໜັງສືນີ້.ກໍານົດດ້ານຊ້າຍ ແລະ ຂວາຂອງເຄື່ອງຈັກຈາກຕໍາແໜ່ງການໃຊ້ງານປົກກະຕິ.

CALIFORNIA
ຄຳເຕືອນຂອງກົດໝາຍ Proposition 65
ການນຳໃຊ້ຜະລິດຕະພັນນີ້ອາດຈະເຮັດໃຫ້ສຳຜັດກັບສານເຄມີທີ່ຮູ້ຈັກດີໃນ ລັດຄາລີຟໍເນຍ ວ່າເປັນສາເຫດກໍ່ໃຫ້ເກີດມະເຮັງ, ຄວາມຜິດປົກກະຕິໃນການເກີດລູກ, ຫຼື ອັນຕະລາຍຕໍ່ການຈະເລີນພັນອື່ນໆ.
ການນຳໃຊ້ ຫຼື ການບຳລຸງຮັກສາເຄື່ອງຈັກທີ່ບໍ່ຖືກຕ້ອງໂດຍຜູ້ນຳໃຊ້ ຫຼື ຜູ້ເປັນເຈົ້າຂອງສາມາດເຮັດໃຫ້ເກີດການບາດເຈັບໄດ້. ເພື່ອຫຼຸດຜ່ອນການບາດເຈັບທີ່ອາດຈະເກີດຂຶ້ນ, ໃຫ້ປະຕິບັດຕາມຄຳແນະນຳກ່ຽວກັບຄວາມປອດໄພເຫຼົ່ານີ້, ເຊິ່ງໝາຍເຖິງຂໍ້ຄວນລະວັງ, ຄຳເຕືອນ ຫຼື ອັນຕະລາຍ, ເຊິ່ງກໍ່ແມ່ນຄຳແນະນຳຄວາມປອດໄພສ່ວນບຸກຄົນ. ການບໍ່ປະຕິບັດຕາມຄຳແນະນຳອາດຈະເຮັດໃຫ້ມີການບາດເຈັບສ່ວນຕົວ ຫຼື ເສຍຊີວິດໄດ້.
ໃຫ້ອ່ານເບິ່ງຄຳແນະນຳຄວາມປອດໄພ ແລະ ການໃຊ້ງານຢູ່ໃນຄູ່ມືຜູ້ໃຊ້ພາຫະນະນຳອີກ.
ຢ່າເລັງເຄື່ອງສີດພົ່ນດ້ວຍມືໃສ່ຄົນ ຫຼື ສັດ. ຂອງແຫຼວທີ່ມີຄວາມດັນສູງສາມາດເຂົ້າໄປໃນຜິວໜັງ ແລະ ເຮັດໃຫ້ເກີດການບາດເຈັບຮ້າຍແຮງ, ອາດຈະເຮັດໃຫ້ມີການຕັດແຂນຂາ ຫຼື ເຖິງຂັ້ນເສຍຊີວິດໄດ້. ຂອງແຫຼວ ແລະ ສານເຄມີທີ່ຮ້ອນສາມາດເຮັດໃຫ້ເກີດການໄໝ້ ຫຼື ການບາດເຈັບໄດ້. ຖ້າສ່ວນໃດໜຶ່ງຂອງຮ່າງກາຍມາສຳຜັດກັບກະແສການສີດພົ່ນ, ໃຫ້ປຶກສາກັບແພດທີ່ຄຸ້ນເຄີຍກັບການບາດເຈັບຈາກຂອງແຫຼວທີ່ສີດເຂົ້າໄປທັນທີ.
ຢ່າເອົາມືຂອງທ່ານ ຫຼື ພາກສ່ວນອື່ນໆໃດໜຶ່ງຂອງຮ່າງກາຍທ່ານໄປວາງຕໍ່ໜ້າຫົວສີດພົ່ນ.
ຢ່າປະປ່ອຍອຸປະກອນໄວ້ພາຍໃຕ້ຄວາມດັນເມື່ອທ່ານບໍ່ຢູ່.
ຢ່າໃຊ້ບັ້ງສີດດ້ວຍມື, ຖ້າທໍ່, ລັອກໄກ, ຫົວສີດ ຫຼື ພາກສ່ວນອື່ນໃດໜຶ່ງເປ່ເພ ຫຼື ບໍ່ມີ.
ຢ່າໃຊ້ບັ້ງສີດດ້ວຍມື, ຖ້າມີການຮົ່ວຢູ່ໃນທໍ່, ຂໍ້ຕໍ່ ຫຼື ອົງປະກອບອື່ນໆ.
ຢ່າສີດພົ່ນຢູ່ໃກ້ສາຍໄຟ.
ຢ່າຂັບລົດໃນຂະນະທີ່ກຳລັງສີດພົ່ນດ້ວຍບັ້ງສີດດ້ວຍມື.
ໃສ່ຖົງມືຢາງ, ແວ່ນຕາປ້ອງກັນເພື່ອຄວາມປອດໄພ ແລະ ຊຸດປ້ອງກັນໝົດທັງຕົວເມື່ອສີດພົ່ນສານເຄມີດ້ວຍບັ້ງສີດດ້ວຍມື.
ຟ້າຜ່າສາມາດເຮັດໃຫ້ເກີດການບາດເຈັບສາຫັດ ຫຼື ເສຍຊີວິດໄດ້. ຖ້າເຫັນມີຟ້າຜ່າ ຫຼື ໄດ້ຍິນສຽງຟ້າຮ້ອງຢູ່ໃນພື້ນທີ່, ຢ່ານຳໃຊ້ເຄື່ອງຈັກ, ໃຫ້ຊອກຫາທີ່ກຳບັງ.
ສານເຄມີອັນຕະລາຍ ແລະ ກໍ່ໃຫ້ເກີດການບາດເຈັບສ່ວນຕົວໄດ້.
ອ່ານຄຳແນະນຳຢູ່ໃນສະຫຼາກສານເຄມີກ່ອນຈັດການກັບສານເຄມີ ແລະ ປະຕິບັດຕາມທຸກຄຳແນະນຳ ແລະ ຂໍ້ຄວນລະວັງຂອງຜູ້ຜະລິດທັງໝົດ.
ເກັບສານເຄມີໄວ້ໃຫ້ຫ່າງຈາກຜິວໜັງຂອງທ່ານ. ຖ້າເກີດມີການສຳຜັດ, ຈົ່ງລ້າງບໍລິເວນທີ່ໄດ້ຮັບຜົນກະທົບດ້ວຍສະບູ່ ແລະ ນ້ຳສະອາດໃຫ້ທົ່ວ.
ໃສ່ແວ່ນຕາ ແລະ ອຸປະກອນປ້ອງກັນຕົວອື່ນໆທີ່ຜູ້ຜະລິດສານເຄມີແນະນຳ.
![]() |
ສະຫຼາກ ແລະ ຄຳແນະນຳກ່ຽວກັບຄວາມປອດໄພແມ່ນສາມາດໃຫ້ຜູ້ນຳໃຊ້ເບິ່ງເຫັນໄດ້ງ່າຍ ແລະ ຕັ້ງຢູ່ໃກ້ກັບພື້ນທີ່ໃດໜຶ່ງທີ່ອາດຈະເກີດອັນຕະລາຍ. ປ່ຽນສະຫຼາກໃດໜຶ່ງທີ່ເສຍຫາຍ ຫຼື ຫາຍໄປ. |

ເຄື່ອງໃຊ້ທີ່ສະໜອງໃຫ້ລູກຄ້າ:
ນ້ຳຢາສີດກຽວ PTFE (ສະກັອດຕິດ ຫຼື ນ້ຳຢາແປະໃສ່)
ສານຫຼໍ່ມື່ນທີ່ບໍ່ມີນ້ຳມັນປີໂຕຼລຽນເຊັ່ນ: ນ້ຳມັນພືດ
ຫົວແບັດເຕີຣີ ຫຼື ເຄື່ອງມືໂລຫະສາມາດຊັອດໃສ່ສ່ວນປະກອບເຄື່ອງຈັກທີ່ເປັນໂລຫະ, ເຮັດໃຫ້ເກີດປະກາຍໄຟໄດ້. ປະກາຍໄຟສາມາດເຮັດໃຫ້ແກ໊ສໃນແບັດເຕີຣີລະເບີດ, ເຊິ່ງເຮັດໃຫ້ມີການບາດເຈັບສ່ວນບຸກຄົນ.
ເມື່ອຖອດ ຫຼື ຕິດຕັ້ງແບັດເຕີຣີ, ຢ່າປ່ອຍໃຫ້ຫົວແບັດເຕີຣີສຳລັບກັບສ່ວນຂອງລົດແທຣກເຕີທີ່ເປັນໂລຫະ.
ຢ່າປ່ອຍໃຫ້ເຄື່ອງມືໂລຫະຊັອດລະຫວ່າງຫົວແບັດເຕີຣີ ແລະ ສ່ວນຂອງເຄື່ອງຈັກທີ່ເປັນໂລຫະ.
ການໃສ່ສາຍແບັດເຕີຣີທີ່ບໍ່ຖືກຕ້ອງສາມາດເຮັດໃຫ້ເຄື່ອງຈັກ ແລະ ສາຍໄຟເສຍຫາຍ, ກໍ່ໃຫ້ເກີດປະກາຍໄຟໄດ້. ປະກາຍໄຟສາມາດເຮັດໃຫ້ແກ໊ສໃນແບັດເຕີຣີລະເບີດ, ເຊິ່ງເຮັດໃຫ້ມີການບາດເຈັບສ່ວນບຸກຄົນ.
ຄວນຖອດສາຍໄຟລົບ (ສີດຳ) ຂອງແບັດເຕີຣີຢູ່ຕະຫຼອດກ່ອນທີ່ຈະຖອດສາຍໄຟບວກ (ສີແດງ).
ເຊື່ອມຕໍ່ສາຍໄຟບວກ (ສີແດງ) ຂອງແບັດເຕີຣີຢູ່ຕະຫຼອດກ່ອນທີ່ຈະເຊື່ອມຕໍ່ສາຍໄຟລົບ (ສີດໍາ).
ຖ້າຖັງລ້າງທາງເລືອກຖືກຕິດຕັ້ງໄວ້, ໃຫ້ເທຖັງໃຫ້ເປົ່າໄປໃສ່ຖັງສີດພົ່ນ; ໃຫ້ເບິ່ງຊຸດເຄື່ອງມືການດຳເນີນການລ້າງຢູ່ໃນຄຳແນະນຳການຕິດຕັ້ງສຳລັບຊຸດເຄື່ອງມືລ້າງຖັງ.
ກວດສອບໃຫ້ແນ່ໃຈວ່າຖັງເຄື່ອງສີດພົ່ນຂອງເຄື່ອງຈັກເປົ່າໂດຍບໍ່ມີຂອງແຫຼວໃດໆແລ້ວ.
Note: ຖ້າຖັງເຄື່ອງສີດພົ່ນມີການບັນຈຸສານເຄມີໄວ້, ໃຫ້ລ້າງຖັງ ແລະ ລະບົບເຄື່ອງສີດພົ່ນໃຫ້ທົ່ວດ້ວຍນ້ຳສະອາດ, ໃຫ້ເບິ່ງຄູ່ມືຜູ້ໃຊ້ພາຫະນະຂອງທ່ານເປັນຄຳແນະນຳ.
ຈອດເຄື່ອງຈັກຢູ່ບ່ອນພຽງໄດ້ລະດັບ, ໃສ່ເບຣກມື, ມອດປ້ຳເຄື່ອງສີດພົ່ນ, ມອດຈັກ ແລະ ຖອດກະແຈອອກຈາກສະວິດກະແຈ.
ຖອດສາຍແບັດເຕີຣີຂົ້ວລົບອອກຈາກຫົວຂົ້ວລົບຂອງແບັດເຕີຣີ, ໃຫ້ເບິ່ງຄູ່ມືຂອງຜູ້ໃຊ້.
ຖອດສາຍແບັດເຕີຣີຂົ້ວບວກອອກຈາກຫົວຂົ້ວບວກຂອງແບັດເຕີຣີ, ໃຫ້ເບິ່ງຄູ່ມືຂອງຜູ້ໃຊ້.
ຢູ່ດ້ານເທິງຂອງຖັງສີດພົ່ນ, ເອົາຫົວໜີບຕົວຍຶດທີ່ຍຶດຂໍ້ຕໍ່ລວດໜາມ 90° ຂອງທໍ່ດູດໃສ່ຕົວເຮືອນສຳລັບຕະແກດູດ ແລະ ແຍກຂໍ້ຕໍ່ລວດໜາມອອກຈາກຕົວເຮືອນ (ຮູບສະແດງ 2).

ເອົາຂໍ້ຕໍ່ 90° ອອກຈາກຕົວເຮືອນຕະແກງດູດ (ຮູບສະແດງ 2).
ຢູ່ດ້ານລຸ່ມຂອງຖັງລ້າງ, ເອົາຫົວໜີບຕົວຍຶດທີ່ຍຶດຂໍ້ຕໍ່ 90° ຂອງທໍ່ຈ່າຍໃສ່ຂໍ້ຕໍ່ຫົວກຽວ (ຮູບສະແດງ 3).

ເອົາຂໍ້ຕໍ່ 90° ອອກຈາກຂໍ້ຕໍ່ຫົວກຽວ (ຮູບສະແດງ 3).
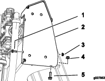
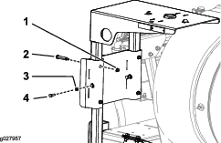
ເອົານັອດຕົວຜູ້ 2 ນັອດ, ແຫວນຮອງ 4 ຕົວ ແລະ ນັອດລັອກແມ່ໜ້າແປນ 2 ຕົວທີ່ຍຶດຂາຍຶດຕິດ 2 ຕົວສຳລັບຖັງລ້າງໃສ່ບ່ອນຕິດວາວອອກ ແລະ ເອົາຂາຍຶດຕິດອອກ (ຮູບສະແດງ 4).

ເອົາຖັງລ້າງອອກຈາກເຄື່ອງຈັກ (ຮູບສະແດງ 5).


ມາຍນັອດລັອກແມ່ໜ້າແປນ 4 ຕົວ ແລະ ນັອດຕົວຜູ້ 4 ຕົວທີ່ຍຶດວາວສາຍຮັດຖັງ (ຮູບສະແດງ 7).

ເຄື່ອນຍ້າຍຖັງສີດພົ່ນໄປທາງໜ້າຈົນກວ່າສາຍຮັດຈັດລຽນຕົວຊະລ້າງກັບບ່າດ້ານຫຼັງສຸດຂອງການປ່ອຍສາຍຮັດທີ່ໄດ້ຫຼໍ່ເປັນແບບເຂົ້າໃສ່ຖັງ (ຮູບສະແດງ 8).

ຮັດນັອດລັອກແມ່ໜ້າແປນ 4 ຕົວ ແລະ ນັອດຕົວຜູ້ 4 ຕົວໃຫ້ແໜ້ນຢູ່ດ້ານເທິງຂອງສາຍຮັດໃຫ້ແໜ້ນຈົນກວ່າສາຍຮັດມີລະດັບສະເໝີກັບຜິວຂອງຖັງ (ຮູບສະແດງ 7).
ອາໄຫຼ່ທີ່ຈຳເປັນສຳລັບຂັ້ນຕອນນີ້:
| ນັອດຕົວແມ່ (¼-20 ນິ້ວ) | 1 |
| ນັອດຕົວແມ່ໜ້າແປນ (5/16-18 ນິ້ວ) | 5 |
| ນັອດຕົວແມ່ໜ້າແປນ (⅜-16 ນິ້ວ) | 12 |
| ນັອດຕົວຜູ້ (⅝-16 x 1 ນິ້ວ) | 5 |
| ນັອດຕົວຜູ້ (¼-20 x ¾ ນິ້ວ) | 1 |
| ນັອດຕົວຜູ້ (⅜-16 ນິ້ວ) | 2 |
| ນັອດຕົວຜູ້ (⅜-16 x 3 ½ ນິ້ວ) | 2 |
| ຂາຍຶດດ້ານເທິງ | 1 |
| ຕົວຄ້ຳຂາຍຶດດ້ານລຸ່ມ | 1 |
| ຂາຍຶດດ້ານລຸ່ມ | 1 |
| ນັອດຕົວຜູ້ມີສຽງວິດ (5/16-18 x 1 ນິ້ວ) | 1 |
| ນັອດຕົວຜູ້ຮູບໂຕ U | 1 |
| ນັອດຕົວຜູ້ (⅜-16 x 2 ¼ ນິ້ວ) | 2 |
| ຂາຄ້ຳຮອງຮັບຖ້ານກົງໝູນ | 1 |
| ນັອດສະຫຼັກກຽວຫົວ | 4 |
| ກອບຖ້ານກົງໝູນ | 1 |
| ນັອດຊ້ອນສອງ (5/16-18 ນິ້ວ) | 2 |
| ນັອດຕົວຜູ້ (5/16-18 x 1 ນິ້ວ) | 2 |
| ຕົວຫຼຸດເຄື່ອງວັດແທກຄວາມດັນ | 1 |
| ຂໍ້ຕໍ່ | 1 |
| ເຄື່ອງແທກຄວາມດັນ | 1 |
ຕິດຂາຍຶດເບື້ອງເທິງດ້ວຍການໃຊ້ນັອດຕົວຜູ້ 1 ຕົວ (¼-20 x ¾ ນິ້ວ), ນັອດຕົວແມ່ 1 ຕົວ (¼-20 ນິ້ວ), ນັອດຕົວຜູ້ສຽງວິດ 1 ຕົວ (5/16-18 x 1 ນິ້ວ) ແລະ ນັອດຕົວແມ່ໜ້າແປນ 1 ຕົວ (5/16-18 ນິ້ວ) ດັ່ງສະແດງໄວ້ຢູ່ໃນ ຮູບສະແດງ 9.

ຍຶດດ້ານຫຼັງຂອງຂາຍຶດເບື້ອງເທິງດ້ວຍການໃຊ້ນັອດຕົວຜູ້ຮູບຕົວ U 1 ຕົວ, ນັອດຕົວຜູ້ 1 ຕົວ (⅜-16 x 1 ນິ້ວ) ແລະ ນັອດຕົວແມ່ໜ້າແປນ 3 ຕົວ (⅜-16 ນິ້ວ) ດັ່ງສະແດງໄວ້ຢູ່ໃນ ຮູບສະແດງ 10.

Note: ຖ້າຖັງລ້າງຖືກເອົາອອກໄປກ່ອນຕິດຕັ້ງຂາຍຶດດ້ານເທິງ, ຕິດຕັ້ງຖັງລ້າງກ່ອນສືບຕໍ່ໄປຫາຂັ້ນຕອນຕໍ່ໄປ.
ຍຶດຂາຍຶດດ້ານລຸ່ມ ແລະ ຂາຍຶດຄ້ຳດ້ານລຸ່ມໃສ່ກອບດ້ວຍການໃຊ້ນັອດຕົວຜູ້ 2 ຕົວ (⅜-16 ນິ້ວ), ນັອດຕົວຜູ້ 2 ຕົວ (⅜-16 x 1 ½ ນິ້ວ) ແລະ ນັອດຕົວແມ່ໜ້າແປນ 4 ຕົວ (⅜-16 ນິ້ວ) ດັ່ງສະແດງໄວ້ຢູ່ໃນ ຮູບສະແດງ 11.

ຖ້າເຄື່ອງຈັກຂອງທ່ານມີຊຸດເຄື່ອງຖັງລ້າງທາງເລືອກຕິດຕັ້ງມານຳ, ຈັດລຽນຖັງໃສ່ເຄື່ອງຈັກຕາມທີ່ສະແດງຢູ່ໃນຮູບ (ຮູບສະແດງ 12).
Note: ທ່ານຈະເຮັດການຕິດຕັ້ງຖັງລ້າງໃຫ້ສຳເລັດໃນ ການຕິດຕັ້ງຖັງລ້າງ.

ຍຶດຂາຍຶດຄ້ຳຖ້ານກົງໝູນໃສ່ຂາຍຶດດ້ານເທິງ ແລະ ລຸ່ມດ້ວຍການໃຊ້ນັອດຕົວຜູ້ 4 ຕົວ (⅜-16 ນິ້ວ), ນັອດຕົວຜູ້ 2 ຕົວ (⅜-16 x 2 ¼ ນິ້ວ) ແລະ ນັອດຕົວແມ່ໜ້າແປນ 6 ຕົວ (⅜-16 ນິ້ວ) ດັ່ງສະແດງໄວ້ຢູ່ໃນ ຮູບສະແດງ 13.

ສອດກອບຖ້ານກົງໝູນເຂົ້າໄປໃນຮາງໃສ່ຂາຍຶດຄ້ຳຖ້ານກົງໝູນ ແລະ ຍຶດຖ້ານດ້ວຍການໃຊ້ນັອດສະຫຼັກກຽວຫົວ 4 ຕົວ, ນັອດຕົວແມ່ໜ້າແປນ 4 ຕົວ (5/16-18 ນິ້ວ), ນັອດຕົວຜູ້ 2 ຕົວ (5/16-18 x 1 ນິ້ວ) ແລະ ນັອດຊ້ອນສອງ 2 ຕົວ (5/16-18 ນິ້ວ) ດັ່ງສະແດງໄວ້ຢູ່ໃນ ຮູບສະແດງ 14.

ນຳໃຊ້ສະກັອດ PTFE ໃສ່ກຽວໃນເຄື່ອງແທກຄວາມດັນ ແລະ ຕິດຕັ້ງສ່ວນປະກອບເຄື່ອງແທກຄວາມດັນດັ່ງສະແດງໄວ້ຢູ່ໃນ ຮູບສະແດງ 15.

ຮັດນັອກຕົວຜູ້ໃນຂາຍຶດຄ້ຳເຄື່ອງແທກຄວາມດັນໃສ່ກອບຖ້ານກົງໝູນ.
ຈັດລຽນຂາຍຶດຕິດດ້ວຍຕົວຜ່ອນທີ່ຫຼໍ່ເປັນແບບໄປຍັງດ້ານເທິງຂອງຖັງລ້າງ (ຮູບສະແດງ 16)

ຈັດລຽນຮາງຢູ່ໃນຂາຍຶດຕິດດ້ວຍຮູຢູ່ໃນບ່ອນຕິດວາວ (ຮູບສະແດງ 16).
ປະກອບຕົວຍຶດເຂົ້າກັບຖານວາວໃຫ້ຫຼົມໆ(ຮູບສະແດງ 16)ດ້ວຍນັອດກຽວຕົວຜູ້ (⅜ x 1-½ ນິ້ວ), ແຫວນຮອງ 2 ອັນ (⅜ ນິ້ວ), ແລະ ນັອດລັອກຕົວແມ່ໜ້າແປນ (⅜ ນິ້ວ) ທີ່ທ່ານເອົາອອກຢູ່ໃນ ການເອົາຖັງລ້າງອອກ.
ເຮັດຊ້ຳຄືນຂັ້ນຕອນ 1 ຮອດ 3 ສຳລັບອີກຂ້າງໜຶ່ງກົດຄ້າງໄວ້ທີ່ຊ່ອງອື່ນໃນຖັງລ້າງ (ຮູບສະແດງ 16).
ຫັນນັອດຕົວຜູ້ ແລະ ນັອດຕົວແມ່ໜ້າແປນໃຫ້ແໜ້ນດ້ວຍມື.
Important: ຖັງລ້າງຕ້ອງຕັ້ງ ແລະ ຍຶດໃຫ້ແໜ້ນ, ແຕ່ການກົດຄ້າງໄວ້ບໍ່ຄວນເຮັດໃຫ້ຖັງລ້າງເສຍຮູບ ຫຼື ບິດບ້ຽວ
Note: ເມື່ອເຕີມຖັງລ້າງໃນເບື້ອງຕົ້ນແລ້ວ, ໃຫ້ກວດສອບຊ່ອງກົດຄ້າງໄວ້ ແລະ ຖັງລ້າງເພື່ອການໃຊ້ງານ (ນ້ຳໜັກຂອງນ້ຳໃນຖັງສາມາດວາງໃຫ້ຕິດກັບໂຄງເພີ່ມເຕີມໄດ້). ຖ້າຈຳເປັນ, ຫັນນັອດກຽວຕົວຜູ້ ແລະ ນັອດລັອກແມ່ແຜ່ນປິດໃຫ້ແໜ້ນຈົນກວ່າຍຶດເຂົ້າກັບຖັງ—ຢ່າເຮັດໃຫ້ຖັງເສຍຮູບຊົງ.
ຈັດຕຳແໜ່ງຂໍ້ຕໍ່ທີ່ມີບາກ 90° ຂອງທໍ່ຈ່າຍເຂົ້າກັບເຮືອນສຳລັບຕະແກງດູດ (ຮູບສະແດງ 18).

ຍຶດຂໍ້ຕໍ່ທີ່ມີບາກ 90° ເຂົ້າກັບຕົວເຮືອນ (ຮູບສະແດງ 18) ດ້ວຍສາຍລວດຍຶດທີ່ທ່ານໄດ້ຖອດໃນຂັ້ນຕອນ 1 ຂອງ ການເອົາຖັງລ້າງອອກ.
ອາໄຫຼ່ທີ່ຈຳເປັນສຳລັບຂັ້ນຕອນນີ້:
| ສາຍສຽບໄຟ | 1 |
| ສ່ວນປະກອບກ່ອງສະວິດ | 1 |
| ແຫວນຮອງ | 1 |
| ແຫວນແຕກ | 1 |
| ກໍ້ທໍ່ສ່ວນປະກອບ | 1 |
| ສະຫຼັກຂັດສະປຣິງ | 1 |
| ແຫວນຮອງ (7/16 ນິ້ວ) | 4 |
| ນັອດຕົວແມ່ໜ້າແປນ (5/16-18 ນິ້ວ) | 2 |
| ນັອດຕົວຜູ້ (5/16-18 x ¼ ນິ້ວ) | 2 |
| ແຫວນຮອງ | 1 |
| ນັອດຕົວແມ່ໜ້າແປນ (⅜-16 ນິ້ວ) | 4 |
| ນັອດຕົວຜູ້ (⅜-16 x 1 ນິ້ວ) | 4 |
Note: ຟິວສຳລັບມໍເຕີກົງໝູນມ້າຢູ່ໃນກ່ອງສະວິດ (ຮູບສະແດງ 19).

ວາງຈານໝູນລົງໃສ່ໃນຮູຢູ່ຖານກໍ້ທໍ່.
ຢູ່ດ້ານລຸ່ມຂອງກອບກໍ້ທໍ່, ຕິດແຫວນຮອງ ແລະ ແຫວນແຕກໃສ່ເສົາຢູ່ຈານໝູນ (ຮູບສະແດງ 20).

ຕິດກ່ອງສະວິດໃສ່ຈານໝູນດ້ວຍການໃຊ້ນັອດຕົວຜູ້ 2 ຕົວ (⅚-18 x ¼ ນິ້ວ) ແລະ ນັອດຕົວແມ່ໜ້າແປນ 5 ຕົວ (5/16-18 ນິ້ວ) ດັ່ງສະແດງໄວ້ຢູ່ໃນ ຮູບສະແດງ 21.

ຍຶດສາຍໄຟໃສ່ດ້ານຂອງຈານໝູນດ້ວຍການໃຊ້ລຄິບທີ່ມີຢູ່ແລ້ວ (ຮູບສະແດງ 21).
ຍຶດກໍ້ມ້ວນທໍ່ໃສ່ຈານໝູນດ້ວຍການໃຊ້ນັອດຕົວຜູ້ 4 ຕົວ (⅜-16 x 1 ນິ້ວ), ແຫວນຮອງ 2 ຕົວ ແລະ ນັອດຕົວແມ່ໜ້າແປນ 4 ຕົວ (⅜-16 ນິ້ວ) ດັ່ງສະແດງໄວ້ຢູ່ໃນ ຮູບສະແດງ 22.
Note: ມໍເຕີ້ກໍ້ທໍ່ຄວນຈະປິ່ນໜ້າອອກໄປຈາກແຜງສະວິດ.

ຕິດຕັ້ງແຫວນຮອງ ແລະ ສະຫຼັກຂັດສະປຣິງໄປໃສ່ດ້ານລຸ່ມຂອງກອບກໍ້ທໍ່ (ຮູບສະແດງ 23).

ຕໍ່ປລັກສາຍສຽບໄຟທີ່ຍັງເຫຼືອໃສ່ມໍເຕີ, ບ່ອນຈ່າຍໄຟໃຫ້ສາຍຕົ້ນຕໍ ແລະ ປລັກຊຸດເຄື່ອງມືຕົວມ້ວນທໍ່.
ອາໄຫຼ່ທີ່ຈຳເປັນສຳລັບຂັ້ນຕອນນີ້:
| ວາວຄວບຄຸມ | 1 |
| ຂໍ້ຕໍ່ສາມຂາຮູບຕົວ T | 1 |
| ປອກຮັດທໍ່ | 1 |
| ສາຍຮັດ | 3 |
| ປອກຮັດຮູບຕົວ R | 1 |
| ທໍ່ (71 ນິ້ວ) | 1 |
| ປອກຮັດ | 1 |
| ຂໍ້ຕໍ່ 90° | 1 |
| ຂໍ້ຕໍ່ທໍ່ | 1 |
| ນັອດຕົວແມ່ (¼-20 ນິ້ວ) | 1 |
| ນັອດຕົວແມ່ໜ້າແປນ (⅜-16 ນິ້ວ) | 1 |
| ທໍ່ຕໍ່ຫຼຸດຄວາມດັນ | 1 |
| ນັອດຕົວຜູ້ (¼-20 x ¾ ນິ້ວ) | 1 |
| ຖານວາວ | 1 |
| ຂາຄ້ຳວາວຄວບຄຸມ | 1 |
| ນັອດຕົວຜູ້ (6 x 12 ມມ) | 4 |
| ແຫວນຮອງ (8 ມມ) | 4 |
| ນັອດຕົວຜູ້ຫົວແຜ່ນປິດ (6 x 16 ມມ) | 4 |
| ນັອດລັອກຕົວແມ່ໜ້າແປນ (6 ມມ) | 4 |
ຖອດຝາປິດ ແລະ ຂໍ້ຕໍ່ອອກຈາກຊ່ອງເຄື່ອງແທກຄວາມດັນ (ຮູບສະແດງ 24).

ຕິດຕັ້ງສ່ວນປະກອບວາວຄວບຄຸມດັ່ງທີ່ສະແດງຢູ່ໃນ ຮູບສະແດງ 24.
ຕິດຕັ້ງຂໍ້ຕໍ່ໃສ່ຊ່ອງເປີດໃນຂໍ້ຕໍ່ 90° (ຮູບສະແດງ 24 ແລະ ຮູບສະແດງ 37).
Note: ຝາປິດສາມາດກຳຈັດຖິ້ມໄດ້.
ຕໍ່ທໍ່ສະໜອງໃຫ້ກໍ້ທໍ່ໃສ່ວາວຄວບຄຸມດ້ວຍການໃຊ້ປອກຮັດທໍ່ (ຮູບສະແດງ 24).
ຕັດເຊື່ອມຕໍ່ຕົວເຊື່ອມຕໍ່ 3 ຮູສຳລັບຕົວຕໍ່ຫຼຸດຄວາມດັນ (ຮູບສະແດງ 25).

ເອົາປອກຮັດຝາປິດທີ່ຍຶດຕົວເຊື່ອມຕໍ່ຫຼຸດຄວາມດັນໃສ່ຂໍ້ຕໍ່ 90° ອອກ ແລະ ເອົາຕົວຕໍ່ຫຼຸດ, ຢ່ວງຮອງ ແລະ ປອກຮັດຝາປິດອອກ (ຮູບສະແດງ 26).

ເອົາປອກຮັດຝາປິດທີ່ຍຶດຂໍ້ຕໍ່ 90° ໃສ່ຂໍ້ຕໍ່ 90° ດ້ວຍຕົວເຊື່ອມຕໍ່ສຳລັບຫຼອດຄວາມຮູ້ສຶກອອກ ແລະ ເອົາຂໍ້ຕໍ່ 90°, ຢ່ວງຮອງ ແລະ ປອກຮັດຝາປິດອອກ (ຮູບສະແດງ 26)
ປະກອບຖານວາວໃສ່ວາວຄວບຄຸມຕາມທີ່ສະແດງຢູ່ໃນ A ຂອງ ຮູບສະແດງ 27.

ຍຶດຖານວາວໃສ່ວາວຄວບຄຸມດ້ວຍນັອດກຽວຫົວແຜ່ນປິດ (#6) ແລະ ຮັດນັອດກຽວໃຫ້ແໜ້ນດ້ວຍມື (B ຂອງ ຮູບສະແດງ 27).
ປະກອບຖານວາວໃສ່ຂາຄ້ຳວາວຄວບຄຸມ (ຮູບສະແດງ 28) ດ້ວຍນັອດຕົວຜູ້ 4 ຕົວ (6 x 12 ມມ) ແລະ ແຫວນຮອງແບບພຽງ 4 ຕົວ; ບິດນັອດໃຫ້ໄດ້ແຮງ 10 ຫາ 12 N∙m (86 ຫາ 106 in-lb).

ຈັດແຜ່ນປິດຂອງຂໍ້ຕໍ່ສາມຂາຮູບຕົວ T ໃສ່ແຜ່ນປິດຂອງວາວຄວບຄຸມດັ່ງທີ່ສະແດງຢູ່ໃນ ຮູບສະແດງ 29.

ຕິດຂໍ້ຕໍ່ສາມຂາຮູບຕົວ T ໃສ່ວາວຄວບຄຸມຫຼວມໆດ້ວຍຢ່ວງຮອງ ແລະ ປອກຮັດຝາປິດ (ຮູບສະແດງ 29).
ຈັດແຜ່ນປິດຂອງຕົວເຊື່ອມຕໍ່ຫຼຸດຄວາມດັນດ້ວຍແຜ່ນປິດຂອງຂໍ້ຕໍ່ສາມຂາຮູບຕົວ T ດັ່ງທີ່ສະແດງຢູ່ໃນ ຮູບສະແດງ 30.

ປະກອບຕົວເຊື່ອມຕໍ່ຫຼຸດຄວາມດັນໃສ່ຂໍ້ຕໍ່ສາມຂາຮູບຕົວ T ດ້ວຍຢ່ວງຮອງ ແລະ ປອກຮັດຝາປິດ ແລະ ຮັດປອກຮັດໃຫ້ແໜ້ນດ້ວຍມື (ຮູບສະແດງ 30).
ຈັດແຜ່ນປິດຂອງຂໍ້ຕໍ່ສາມຂາຮູບຕົວ T ດ້ວຍແຜ່ນປິດຂອງຂໍ້ຕໍ່ 90° ກັບຕົວເຊື່ອມຕໍ່ສຳລັບທໍ່ຮັບຄວາມຮູ້ສຶກ (ຮູບສະແດງ 31).

ປະກອບຂໍ້ຕໍ່ສາມຂາຮູບຕົວ T ແລະ ຂໍ້ຕໍ່ 90° ຫຼວມໆດ້ວຍຢ່ວງຮອງ ແລະ ປອກຮັດຝາປິດ (ຮູບສະແດງ 31).
Note: ໝູນຂາຄ້ຳວາວຄວບຄຸມຕາມທີ່ຈຳເປັນເພື່ອຈັດລຽນມັນໃຫ້ມີລະດັບສະເໝີກັບພື້ນຜິວຂອງຖານວາວ.
ການໃຊ້ຂາຄ້ຳວາວຄວບຄຸມເປັນແມ່ແບບ, ໝາຍບ່ອນຂອງຮູຢູ່ໃນຂາຄ້ຳໃສ່ພື້ນຜິວຂອງຖານທໍ່ຮ່ວມ (ຮູບສະແດງ 32).

ເອົາປອກຮັດ, ຢ່ວງຮອງ, ຂໍ້ຕໍ່ສາມຂາຮູບຕົວ T ດ້ວຍແຜ່ນປິດອອກຈາກຂໍ້ຕໍ່ 90° ກັບຕົວເຊື່ອມຕໍ່ສຳລັບທໍ່ຮັບຄວາມຮູ້ສຶກ (ຮູບສະແດງ 31).
ເຈາະຮູເຄິ່ງກາງເຄື່ອງໝາຍໃນທໍ່ຮ່ວມທີ່ທ່ານເຮັດຢູ່ໃນຂັ້ນຕອນ 3.
ເຈາະ 4 ຮູ 6 ມມ (¼ ນິ້ວ) ໃສ່ທໍ່ຮ່ວມຢູ່ເຄື່ອງໝາຍເຈາະເຄິ່ງກາງທີ່ທ່ານເຮັດໃນຂັ້ນຕອນ 5.

ຈັດແຜ່ນປິດຂອງຂໍ້ຕໍ່ສາມຂາຮູບຕົວ T ດ້ວຍແຜ່ນປິດຂອງຂໍ້ຕໍ່ 90° ກັບຕົວເຊື່ອມຕໍ່ສຳລັບທໍ່ຮັບຄວາມຮູ້ສຶກ (ຮູບສະແດງ 34).

ປະກອບຂໍ້ຕໍ່ສາມຂາຮູບຕົວ T ແລະ ຂໍ້ຕໍ່ 90° ຫຼວມໆດ້ວຍຢ່ວງຮອງ ແລະ ປອກຮັດຝາປິດ (ຮູບສະແດງ 34).
ປະກອບຂາຄ້ຳວາວຄວບຄຸມໃສ່ທໍ່ຮ່ວມ (ຮູບສະແດງ 35) ດ້ວຍນັອດຕົວຜູ້ຫົວຝາປິດ 4 ຕົວ (6 x 16 ມມ) ແລະ ນັອດລັອກຕົວແມ່ຫົວປິດ 4 ຕົວ (6 ມມ); ບິດນັອດໃຫ້ໄດ້ແຮງ 10 ຫາ 12 N∙m (86 ຫາ 106 in-lb).
ຫັນປອກຮັດແຜ່ນຜິດທີ່ຍຶດວາວຄວບຄຸມ ແລະ ຂໍ້ຕໍ່ສາມຂາຮູບຕົວ T (ຮູບສະແດງ 29) ແລະ ປອກຮັດຝາປິດທີ່ຍຶດຂໍ້ຕໍ່ສາມຂາຮູບຕົວ T 90° ດ້ວຍຕົວເຊື່ອມຕໍ່ສຳລັບທໍ່ຮັບຄວາມຮູ້ສຶກ (ຮູບສະແດງ 31 ແລະ ຮູບສະແດງ 34) ໃຫ້ແໜ້ນ.
ເຊື່ອມຕໍ່ຕົວເຊື່ອມຕໍ່ 3 ຮູສຳລັບຕົວຕໍ່ຫຼຸດຄວາມດັນ (ຮູບສະແດງ 35).

ປະກອບທໍ່ບອກຕ່ຳແໜ່ງສີດພົ່ນໃສ່ຂໍ້ຕໍ່ທໍ່ເປັນໝາມຂອງວາວຄວບຄຸມ ແລະ ຍຶດທໍ່ໃສ່ຂໍ້ຕໍ່ດ້ວຍປອກຮັດທໍ່ (ຮູບສະແດງ 36).

ຍຶດທໍ່ 180 ຊມ (71 ນິ້ວ) ໃສ່ຂາຄ້ຳດ້ານເທິງດ້ວຍການໃຊ້ປອກຮັດຮູບຕົວ R, ນັອດຕົວຜູ້ (¼-20 x ¾ ນິ້ວ) ແລະ ນັອດຕົວແມ່ (¼-20 ນິ້ວ) ດັ່ງສະແດວໄວ້ຢູ່ໃນ ຮູບສະແດງ 37.

ນຳໃຊ້ຕົວປິດ PTFE ໃສ່ກຽວໃນຂໍ້ຕໍ່ສາມຂາຮູບຕົວ T ແລະ ເຊື່ອມຕໍ່ຂໍ້ຕໍ່ສາມຂາຮູບຕົວ T ໃສ່ວາວຄວບຄຸມ (ຮູບສະແດງ 37).
ນຳໃຊ້ຕົວປິດ PTFE ໃສ່ກຽວໃນຂໍ້ຕໍ່ ແລະ ເຊື່ອມຕໍ່ຂໍ້ຕໍ່ໃສ່ຂໍ້ຕໍ່ສາມຂາຮູບຕົວ T (ຮູບສະແດງ 37).
ເຊື່ອມຕໍ່ທໍ່ຕໍ່ຫຼຸດຄວາມດັນໃສ່ຂໍ້ຕໍ່ຢູ່ບ່ອນຂໍ້ຕໍ່ສາມຂາຮູບຕົວ T ຢູ່ໃນຂໍ້ຕໍ່ 90° ແລະ ຂໍ້ຕໍ່ຢູ່ທີ່ເຄື່ອງວັດແທກຄວາມດັນ (ຮູບສະແດງ 38).

ເຊື່ອມຕໍ່ທໍ່ 180 ຊມ (71 ນິ້ວ) ໃສ່ຂໍ້ຕໍ່ທໍ່ເປັນໝາມໃນຊິ້ນສ່ວນປະກອບກົງມ້ວນທໍ່ ແລະ ຍຶດທໍ່ໃສ່ຂໍ້ຕໍ່ດ້ວຍປອກຮັດທໍ່ດັ່ງສະແດງໄວ້ຢູ່ໃນ (ຮູບສະແດງ 39).

ຍຶດສາຍສຽບໄຟສຳລັບຊຸດເຄື່ອງມືກໍ້ມ້ວນທໍ່ແກນໝູນໃສ່ທໍ່ສະໜອງສຳລັບກົງໝູນດ້ວຍການໃຊ້ສາຍຮັດ 3 ເສັ້ນ (ຮູບສະແດງ 39).
ອາໄຫຼ່ທີ່ຈຳເປັນສຳລັບຂັ້ນຕອນນີ້:
| ທໍ່ປືນສີດພົ່ນພ້ອມຂໍ້ຕໍ່ | 1 |
| ປືນສີດພົ່ນ | 1 |
| ປອກຮັດທໍ່ນ້ອຍ | 1 |
ນຳໃຊ້ຕົວປິດ PTFE ໃສ່ຮອບກຽວຂອງຂໍ້ຕໍ່ທໍ່ໃນທໍ່ຍາວ ແລະ ຕິດຕັ້ງຂໍ້ຕໍ່ໃສ່ທໍ່ຕໍ່ໃນກໍ້ໝູນ (ຮູບສະແດງ 40).

ຕໍ່ສົ້ນເສລີຂອງທໍ່ຍາວໃສ່ຂໍ້ຕໍ່ໃນປືນສີດພົ່ນ (ຮູບສະແດງ 41).

ຍຶດປາຍຂອງທໍ່ດ້ວຍປອກຮັດທໍ່ນ້ອຍ.
ເຊື່ອມຕໍ່ສາຍແບັດເຕີຣີດັ່ງຕໍ່ໄປນີ້:
ການໃສ່ສາຍແບັດເຕີຣີທີ່ບໍ່ຖືກຕ້ອງສາມາດເຮັດໃຫ້ເຄື່ອງຈັກ ແລະ ສາຍໄຟເສຍຫາຍ, ກໍ່ໃຫ້ເກີດປະກາຍໄຟໄດ້. ປະກາຍໄຟສາມາດເຮັດໃຫ້ແກ໊ສໃນແບັດເຕີຣີລະເບີດ, ເຊິ່ງເຮັດໃຫ້ມີການບາດເຈັບສ່ວນບຸກຄົນ.
ຄວນຖອດສາຍໄຟລົບ (ສີດຳ) ຂອງແບັດເຕີຣີຢູ່ຕະຫຼອດກ່ອນທີ່ຈະຖອດສາຍໄຟບວກ (ສີແດງ).
ເຊື່ອມຕໍ່ສາຍໄຟບວກ (ສີແດງ) ຂອງແບັດເຕີຣີຢູ່ຕະຫຼອດກ່ອນທີ່ຈະເຊື່ອມຕໍ່ສາຍໄຟລົບ (ສີດໍາ).
ເຊື່ອມຕໍ່ສາຍແບັດເຕີຣີຂົ້ວບວກໃສ່ຫົວຂົ້ວບວກຂອງແບັດເຕີຣີ, ໃຫ້ເບິ່ງຄູ່ມືຂອງຜູ້ໃຊ້.
ເຊື່ອມຕໍ່ສາຍແບັດເຕີຣີຂົ້ວລົບໃສ່ຫົວຂົ້ວລົບຂອງແບັດເຕີຣີ, ໃຫ້ເບິ່ງຄູ່ມືຂອງຜູ້ໃຊ້.
ກົດປຸ່ມມ້ວນທໍ່ ແລະ ນຳພາທໍ່ເຂົ້າໃສ່ກໍ້ທີ່ກຳລັງມ້ວນທໍ່ຈາກດ້ານໜຶ່ງມາໃສ່ດ້ານໜຶ່ງເພື່ອກະຈາຍທໍ່ໃຫ້ສະໜ່ຳສະເໝີຢ່າງລະມັດລະວັງ.
ມື, ເຄື່ອງນຸ່ງຫຼວມ, ຜົມຍາວ ແລະ ເຄື່ອງປະດັບຫຼວມສາມາດຖືກຕິດຢູ່ໃນທໍ່ ແລະ ກໍ້ໃນຂະນະທີ່ກຳລັງກໍ້ຄືນ ແລະ ເຮັດໃຫ້ເກີດການບາດເຈັບໄດ້.
ຮັກສາມືຂອງທ່ານໃຫ້ຫ່າງຈາກກໍ້ ແລະ ທໍ່ໃນຂະນະທີ່ມັນກຳລັງກໍ້ຄືນ.
ຢ່ານຸ່ງເຄື່ອງຫຼວມ ຫຼື ໃສ່ເຄື່ອງປະດັບຫຼວມ ແລະ ມັດຜົມທີ່ຍາວໄວ້.
ຂອງແຫຼວທີ່ອອກຈາກລະບົບເຄື່ອງສີດພົ່ນພາຍໃຕ້ຄວາມດັນສາມາດແຜ່ຊຶມເຂົ້າຜິວໜັງ ແລະ ເຮັດໃຫ້ເກີດການບາດເຈັບໄດ້.
ໃຫ້ແນ່ໃຈວ່າທໍ່ ແລະ ສາຍເຊື່ອມຕໍ່ທັງໝົດຢູ່ໃນສະພາບດີ ແລະ ທຸກໆການເຊື່ອມຕໍ່ ແລະ ຂໍ້ຕໍ່ແໜ້ນດີກ່ອນທີ່ຈະນຳໃຊ້ຄວາມດັນໃສ່ລະບົບເຄື່ອງສີດພົ່ນ.
ຮັກສາຮ່າງກາຍ ແລະ ມືຂອງທ່ານໃຫ້ຢູ່ຫ່າງຈາກການຮົ່ວໄຫຼຂອງຮູໄລຂັດ ຫຼື ຫົວສີດທີ່ປ່ອຍຂອງແຫຼວຄວາມດັນສູງອອກ.
ໃຊ້ເຈ້ຍແຂງ ຫຼື ເຈ້ຍເພື່ອຊອກຫາການຮົ່ວຂອງແຫຼວ.
ຜ່ອນແຮງດັນທັງໝົດໃນລະບົບເຄື່ອງສີດພົ່ນລົງຢ່າງປອດໄພກ່ອນທີ່ຈະປະຕິບັດວຽກງານໃດໜຶ່ງໃນລະບົບເຄື່ອງສີດພົ່ນ.
ຂໍການປິ່ນປົວທາງການແພດທັນທີ, ຖ້າມີການສີດຂອງແຫຼວເຂົ້າໄປໃນຜິວໜັງ.
ຕື່ມນ້ຳສະອາດໃສ່ຖັງເຄື່ອງສີດພົ່ນເປັນບາງສ່ວນ.
ຕິດຈັກ, ຕັ້ງຄວາມໄວຈັກໄປຕຳແໜ່ງເຄິ່ງຄັນເລັ່ງ ແລະ ຕັ້ງສະວິດສຳລັບປ້ຳເຄື່ອງສີດພົ່ນໄປສູ່ຕຳແໜ່ງເປີດ; ໃຫ້ເບິ່ງຄູ່ມືຜູ້ໃຊ້.
ໃຫ້ແນ່ໃຈວ່າວາວຄວບຄຸມຢູ່ປາຍຂອງທໍ່ຮ່ວມຕັດເປີດ.
ກວດເບິ່ງການຮົ່ວໄຫຼຢູ່ທໍ່ຮ່ວມ, ວາວຄວບຄຸມ ແລະ ທໍ່.
ໃຊ້ສະວິດອັດຕາຢູ່ໃນກ່ອງສະວິດເພື່ອຍົກຄວາມດັນລະບົບເຄື່ອງສີດພົ່ນຂຶ້ນຢູ່ກໍ້ໝູນທໍ່.
ກວດເບິ່ງການຮົ່ວຂອງພາກສ່ວນຕໍ່ໄປນີ້:
ຂໍ້ຕໍ່ ແລະ ບ່ອນຕໍ່
ເຄື່ອງແທກຄວາມດັນ ແລະ ວາວກໍ້ມ້ວນທໍ່
ຫຼອດ, ທໍ່ ແລະ ປືນສີດພົ່ນ
Note: ສ້ອມແປງບ່ອນຮົ່ວໄຫຼທັງໝົດກ່ອນທີ່ຈະໃຊ້ງານລະບົບເຄື່ອງສີດພົ່ນ.
ປິດວາວຄວບຄຸມສຳລັບກໍ້ມ້ວນທໍ່, ຕັ້ງສະວິດສຳລັບປ້ຳເຄື່ອງສີດພົ່ນໄປສູ່ຕຳແໜ່ງປິດ ແລະ ມອດຈັກ.
ຂອງແຫຼວພາຍໃຕ້ຄວາມດັນສາມາດແຜ່ຊຶມເຂົ້າຜິວໜັງ ແລະ ເຮັດໃຫ້ເກີດການບາດເຈັບໄດ້.
ຮັກສາຮ່າງກາຍ ແລະ ມືຂອງທ່ານໃຫ້ຢູ່ຫ່າງຈາກຫົວສີດທີ່ປ່ອຍຂອງແຫຼວຄວາມດັນສູງອອກມາ.
ຢ່າເລັງເຄື່ອງສີດພົ່ນໃສ່ຄົນ ຫຼື ສັດ.
ໃຫ້ແນ່ໃຈວ່າທໍ່ ແລະ ສາຍເຊື່ອມຕໍ່ຂອງແຫຼວທັງໝົດຢູ່ໃນສະພາບດີ ແລະ ທຸກໆການເຊື່ອມຕໍ່ ແລະ ຂໍ້ຕໍ່ແໜ້ນດີກ່ອນທີ່ຈະນຳໃຊ້ຄວາມດັນໃສ່ລະບົບ.
ໃຊ້ເຈ້ຍແຂງ ຫຼື ເຈ້ຍເພື່ອຊອກຫາການຮົ່ວ.
ຜ່ອນແຮງດັນທັງໝົດໃນລະບົບລົງຢ່າງປອດໄພກ່ອນທີ່ຈະປະຕິບັດວຽກງານໃດໜຶ່ງກັບມັນ.
ຂໍຄວາມຊ່ວຍເຫຼືອທາງການແພດທັນທີ, ຖ້າມີການສີດຂອງແຫຼວເຂົ້າໄປໃນຜິວໜັງ.
ຂອງແຫຼວ ແລະ ສານເຄມີທີ່ຮ້ອນສາມາດເຮັດໃຫ້ເກີດການໄໝ້ ຫຼື ອັນຕະລາຍອື່ນໆໄດ້.
Important: ຖອກເຄື່ອງສີດພົ່ນໃຫ້ເປົ່າ ແລະ ທຳຄວາມສະອາດທັນທີຫຼັງຈາກການນຳໃຊ້ແຕ່ລະຄັ້ງ. ການບໍ່ເຮັດແນວນັ້ນອາດຈະເຮັດໃຫ້ສານເຄມີແຫ້ງ ຫຼື ຕິດແໜ້ນຢູ່ໃນທໍ່, ອຸດຕັນປ້ຳ ແລະ ສ່ວນປະກອບອື່ນໆ.
ທຳຄວາມສະອາດລະບົບສີດພົ່ນຫຼັງຈາກແຕ່ລະຄັ້ງການສີດພົ່ນ. ເພື່ອທຳຄວາມສະອາດລະບົບສີດພົ່ນຢ່າງຖືກຕ້ອງ:
ໃຊ້ການໄລລ້າງ 3 ເທື່ອແຍກກັນ.
ການລ້າງແຕ່ລະເທື່ອໃຫ້ໃຊ້ຢ່າງຕ່ຳ 189 ລິດ (50 ແກນລອນສະຫະລັດ).
ໃຊ້ນ້ຳຢາທຳຄວາມສະອາດ ຫຼື ນ້ຳຢາເຮັດໃຫ້ເປັນກາງຕາມທີ່ຜູ້ຜະລິດສານເຄມີແນະນຳ.
ໃຊ້ນ້ຳສະອາດ (ບໍ່ໃຊ້ນ້ຳຢາທຳຄວາມສະອາດ ຫຼື ນ້ຳຢາເຮັດໃຫ້ເປັນກາງ) ສຳລັບການລ້າງເທື່ອສຸດທ້າຍ.
ການຂັບຂີ່ໃນຂະນະທີ່ກຳລັງໃຊ້ບັ້ງສີດພົ່ນດ້ວຍມືສາມາດເຮັດໃຫ້ເສຍການຄວບຄຸມ, ເຮັດໃຫ້ເກີດການບາດເຈັບ ຫຼື ເສຍຊີວິດໄດ້. ຢ່ານຳໃຊ້ບັ້ງສີດພົ່ນດ້ວຍມືໃນຂະນະທີ່ກຳລັງຂັບລົດ.
ຢຸດເຄື່ອງຈັກ, ປິດຄານສີດພົ່ນ ແລະ ໃສ່ເບຣກມື.
ຢູ່ດ້ານຫຼັງຂອງເຄື່ອງຈັກ, ໃຫ້ແນ່ໃຈວ່າລັອກໄກໃນປືນສີດຖືກລັອກໄວ້.
ປີ້ນຄັນໂຍກໃນວາວຄວບຄຸມໄປຕຳແໜ່ງເປີດ.
ຢູ່ທີ່ຕຳແໜ່ງຜູ້ໃຊ້ງານ, ເປີດປ້ຳ.
ບິດສະວິດຄານສີດພົ່ນຕົ້ນຕໍໄປຕຳແໜ່ງເປີດ.
ຕັ້ງຈັກໄປຫາຄວາມໄວທີ່ຕ້ອງການ, ຈາກນັ້ນໃສ່ລັອກຄວາມໄວຈັກເກຍຫວ່າງ.
Important: ຢ່າໃຊ້ການຕັ້ງຄ່າຄວາມດັນສູງກວ່າ 10.34 bar (150 psi) ດ້ວຍເຕົ້າສີດດ້ວຍມື.
ດຶງຈຳນວນທໍ່ທີ່ຕ້ອງການອອກຈາກກໍ້.
Important: ຢ່າດຶງທໍ່ທີ່ມີປືນສີດພົ່ນອອກ. ຈັບຖືທໍ່ໄວ້ ແລະ ດຶງມັນໂດຍກົງເລີຍທຸກຄັ້ງ. ການດຶງທໍ່ທີ່ມີປືນອອກອາດຈະເຮັດໃຫ້ຂໍ້ຕໍ່ໃນປືນແຕກ ຫຼື ເຮັດໃຫ້ທໍ່ໄດ້ຮັບຄວາມເສຍຫາຍ.
ປ່ອຍລັອກໄກ.
ນຳເອົາຫົວສີດປືນສີດພົ່ນໄປໃສ່ບ່ອນທີ່ຈະສີດພົ່ນ ແລະ ດຶງໄກ.
ປ່ອຍໄກ ແລະ ໃສ່ລັອກໄກເມື່ອທ່ານສີດພົ່ນແລ້ວ.
ມື, ເຄື່ອງນຸ່ງຫຼວມ, ຜົມຍາວ ແລະ ເຄື່ອງປະດັບຫຼວມສາມາດຖືກຕິດຢູ່ໃນທໍ່ ແລະ ກໍ້ໃນຂະນະທີ່ກຳລັງກໍ້ຄືນ ແລະ ເຮັດໃຫ້ເກີດການບາດເຈັບໄດ້.
ຮັກສາມືຂອງທ່ານໃຫ້ຫ່າງຈາກກໍ້ ແລະ ທໍ່ໃນຂະນະທີ່ມັນກຳລັງກໍ້ຄືນ.
ຢ່ານຸ່ງເຄື່ອງຫຼວມ ຫຼື ໃສ່ເຄື່ອງປະດັບຫຼວມ ແລະ ມັດຜົມທີ່ຍາວໄວ້.
ກົດປຸ່ມມ້ວນຄືນຢູ່ໃນກໍ້ທີ່ຈົນກວ່າຈະມີພຽງແຕ່ທໍ່ສອງສາມຟຸດຢູ່ນອກກໍ້.
ປີ້ນຄັນໂຍກໃນວາວຄວບຄຸມໄປຕຳແໜ່ງປິດ.
ນຳເອົາຫົວສີດປືນສີດພົ່ນໄປໃສ່ບ່ອນທີ່ມັນຈະປອດໄພທີ່ຈະສີດພົ່ນ, ປ່ອຍລັອກໄກ ແລະ ດຶງໄກຈົນກວ່າຂອງແຫຼວທີ່ຍັງເຫຼືອທັງໝົດອອກຈາກທໍ່, ຈາກນັ້ນໃສ່ລັອກໄກ.
ເອົາປືນສີດພົ່ນກັບຄືນໄປໄວ້ບ່ອນເກັບຢູ່ດ້ານຫຼັງຂອງກໍ້.
ເອົາຈັກກັບຄືນໄປສູ່ຄວາມໄວກາລັງຕີ.
ມອດປ້ຳ.
Important: ໃຫ້ແນ່ໃຈວ່າທ່ານໄດ້ຊະລ້າງປືນສີດພົ່ນດ້ວຍນ້ຳສະອາດສົດໃນລະຫວ່າງການທຳຄວາມສະອາດປະຈຳວັນຂອງທ່ານ (ໃຫ້ເບິ່ຄູ່ມືຜູ້ໃຊ້ເຄື່ອງສີດພົ່ນຂອງທ່ານ). ການບໍ່ທຳຄວາມສະອາດປືນສີດພົ່ນຢ່າງຖືກຕ້ອງອາດຈະເຮັດໃຫ້ເສື່ອມປະສິດທິພາບການໃຊ້ງານ ແລະ ຄວາມໜ້າເຊື່ອຖືຂອງຊຸດເຄື່ອງມືກໍ້ທໍ່ ແລະ ປືນສີດພົ່ນ.
ໃຊ້ສະວິດອັດຕາເພື່ອຕັ້ງຄວາມດັນຕາມຕ້ອງການ.