Leggete attentamente il presente manuale al fine di utilizzare e mantenere correttamente il prodotto. Le informazioni qui riportate aiuteranno voi ed altri ad evitare infortuni e a non danneggiare il prodotto. Sebbene Toro progetti, produca e distribuisca prodotti all'insegna della sicurezza, voi siete responsabili del corretto utilizzo del prodotto in condizioni di sicurezza.
Per ricevere materiali di formazione sulla sicurezza e il funzionamento dei prodotti, avere informazioni sugli accessori, ottenere assistenza nella ricerca di un rivenditore o registrare il vostro prodotto, potete contattare Toro direttamente a www.Toro.com.
Per assistenza, ricambi originali Toro o ulteriori informazioni, rivolgetevi a un Distributore Toro autorizzato o ad un Centro Assistenza Toro, ed abbiate sempre a portata di mano il numero del modello ed il numero di serie del prodotto. Figura 1 illustra la posizione del numero del modello e del numero di serie sul prodotto.
Note: Il prodotto è conforme a tutte le direttive europee pertinenti. Per maggiori dettagli, consultare la Dichiarazione di incorporazione sul retro della presente pubblicazione.Stabilire i lati sinistro e destro della macchina dalla normale posizione di guida.

CALIFORNIA
Avvertenza norma "Proposition 65"
L'utilizzo del presente prodotto potrebbe esporre a sostanze chimiche che nello Stato della California sono considerate cancerogene e causa di anomalie congenite o di altre problematiche della riproduzione.
L'errato utilizzo o manutenzione da parte dell'operatore o del proprietario possono provocare incidenti. Per ridurre il potenziale di infortuni, rispettate le presenti istruzioni di sicurezza e prestate sempre attenzione al simbolo di avviso di sicurezza, che significa Attenzione, Avvertenza o Pericolo – istruzioni per la sicurezza personale. Il mancato rispetto delle istruzioni può provocare infortuni anche fatali.
Leggete anche le istruzioni per la sicurezza e l'uso riportate sul Manuale dell'operatore del veicolo.
Non dirigete lo sprayer manuale verso persone o animali. I fluidi pressurizzati possono penetrare la pelle e causare gravi infortuni, con conseguente amputazione o anche la morte. Anche i liquidi bollenti e le sostanze chimiche possono causare ustioni o ferite. Se una qualunque parte del corpo viene a contatto con lo spruzzo, consultare immediatamente un medico specializzato in infortuni causati dall’iniezione di fluidi.
Non mettere le mani o altre parti del corpo davanti all’ugello dell’irroratore.
Non lasciare incustodite le apparecchiature sotto pressione.
Non utilizzare l’irroratore manuale se il tubo flessibile, il fermo del grilletto, l’ugello o altre parti mancano o sono danneggiate.
Non utilizzare l’irroratore manuale in caso di fuoriuscite nei tubi flessibili, nei raccordi o in altri componenti.
Non spruzzare nelle adiacenze di cavi elettrici.
Non guidare mentre si spruzza con l’irroratore manuale.
Indossate guanti di gomma, occhialoni di sicurezza ed una tuta di protezione integrale quando spruzzate sostanze chimiche con lo sprayer manuale.
I lampi possono causare gravi infortuni o la morte. Se vedete lampi o udite tuoni vicini all'area in cui vi trovate, non utilizzate la macchina; cercate un riparo.
I prodotti chimici sono pericolosi e possono causare infortuni.
Leggere le istruzioni riportate sulle etichette dei prodotti chimici prima di maneggiarli e attenersi scrupolosamente a tutte le raccomandazioni e le precauzioni indicate dal produttore.
Tenere i prodotti chimici lontano dalla pelle. In caso di contatto con la pelle, lavare la zona contaminata con abbondante acqua pulita e sapone.
Indossare occhiali ed altri dispositivi di protezione raccomandati dal produttore del prodotto chimico.
![]() |
Gli adesivi di sicurezza e di istruzione sono chiaramente visibili e sono affissi accanto a zone particolarmente pericolose. Sostituite eventuali adesivi danneggiati o mancanti. |

Forniti dal cliente:
Sigillante per filetti a base di PTFE (nastro o pasta)
Un lubrificante non derivato dal petrolio come l’olio vegetale
I morsetti della batteria e gli attrezzi metallici possono creare cortocircuiti contro i componenti metallici, e provocare scintille. che possono fare esplodere i gas della batteria e causare infortuni.
In sede di rimozione o montaggio della batteria, impedite ai morsetti di toccare le parti metalliche dell'unità motrice.
Non lasciate che gli attrezzi metallici creino cortocircuiti fra i morsetti della batteria e le parti metalliche della macchina.
In caso di errato percorso dei cavi della batteria, la macchina ed i cavi possono venire danneggiati e causare scintille, che possono fare esplodere i gas della batteria e causare infortuni.
Scollegate sempre il cavo negativo (nero) della batteria prima di quello positivo (rosso).
Collegate sempre il cavo positivo (rosso) della batteria prima di quello negativo (nero).
Se il serbatoio di lavaggio opzionale è montato, svuotatelo nel serbatoio di irrorazione; fate riferimento alla sezione Utilizzo del kit di lavaggio nelle Istruzioni di installazione per il kit di lavaggio del serbatoio.
Verificate che il serbatoio dell'irroratrice della macchina non contenga alcun fluido.
Note: Se il serbatoio dell'irroratrice ha contenuto soluzioni chimiche, lavate accuratamente il serbatoio e l'impianto di irrorazione con acqua pulita; vedere le istruzioni nel Manuale dell’operatore del veicolo.
Parcheggiate la macchina su terreno pianeggiante, inserite il freno di stazionamento, spegnete la pompa dell'irroratrice, spegnete il motore e togliete la chiave dall'accensione.
Scollegate il cavo negativo dal morsetto negativo della batteria; consultate il Manuale dell'operatore.
Scollegate il cavo positivo dal morsetto positivo della batteria; consultate il Manuale dell'operatore.
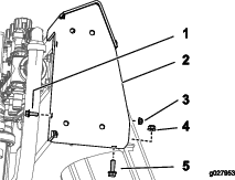
Nella parte superiore del serbatoio di irrorazione, togliete la forcella di fissaggio che blocca il raccordo dentellato a 90° del flessibile di aspirazione all’alloggiamento della griglia di aspirazione e allontanate il raccordo dentellato dall’alloggiamento (Figura 2).

Togliete il raccordo a 90° dall’alloggiamento della griglia di aspirazione (Figura 2).
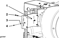
Nella parte inferiore del serbatoio di lavaggio, rimuovete la forcella di fissaggio che blocca il raccordo a 90° del flessibile di alimentazione al raccordo a tenuta (Figura 3).

Togliete il raccordo a 90° dal raccordo a tenuta (Figura 3).
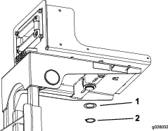
Togliete i 2 bulloni, le 4 rondelle e i 2 dadi di bloccaggio flangiati che assicurano le 2 staffe di fissaggio del serbatoio di lavaggio al supporto della valvola e rimuovete le staffe di fissaggio (Figura 4).

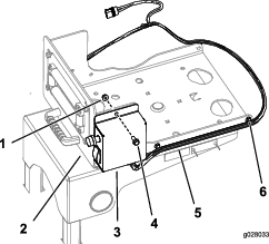
Togliete il serbatoio di lavaggio dalla macchina (Figura 5).


Allentate i 4 dadi di bloccaggio flangiati e i 4 bulloni che assicurano le metà delle fasce del serbatoio (Figura 7).

Spostate in avanti il serbatoio di irrorazione finché le fasce non sono a filo con la spalla posteriore dell’elemento in rilievo stampato nel serbatoio (Figura 8).

Serrate i 4 dadi di bloccaggio flangiati e i 4 bulloni nella parte superiore delle fasce fino a quando queste non sono a filo con la superficie del serbatoio (Figura 7).
Parti necessarie per questa operazione:
| Dado (¼-20") | 1 |
| Dado flangiato (5/16-18") | 5 |
| Dado flangiato (3/8-16") | 12 |
| Bullone (3/8-16 x 1") | 5 |
| Bullone (¼-20 x ¾") | 1 |
| Bullone (3/8-16") | 2 |
| Bullone (3/8-16 x 3½") | 2 |
| Staffa superiore | 1 |
| Supporto della staffa inferiore | 1 |
| Staffa inferiore | 1 |
| Bullone a testa esagonale flangiata (5/16-18 x 1") | 1 |
| Bullone a U | 1 |
| Bullone (3/8-16 x 2¼") | 2 |
| Staffa di supporto del piano del cilindro | 1 |
| Bullone di spallamento | 4 |
| Telaio del piano del cilindro | 1 |
| Controdado (5/16-18") | 2 |
| Bullone (5/16-18 x 1") | 2 |
| Riduttore dell'indicatore della pressione | 1 |
| Accoppiatore | 1 |
| Indicatore della pressione | 1 |
Montate la staffa superiore servendovi di 1 bullone (¼-20 x ¾"), 1 dado (¼-20"), 1 bullone a testa esagonale flangiata (5/16-18 x 1") e 1 dado flangiato (5/16-18") come illustrato nella Figura 9.

Fissate la parte posteriore della staffa superiore servendovi di 1 bullone a U, 1 bullone (3/8-16 x 1") e 3 dadi flangiati (3/8-16") come illustrato nella Figura 10.

Note: Se prima dell'installazione della staffa superiore è stato rimosso il serbatoio di lavaggio, installare tale serbatoio prima di passare alla fase successiva.
Montate la staffa inferiore e la staffa di supporto inferiore al telaio servendovi di 2 bulloni (3/8-16 poll.), 2 bulloni (3/8-16 x 3½") e 4 dadi flangiati (3/8-16") come illustrato in Figura 11.

Se sulla vostra macchina è montato il kit del serbatoio di lavaggio opzionale, allineate il serbatoio alla macchina come nella (Figura 12).
Note: Completerete il montaggio del serbatoio di lavaggio in Montaggio del serbatoio di lavaggio.

Fissate la staffa di supporto del piano del cilindro alle staffe superiore e inferiore servendovi di 4 bulloni (3/8-16 x 1"), 2 bulloni (3/8-16 x 2¼") e 6 dadi flangiati (3/8-16") come illustrato nella Figura 13.

Inserite il telaio del piano del cilindro nelle fessure presenti sulla staffa di supporto del piano del cilindro servendovi di 4 bulloni di spallamento, 4 dadi flangiati (5/16-18"), 2 bulloni (5/16-18 x 1") e 2 controdadi (5/16-18") come illustrato nella Figura 14.

Applicate il nastro in PTFE alle filettature dell'indicatore di pressione e installate il gruppo indicatore di pressione come illustrato in Figura 15.

Serrate i bulloni sulla staffa di supporto dell'indicatore di pressione saldamente sul telaio del piano del cilindro.
Allineate la staffa di fissaggio con i rilievi stampati nella parte superiore del serbatoio di lavaggio (Figura 16)

Allineate la scanalatura nella staffa di fissaggio con il foro nel supporto della valvola (Figura 16).
Montate, senza serrarlo, l'ancoraggio al supporto della valvola (Figura 16) con un bullone (3/8" x 1½"), 2 rondelle (3/8") e un dado di bloccaggio flangiato (3/8”) rimossi in Rimozione del serbatoio di lavaggio.
Ripetete i passaggi da 1 a 3 per l'altro ancoraggio nell'altro incavo del serbatoio di lavaggio (Figura 16).
Serrate attentamente i bulloni e i dadi flangiati manualmente.
Important: Il serbatoio di lavaggio deve essere in sede e fissato ma l'ancoraggio non deve deformare o storcere il serbatoio
Note: Una volta riempito inizialmente il serbatoio di lavaggio, verificate il gioco di ancoraggi e serbatoio di lavaggio (il peso dell'acqua nel serbatoio può spingere ulteriormente il serbatoio contro il telaio). Se necessario, serrate il bullone (o bulloni) e il dado (o dadi) di bloccaggio flangiato fino a quando gli ancoraggi non sono ben aderenti al serbatoio di lavaggio – non deformate il serbatoio.
Allineate il raccordo dentellato a 90° del flessibile di alimentazione all'alloggiamento per la griglia di aspirazione (Figura 18).

Fissate il raccordo dentellato a 90° all'alloggiamento (Figura 18) con la forcella che avete rimosso al passaggio 1 di Rimozione del serbatoio di lavaggio.
Parti necessarie per questa operazione:
| Cablaggio preassemblato | 1 |
| Scatola interruttori (gruppo) | 1 |
| Rondella di spinta | 1 |
| Anello elastico | 1 |
| Gruppo avvolgitubo | 1 |
| Perno a molla | 1 |
| Rondella (7/16") | 4 |
| Dado flangiato (5/16-18") | 2 |
| Bullone (5/16-18 x ¼") | 2 |
| Rondella | 1 |
| Dado flangiato (3/8-16") | 4 |
| Bullone (3/8-16 x 1") | 4 |
Note: Il fusibile del motore dell'avvolgitubo si trova nella scatola interruttori (Figura 19).

Abbassate la piastra girevole nel foro della base dell'avvolgitubo.
Sulla parte inferiore del supporto per avvolgitubo, fissate la rondella di spinta e l'anello elastico sul perno della piastra girevole (Figura 20).

Montate la scatola interruttori sulla piastra girevole utilizzando 2 bulloni (5/16-18 x ¼") e 2 dadi flangiati (5/16-18") come mostrato nella Figura 21.

Fissate il cablaggio preassemblato ai lati della piastra girevole utilizzando le clip presenti (Figura 21).
Fissate l'avvolgitubo alla piastra girevole utilizzando 4 bulloni (3/8-16 x 1"), 4 rondelle (7/16") e 4 dadi flangiati (3/8-16") come mostrato nella Figura 22.
Note: Il motore dell'avvolgitubo non dovrà essere rivolto al pannello di commutazione.

Installate la rondella e il perno a molla dalla parte inferiore del telaio dell'avvolgitubo (Figura 23).

Collegate i rimanenti connettori del cablaggio preassemblato al motore, all'alimentazione principale e ai connettori del kit per avvolgitubo.
Parti necessarie per questa operazione:
| Valvola di regolazione | 1 |
| Raccordo a T | 1 |
| Fascetta stringitubo | 1 |
| Fascetta per cavi | 3 |
| Serratubi a R | 1 |
| Flessibile (71") | 1 |
| Serratubo | 1 |
| Gomito a 90° | 1 |
| Accoppiatore per tubo | 1 |
| Dado (¼-20") | 1 |
| Dado flangiato (3/8-16") | 1 |
| Tubo del trasduttore di pressione | 1 |
| Bullone (¼-20 x ¾") | 1 |
| Supporto valvola | 1 |
| Staffa della valvola di regolazione | 1 |
| Bullone (6 x 12 mm) | 4 |
| Rondella (8 mm) | 4 |
| Bullone a testa flangiata (6 x 16 mm) | 4 |
| Dado di bloccaggio flangiato (6 mm) | 4 |
Scollegare il tappo e l’accoppiatore dall’apertura dell’indicatore di pressione (Figura 24).

Montare il gruppo valvola di regolazione come illustrato nella Figura 24.
Montate l'accoppiatore nel foro aperto del gomito a 90° (Figura 24 e Figura 37).
Note: Il tappo può essere gettato.
Collegate il flessibile di alimentazione dell'avvolgitubo alla valvola di regolazione con la fascetta stringitubo (Figura 24).
Scollegate il connettore a 3 prese per il trasduttore di pressione (Figura 25).

Rimuovete il morsetto flangiato che fissa il trasduttore di pressione al raccordo a 90° e rimuovete il trasduttore, la guarnizione e il morsetto flangiato (Figura 26).

Rimuovete il morsetto flangiato che fissa il raccordo a 90° al raccordo a 90° con un connettore per il tubo di rilevamento e rimuovete il raccordo a 90°, la guarnizione e il morsetto flangiato (Figura 26).
Montate il supporto della valvola sulla valvola di regolazione, come illustrato in A di Figura 27.

Fissate il supporto della valvola alla valvola di regolazione con la vite a testa flangiata (n. 6) e serrate manualmente la vite (B di Figura 27).
Montate il supporto della valvola sulla staffa della valvola di regolazione (Figura 28) con i 4 bulloni (6 x 12 mm) e 4 rondelle piane; serrate i bulloni a una coppia di 10–12 N∙m.

Allineate la flangia del raccordo a T alla flangia della valvola di regolazione, come illustrato nella Figura 29.

Fissate, senza serrarlo, il raccordo a T alla valvola di regolazione utilizzando una guarnizione e un morsetto flangiato (Figura 29).
Allineate la flangia del trasduttore di pressione con la flangia del raccordo a T, come illustrato nella Figura 30.

Montate il trasduttore di pressione sul raccordo a T con una guarnizione e un morsetto flangiato e serrate manualmente il morsetto (Figura 30).
Allineate la flangia del raccordo a T alla flangia del raccordo a 90° con un connettore per il tubo di rilevamento (Figura 31).

Fissate, senza serrarlo, il raccordo a T e il raccordo a 90° utilizzando una guarnizione e un morsetto flangiato (Figura 31).
Note: Ruotate la staffa della valvola di regolazione in base alle esigenze, per allinearla con la superficie del supporto della valvola.
Utilizzando la staffa della valvola di regolazione come riferimento, contrassegnate i punti dei fori nella staffa sulla superficie del supporto del collettore (Figura 32).

Rimuovete la fascetta, la guarnizione, il raccordo a T con la flangia dal raccordo a 90° con un connettore per il tubo di rilevamento (Figura 31).
Punzonate il centro dei punti sul supporto del collettore che avete eseguito alla fase 3.
Praticate 4 fori di 6 mm nel supporto del collettore nei segni del punzone che avete eseguito alla fase 5.

Allineate la flangia del raccordo a T alla flangia del raccordo a 90° con un connettore per il tubo di rilevamento (Figura 34).

Fissate, senza serrarlo, il raccordo a T e il raccordo a 90° utilizzando una guarnizione e un morsetto flangiato (Figura 34).
Montate la staffa della valvola di regolazione sul supporto del collettore (Figura 35) con 4 bulloni a testa flangiata (6 x 16 mm) e 4 dadi di bloccaggio flangiati (6 mm); serrate i bulloni a una coppia di 10–12 N∙m.
Serrate manualmente il morsetto flangiato che fissa la valvola di regolazione e il raccordo a T (Figura 29) e il morsetto flangiato che fissa il raccordo a T al raccordo a 90° con un connettore per il tubo di rilevamento (Figura 31 e Figura 34).
Collegate il connettore a 3 prese per il trasduttore di pressione (Figura 35).

Montate il flessibile dell'asta di irrorazione sul raccordo dentellato della valvola di regolazione e fissate il flessibile al raccordo con una fascetta stringitubo (Figura 36).

Fissate il flessibile (180 cm) alla staffa superiore servendovi di serratubi a R, bullone (¼-20 x ¾") e dado (¼"-20) come illustrato nella Figura 37.

Applicate il sigillante in PTFE alle filettature del raccordo a T e collegate il raccordo a T alla valvola di regolazione (Figura 37).
Applicate il sigillante in PTFE alle filettature dell'accoppiatore e collegate l'accoppiatore al raccordo a T (Figura 37).
Collegate il tubo del trasduttore di pressione all'accoppiatore nel raccordo a T nel gomito a 90° e l'accoppiatore nell'indicatore della pressione (Figura 38).

Collegate il flessibile (180 cm) al raccordo dentellato sul gruppo avvolgitubo e fissate il flessibile al raccordo servendovi di una fascetta stringitubo come illustrato nella Figura 39.

Fissate il cablaggio preassemblato per il kit dell'avvolgitubo girevole al flessibile di alimentazione dell'avvolgitubo con 3 fascette per cavi (Figura 39).
Parti necessarie per questa operazione:
| Flessibile della pistola a spruzzo con raccordo | 1 |
| Pistola a spruzzo | 1 |
| Fascetta stringitubo piccola | 1 |
Applicate il sigillante in PTFE ai filetti del raccordo sul flessibile lungo, e montate il raccordo nel tubo di connessione sull’avvolgitubo (Figura 40).

Collegare l’estremità libera del tubo flessibile lungo al raccordo sulla pistola a spruzzo (Figura 41).

Fissate l’estremità del flessibile con una piccola fascetta stringitubo.
Collegate i cavi della batteria come descritto di seguito:
In caso di errato percorso dei cavi della batteria, la macchina ed i cavi possono venire danneggiati e causare scintille, che possono fare esplodere i gas della batteria e causare infortuni.
Scollegate sempre il cavo negativo (nero) della batteria prima di quello positivo (rosso).
Collegate sempre il cavo positivo (rosso) della batteria prima di quello negativo (nero).
Collegate il cavo positivo al morsetto positivo della batteria; consultate il Manuale dell'operatore.
Collegate il cavo negativo al morsetto negativo della batteria; consultate il Manuale dell'operatore.
Premete il pulsante di avvolgimento del flessibile e guidate con cautela il flessibile sull'avvolgitubo, muovendo il flessibile da un lato all'altro per avvolgerlo in modo uniforme.
Durante il riavvolgimento, mani, abiti svolazzanti, capelli lunghi e gioielli pendenti possono impigliarsi nel flessibile e nell’avvolgitubo, causando infortuni.
Tenete le mani lontano dall’avvolgitubo e dal flessibile durante il riavvolgimento.
Non indossate abiti svolazzanti o gioielli pendenti e legate i capelli lunghi.
Il fluido che fuoriesce dall'impianto di irrorazione sotto pressione può penetrare la pelle e causare infortuni.
Verificate che tutti i tubi e i flessibili siano in buone condizioni e che tutte le connessioni e i raccordi siano saldamente serrati, prima di mettere l'impianto di irrorazione sotto pressione.
Tenete corpo e mani lontano da perdite filiformi o da ugelli che eiettano fluido pressurizzato.
Usate cartone o carta per cercare le perdite di fluido.
Eliminate con sicurezza la pressione dall'intero impianto di irrorazione prima di eseguire qualsiasi intervento sull'impianto.
Se il fluido viene iniettato sulla pelle, rivolgetevi immediatamente ad un medico.
Riempite parzialmente di acqua pulita il serbatoio dell'irroratrice.
Avviate il motore, impostate la velocità del motore in posizione centrale e impostate l'interruttore della pompa dell'irroratrice in posizione ON; fate riferimento al Manuale dell'operatore.
Assicuratevi che la valvola di regolazione al termine del collettore di sezione sia aperta.
Verificate l'assenza di perdite nel collettore, nella valvola di regolazione e nel flessibile.
Utilizzate l'interruttore della portata nella scatola interruttori per aumentare la pressione dell'impianto di irrorazione nell'avvolgitubo.
Verificate i seguenti componenti per escludere la presenza di perdite:
raccordi e accoppiatori
indicatore di pressione e valvola dell'avvolgitubo
tubi, flessibili e pistola da spruzzo
Note: Riparate tutte le fuoriuscite prima di azionare l'impianto di irrorazione.
Chiudete la valvola di regolazione dell'avvolgitubo, impostate l'interruttore della pompa dell'irroratrice in posizione OFF e spegnete il motore.
Il fluido sotto pressione può penetrare la pelle e causare infortuni.
Tenere lontani il corpo e le mani dagli ugelli che spruzzano fluido pressurizzato.
Non dirigere l’irroratrice verso persone o animali.
Prima di mettere l’impianto sotto pressione, accertarsi che tutti i circuiti e i tubi flessibili dei fluidi siano in buone condizioni, e che tutte le connessioni e i raccordi siano stretti saldamente.
Usare carta o cartone per cercare eventuali perdite.
Prima di effettuare qualunque intervento sull’impianto, eliminare con sicurezza tutta la pressione.
Se il fluido penetra nella pelle, rivolgersi immediatamente a un medico.
I liquidi bollenti e le sostanze chimiche possono causare ustioni o altri danni.
Important: Svuotate e pulite sempre l’irroratrice immediatamente dopo l’uso. L’inosservanza di queste istruzioni causerà l’essiccazione o l’ispessimento delle sostanze chimiche, con intasamento della pompa e di altri componenti.
Pulire l’impianto di irrorazione dopo ogni utilizzo. Per pulire correttamente l’impianto di irrorazione:
Eseguire tre lavaggi distinti.
Per ogni lavaggio usate almeno 189 litri d'acqua.
Usate i prodotti pulenti e neutralizzanti raccomandati dai produttori.
Per l'ultimo lavaggio usate soltanto acqua pulita (senza aggiungere prodotti pulenti o neutralizzanti).
Non guidare mentre si utilizza l’irroratore manuale, per evitare il rischio di perdere controllo e causare infortuni anche fatali. Non utilizzare l’irroratore manuale mentre si guida.
Arrestate la macchina, arrestate le barre e inserite il freno di stazionamento.
Sul retro della macchina, verificate che il grilletto della pistola a spruzzo sia bloccato.
Girate la leva sulla valvola di regolazione in posizione di apertura OPEN.
In posizione operatore, attivate la pompa.
Portate la barra principale in posizione ON.
Impostate il motore alla velocità desiderata e inserite il bloccaggio del regime del motore in folle.
Important: Non utilizzare un’impostazione di pressione superiore a 1.034 kPa con lo spruzzatore manuale.
Svolgere la lunghezza del tubo flessibile necessaria dall’avvolgitubo.
Important: Non tirate in fuori il flessibile con la pistola da spruzzo. Afferrate sempre il flessibile e tiratelo. Tirando in fuori il flessibile con la pistola potreste spezzare il raccordo della pistola o danneggiare il flessibile.
Rilasciare il blocco del grilletto.
Dirigere l’ugello della pistola da spruzzo verso la zona da spruzzare e premere il grilletto.
Al termine, rilasciare il grilletto e applicare il blocco.
Durante il riavvolgimento, mani, abiti svolazzanti, capelli lunghi e gioielli pendenti possono impigliarsi nel flessibile e nell’avvolgitubo, causando infortuni.
Tenete le mani lontano dall’avvolgitubo e dal flessibile durante il riavvolgimento.
Non indossate abiti svolazzanti o gioielli pendenti e legate i capelli lunghi.
Premete il pulsante di riavvolgimento dell’avvolgitubo finché non rimangono che un paio di metri di flessibile da avvolgere.
Girate la leva sulla valvola di regolazione in posizione di chiusura CLOSED.
Dirigere l’ugello della pistola da spruzzo verso una zona in cui è possibile spruzzare con sicurezza, rilasciare il blocco del grilletto e premere il grilletto finché tutto il liquido rimanente non sarà uscito dal tubo flessibile, quindi applicare il blocco sul grilletto.
Collocare la pistola da spruzzo nella fondina, sul retro dell’avvolgitubo.
Riportare il motore alla velocità minima.
Arrestare la pompa.
Important: Lavare la pistola a spruzzo con acqua pulita e fresca durante le operazioni di pulizia quotidiane (fare riferimento al Manuale Operatore dell’irroratrice). L’errata pulizia della pistola a spruzzo può ridurre le prestazioni e dell’affidabilità del kit dell’avvolgitubo e della pistola.
Con l'interruttore della portata impostate la pressione desiderata.