Läs bruksanvisningen noga så att du lär dig att använda och underhålla produkten på rätt sätt. Informationen i bruksanvisningen hjälper dig och andra att undvika personskador och skador på produkten. Även om Toro konstruerar och tillverkar säkra produkter så är det du som ansvarar för att produkten används på ett bra och säkert sätt.
Om du behöver utbildningsmaterial för säkerhet och drift, information om tillbehör, hjälp med att hitta en återförsäljare eller om du vill registrera din produkt kan du kontakta Toro via www.toro.com/sv-se.
Kontakta en auktoriserad återförsäljare eller Toros kundservice och ha produktens modell- och serienummer till hands om du har behov av service, Toro originaldelar eller ytterligare information. Figur 1 visar var på produkten modell- och serienumren sitter.
Note: Denna produkt uppfyller kraven i alla relevanta europeiska direktiv. Mer information finns i försäkran om inbyggnad i slutet av det här dokumentet.Vänster och höger sida på maskinen motsvarar förarens vänstra respektive högra sida vid normal körning.

KALIFORNIEN
Proposition 65 Varning
Användning av produkten kan orsaka kemikalieexponering som av den amerikanska delstaten Kalifornien anses orsaka cancer, fosterskador och andra fortplantningsskador.
Felaktig användning eller felaktigt underhåll från förarens eller ägarens sida kan leda till personskador. Följ dessa säkerhetsanvisningar för att minska risken för skada och uppmärksamma varningssymbolerna, som innebär ”Var försiktig”, ”Varning” eller ”Fara” – anvisning om personsäkerhet. Om anvisningarna inte följs kan detta leda till personskador eller dödsfall.
Läs också säkerhets- och användarinstruktionerna i maskinens bruksanvisning.
Rikta inte handspridaren mot personer eller djur. Vätskor som sprutas ut under högt tryck kan tränga in i huden och orsaka allvarliga skador som kan leda till amputation eller dödsfall. Heta vätskor och kemikalier kan även orsaka brännskador och andra personskador. Kontakta omedelbart en läkare som är förtrolig med skador som uppkommer genom att vätska tränger in i huden, om någon del av kroppen skulle komma i kontakt med sprutstrålen.
Placera aldrig handen eller någon annan kroppsdel framför spridarens munstycke.
Lämna inte utrustningen under tryck om du går ifrån den.
Använd inte handspridaren om slangen, avtryckarlåset, munstycket eller någon annan del är skadad eller saknas.
Använd inte handspridaren om någon slang, koppling eller annan komponent läcker.
Spruta inte i närheten av elledningar.
Använd inte handspridaren medan du kör.
Ta på dig gummihandskar, skyddsglasögon och skyddskläder som täcker hela kroppen om du ska spruta kemikalier med handspridaren.
Blixtnedslag kan leda till allvarliga personskador eller dödsfall. Om det blixtrar eller åskar i området ska maskinen inte användas. Sök skydd.
Kemikalier är farliga och kan orsaka personskador.
Läs anvisningarna på kemikaliebehållarnas etiketter innan du hanterar kemikalierna och följ samtliga av tillverkarens rekommendationer och föreskrifter.
Håll kemikalier borta från huden. Vid hudkontakt, skölj det utsatta området ordentligt med rent vatten och tvål.
Bär skyddsglasögon och annan skyddsutrustning som rekommenderas av kemikalietillverkaren.
![]() |
Säkerhetsdekalerna och säkerhetsinstruktionerna är fullt synliga för föraren och finns nära alla potentiella farozoner. Ersätt dekaler som har skadats eller saknas. |

Obligatorisk, ej medföljande utrustning:
PTFE-gängtätning (tejp eller massa)
Icke-petroleumbaserat smörjmedel, t.ex. vegetabilisk olja
Batteripolerna eller verktyg av metall kan kortslutas mot maskinkomponenter i metall och orsaka gnistor. Gnistorna kan få batterigaserna att explodera, vilket kan leda till personskador.
Låt inte batteripolerna komma i kontakt med några av traktorns metalldelar när du demonterar eller monterar batteriet.
Låt inte metallverktyg kortslutas mellan batteripolerna och maskinens metalldelar.
Felaktig dragning av batterikablarna kan skada maskinen och kablarna samt orsaka gnistor. Gnistorna kan få batterigaserna att explodera, vilket kan leda till personskador.
Lossa alltid batteriets minuskabel (svart) innan du lossar pluskabeln (röd).
Anslut alltid pluskabeln (röd) innan du ansluter minuskabeln (svart).
Om sköljtankstillvalet är installerat tömmer du tanken i spridarens tank. Se Använda sköljsatsen i installationsanvisningarna för tanksköljningssatsen.
Se till att det inte finns någon vätska i spridarens tank.
Note: Om det har funnits kemiska lösningar i spridarens tank, ska du spola tanken och sprutsystemet ordentligt med rent vatten. Se anvisningar i bruksanvisningen för ditt fordon.
Parkera maskinen på en plan yta, lägg i parkeringsbromsen, stäng av spridarens pump, stäng av motorn och ta ut nyckeln ur tändningslåset.
Lossa batteriets minuskabel från batteriets minuspol. Se bruksanvisningen.
Lossa batteriets pluskabel från batteriets pluspol. Se bruksanvisningen.
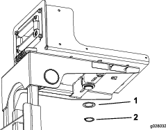
Ta bort fästgaffeln högst upp på spridarens tank som fäster sugslangens hullingförsedda 90-graderskoppling vid huset på sugsilen och ta bort den hullingförsedda kopplingen från huset (Figur 2).

Ta bort 90-graderskopplingen från sugsilshuset (Figur 2).
Ta bort fästgaffeln längst ned på sköljtanken som fäster tillförselslangens 90-graderskoppling vid motorväggsfästet (Figur 3).

Ta bort 90-graderskopplingen från motorväggsfästet (Figur 3).
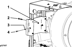
Ta bort de två skruvarna, de fyra brickorna och de två flänslåsmuttrarna som fäster de två låsfästena för sköljtanken på ventilfästet och ta bort låsfästena (Figur 4).

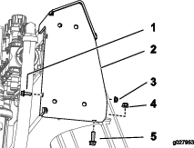
Ta bort sköljtanken från maskinen (Figur 5).


Lossa de fyra flänslåsmuttrarna och de fyra skruvarna som fäster tankremsdelarna (Figur 7).

Flytta spridarens tank framåt tills remmarna är i linje med bakkanten på det gjutna remspåret på tanken (Figur 8).

Dra åt de fyra flänslåsmuttrarna och de fyra skruvarna upptill på remmarna tills remmarna sitter tätt mot tanken (Figur 7).
Delar som behövs till detta steg:
| Mutter (1/4–20 tum) | 1 |
| Flänsmutter (5/16–18 tum) | 5 |
| Flänsmutter (3/8–16 tum) | 12 |
| Skruv (3/8–16 x 1 tum) | 5 |
| Skruv (1/4–20 x 3/4 tum) | 1 |
| Skruv (3/8–16 tum) | 2 |
| Skruv (3/8–16 x 3 1/2 tum) | 2 |
| Övre fäste | 1 |
| Stöd till undre fäste | 1 |
| Nedre fäste | 1 |
| Whizskruv (5/16–18 x 1 tum) | 1 |
| U-bult | 1 |
| Skruv (3/8–16 x 2 1/4 tum) | 2 |
| Stödfäste till vindhylla | 1 |
| Ansatsbult | 4 |
| Ram för vindhylla | 1 |
| Kontramutter (5/16–18 tum) | 2 |
| Skruv (5/16–18 x 1 tum) | 2 |
| Tryckmätarreducerare | 1 |
| Koppling | 1 |
| Tryckmätare | 1 |
Montera det övre fästet med en skruv (1/4–20 x 3/4 tum), en mutter (1/4–20 tum), en whizskruv (5/16–18 x 1 tum) och en flänsmutter (5/16–18 tum) enligt Figur 9.

Fäst bakändan av det övre fästet med en U-bult, en skruv (3/8–16 x 1 tum) och tre flänsmuttrar (3/8–16 tum) enligt Figur 10.

Note: Om sköljningstanken togs bort innan du monterade det övre fästet monterar du den innan du fortsätter med nästa steg.
Montera det undre fästet och det undre stödfästet på ramen med två skruvar (3/8–16 tum), två skruvar (3/8–16 x 3 1/2 tum) och fyra flänsmuttrar (3/8–16 tum) enligt Figur 11.

Om maskinen har sköljtankssatsen installerad som tillval ska du rikta in tanken efter maskinen enligt figur (Figur 12).
Note: Monteringen av sköljtanken slutförs i Montera sköljtanken.

Fäst vindhyllans stödfäste på de övre och undre fästena med fyra skruvar (⅜–16 x 1 tum), två skruvar (⅜–16 x 2¼ tum) och sex flänsmuttrar (⅜–16 tum) enligt Figur 13.

För in ramen för vindhyllan i spåren på stödfästena till vindhyllan och fäst hyllan med fyra ansatsbultar, fyra flänsmuttrar (5/16–18 tum), två skruvar (5/16–18 x 1 tum) och två kontramuttrar (5/16–18 tum) enligt Figur 14.

Sätt PTFE-tejp på tryckmätarens gängor och montera tryckmätarenheten enligt Figur 15.

Dra åt skruvarna på stödfästet för tryckmätaren mot ramen för vindhyllan.
Rikta in låsfästet med de gjutna spåren upptill på sköljtanken (Figur 16)

Rikta in skåran i låsfästet med hålet i ventilfästet (Figur 16).
Montera låsfästet löst på ventilfästet (Figur 16) med en skruv (⅜ × 1 ½ tum), två brickor (⅜ tum) och en flänslåsmutter (⅜ tum) som du tog bort i Ta bort sköljtanken.
Upprepa steg 1 till 3 för det andra låsfästet i den andra fördjupningen i sköljtanken (Figur 16).
Dra försiktigt åt bultarna och flänsmuttrarna för hand.
Important: Sköljtanken måste sitta säkert, men låsfästet får inte deformera eller buckla tanken.
Note: Kontrollera spelet mellan låsfästena och sköljtanken (vattnets vikt i tanken kan få tanken att sätta sig mot ramen) när sköljtanken har fyllts på för första gången. Dra vid behov åt skruvarna och flänslåsmuttrarna så att låsfästena ligger helt an mot sköljtanken – men deformera inte tanken.
Rikta in tillförselslangens hullingförsedda 90-graderskoppling på sugfiltrets hus (Figur 18).

Fäst den hullingförsedda 90-graderskopplingen vid huset (Figur 18) med fästgaffeln som du tog bort i steg 1 i Ta bort sköljtanken.
Delar som behövs till detta steg:
| Kablage | 1 |
| Kopplingsdosa | 1 |
| Tryckbricka | 1 |
| Låsring | 1 |
| Slangvinda | 1 |
| Fjädersprint | 1 |
| Bricka (7/16 tum) | 4 |
| Flänsmutter (5/16–18 tum) | 2 |
| Skruv (5/16–18 x ¼ tum) | 2 |
| Bricka | 1 |
| Flänsmutter (3/8–16 tum) | 4 |
| Skruv (3/8–16 x 1 tum) | 4 |
Note: Säkringen för slangvindans motor sitter inuti kopplingsdosan (Figur 19).

Släpp ner lekarplattan i hålet på slangvindans bas.
Fäst tryckbrickan och låsringen vid lekarplattans stolpe, på undersidan av slangvindans ram (Figur 20).

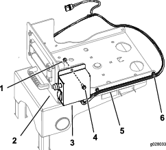
Montera kopplingsdosan på lekarplattan med två skruvar (5/16–18 x ¼ tum) och två flänsmuttrar (5/16–18 tum) enligt Figur 21.

Fäst kablaget på sidorna av lekarplattan med de befintliga klämmorna (Figur 21).
Fäst slangvindan på lekarplattan med fyra skruvar (3/8–16 x 1 tum), fyra brickor (7/16 tum) och fyra flänsmuttrar (3/8–16 tum) enligt Figur 22.
Note: Slangvindans motor ska vara vänd från omkopplarpanelen.

Montera brickan och fjädersprinten på undersidan av slangvindans ram (Figur 23).

Anslut de återstående kablagekontakterna till motorn, huvudkablagets strömkälla och kontakterna i slangvindssatsen.
Delar som behövs till detta steg:
| Reglerventil | 1 |
| T-koppling | 1 |
| Slangklämma | 1 |
| Kabelband | 3 |
| R-klämma | 1 |
| Slang (180 cm) | 1 |
| Klämma | 1 |
| 90-gradersknärör | 1 |
| Rörkoppling | 1 |
| Mutter (1/4–20 tum) | 1 |
| Flänsmutter (3/8–16 tum) | 1 |
| Tryckomvandlarrör | 1 |
| Skruv (1/4–20 x 3/4 tum) | 1 |
| Ventilfäste | 1 |
| Reglerventilfäste | 1 |
| Skruv (6 x 12 mm) | 4 |
| Bricka (8 mm) | 4 |
| Flänsskruv (6 x 16 mm) | 4 |
| Flänslåsmutter (6 mm) | 4 |
Lossa locket och kopplingen från tryckmätarporten (Figur 24).

Montera reglerventilenheten så som visas i Figur 24.
Montera kopplingen i den öppna porten på 90-graders knäröret (Figur 24 och Figur 37).
Note: Locket kan kasseras.
Fäst slangvindans försörjningsslang vid reglerventilen med en slangklämma (Figur 24).
Lossa kontakten med tre uttag för tryckomvandlaren (Figur 25).

Ta bort flänsklämman som håller fast tryckomvandlaren på 90-graderskopplingen och ta bort givaren, packningen och flänsklämman (Figur 26).

Ta bort flänsklämman som fäster 90-graderskopplingen till 90-graderskopplingen med en anslutning för givarröret och ta bort 90-graderskopplingen, packningen och flänsklämman (Figur 26).
Fäst ventilfästet på reglerventilen enligt A i Figur 27.

Fäst ventilfästet på reglerventilen med flänsskruven (nr 6) och dra åt skruven för hand (B i Figur 27).
Fäst ventilfästet på reglerventilfästet (Figur 28) med de fyra skruvar (6 x 12 mm) och fyra platta brickorna. Dra åt skruvarna till 10–12 N·m.

Rikta in flänsen på T-kopplingen mot flänsen på reglerventilen enligt Figur 29.

Fäst T-kopplingen på reglerventilen löst med en packning och flänsklämma (Figur 29).
Rikta in flänsen på tryckomvandlaren mot flänsen på T-kopplingen enligt Figur 30.

Montera tryckomvandlaren på T-kopplingen med en packning och flänsklämma, och dra åt klämman för hand (Figur 30).
Rikta in flänsen på T-kopplingen mot flänsen på 90-graderskopplingen med en anslutning för givarröret (Figur 31).

Fäst T-kopplingen och 90-graderskopplingen löst med en packning och en flänsklämma (Figur 31).
Note: Vrid reglerventilfästet tills det ligger platt mot ventilfästets yta.
Använd reglerventilfästet som mall och märk ut hålens plats i fästet på ytan till grenrörsfästet (Figur 32).

Ta bort klämman, packningen och T-kopplingen med fläns från 90-graderskopplingen med en anslutning för givarröret (Figur 31).
Markera markeringarna som du gjorde på grenrörsfästet i steg 3 med en körnare.
Borra fyra hål (6 mm) i grenrörsfästet vid körnarmärkena som du gjorde i steg 5.

Rikta in flänsen på T-kopplingen mot flänsen på 90-graderskopplingen med en anslutning för givarröret (Figur 34).

Fäst T-kopplingen och 90-graderskopplingen löst med en packning och en flänsklämma (Figur 34).
Montera reglerventilfästet på grenrörsfästet (Figur 35) med fyra flänsskruvar (6 x 16 mm) och fyra flänslåsmuttrar (6 mm). Dra åt skruvarna till 10–12 N·m.
Dra åt flänsklämman som håller fast reglerventilen och T-kopplingen (Figur 29) och flänsklämman som fäster T-kopplingen på 90-graderskopplingen med en anslutning för givarröret (Figur 31 och Figur 34) för hand.
Anslut kontakten med tre uttag för tryckomvandlaren (Figur 35).

Montera sprutrörsslangen på den hullingförsedda slangkopplingen på reglerventilen och fäst slangen vid kopplingen med en slangklämma (Figur 36).

Fäst slangen (180 cm) vid det övre fästet med en R-klämma, en skruv (1/4–20 x 3/4 tum) och en mutter (1/4–20 tum) enligt Figur 37.

Stryk PTFE-tätning på T-kopplingens gängor och anslut T-kopplingen till reglageventilen (Figur 37).
Stryk PTFE-tätning på kopplingens gängor och anslut den till T-kopplingen (Figur 37).
Anslut tryckomvandlarröret till T-kopplingen i 90-graders knäröret och kopplingen vid tryckmätaren (Figur 38).

Anslut slangen (180 cm) till den hullingförsedda slangkopplingen på slangvindan och fäst slangen med slangklämman enligt Figur 39.

Fäst kablaget för den vridbara slangvindesatsen till cylinderns tillförselslang med tre kabelband (Figur 39).
Delar som behövs till detta steg:
| Sprutpistolslang med koppling | 1 |
| Sprutpistol | 1 |
| Liten slangklämma | 1 |
Stryk PTFE-tätning på slangkopplingens gängor på den långa slangen och montera kopplingen i den anslutande slangen på slangvindan (Figur 40).

Anslut den långa slangens fria ände till kopplingen på sprutpistolen (Figur 41).

Fäst slangens ände med en liten slangklämma.
Anslut batterikablarna på följande sätt:
Felaktig dragning av batterikablarna kan skada maskinen och kablarna samt orsaka gnistor. Gnistorna kan få batterigaserna att explodera, vilket kan leda till personskador.
Lossa alltid batteriets minuskabel (svart) innan du lossar pluskabeln (röd).
Anslut alltid pluskabeln (röd) innan du ansluter minuskabeln (svart).
Anslut batteriets pluskabel till batteriets pluspol. Se maskinens bruksanvisning.
Anslut batteriets minuskabel till batteriets minuspol. Se maskinens bruksanvisning.
Tryck på slangupprullningsknappen och styr försiktigt på slangen på slangvindan genom att föra slangen från sida till sida så att den fördelas jämnt.
Händer, löst sittande kläder, långt hår och hängande smycken kan fastna i slangen och slangvindan under upprullning och orsaka personskador.
Håll händerna borta från slangvindan och slangen under upprullning.
Bär inte löst sittande kläder eller hängande smycken. Sätt upp långt hår.
Vätska som läcker ut sprutsystemet under tryck kan tränga in i huden och orsaka skada.
Kontrollera att alla slangar och ledningar är i gott skick och att alla anslutningar och kopplingar är ordentligt åtdragna innan sprutsystemet trycksätts.
Håll kropp och händer borta från småläckor eller munstycken som sprutar ut vätska under högtryck.
Använd kartong eller papper för att hitta läckor.
Lätta på allt tryck i sprutsystemet på ett säkert sätt innan något arbete utförs på sprutsystemet.
Uppsök läkare omedelbart om vätska tränger in i huden.
Fyll delvis spridarens tank med rent vatten.
Starta motorn, ställ in motorhastigheten till halvt gaspådrag och dra brytaren till spridarens pump till det PåSLAGNA läget. Se bruksanvisningen.
Se till att reglerventilen vid sektionsventilens grenrör är öppen.
Kontrollera att grenröret, reglerventilen och slangen inte läcker.
Använd hastighetsomkopplaren i kopplingsdosan för att höja sprutsystemets tryck vid slangvindan.
Kontrollera att följande komponenter inte läcker:
kopplingar
tryckmätare och slangvindans ventil
rör, slangar och sprutpistol
Note: Åtgärda alla läckor innan sprutsystemet tas i bruk.
Stäng slangvindans reglerventil, ställ brytaren till spridarens pump i det AVSTäNGDA läget och stäng av motorn.
Vätska som läcker ut under tryck kan tränga in i huden och orsaka skador.
Håll kroppen och händerna borta från munstycken som sprutar ut vätska under högtryck.
Rikta inte spridaren mot personer eller djur.
Se till att alla vätskeslangar och -ledningar är i gott skick och att alla anslutningar och kopplingar är ordentligt åtdragna innan systemet trycksätts.
Använd kartong eller papper för att hitta läckor.
Lätta på allt tryck i systemet på ett säkert sätt innan du utför något arbete i det.
Uppsök läkare omedelbart om du träffas av en vätskestråle och vätskan tränger in i huden.
Heta vätskor och kemikalier kan orsaka brännskador och andra personskador.
Important: Spridaren ska alltid tömmas och rengöras omedelbart efter varje användningstillfälle. Om detta råd inte följs kan kemikalierna torka eller förtjockas i ledningarna och sätta igen pumpen och andra komponenter.
Rengör sprutsystemet efter varje användningstillfälle. Gör så här för att rengöra sprutsystemet på rätt sätt:
Skölj ur systemet tre gånger.
Använd minst 189 liter vatten för varje sköljning.
Använd de rengöringsmedel och neutraliseringsmedel som rekommenderas av kemikalietillverkarna.
Använd rent vatten (utan rengöringsmedel eller neutraliseringsmedel) för den sista sköljningen.
Om du använder handspridaren medan du kör kan du förlora kontrollen, vilket kan leda till personskador eller dödsfall. Använd inte handspridaren medan du kör.
Stanna maskinen, stäng av ramperna och dra åt parkeringsbromsen.
Se till att avtryckarlåset på sprutpistolen är låst på maskinens baksida.
Vrid reglerventilspaken till det öPPNA läget.
Starta pumpen i körläget.
Sätt huvudrampen i det PåSLAGNA läget.
Ställ in önskad motorhastighet och sätt sedan låsbrytaren för motorhastigheten i neutralläge.
Important: Låt inte tryckinställningen överstiga 10,34 bar på handspridaren.
Dra ut så mycket slang som önskas från slangvindan.
Important: Dra inte ut slangen med sprutpistolen. Håll alltid i slangen och dra direkt i den. Om du drar ut slangen genom att hålla i sprutpistolen kan slangen skadas eller pistolens koppling gå sönder.
Frigör avtryckarlåset.
Rikta sprutpistolens munstycke mot det område som ska besprutas och tryck in avtryckaren.
Släpp avtryckaren och lås avtryckarlåset när du är klar.
Händer, löst sittande kläder, långt hår och hängande smycken kan fastna i slangen och slangvindan under upprullning och orsaka personskador.
Håll händerna borta från slangvindan och slangen under upprullning.
Bär inte löst sittande kläder eller hängande smycken. Sätt upp långt hår.
Tryck in upprullningsknappen på slangvindan tills endast några decimeter slang finns kvar utanför slangvindan.
Vrid reglerventilspaken till det STäNGDA läget.
Rikta sprutpistolens munstycke mot ett område som det är säkert att bespruta, frigör avtryckarlåset och håll in avtryckaren tills slangen har tömts på vätska. Aktivera sedan avtryckarlåset på nytt.
Sätt tillbaka sprutpistolen på hållaren på slangvindans baksida.
Ställ motorn på tomgång igen.
Stoppa pumpen.
Important: Var noga med spola ur sprutpistolen med färskt rent vatten vid den dagliga rengöringen (se spridarens bruksanvisning). Om sprutpistolen inte rengörs ordentligt kan dess prestanda försämras och slangvindans och sprutpistolens tillförlitlighet kan sjunka.
Ställ in önskat tryck med hastighetsomkopplaren.