仔细阅读本手册,了解如何正确操作与维护您的产品。本手册中的信息可帮助您和其他人免受伤害或避免产品受损。尽管 Toro 致力于设计和生产安全的产品,但正确并安全地操作本产品是您的责任。
您可通过访问 www.Toro.com 直接联系 Toro,获取产品安全和操作培训材料、附件信息,查找代理商或注册产品。
当您需要关于维修保养、Toro 真品零件或其他方面的信息时,请联系授权服务经销商或 Toro 客户服务中心,并准备好有关您的产品的型号和序列号等资料。图 1插图为产品上型号和序列号的位置。
Note: 此产品符合欧盟所有相关指令。若要了解详情,请参阅本手册封底的注册声明 (DOI)。请根据正常操作位置确定机器的左右侧。

加利福尼亚州
第65号提案中警告称:
使用此产品可能导致接触加利福尼亚州已知的能致癌、致出生缺陷或损害生殖系统的化学物质。
操作员或用户的不当使用或维护可能会造成伤害。若要减少潜在伤害,请遵循这些安全说明并始终注意安全警告标志,即“小心”、“警告”或“危险”等个人安全指示。不遵循说明进行操作可能造成人身伤害甚至死亡事故。
另请阅读车辆《操作员手册》中的安全和操作说明。
切勿将手喷枪对准任何人或动物。高压下的液体可能会穿透皮肤并造成严重伤害、因而导致截肢甚至死亡。热液体和化学品也可能造成灼伤或其他伤害。如果身体的任何部位不慎接触到喷雾射流,请立即咨询熟悉注入液体伤害的医师。
切勿让手或身体的任何其他部位置于喷嘴前面。
当您离开时,切勿让设备处于压力之下。
如果软管、扳机锁、喷嘴或任何其他零部件受损或丢失,切勿使用手喷枪。
如果软管、接头或其他组件存在泄漏情况,切勿使用手喷枪。
切勿在输电电线附近进行喷洒作业。
使用手喷枪进行喷洒作业时,切勿驾驶机器。
使用手喷枪喷洒化学品时,请戴上橡胶手套、护目镜和全身防护服。
闪电可能造成严重伤害甚至死亡事故。如果在作业区域内看到闪电或听到打雷,切勿操作机器;请寻找躲避处。
化学品很危险,可能造成人身伤害。
处理化学品之前,请先阅读化学品标签上的使用说明,并按照制造商的所有建议和预防措施进行操作。
确保化学品远离皮肤。如果发生接触,请使用肥皂和清水彻底清洗接触到的身体部分。
佩戴护目镜及化学品制造商推荐的任何其他防护装备。
![]() |
任何潜在危险区附近均贴有操作员清晰可见的安全标贴和说明。更换受损或丢失的标贴。 |

客户提供用品:
聚四氟乙烯螺纹密封材料(密封带或密封胶)
一种非石油基质润滑剂,如植物油
电池端子或金属工具可能会与机器金属部件发生短路并产生火花。火花可引发电池气体爆炸,从而造成人身伤害。
拆下或安装电池时,切勿让电池端子接触到主机的任何金属部件。
切勿让金属工具短接电池端子和机器的金属部件。
电池接线不准确会损坏机器、而且接线之间会产生火花。火花可引发电池气体爆炸,从而造成人身伤害。
应始终先断开负极(黑色)电池线,然后才能断开正极(红色)接线。
应始终先连接正极(红色)电池线,然后才能连接负极(黑色)接线。
如果安装了可选冲洗水箱,应将冲洗水箱中的水泵入药缸;请参阅冲洗水箱套件安装说明中的“操作冲洗水箱套件”部分。
确保机器药缸内没有任何液体。
Note: 如果药缸含有化学溶液,请用干净的清水彻底冲洗药缸和打药车系统;请参阅您的车辆 《操作员手册》, 了解相关说明。
将机器停放在水平地面上,设定手刹,关闭打药车泵,关闭发动机,然后从点火开关上拔下钥匙。
从电池负极断开电池的负极电池线;请参阅 操作员手册。
从电池正极断开电池的正极电池线;请参阅 操作员手册。
此程序中需要的物件:
| 螺母(¼ 英寸 - 20) | 1 |
| 凸缘螺母(5/16 英寸 - 18) | 5 |
| 凸缘螺母(⅜ 英寸 - 16) | 12 |
| 螺栓(⅜ 英寸 - 16 x 1 英寸) | 5 |
| 螺栓(¼ 英寸 - 20 x ¾ 英寸) | 1 |
| 螺栓(⅜ 英寸 - 16 英寸) | 2 |
| 螺栓(⅜ 英寸 - 16 x 3½ 英寸) | 2 |
| 上支架 | 1 |
| 下支架托架 | 1 |
| 下支架 | 1 |
| 锁紧螺栓(5/16 英寸 - 18 x 1 英寸) | 1 |
| U 形螺栓 | 1 |
| 螺栓(⅜ 英寸 - 16 x 2¼ 英寸) | 2 |
| 软管卷架支撑托架 | 1 |
| 轴肩螺栓 | 4 |
| 卷架支架 | 1 |
| 锁紧螺母(5/16 英寸 - 18 英寸) | 2 |
| 螺栓(5/16 英寸 - 18 x 1 英寸) | 2 |
| 压力表异径管 | 1 |
| 联轴器 | 1 |
| 压力表 | 1 |
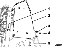
如图 9中所示,使用 1 个螺栓(¼ 英寸 - 20 x ¾ 英寸)、1 个螺母(¼ 英寸 - 20 英寸)、1 个锁紧螺栓(5/16 英寸 - 18 x 1 英寸)和 1 个凸缘螺母(5/16 英寸 - 18 英寸)安装上支架。

如图 10中所示,使用 1 个 U 形螺栓、1 个螺栓( ⅜ 英寸 - 16 x 1 英寸)和 3 个凸缘螺母(⅜ 英寸 - 16 英寸)将上支架的背面固定起来。

Note: 如果在安装上支架之前拆下了冲洗水箱,请先安装冲洗水箱,然后再进行下一步。
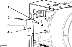
使用 2 个 ⅜ 英寸 -16 英寸螺栓、2 个 ⅜ 英寸 - 16 x 3½ 英寸螺栓和 4 个 ⅜ 英寸 - 16 英寸凸缘螺母将下支架和下支架托架安装在一起,如图 11中所示。

如果您的机器安装有可选冲洗水箱套件,应如(图 12)所示,将水箱与机器对齐。
Note: 您将完成安装冲洗水箱中的冲洗水箱安装。

如图 13中所示,使用 4 个螺栓(⅜ 英寸 - 16 x 1 英寸)、2 个螺栓(⅜ 英寸 - 16 x 2¼ 英寸)和 6 个凸缘螺母(⅜ 英寸 - 16 英寸)将软管卷架支撑托架固定到上下支架上。

如图 14中所示,将软管卷架插到卷架支撑托架的插槽中,并使用 4 个轴肩螺栓、4 个凸缘螺母(5/16 英寸 - 18 英寸)、2 个螺栓(5/16 英寸 - 18 x 1 英寸)和 2 个锁紧螺母(5/16 英寸 - 18 英寸)固定好卷架。

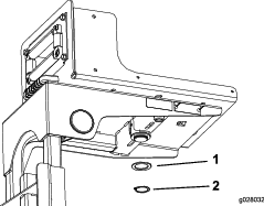
在压力表的螺纹上缠上聚四氟乙烯生料带,并按照 图 15所示安装压力表总成。

上紧连接压力表支撑托架与软管卷架之间的螺栓。
将压紧装置支架与模制在冲洗水箱顶部的释放装置对齐(图 16)。

将压紧装置支架上的槽与阀门安装架上的孔对齐(图 16)。
用在卸掉冲洗水箱中卸下的 1 个螺栓(⅜ x 1½ 英寸)、2 个垫圈(⅜ 英寸)和 1 个凸缘锁紧螺母(⅜ 英寸),将压紧装置松松地组装到阀门安装架上(图 16)。
对冲洗水箱中另一凹槽处的另一个压紧装置重复步骤 1至 3(图 16)。
小心用手拧紧螺栓和凸缘螺母。
Important: 冲洗水箱必须稳固在相应的位置上,但是压紧装置不应使水箱变形或扭曲。
Note: 冲洗水箱首次装满后,请检查压紧装置,并检查冲洗水箱是否可用(因为水箱中水的重量会促使水箱压向机架)。如果需要,应拧紧螺栓和凸缘锁紧螺母,直到压紧装置紧贴在冲洗水箱上——不应使水箱变形。
此程序中需要的物件:
| 线束 | 1 |
| 开关盒总成 | 1 |
| 止推垫圈 | 1 |
| 卡环 | 1 |
| 软管卷总成 | 1 |
| 弹簧销 | 1 |
| 垫圈 (7/16 英寸) | 4 |
| 凸缘螺母(5/16 英寸 - 18) | 2 |
| 螺栓(5/16 英寸 - 18 x ¼ 英寸) | 2 |
| 垫圈 | 1 |
| 凸缘螺母(⅜ 英寸 - 16) | 4 |
| 螺栓(⅜ 英寸 - 16 x 1 英寸) | 4 |
Note: 软管卷马达的保险丝位于开关盒内 (图 19)。

将转盘放入软管卷底座的孔中。
在软管卷支撑架的下面,将止推垫圈和卡环装在转盘柱上(图 20)。

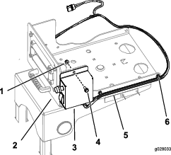
如图 21中所示,使用 2 个螺栓(5/16 英寸 - 18 x ¼ 英寸)和 2 个凸缘螺母(5/16 英寸 - 18 英寸)将开关盒安装到转盘上。

使用已有夹具将线束固定到转盘的两侧(图 21)。
如图 22中所示,使用 4 个螺栓(⅜ 英寸 - 16 x 1 英寸)、4 个垫圈(7/16 英寸)和 4 个凸缘螺母(⅜ 英寸 - 16)将软管卷固定到转盘上。
Note: 软管卷马达应朝向开关面板的相反方向。

将垫圈和弹簧销安装到软管卷支撑架的下面(图 23)。

将剩余的各线束插头与马达、主线束电源和软管卷组件插头连接起来。
此程序中需要的物件:
| 控制阀 | 1 |
| T 形弯头 | 1 |
| 软管夹 | 1 |
| 扎带 | 3 |
| R 形软管夹 | 1 |
| 软管(1.8m) | 1 |
| 软管夹 | 1 |
| 90度弯头 | 1 |
| 软管连接器 | 1 |
| 螺母(¼ 英寸 - 20) | 1 |
| 凸缘螺母(⅜ 英寸 - 16) | 1 |
| 压力传感器管 | 1 |
| 螺栓(¼ 英寸 - 20 x ¾ 英寸) | 1 |
| 阀门安装架 | 1 |
| 控制阀支架 | 1 |
| 螺栓(6 x 12mm) | 4 |
| 垫圈(8mm) | 4 |
| 凸缘头螺栓(6 x 16mm) | 4 |
| 凸缘锁紧螺母(6mm) | 4 |
此程序中需要的物件:
| 带接头的手喷枪软管 | 1 |
| 手喷枪 | 1 |
| 小号软管夹 | 1 |
在长软管的接头螺纹施用聚四氟乙烯密封材料,然后将接头安装到软管卷上的连接管内(图 40)。

将长软管的自由端连接到手喷枪的接头 (图 41) 。

用小软管夹夹紧软管末端。
按照以下方式连接电池接线:
电池接线不准确会损坏机器,而且接线之间会产生火花。火花可引发电池气体爆炸,从而造成人身伤害。
应始终先断开负极(黑色)电池线,然后才能断开正极(红色)接线。
应始终先连接正极(红色)电池线,然后才能连接负极(黑色)接线。
将正极电池线连接至电池正极;请参阅 操作员手册。
将负极电池线连接至电池负极;请参阅 操作员手册。
按下软管缠绕按钮,然后小心地将软管引至软管卷上,同时将软管从一边摆至另一边,均匀地分布软管。
回卷时,双手、宽松的衣物、长发和松散的珠宝都可能被卷入软管和软管卷,造成伤害。
回卷时,请确保双手远离软管卷和软管。
切勿身着宽松衣物或佩戴松散的珠宝,务请扎好长发。
因压力所致从打药车系统中流出的液体可能会穿透皮肤并造成伤害。
在对系统施加压力之前,请确保所有软管和管路均处于良好状态,且所有连接和接头均紧固到位。
请确保身体和双手远离喷射高压液体的针孔泄漏点或喷射点。
使用纸板或纸张找出液体泄漏点。
在对打药车系统执行任何工作之前,请先安全释放打药车系统中的所有压力。
如果液体穿透皮肤,请立即就医。
向打药车药缸中添加清水。
启动发动机,将发动机速度设置到半油门位置,然后将打药车泵开关设定到 打开 位置;请参阅 操作员手册 。
确保喷洒臂段歧管端部的控制阀处于开启位置。
检查歧管、控制阀和软管是否存在泄漏现象。
利用开关盒内的喷洒率开关提高打药车系统对软管卷的压力。
检查以下组件是否存在泄漏现象:
配件和接头
压力表和软管卷阀
管道、软管和喷枪
Note: 操作打药车系统之前,修理所有泄漏的地方。
关闭软管卷控制阀,将打药车泵开关设定至关闭位置,然后关闭发动机。
受压液体可能会穿透皮肤并造成伤害。
请确保身体和双手远离喷射高压液体的喷嘴。
切勿将手喷枪对准任何人或动物。
在给系统加压之前,请确保所有药液软管和管路均状态良好,且所有连接点和接头均紧固到位。
使用纸板或纸张找出泄漏点。
在对系统执行任何工作之前,请先安全释放所有压力。
如果液体穿透皮肤,请立即就医。
热液体和化学品可能造成灼伤或其他伤害。
Important: 每次使用后均必须立即清空并清洗打药车。如果不这样做,可能导致化学品在管道中变干或变浓,阻塞泵及其他组件。
每次喷洒作业结束后,均需清洗喷洒系统。正确清洗喷洒系统:
执行三次冲洗过程。
每次冲洗至少使用 189L 液体。
使用化学品制造商建议的清洁剂和中和剂。
在最后一次冲洗过程中使用清水(不含清洁剂或中和剂)。
驾驶过程中使用手喷枪可能导致失控,从而造成人身伤害甚至死亡事故。切勿在驾驶时操作手喷枪。
停止机器运转、关闭喷洒臂并设定手刹。
在机器的背面,确保手喷枪上的扳机锁已锁定。
将控制阀上的控制杆翻转至打开位置。
在操作员的位置,打开泵。
将主喷洒臂开关设定至打开位置。
将发动机设定至所需的速度,然后设定空档发动机转速锁。
Important: 手喷枪的压力设置切勿超过 10.34bar。
从软管卷中抽出所需的软管长度。
Important: 切勿通过拖拉喷枪来拉出软管。应始终握住软管并直接拉出。通过拖拉喷枪来拉出软管可能会破坏喷枪上的接头或损坏软管。
松开扳机锁。
用手喷枪喷嘴直接对准要喷洒的区域,扣动扳机。
喷洒完成后松开扳机,关闭扳机锁。
回卷时,双手、宽松的衣物、长发和松散的珠宝都可能被卷入软管和软管卷,造成伤害。
回卷时,请确保双手远离软管卷和软管。
切勿身着宽松衣物或佩戴松散的珠宝,务请扎好长发。
按下软管卷上的重绕按钮,直至软管卷外仅剩几英尺软管。
将控制阀上的控制杆翻转至已关闭位置。
用手喷枪喷嘴直接对准可安全喷洒的区域,松开扳机锁,然后扣动扳机,直至所有剩余的液体均流出软管,然后关闭扳机锁。
将手喷枪放回软管卷背面的插孔中。
将发动机速度调回怠速。
停止泵。
Important: 确保在日常清洁过程中使用干净的清水清洗手喷枪(请参阅打药车的《操作员手册》)。如果清洗手喷枪的方法不当,可能会对软管卷组件和手喷枪的性能及可靠性造成影响。
使用喷洒率开关设定所需的压力。