Læs denne vejledning omhyggeligt, så du kan lære at betjene og vedligeholde produktet korrekt. Oplysningerne i denne vejledning kan hjælpe dig og andre med at undgå person- og produktskade. Selvom Toro udvikler og fremstiller sikre produkter, er du selv ansvarlig for korrekt og sikker betjening af produktet.
Du kan kontakte Toro direkte på www.Toro.com for at få materialer om produktsikkerhed og oplæring i betjening, oplysninger om tilbehør, hjælp til at finde en forhandler eller for at registrere dit produkt.
Når du har brug for service, originale Toro-dele eller yderligere oplysninger, bedes du kontakte en autoriseret serviceforhandler eller Toros kundeservice og have produktets model- og serienummer parat. Figur 1 angiver, hvor model- og serienummeret er placeret på produktet.
Note: Dette produkt overholder alle relevante EU-direktiver. Få yderligere oplysninger i inkorporeringserklæringen bagest i denne udgivelse.Maskinens venstre og højre side er som set fra den normale betjeningsposition.

CALIFORNIEN
Advarsel i henhold til erklæring nr. 65
Brug af dette produkt kan medføre eksponering over for kemikalier, der ifølge staten Californien er kræftfremkaldende og giver medfødte defekter eller andre forplantningsskader.
Hvis operatøren eller ejeren anvender eller vedligeholder maskinen forkert, kan det medføre personskade. For at nedsætte risikoen for personskade skal operatøren altid følge sikkerhedsforskrifterne og være opmærksom på advarselssymbolet, der betyder Forsigtig, Advarsel eller Fare – personlig sikkerhedsanvisning. Hvis forskrifterne ikke overholdes, kan det medføre personskade eller død.
Læs også instruktionerne om sikkerhed og betjening i køretøjets betjeningsvejledning.
Ret ikke håndsprøjten mod personer eller dyr. Væske under højtryk kan gennemtrænge huden og medføre alvorlig personskade eventuelt med amputering eller døden til følge. Varme væsker og kemikalier kan også forårsage forbrændinger eller personskade. Hvis legemsdele bliver ramt af strålen, skal du straks kontakte en læge, som har kendskab til følgeskader efter væskeindsprøjtning i huden.
Anbring ikke hænder eller andre legemsdele foran sprøjtedysen.
Lad ikke udstyret stå med tryk, når du ikke er til stede.
Brug ikke håndsprøjten, hvis slangen, aftrækkerlåsen, dysen eller andre dele er beskadiget eller mangler.
Brug ikke håndsprøjten, hvis der er lækage i slanger, fittings eller andre komponenter.
Sprøjt ikke i nærheden af strømkabler.
Kør ikke med maskinen under sprøjtning med en håndsprøjte.
Brug gummihandsker, sikkerhedsbriller og en beskyttelsesdragt, der dækker hele kroppen, under håndsprøjtning med kemikalier.
Lyn kan forårsage alvorlig personskade eller død. Hvis der observeres lyn eller høres torden i området, må maskinen ikke anvendes. Søg ly.
Kemikalier er farlige og kan forårsage personskader.
Læs vejledningen på kemikaliernes etiketter, før de håndteres, og følg producentens anbefalinger og forholdsregler.
Få ikke kemikalier på huden. Skulle det alligevel ske, skal det påvirkede område vaskes grundigt med sæbe og vand.
Bær beskyttelsesbriller og andet beskyttelsesudstyr i overensstemmelse med producentens anbefalinger.
![]() |
Sikkerheds- og instruktionsmærkaterne kan nemt ses af operatøren og er placeret tæt på potentielle risikoområder. Udskift eventuelle beskadigede eller manglende mærkater. |

Materiale, der fremskaffes af kunden:
PTFE-gevindforseglingsmiddel (tape eller pasta)
Et smøremiddel, der ikke er petroleumbaseret, f.eks. planteolie
Batteripoler eller metalværktøj kan kortslutte mod maskinens metaldele og forårsage gnister. Gnister kan få batterigasserne til at eksplodere og medføre personskade.
Når batteriet skal fjernes eller monteres, må batteriets poler ikke berøre nogen metaldele på traktoren.
Metalværktøj må ikke kortslutte mellem batteripolerne og maskinens metaldele.
Forkert batterikabelføring kan danne gnister og beskadige maskinen og kablerne. Gnister kan få batterigasserne til at eksplodere og medføre personskade.
Frakobl altid batteriets (sorte) minuskabel, før du frakobler det (røde) pluskabel.
Tilslut altid batteriets røde pluskabel, før du tilslutter det sorte minuskabel.
Hvis skylletanken (ekstraudstyr) er monteret, skal du tømme tanken i sprøjtetanken. Se Betjening af skyllesættet i monteringsvejledningen til tankskyllesættet.
Sørg for, at der ikke er nogen form for væske i sprøjtetanken.
Note: Hvis sprøjtetanken har indeholdt kemiske opløsninger, skal tanken og sprøjtesystemet skyldes grundigt med rent vand. Se køretøjets betjeningsvejledning for at få oplysninger.
Parker maskinen på en plan overflade, aktiver parkeringsbremsen, luk sprøjtetanken, sluk motoren, og tag nøglen ud af nøglekontakten.
Kobl batteriets minuskabel fra batteriets minuspol. Se betjeningsvejledningen.
Kobl batteriets pluskabel fra batteriets pluspol. Se betjeningsvejledningen.
Fjern holdegaflen, der fastgør sugeslangens 90°-fitting med modhager til sugeskærmens hus øverst på sprøjtetanken, og skil fittingen fra huset (Figur 2).

Fjern 90°-fittingen fra sugeskærmens hus (Figur 2).
Fjern holdegaflen, der fastgør forsyningslangens 90°-fitting til skotfittingen i bunden af skylletanken (Figur 3).

Fjern 90°-fittingen fra skotfittingen (Figur 3).
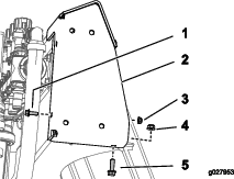
Fjern de 2 bolte, 4 spændeskiver og 2 flangelåsemøtrikker, der fastgør skylletankens 2 tilholderbeslag til ventilbeslaget, og afmonter tilholderbeslagene (Figur 4).

Afmonter skylletanken fra maskinen (Figur 5).


Løsn de 4 flangelåsemøtrikker og 4 bolte, der fastgør tankremmens halvdele (Figur 7).

Flyt sprøjtetanken fremad, indtil remmene flugter med den bageste kant af remsporet, der er støbt ind i tanken (Figur 8).

Stram de 4 flangelåsemøtrikker og 4 bolte øverst på remmene, indtil remmene flugter med tankens overflade (Figur 7).
Dele, der skal bruges til dette trin:
| Møtrik (1/4-20 tomme) | 1 |
| Flangemøtrik (5/16-18 tomme) | 5 |
| Flangemøtrik (3/8-16 tomme) | 12 |
| Bolt (3/8-16 x 1 tomme) | 5 |
| Bolt (1/4-20 x 3/4 tomme) | 1 |
| Bolt (3/8-16 tomme) | 2 |
| Bolt (3/8-16 x 3-1/2 tomme) | 2 |
| Øvre beslag | 1 |
| Nedre støttebeslag | 1 |
| Nedre beslag | 1 |
| Whiz-bolt (5/16-18 x 1 tomme) | 1 |
| Bøjleskrue | 1 |
| Bolt (3/8-16 x 2-1/4 tomme) | 2 |
| Tromlehyldestøttebeslag | 1 |
| Ansatsbolt | 4 |
| Tromle, hylderamme | 1 |
| Kontramøtrik (5/6-18 tomme) | 2 |
| Bolt (5/16-18 x 1 tomme) | 2 |
| Trykmålerreduktionsenhed | 1 |
| Kobling | 1 |
| Trykmåler | 1 |
Fastgør det øverste beslag ved hjælp af 1 bolt (1/4-20 x 3/4 tomme), 1 møtrik (1/4-20 tomme), 1 whiz-bolt (5/16-18 x 1 tomme) og 1 flangemøtrik (5/16-18 tomme) som vist i Figur 9.

Fastgør bagsiden af det øverste beslag ved hjælp af 1 bøjleskrue, 1 bolt (3/8-16 x 1 tomme) og 3 flangemøtrikker (3/8-16 tomme) som vist i Figur 10.

Note: Hvis du afmonterede skylletanken, før du monterede det øverste beslag, skal du montere skylletanken igen, før du går videre til næste trin.
Monter det nederste beslag og nederste støttebeslag til rammen ved hjælp af 2 bolte (3/8-16 tomme), 2 bolte (3/8-16 x 3-1/2 tomme) og 4 flangemøtrikker (3/8-16 tomme) som vist i Figur 11.

Hvis din maskine er udstyret med skylletanksættet (ekstraudstyr), skal tanken placeres på maskinen som vist i figur (Figur 12).
Note: Du afslutter monteringen af skylletanken i Montering af skylletank.

Fastgør tromlehyldestøttebeslaget til det øverste og nederste beslag ved hjælp af 4 bolte (3/8-16 x 1 tomme), 2 bolte (3/8-16 x 2-1/4 tomme) og 6 flangemøtrikker (3/8-16 tomme) som vist i Figur 13.

Sæt tromlehylderammen i hullerne på tromlehyldestøttebeslaget, og fastgør hylden ved hjælp af 4 ansatsbolte, 4 flangemøtrikker (5/16-18 tomme), 2 bolte (5/16-18 x 1 tomme) og 2 kontramøtrikker (5/16-18 tomme) som vist i Figur 14.

Sæt PTFE-tape på gevindene på trykmåleren, og monter trykmåleren som vist i Figur 15.

Tilspænd boltene på støttebeslaget til trykmåleren mod tromlehylderammen.
Ret tilholderbeslaget ind efter sporene, der er støbt ind i skylletankens øverste del (Figur 16)

Ret hullet i tilholderbeslaget ind efter hullet i ventilbeslaget (Figur 16).
Monter løst tilholderen på ventilbeslaget (Figur 16) med en bolt (⅜" x 1½"), 2 spændeskiver (⅜") og en flangelåsemøtrik (⅜"), som du fjernede i Afmontering af skylletanken.
Gentag trin 1 til 3 for den anden tilholder på den anden fordybning i skylletanken (Figur 16).
Stram forsigtigt boltene og flangemøtrikkerne med hånden.
Important: Skylletanken skal holdes på plads og være fastgjort, men tilholderen må ikke deformere tanken eller gøre den skæv
Note: Når skylletanken er blevet fyldt første gang, skal du efterse tilholderne og skylletanken for slør (vandets tyngde i tanken kan øge tankens belastning mod stellet yderligere). Stram om nødvendigt bolten(e) og flangelåsemøtrikken/-erne, indtil tilholderne sidder helt stramt mod skylletanken – sørg for, at tanken ikke deformeres.
Ret forsyningsslangens 90°-fitting med modhager ind efter sugeskærmens hus (Figur 18).

Fastgør 90°-fittingen med modhager til huset (Figur 18) med holdergaflen, som du fjernede i trin 1 i Afmontering af skylletanken.
Dele, der skal bruges til dette trin:
| Ledningsnet | 1 |
| Afbryderdåse-samling | 1 |
| Trykskive | 1 |
| Låsering | 1 |
| Slangetromleenhed | 1 |
| Fjederpind | 1 |
| Spændeskive (7/16 tomme) | 4 |
| Flangemøtrik (5/16-18 tomme) | 2 |
| Bolt (5/16-18" x ¼") | 2 |
| Spændeskive | 1 |
| Flangemøtrik (3/8-16 tomme) | 4 |
| Bolt (⅜-16" x 1") | 4 |
Note: Sikringen til slangetromlemotoren sidder i afbryderdåsen (Figur 19).

Sæt drejepladen fast i hullet på slangetromlebundpladen.
Fastgør trykskiven og låseringen til tappen på drejepladen på undersiden af slangetromlen (Figur 20).

Monter afbryderdåsen på drejepladen med 2 bolte (5/16-18" x ¼") og 2 flangemøtrikker (5/16-18") som vist i Figur 21.

Fastgør ledningsnettet til drejepladens sider vha. de eksisterende klemmer (Figur 21).
Fastgør slangetromlen til drejepladen ved hjælp af 4 bolte (3/8-16 x tomme), 4 spændeskiver (7/16 tomme) og 4 flangemøtrikker (3/8-16 tomme) som vist i Figur 22.
Note: Slangetromlemotoren skal vende bort fra afbryderpanelet.

Monter spændeskiven og fjederpinden på undersiden af slangetromlerammen (Figur 23).

Slut de resterende ledningsnetstik til motoren, tilslutningen til hovedledningsnettet og stikkene til slangetromlesættet.
Dele, der skal bruges til dette trin:
| Kontrolventil | 1 |
| T-beslag | 1 |
| Slangespændebånd | 1 |
| Kabelbånd | 3 |
| R-klemme | 1 |
| Slange (180 cm) | 1 |
| Klemme | 1 |
| 90° knærør | 1 |
| Rørkobling | 1 |
| Møtrik (1/4-20 tomme) | 1 |
| Flangemøtrik (3/8-16 tomme) | 1 |
| Tryktransducerrør | 1 |
| Bolt (1/4-20 x 3/4 tomme) | 1 |
| Ventilbeslag | 1 |
| Kontrolventilens beslag | 1 |
| Bolt (6 x 12 mm) | 4 |
| Spændeskive (8 mm) | 4 |
| Flangehovedbolt (6 x 16 mm) | 4 |
| Flangelåsemøtrik (6 mm) | 4 |
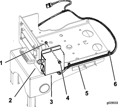
Frakobl dækslet og koblingen fra trykmålerporten (Figur 24).

Monter kontrolventilen som vist i Figur 24.
Monter koblingen i den åbne port på 90° knærøret (Figur 24 og Figur 37).
Note: Du kan kassere dækslet.
Tilslut slangetromlens forsyningsslange til kontrolventilen ved hjælp af en slangeklemme (Figur 24).
Frakobl konnektoren med tre sokler til tryktransduceren (Figur 25).

Fjern den flangeklemme, der fastgør tryktransduceren til 90° fittingen, og fjern transduceren, pakningen og flangeklemmen (Figur 26).

Fjern den flangeklemme, der fastgør 90° fittingen til 90° fittingen med en konnektor til sensorrøret, og fjern 90° fittingen, pakningen og flangeklemmen (Figur 26)
Monter ventilbeslaget på kontrolventilen som vist i A i Figur 27.

Fastgør ventilbeslaget på kontrolventilen med flangehovedskruen (nr. 6), og stram skruen med håndkraft (B i Figur 27).
Monter ventilbeslaget på kontrolventilens beslag (Figur 28) med de fire bolte (6 x 12 mm) og fire flade spændeskiver, og tilspænd boltene til et moment på 10 til 12 N·m.

Ret flangen på T-beslaget ind efter flangen på kontrolventilen som vist i Figur 29.

Fastgør T-beslaget på kontrolventilen med en pakning og flangeklemme (Figur 29).
Ret flangen på tryktransduceren ind efter flangen på T-beslaget som vist i Figur 30.

Monter tryktransduceren på T-beslaget med en pakning og flangeklemme, og stram klemmen med håndkraft (Figur 30).
Ret flangen på T-beslaget ind efter flangen på 90° fittingen med en konnektor til sensorrøret (Figur 31).

Saml T-beslaget og 90° fittingen løst med en pakning og en flangeklemme (Figur 31)
Note: Drej kontrolventilens beslag efter behov, indtil det flugter med overfladen på ventilbeslaget.
Brug kontrolventilens beslag som skabelon, og marker placeringen af hullerne i beslaget på overfladen af manifoldbeslaget (Figur 32).

Fjern klemmen, pakningen, T-beslaget med flangen fra 90° fittingen med en konnektor til sensorrøret (Figur 31).
Udstans mærkerne på manifoldbeslaget, som du lavede i trin 3.
Bor 4 huller 6 mm (1/4 tomme) ind i manifoldbeslaget ved udstansningsmærkerne, som du lavede i trin 5.

Ret flangen på T-beslaget ind efter flangen på 90° fittingen med en konnektor til sensorrøret (Figur 34).

Saml T-beslaget og 90° fittingen løst med en pakning og en flangeklemme (Figur 34).
Monter kontrolventilens beslag på manifoldbeslaget (Figur 35) med 4 flangehovedbolte (6 x 16 mm) og 4 flangelåsemøtrikker (6 mm), og tilspænd boltene med et moment på 10 til 12 N·m.
Stram (med håndkraft) den flangeklemme, der fastgør kontrolventilen og T-beslaget (Figur 29), og den flangeklemme, der fastgør T-beslaget på 90° fittingen med en konnektor til sensorrøret (Figur 31 og Figur 34).
Tilslut konnektoren med tre sokler til tryktransduceren (Figur 35).

Monter sprøjtestavsslangen på slangefittingen med modhager på reguleringsventilen, og fastgør slangen til fittingen med en slangeklemme (Figur 36).

Fastgør slangen 180 cm til det øverste beslag ved hjælp af en R-klemme, bolt (1/4-20 x 3/4 tomme) og møtrik (1/4-20 tomme) som vist i Figur 37.

Påfør PTFE-forseglingsmiddel på gevindene på T-beslaget, og slut T-beslaget til kontrolventilen (Figur 37).
På før PTFE-forseglingsmiddel på gevindene på koblingen, og slut koblingen til T-beslaget (Figur 37).
Tilslut tryktransducerens rør på koblingen på T-beslaget i 90° knærør og koblingen på trykmåleren (Figur 38).

Slut slangen 180 cm til modhageslangens fitting på slangetromlen, og fastgør slangen til fittingen med en slangeklemme som vist i Figur 39.

Fastgør ledningsnettet til drejeslangetromlesæt til forsyningsslangen til tromlen med 3 kabelbånd (Figur 39).
Dele, der skal bruges til dette trin:
| Sprøjtepistolslange med fitting | 1 |
| Sprøjtepistol | 1 |
| Lille slangeklemme | 1 |
Påfør PTFE-forseglingsmiddel på gevindene i slangefittingen på den lange slange, og fastgør fittingen på forbindelsesrøret på tromlen (Figur 40).

Kobl den frie ende af den lange slange til fittingen på sprøjtepistolen (Figur 41).

Fastgør enden af slangen med en lille slangeklemme.
Tilslut batterikablerne på følgende måde:
Forkert batterikabelføring kan danne gnister og beskadige maskinen og kablerne. Gnister kan få batterigasserne til at eksplodere og medføre personskade.
Frakobl altid batteriets (sorte) minuskabel, før du frakobler det (røde) pluskabel.
Tilslut altid batteriets røde pluskabel, før du tilslutter det sorte minuskabel.
Tilslut batteriets pluskabel til batteriets pluspol. Se betjeningsvejledningen.
Tilslut batteriets minuskabel til batteriets minuspol. Se betjeningsvejledningen.
Tryk på slangeoprulningsknappen, og styr omhyggeligt slangen, så den kommer på tromlen, idet slangen flyttes fra side til side, så den fordeles jævnt.
Hænder, løstsiddende tøj, langt hår og løsthængende smykker kan blive viklet ind slangen og tromlen under oprulningen og medføre personskade.
Hold hænderne fri af tromlen og slangen under oprulning.
Bær ikke løstsiddende tøj eller løsthængende smykker, og sæt langt hår op.
Væske, der slipper ud af sprøjtesystemet under tryk, kan trænge ind i huden og dermed forårsage personskader.
Sørg for, at alle slanger og rør er i god stand, og at alle hydrauliske forbindelser og fittings slutter tæt, før der sættes tryk på sprøjtesystemet.
Hold din krop og hænder væk fra splithulslækager eller dyser, der sprøjter højtryksvæske ud.
Brug pap eller papir til at finde eventuelle lækager.
Tag hele trykket af det sprøjtesystemet, før der udføres arbejde på det.
Søg straks lægehjælp, hvis der sprøjtes væske ind under huden.
Fyld sprøjtetanken delvist med rent vand.
Start motoren, indstil motorhastigheden til halv gasposition, og indstil kontakten for sprøjtepumpen til På position. Se betjeningsvejledningen.
Sørg for, at kontrolventilen ved enden af sektionsmanifolden er åben.
Kontroller for lækager i manifolden, reguleringsventilen og slangen.
Brug doseringskontakten i afbryderdåsen for at hæve sprøjtesystemtrykket på slangetromlen.
Kontroller følgende komponenter for lækager:
fittings og koblinger
trykmåler og slangetromleventil
rør, slanger og sprøjtepistol
Note: Reparer alle lækager, før sprøjtesystemet betjenes.
Luk ventilen til slangetromlen, sæt kontakten for sprøjtepumpen i positionen OFF (slukket), og sluk motoren.
Væske under tryk kan trænge ind i huden og dermed forårsage personskader.
Hold kroppen og hænderne væk fra dyser, der sprøjter væske under højt tryk ud.
Ret ikke sprøjten mod personer eller dyr.
Sørg for, at alle slanger og rør til væske er i god stand, og at alle forbindelser og fittings er stramme, før der sættes tryk på systemet.
Brug pap eller papir til at finde eventuelle lækager.
Tag hele trykket af systemet, før der udføres arbejde på det.
Søg straks lægehjælp, hvis der sprøjtes væske ind under huden.
Varme væsker og kemikalier kan forårsage forbrændinger eller anden personskade.
Important: Tøm og rengør altid sprøjten øjeblikkeligt efter hver brug. Gør du ikke dette, kan kemikalierne tørre ind eller fortykkes i slangerne, hvilket tilstopper pumpen og andre dele.
Rengør sprøjtesystemet efter hver omgang sprøjtning. Rengør systemet korrekt ved at:
bruge 3 separate skylninger.
bruge mindst 189 liter til hver skylning.
bruge rensemidler og neutraliserende midler i henhold til kemikalieproducentens anbefalinger,
Brug rent vand (ingen rensemidler eller neutraliserende midler) til sidste skylning.
Kørsel, mens håndsprøjten anvendes, kan medføre, at man mister herredømmet over køretøjet, og resultere i personskade eller død. Brug ikke håndsprøjten under kørsel.
Stands maskinen, afbryd bommene, og aktiver parkeringsbremsen.
På maskinens bagende skal du sørge for, at aftrækkerlåsen på sprøjtepistolen er låst.
Vend håndtaget på kontrolventilen til åBEN position.
Tænd pumpen ved førersædet.
Skift hovedbommen til positionen ON (tændt).
Indstil motoren til den ønskede hastighed, og indstil låsekontakten til neutral motorhastighed.
Important: Benyt ikke en trykværdi over 10,34 bar med håndsprøjten.
Træk den ønskede længde slange af tromlen.
Important: Træk ikke slangen ud med sprøjtepistolen. Hold altid fast i selve slangen. Hvis du trækker slangen ud med pistolen, er der risiko for, at fittingen på pistolen går i stykker, eller at slangen beskadiges.
Slå aftrækkerlåsen fra.
Ret sprøjtepistolens dyse mod det område, der skal sprøjtes, og tryk på aftrækkeren.
Slip aftrækkeren, og slå aftrækkerlåsen til, når du er færdig.
Hænder, løstsiddende tøj, langt hår og løsthængende smykker kan blive viklet ind slangen og tromlen under oprulningen og medføre personskade.
Hold hænderne fri af tromlen og slangen under oprulning.
Bær ikke løstsiddende tøj eller løsthængende smykker, og sæt langt hår op.
Tryk på oprulningsknappen på slangetromlen, indtil der kun stikker et par centimeter slange ud af tromlen.
Vend håndtaget på kontrolventilen til LUKKET position.
Ret sprøjtepistolens dyse mod et område, hvor det er sikkert at sprøjte, slå aftrækkerlåsen fra, og tryk på aftrækkeren, indtil al tilbageværende væske er ude af slangen. Slå derefter aftrækkerlåsen til igen.
Sæt sprøjtepistolen i holderen bag på tromlen.
Lad motoren køre i tomgang igen.
Stop pumpen.
Important: Sørg for at skylle sprøjtepistolen med friskt, rent vand under din daglige rutinemæssige rengøring (se sprøjtens betjeningsvejledning). Hvis sprøjtepistolen ikke rengøres grundigt kan det forringe slangetromlens og sprøjtepistolens funktionalitet og pålidelighed.
Brug doseringskontakten til at indstille det ønskede tryk.