Lue tämä käyttöopas huolellisesti, jotta opit käyttämään ja huoltamaan laitetta asianmukaisesti. Tämän käyttöoppaan tiedoilla sinä ja muut käyttäjät pystytte välttämään tapaturmia ja laitevaurioita. Vaikka Toro suunnittelee ja valmistaa turvallisia tuotteita, olet itse vastuussa tuotteen asianmukaisesta ja turvallisesta käytöstä.
Voit ottaa yhteyden Toroon suoraan osoitteessa www.Toro.com, jos tarvitset tuoteturvallisuuteen ja käyttökoulutukseen liittyvää materiaalia, tietoja lisävarusteista tai lähimmästä jälleenmyyjästä tai haluat rekisteröidä tuotteesi.
Aina kun tarvitset huoltoa, alkuperäisiä Toro-varaosia tai lisätietoja, ota yhteys valtuutettuun huoltoliikkeeseen tai Toron asiakaspalveluun. Ota tällöin tuotteesi malli- ja sarjanumerot valmiiksi esiin. Kuva 1 näyttää laitteen malli- ja sarjanumeron sijainnin.
Note: Tämä tuote on soveltuvien eurooppalaisten direktiivien mukainen. Lisätietoja on tämän julkaisun lopussa olevassa liittämisvakuutuksessa.Koneen vasen ja oikea puoli määritellään normaalista käyttöasennosta käsin.

KALIFORNIA
Lakiesityksen 65 mukainen varoitus
Tämän tuotteen käyttäminen voi altistaa kemikaaleille, jotka Kalifornian osavaltion tietojen mukaan aiheuttavat syöpää, synnynnäisiä epämuodostumia tai muuta lisääntymiseen liittyvää haittaa.
Laitteen asiaton käyttö tai huolto voi aiheuttaa tapaturman. Vähennä loukkaantumisriskiä noudattamalla näitä turvallisuusohjeita ja huomioimalla aina varoitusmerkki, joka tarkoittaa varoitusta, vaaraa tai hengenvaaraa – henkilöturvallisuusohjeet. Ohjeiden noudattamatta jättäminen saattaa johtaa henkilövahinkoon tai kuolemaan.
Tutustu myös ajoneuvon käyttöoppaassa oleviin käyttö- ja turvallisuusohjeisiin.
Älä suuntaa käsiruiskutinta ihmisiä tai eläimiä kohti. Korkeapaineinen neste voi lävistää ihon ja aiheuttaa vakavia vammoja, raajan menetyksen tai kuoleman. Kuumat nesteet ja kemikaalit voivat aiheuttaa palovammoja tai muita vammoja. Jos nestesuihku osuu johonkin ruumiinosaan, hakeudu välittömästi sellaisen lääkärin hoitoon, joka kykenee hoitamaan ihon läpäisseen nestesuihkun aiheuttamia vammoja.
Älä aseta kättä tai muita ruumiinosia ruiskun suuttimen eteen.
Älä jätä laitteeseen painetta, kun et ole läsnä.
Älä käytä käsiruiskutinta, jos letku, liipaisinlukko, suutin tai jokin muu osa on vahingoittunut tai puuttuu.
Älä käytä käsiruiskutinta, jos jokin letku, liitin tai muu osa vuotaa.
Älä ruiskuta voimajohtojen lähettyvillä.
Älä aja samalla, kun käytät käsiruiskutinta.
Käytä kumikäsineitä, suojalaseja ja koko vartalon suojapukua, kun ruiskutat kemikaaleja käsiruiskuttimella.
Salamanisku voi aiheuttaa vakavan loukkaantumisen tai hengenvaaran. Jos alueella on ukonilma, konetta ei saa käyttää. Tällöin on hakeuduttava suojaan.
Kemikaalit ovat vaarallisia ja saattavat aiheuttaa henkilövahinkoja.
Lue kemikaalien etikettien ohjeet huolellisesti ennen käyttöä ja noudata kaikkia valmistajan suosituksia ja varoituksia.
Vältä kemikaalien joutumista iholle. Jos kemikaaleja joutuu iholle, pese kyseinen kohta huolellisesti saippualla ja puhtaalla vedellä.
Käytä suojalaseja ja muita suojavarusteita kemikaalin valmistajan antamien suositusten mukaan.
![]() |
Turva- ja ohjetarrat on sijoitettu hyvin näkyville paikoille mahdollisten vaara-alueiden lähettyville. Korvaa vioittuneet tai kadonneet tarrat uusilla. |

Asiakkaan toimittamat tarvikkeet:
PTFE-kierretiiviste (teippi tai tahna)
Raakaöljyä sisältämätön voiteluöljy, kuten kasviöljy
Akun navat tai metallityökalut voivat aiheuttaa oikosulun koskettaessaan koneen metalliosia, mistä voi seurata kipinöitä. Kipinät voivat saada akun kaasut räjähtämään ja aiheuttaa siten henkilövahingon.
Akkua irrotettaessa tai asennettaessa akun napojen ei saa antaa koskettaa ajoneuvon metalliosia.
Älä anna metallityökalujen aiheuttaa oikosulkua akkukenkien ja koneen metalliosien välille.
Akun kaapeleiden virheellinen asennus voi vahingoittaa laitetta ja kaapeleita aiheuttaen kipinöitä. Kipinät voivat saada akun kaasut räjähtämään ja aiheuttaa siten henkilövahingon.
Irrota aina akun miinuskaapeli (musta) ennen pluskaapelin (punainen) irrottamista.
Kytke aina akun pluskaapeli (punainen) ennen miinuskaapelia (musta).
Jos lisävarusteena saatava huuhtelusäiliö on asennettu, tyhjennä säiliö ruiskutussäiliöön. Lisätietoja on säiliön huuhtelusarjan asennusohjeiden huuhtelusarjan käyttöä koskevassa kohdassa.
Varmista, että koneen ruiskutussäiliöstä on tyhjennetty kaikki nesteet.
Note: Jos ruiskutussäiliössä on ollut kemiallisia liuoksia, huuhtele säiliö ja ruiskutusjärjestelmä perusteellisesti puhtaalla vedellä. Katso ohjeet ajoneuvon käyttöoppaasta.
Pysäköi kone tasaiselle alustalle, kytke seisontajarru, sulje ruiskutuspumppu, sammuta moottori ja irrota avain virtalukosta.
Irrota akun miinuskaapeli akun miinusnavasta. Lisätietoja on käyttöoppaassa.
Irrota akun pluskaapeli akun plusnavasta. Lisätietoja on käyttöoppaassa.
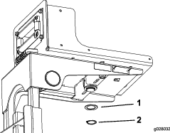
Irrota ruiskutussäiliön yläosasta kiinnityshaarukka, jolla imuletkun 90 asteen letkuliitin on kiinnitetty imusihdin koteloon, ja erota letkuliitin kotelosta (Kuva 2).

Irrota 90 asteen liitin imusihdin kotelosta (Kuva 2).
Irrota huuhtelusäiliön alaosassa kiinnityshaarukka, jolla syöttöletkun 90 asteen liitin on kiinnitetty liitinkappaleeseen (Kuva 3).

Irrota 90 asteen liitin liitinkappaleesta (Kuva 3).
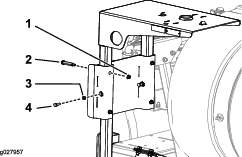
Irrota kaksi pulttia, neljä aluslaattaa ja kaksi laippalukkomutteria, joilla kaksi huuhtelusäiliön pidikettä on kiinnitetty venttiilien asennuskannattimeen, ja irrota pidikkeet (Kuva 4).

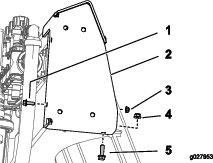
Irrota huuhtelusäiliö koneesta (Kuva 5).


Löysää neljä laippalukkomutteria ja neljä pulttia, joilla säiliön kiinnitysliuskojen puolikkaat on kiinnitetty (Kuva 7).

Siirrä ruiskutussäiliötä eteenpäin, kunnes kiinnitysliuskat ovat tiukasti kiinni säiliön kiinnitysliuskan syvennyksen takimmaisessa reunassa (Kuva 8).

Kiristä kiinnitysliuskojen yläpään neljää laippalukkomutteria ja neljää pulttia, kunnes kiinnitysliuskat ovat tiukasti kiinni säiliössä (Kuva 7).
Vaiheeseen tarvittavat osat:
| Mutteri (1/4-20 tuumaa) | 1 |
| Laippamutteri (5/16-18 tuumaa) | 5 |
| Laippamutteri (3/8-16 tuumaa) | 12 |
| Pultti (3/8-16 × 1 tuumaa) | 5 |
| Pultti (1/4-20 × 3/4 tuumaa) | 1 |
| Pultti (3/8-16 tuumaa) | 2 |
| Pultti (3/8-16 × 3 1/2 tuumaa) | 2 |
| Ylempi kannatin | 1 |
| Alemman kannattimen tuki | 1 |
| Alempi kannatin | 1 |
| Whiz-pultti (5/16-18 × 1 tuumaa) | 1 |
| U-pultti | 1 |
| Pultti (3/8-16 × 2 1/4 tuumaa) | 2 |
| Kelahyllyn tukikannatin | 1 |
| Olkatappi | 4 |
| Kelahyllyn runko | 1 |
| Vastamutteri (5/16-18 tuumaa) | 2 |
| Pultti (5/16-18 × 1 tuumaa) | 2 |
| Painemittarin supistin | 1 |
| Kytkentäkappale | 1 |
| Painemittari | 1 |
Kiinnitä ylempi kannatin yhdellä pultilla (1/4-20 × 3/4 tuumaa), yhdellä mutterilla (1/4-20 tuumaa), yhdellä whiz-pultilla (5/16-18 × 1 tuumaa) ja yhdellä laippamutterilla (5/16-18 tuumaa) kuvan mukaisesti (Kuva 9).

Kiinnitä ylemmän kannattimen takaosa yhdellä U-pultilla, yhdellä pultilla (3/8-16 × 1 tuumaa) ja kolmella laippamutterilla (3/8-16 tuumaa) kuvan mukaisesti (Kuva 10).

Note: Jos huuhtelusäiliö irrotettiin ennen ylemmän kannattimen asennusta, asenna huuhtelusäiliö takaisin ennen seuraavaan vaiheeseen siirtymistä.
Kiinnitä alempi kannatin ja alempi tukikannatin runkoon kahdella pultilla (3/8-16 tuumaa), kahdella pultilla (3/8-16 × 3 1/2 tuumaa) ja neljällä laippamutterilla (3/8-16 tuumaa) kuvan mukaisesti (Kuva 11).

Jos koneeseen on asennettu lisävarusteena saatava huuhtelusäiliö, kohdista säiliö koneeseen kuvan mukaisesti (Kuva 12).
Note: Huuhtelusäiliön asennus viimeistellään kohdassa Huuhtelusäiliön asennus.

Kiinnitä kelahyllyn tukikannatin ylempään ja alempaan kannattimeen neljällä pultilla (3/8-16 × 1 tuumaa), kahdella pultilla (3/8-16 × 2 1/4 tuumaa) ja kuudella laippamutterilla (3/8-16 tuumaa) kuvan mukaisesti (Kuva 13).

Asenna kelahyllyn runko kelahyllyn tukikannattimen aukkoihin ja kiinnitä hylly neljällä olkatapilla, neljällä laippamutterilla (5/16-18 tuumaa), kahdella pultilla (5/16-18 × 1 tuumaa) ja kahdella vastamutterilla (5/16-18 tuumaa) kuvan mukaisesti (Kuva 14).

Lisää painemittarin kierteisiin PTFE-teippiä ja asenna painemittarikokoonpano kuvan mukaisesti (Kuva 15).

Kiristä painemittarin tukikannattimen pultit kelahyllyn runkoa vasten.
Kohdista pidike huuhtelusäiliön yläosan syvennyksiin (Kuva 16).

Kohdista pidikkeen kolo venttiilien asennuskannattimen reikään (Kuva 16).
Kokoa pidike löysästi venttiilien asennuskannattimeen (Kuva 16) pultilla (⅜ × 1½ tuumaa), kahdella aluslaatalla (⅜ tuumaa) ja laippalukkomutterilla (⅜ tuumaa), jotka irrotettiin kohdassa Huuhtelusäiliön irrotus.
Toista vaiheet 1–3 toiselle pidikkeelle huuhtelusäiliön toisen syvennyksen kohdalla (Kuva 16).
Kiristä pultit ja laippamutterit huolellisesti käsin.
Important: Huuhtelusäiliö on kiinnitettävä tiukasti, mutta pidikkeet eivät saa rusentaa tai vääntää säiliötä.
Note: Kun huuhtelusäiliö on täytetty ensimmäisen kerran, tarkista, että pidikkeet ja huuhtelusäiliö eivät ole löystyneet (nesteen paino säiliössä saattaa painaa säiliötä voimakkaammin runkoa vasten). Kiristä pultteja ja laippalukkomuttereita tarvittaessa, kunnes pidikkeet ovat tiukasti huuhtelusäiliötä vasten, mutta älä anna säiliön vääntyä.
Kohdista syöttöletkun 90 asteen letkuliitin imusihdin koteloon (Kuva 18).

Kiinnitä 90 asteen letkuliitin koteloon (Kuva 18) kiinnityshaarukalla, joka irrotettiin kohdan Huuhtelusäiliön irrotus vaiheessa 1.
Vaiheeseen tarvittavat osat:
| Johdinsarja | 1 |
| Kytkinkotelo kokoonpano | 1 |
| Painealuslaatta | 1 |
| Lukitusrengas | 1 |
| Letkukelakokoonpano | 1 |
| Jousitappi | 1 |
| Aluslaatta (7/16 tuumaa) | 4 |
| Laippamutteri (5/16-18 tuumaa) | 2 |
| Pultti (5/16-18 × ¼ tuumaa) | 2 |
| Aluslaatta | 1 |
| Laippamutteri (3/8-16 tuumaa) | 4 |
| Pultti (⅜-16 × 1 tuumaa) | 4 |
Note: Letkukelan moottorin sulake on kytkinkotelossa (Kuva 19).

Pudota nivellevy letkukelan jalustan reikään.
Asenna painealuslaatta ja lukitusrengas nivellevyn tappiin letkukelan rungon alla (Kuva 20).

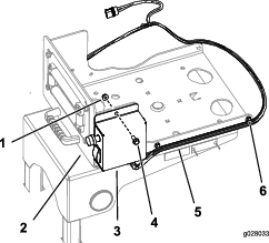
Asenna kytkinkotelo nivellevyyn kahdella pultilla (5/16-18 × ¼ tuumaa) ja kahdella laippamutterilla (5/16-18 tuumaa) kuvan mukaisesti (Kuva 21).

Kiinnitä johdinsarja nivellevyn sivuille nykyisillä kiinnikkeillä (Kuva 21).
Kiinnitä letkukela nivellevyyn neljällä pultilla (3/8-16 × 1 tuumaa), neljällä aluslaatalla (7/16 tuumaa) ja neljällä laippamutterilla (3/8-16 tuumaa) kuvan mukaisesti (Kuva 22).
Note: Letkukelan moottorin on oltava poispäin kytkinpaneelista.

Asenna aluslaatta ja jousitappi letkukelan rungon alapuolelle (Kuva 23).

Kytke jäljellä olevat johdinsarjan liittimet moottorin, pääjohdinsarjan virran ja letkukelasarjan liitäntöihin.
Vaiheeseen tarvittavat osat:
| Säädinventtiili | 1 |
| T-liitin | 1 |
| Letkunkiristin | 1 |
| Nippuside | 3 |
| R-liitin | 1 |
| Letku (180 cm) | 1 |
| Kiristin | 1 |
| 90 asteen kulmaliitin | 1 |
| Putken kytkentäkappale | 1 |
| Mutteri (1/4-20 tuumaa) | 1 |
| Laippamutteri (3/8-16 tuumaa) | 1 |
| Paineanturin putki | 1 |
| Pultti (1/4-20 × 3/4 tuumaa) | 1 |
| Venttiilin asennuskannatin | 1 |
| Säädinventtiilin kannatin | 1 |
| Pultti (6 × 12 mm) | 4 |
| Aluslaatta (8 mm) | 4 |
| Laippakantapultti (6 × 16 mm) | 4 |
| Laippalukkomutteri (6 mm) | 4 |
Irrota korkki ja kytkentäkappale painemittarin portista (Kuva 24).

Asenna säädinventtiilikokoonpano kuvan mukaisesti (Kuva 24).
Asenna kytkentäkappale 90 asteen kulmaliittimen avoimeen porttiin (Kuva 24 ja Kuva 37).
Note: Tulpan voi hävittää.
Liitä letkukelan syöttöletku säädinventtiiliin letkunkiristimellä (Kuva 24).
Irrota paineanturin 3-istukkainen liitin (Kuva 25).

Irrota laippakiristin, jolla paineanturi on kiinnitetty 90 asteen liittimeen, ja irrota anturi, tiiviste ja laippakiristin (Kuva 26).

Irrota laippakiristin, jolla 90 asteen liitin on kiinnitetty paineentunnistuksen putken liittimellä varustettuun 90 asteen liittimeen, ja irrota 90 asteen liitin, tiiviste ja laippakiristin (Kuva 26).
Asenna venttiilin asennuskannatin säädinventtiiliin ruudun A mukaisesti (Kuva 27).

Kiinnitä venttiilin asennuskannatin säädinventtiiliin laippakantaruuvilla (#6) ja kiristä ruuvi käsin (ruutu B, Kuva 27).
Kiinnitä venttiilin asennuskannatin säädinventtiilin kannattimeen (Kuva 28) neljällä pultilla (6 × 12 mm) ja neljällä litteällä aluslaatalla. Kiristä pultit momenttiin 10–12 N∙m.

Kohdista T-liittimen laippa säädinventtiilin laippaan kuvan mukaisesti (Kuva 29).

Kiinnitä T-liitin löysästi säädinventtiiliin käyttäen tiivistettä ja laippakiristintä (Kuva 29).
Kohdista paineanturin laippa T-liittimen laippaan kuvan mukaisesti (Kuva 30).

Asenna paineanturi T-liittimeen käyttäen tiivistettä ja laippakiristintä ja kiristä kiristin käsin (Kuva 30).
Kohdista T-liittimen laippa paineentunnistuksen putken liittimellä varustetun 90 asteen liittimen laippaan (Kuva 31).

Kiinnitä T-liitin löysästi 90 asteen liittimeen käyttäen tiivistettä ja laippakiristintä (Kuva 31).
Note: Kierrä säädinventtiilin kannatinta tarpeen mukaan, jotta se asettuu venttiilin asennuskannattimen pinnan tasalle.
Käytä säädinventtiilin kannatinta mallina ja merkitse kannattimen reikien sijainnit jakoputken kannattimen pintaan (Kuva 32).

Irrota kiristin, tiiviste ja laipalla varustettu T-liitin paineentunnistuksen putken liittimellä varustetusta 90 asteen liittimestä (Kuva 31).
Merkitse pistepuikolla jakoputken kannattimeen vaiheessa 3 tehtyjen merkintöjen sijainnit.
Poraa neljä 6 mm:n (1/4 tuuman) reikää jakoputken kannattimeen vaiheessa 5 tehtyihin pistepuikkomerkintöihin.

Kohdista T-liittimen laippa paineentunnistuksen putken liittimellä varustetun 90 asteen liittimen laippaan (Kuva 34).

Kiinnitä T-liitin löysästi 90 asteen liittimeen käyttäen tiivistettä ja laippakiristintä (Kuva 34).
Kiinnitä säädinventtiilin kannatin jakoputken kannattimeen (Kuva 35) neljällä laippakantapultilla (6 × 16 mm) ja neljällä laippalukkomutterilla (6 mm). Kiristä pultit momenttiin 10–12 N·m.
Kiristä käsin laippakiristin, jolla säädinventtiili ja T-liitin (Kuva 29) on kiinnitetty, ja laippakiristin, jolla T-liitin on kiinnitetty paineentunnistuksen putken liittimellä varustettuun 90 asteen liittimeen (Kuva 31 ja Kuva 34).
Kytke paineanturin 3-istukkainen liitin (Kuva 35).

Asenna ruiskutussauvaletku säädinventtiilin letkuliittimeen ja kiinnitä letku liittimeen letkunkiristimellä (Kuva 36).

Kiinnitä letku (180 cm) ylempään kannattimeen R-liittimellä, pultilla (1/4-20 × 3/4 tuumaa) ja mutterilla (1/4-20 tuumaa) kuvan mukaisesti (Kuva 37).

Lisää T-liittimen kierteisiin PTFE-tiivistettä ja liitä T-liitin säädinventtiiliin (Kuva 37).
Lisää kytkentäkappaleen kierteisiin PTFE-tiivistettä ja liitä kytkentäkappale T-liittimeen (Kuva 37).
Liitä paineanturin putki 90 asteen kulmaliittimessä olevan T-liittimen kytkentäkappaleeseen ja painemittarin kytkentäkappaleeseen (Kuva 38).

Liitä letku (180 cm) letkukelakokoonpanossa olevaan letkuliittimeen ja kiinnitä letku liittimeen letkunkiristimellä kuvan mukaisesti (Kuva 39).

Kiinnitä kääntyvän letkukelan sarjan johdinsarja kelan syöttöletkuun kolmella nippusiteellä (Kuva 39).
Vaiheeseen tarvittavat osat:
| Ruiskupistoolin letku ja liitin | 1 |
| Ruiskupistooli | 1 |
| Pieni letkukiristin | 1 |
Lisää pitkän letkun letkuliittimen kierteiden ympärille PTFE-tiivistettä ja asenna liitin kelassa olevaan liitosputkeen (Kuva 40).

Liitä pitkän letkun vapaa pää ruiskupistoolin liittimeen (Kuva 41).

Kiinnitä letkun pää pienellä letkunkiristimellä.
Kytke akkukaapelit seuraavasti:
Akun kaapeleiden virheellinen asennus voi vahingoittaa laitetta ja kaapeleita aiheuttaen kipinöitä. Kipinät voivat saada akun kaasut räjähtämään ja aiheuttaa siten henkilövahingon.
Irrota aina akun miinuskaapeli (musta) ennen pluskaapelin (punainen) irrottamista.
Kytke aina akun pluskaapeli (punainen) ennen miinuskaapelia (musta).
Kytke akun pluskaapeli akun plusnapaan. Lisätietoja on käyttöoppaassa.
Kytke akun miinuskaapeli akun miinusnapaan. Lisätietoja on käyttöoppaassa.
Paina letkun kelauspainiketta ja ohjaa letku huolellisesti kelalle liikuttaen letkua puolelta toiselle, jotta se asettuu tasaisesti.
Kädet, löysät vaatteet, pitkät hiukset ja roikkuvat korut voivat tarttua kiinni letkuun tai kelaan kelauksen aikana ja aiheuttaa tapaturman.
Pidä kädet kaukana kelasta ja letkusta kelauksen aikana.
Älä käytä löysiä vaatteita tai roikkuvia koruja, ja kiinnitä pitkät hiukset.
Ruiskutusjärjestelmästä paineella suihkuava neste voi läpäistä ihon ja aiheuttaa vammoja.
Varmista, että kaikki letkut ja putket ovat hyvässä kunnossa ja että kaikki putkien liittimet ovat tiukalla, ennen kuin lisäät ruiskutusjärjestelmän painetta.
Pidä keho ja kädet kaukana vuotavista rei’istä ja suuttimista, joista suihkuaa korkeapaineista nestettä.
Käytä pahvia tai paperia nestevuotojen etsimiseen.
Poista paine varovasti ruiskutusjärjestelmästä, ennen kuin huollat järjestelmää.
Jos nestettä pääsee ihon alle, hakeudu välittömästi lääkäriin.
Täytä ruiskutussäiliö osittain puhtaalla vedellä.
Käynnistä moottori, siirrä moottorin nopeus kaasun puoleenväliin ja siirrä ruiskutuspumpun kytkin PääLLä-asentoon. Lisätietoja on käyttöoppaassa.
Varmista, että puomiosan jakoputken päässä oleva säädinventtiili on auki.
Tarkista jakoputki, säädinventtiili ja letku vuotojen varalta.
Nosta letkukelaan tulevaa ruikutusjärjestelmän painetta kytkinkotelossa olevalla ruiskutusmäärän kytkimellä.
Tarkista seuraavat osat vuotojen varalta:
liittimet ja kytkentäkappaleet
painemittari ja letkukelan venttiili
putket, letkut ja ruiskupistooli
Note: Korjaa mahdolliset vuotokohdat ennen ruiskutusjärjestelmän käyttöä.
Sulje letkukelan säädinventtiili, siirrä ruiskutuspumpun kytkin POIS-asentoon ja sammuta moottori.
Paineistettu neste voi läpäistä ihon ja aiheuttaa vammoja.
Pidä keho ja kädet kaukana suuttimista, joista ruiskuaa korkeapaineista nestettä.
Älä suuntaa ruiskutinta ihmisiä tai eläimiä kohti.
Varmista, että kaikki nesteletkut ja -putket ovat hyvässä kunnossa ja että kaikki liitokset ja liittimet ovat tiukalla, ennen kuin lisäät järjestelmän painetta.
Käytä pahvia tai paperia vuotojen etsimiseen.
Poista varovasti paine järjestelmästä, ennen kuin huollat sitä.
Jos nestettä joutuu ihon alle, hakeudu välittömästi lääkäriin.
Kuumat nesteet ja kemikaalit voivat aiheuttaa palovammoja tai muita vammoja.
Important: Ruiskutuslaite on aina tyhjennettävä ja puhdistettava välittömästi jokaisen käyttökerran jälkeen. Jos näin ei toimita, kemikaalit saattavat kuivua tai saostua putkiin ja tukkia pumpun tai muita osia.
Puhdista ruiskutusjärjestelmä jokaisen ruiskutuskerran jälkeen. Ruiskutusjärjestelmän puhdistus:
Huuhtele kolme kertaa.
Käytä jokaisessa huuhtelussa vähintään 189 litraa vettä.
Käytä kemikaalien valmistajien suosittelemia puhdistus- ja neutralointiaineita.
Käytä viimeisessä huuhtelussa puhdasta vettä ilman puhdistus- tai neutralointiaineita.
Ajaminen käsiruiskutinta käyttäen voi aiheuttaa hallinnan menetyksen, josta voi seurata loukkaantuminen tai kuolema. Älä käytä käsiruiskutinta ajon aikana.
Pysäytä kone, kytke puomit pois päältä ja kytke seisontajarru.
Varmista, että koneen takaosassa oleva ruiskutuspistoolin liipaisinlukko on lukittu.
Käännä säädinventtiilin vipu AUKI-asentoon.
Kytke pumppu päälle käyttäjän paikalta.
Kytke pääpuomi PääLLä-asentoon.
Aseta haluttu moottorin käyntinopeus ja kytke moottorin tyhjäkäynnin kierrosnopeuden lukitsin.
Important: Älä käytä suurempaa paineasetusta kuin 10,34 bar käsiruiskutinta käytettäessä.
Vedä kelalta haluttu määrä letkua.
Important: Älä vedä letkua ulos ruiskupistoolilla. Vedä aina suoraan letkusta. Pistoolin liitin voi rikkoutua tai letku voi vaurioitua, jos letkua vedetään pistoolilla.
Vapauta liipaisinlukko.
Suuntaa ruiskupistoolin suutin ruiskutettavalle alueelle ja vedä liipaisimesta.
Vapauta liipaisin ja kytke liipaisinlukko, kun olet lopettanut ruiskuttamisen.
Kädet, löysät vaatteet, pitkät hiukset ja roikkuvat korut voivat tarttua kiinni letkuun tai kelaan kelauksen aikana ja aiheuttaa tapaturman.
Pidä kädet kaukana kelasta ja letkusta kelauksen aikana.
Älä käytä löysiä vaatteita tai roikkuvia koruja, ja kiinnitä pitkät hiukset.
Paina letkukelan letkun kelauspainiketta, kunnes vapaata letkua on vain jonkin verran.
Käännä säädinventtiilin vipu KIINNI-asentoon.
Suuntaa ruiskupistoolin suutin turvalliselle alueelle, vapauta liipaisinlukko ja vedä liipaisimesta, kunnes letku tyhjenee kokonaan nesteestä. Kytke sitten liipaisinlukko.
Aseta ruiskutuspistooli kelan takana olevaan pidikkeeseen.
Palauta moottori joutokäyntinopeudelle.
Pysäytä pumppu.
Important: Varmista, että ruiskutuspistooli huuhdellaan puhtaalla vedellä päivittäisten puhdistusrutiinien yhteydessä (katso ohjeet ruiskuttimen käyttöohjeesta). Jos ruiskutuspistoolia ei puhdisteta huolella, ruiskutuspistoolin ja letkukelan teho ja luotettavuus voi kärsiä.
Aseta haluttu paine ruiskutusmäärän kytkimellä.