Lesen Sie diese Anleitung gründlich durch, um sich mit dem Betrieb und der Wartung Ihres Produktes vertraut zu machen. Die Informationen in dieser Anleitung können Ihnen und anderen dabei helfen, Verletzungen und Produktschäden zu vermeiden. Obwohl Toro sichere Produkte konstruiert und herstellt, sind Sie selbst für den korrekten und sicheren Betrieb des Produktes verantwortlich.
Wenden Sie sich für Unterlagen zur Produktsicherheit und der Bedienerschulung, für Zubehörinformationen, für den örtlichen Vertragshändler oder für die Registrierung des Produkts direkt an Toro unter www.Toro.com.
Wenden Sie sich an Ihren Toro-Vertragshändler oder Kundendienst, wenn Sie eine Serviceleistung, Originalersatzteile von Toro oder zusätzliche Informationen benötigen. Halten Sie hierfür die Modell- und Seriennummern Ihres Produkts griffbereit. Bild 1 zeigt, wo auf dem Produkt sich die Modell- und die Seriennummer befindet.
Note: Dieses Produkt entspricht allen relevanten europäischen Richtlinien. Weitere Informationen finden Sie in der Einbauerklärung am Ende dieses Dokuments.Bestimmen Sie die linke und rechte Seite der Maschine anhand der normalen Sitz- und Bedienposition.

KALIFORNIEN
Warnung zu Proposition 65
Bei Verwendung dieses Produkts sind Sie ggf. Chemikalien ausgesetzt, die laut den Behörden des Staates Kalifornien krebserregend wirken, Geburtsschäden oder andere Defekte des Reproduktionssystems verursachen.
Eine fehlerhafte Bedienung oder Wartung durch den Bediener oder Besitzer kann Verletzungen zur Folge haben. Befolgen Sie zur Verringerung des Verletzungsrisikos diese Sicherheitshinweise und beachten Sie das Warnsymbol mit der Bedeutung Achtung, Warnung oder Gefahr – Sicherheitsrisiko. Wenn die Anweisungen nicht beachtet werden, kann es zu Verletzungen ggf. tödlichen Verletzungen kommen.
Lesen Sie auch die Sicherheits- und Betriebsanleitungen in der Bedienungsanleitung des Fahrzeugs.
Richten Sie die Spritzpistole nicht auf Personen oder Tiere. Unter hohem Druck stehende Flüssigkeiten können unter die Haut dringen und schwere Verletzungen verursachen, die zu Amputationen oder Todesfällen führen können. Heiße Flüssigkeiten und Chemikalien können auch zu Verbrennungen oder Verletzungen führen. Wenn ein Körperteil mit dem Sprühstrahl in Berührung kommen sollte, gehen Sie sofort zu einem Arzt, der mit Verletzungen durch eingedrungene Flüssigkeiten vertraut ist.
Berühren Sie die Sprühdüse vorne nicht mit der Hand oder einem anderen Körperteil.
Lassen Sie den Druck vom Gerät ab, wenn Sie weggehen.
Setzen Sie die Spritzpistole nicht ein, wenn der Schlauch, die Abzugsperre, die Düse oder andere Teile fehlen oder beschädigt sind.
Setzen Sie die Spritzpistole nicht ein, wenn Schläuche, Anschlussstücke oder andere Teile undicht sind.
Sprühen Sie nicht in der Nähe von Stromleitungen.
Fahren Sie nicht, während Sie ein Handsprühgerät einsetzen.
Tragen Sie Gummihandschuhe, eine Schutzbrille und einen Ganzkörper-Schutzanzug, wenn Sie Chemikalien mit dem Handsprühgerät versprühen.
Blitzschlag kann zu schweren oder tödlichen Verletzungen führen. Setzen Sie die Maschine nicht ein, wenn Sie Blitze sehen oder Donner hören, und gehen Sie an eine geschützte Stelle.
Chemikalien sind gefährlich und können Verletzungen verursachen.
Lesen Sie die Anweisungen auf den Etiketten, bevor Sie mit Chemikalien umgehen und befolgen Sie alle Herstellerempfehlungen und Sicherheitsvorkehrungen.
Lassen Sie die Chemikalien nicht in Berührung mit Ihrer Haut kommen. Sollte Ihre Haut mit Chemikalien in Kontakt kommen, waschen Sie den Bereich gründlich mit Seife und sauberem Wasser.
Tragen Sie eine Schutzbrille und andere vom Chemikalienhersteller empfohlene Schutzausrüstung.
![]() |
Die Sicherheits- und Bedienungsaufkleber sind für den Bediener gut sichtbar und befinden sich in der Nähe der möglichen Gefahrenbereiche. Tauschen Sie beschädigte oder verloren gegangene Aufkleber aus. |

Vom Kunden bereitgestellt:
PTFE-Gewindedichtungsmittel (Band oder Paste)
Ein Schmiermittel, das nicht auf Petroleum basiert, z. B. Pflanzenöl
Batteriepole und Metallwerkzeuge können an metallischen Teilen Kurzschlüsse verursachen und Funken erzeugen. Funken können zum Explodieren der Batteriegase führen, was Verletzungen zur Folge haben kann.
Vermeiden Sie, wenn Sie eine Batterie ein- oder ausbauen, dass die Batteriepole mit metallischen Traktorteilen in Berührung kommen.
Vermeiden Sie Kurzschlüsse zwischen metallischen Werkzeugen, den Batteriepolen und metallischen Maschinenteilen.
Das unsachgemäße Verlegen der Batteriekabel kann zu Schäden an der Maschine und den Kabeln führen und Funken erzeugen. Funken können zum Explodieren der Batteriegase führen, was Verletzungen zur Folge haben kann.
Trennen Sie immer das Minuskabel (Schwarz) ab, bevor Sie das Pluskabel (Rot) abtrennen.
Schließen Sie immer das Pluskabel (Rot) an, bevor Sie das Minuskabel (Schwarz) anschließen.
Wenn der optionale Spülbehälter montiert ist, leeren Sie den Behälter in den Sprühbehälter, siehe Verwenden des Spülkits“ in der Installationsanweisung für das Behälterspülkit.
Stellen Sie sicher, dass der Sprühbehälter keine Flüssigkeiten enthält.
Note: Wenn Sie Chemikalien im Sprühbehälter verwendet haben, spülen Sie den Behälter und das Sprühsystem gründlich mit Frischwasser durch. Weitere Informationen finden Sie in der Bedienungsanleitung des Fahrzeugs.
Stellen Sie die Maschine auf einer ebenen Fläche ab, aktivieren die Feststellbremse, stellen die Sprühpumpe und den Motor ab und ziehen Sie den Zündschlüssel ab.
Schließen Sie das Minuskabel am Minuspol der Batterie ab, siehe Bedienungsanleitung.
Schließen Sie das Pluskabel am Pluspol der Batterie ab, siehe Bedienungsanleitung.
Nehmen Sie die Haltegabel oben am Sprühbehälter ab, mit der das gezahnte 90°-Anschlussstück des Ansaugschlauchs am Gehäuse des Saugsiebs befestigt ist, und nehmen Sie das gezahnte Anschlussstück vom Gehäuse ab (Bild 2).

Entfernen Sie das 90°-Anschlussstück vom Gehäuse des Saugsiebs (Bild 2).
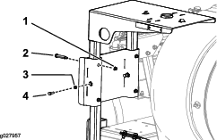
Nehmen Sie die Haltegabel unten am Spülbehälter ab, mit der das 90°-Anschlussstück des Zulaufschlauchs am Schottanschlussstück befestigt ist (Bild 3).

Nehmen Sie das 90°-Anschlussstück vom Schottanschlussstück ab (Bild 3).
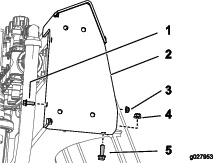
Entfernen Sie die zwei Schrauben, vier Scheiben und zwei Sicherungsbundmuttern, mit denen die zwei Befestigungshalterungen für den Spülbehälter an der Ventilbefestigung befestigt sind, und nehmen Sie die Befestigungshalterungen ab (Bild 4).

Nehmen Sie den Spülbehälter von der Maschine ab (Bild 5).


Lockern die vier Sicherungsbundmuttern und die vier Schrauben, mit denen die Behälterriemenhälften befestigt sind (Bild 7).

Versetzen Sie den Sprühbehälter nach vorne, bis die Riemen bündig mit der hintersten Schulter der in den Behälter eingegossenen Riemenverjüngung ausgefluchtet sind (Bild 8).

Ziehen Sie die vier Sicherungsbundmuttern und die vier Schrauben oben an den Riemen an, bis die Riemen bündig mit der Behälteroberfläche sind (Bild 7).
Für diesen Arbeitsschritt erforderliche Teile:
| Mutter (¼"-20) | 1 |
| Bundmutter (5/16-18") | 5 |
| Bundmutter (⅜"-16) | 12 |
| Schraube (⅜"-16 x 1") | 5 |
| Schraube (¼"-20 x ¾") | 1 |
| Schraube (⅜"-16) | 2 |
| Schraube (⅜"-16 x 3½") | 2 |
| Obere Halterung | 1 |
| Untere Halterungsstütze | 1 |
| Untere Halterung | 1 |
| Schraube (5/16"-18 x 1") | 1 |
| U-Bügel | 1 |
| Schraube (⅜"-16 x 2¼") | 2 |
| Trommelfach-Stützhalterung | 1 |
| Ansatzschraube | 4 |
| Trommelfachrahmen | 1 |
| Klemmmutter (5/16-18") | 2 |
| Schraube (5/16"-18 x 1") | 2 |
| Druckmanometerreduzierstück | 1 |
| Kupplung | 1 |
| Druckmanometer | 1 |
Befestigen Sie die obere Halterung mit einer Schraube (¼"-20 x ¾"), einer Mutter (¼"-20), einer Schraube (5/16"-18 x 1") und einer Bundmutter (5/16"-18), wie in Bild 9 abgebildet.

Befestigen Sie die Rückseite der oberen Halterung mit einem U-Bügel, einer Schraube (⅜"-16 x 1") und drei Bundmuttern (⅜"-16), wie in Bild 10 abgebildet.

Note: Wenn der Spülbehälter vor der Montage der oberen Halterung entfernt wurde, befestigen Sie den Spülbehälter, bevor Sie mit dem nächsten Schritt weitermachen.
Befestigen Sie die untere Halterung und die untere Stützhalterung mit zwei Schrauben (⅜"-16), zwei Schrauben (⅜"-16 x 3½") und vier Bundmuttern (⅜"-16) am Rahmen, wie in Bild 11 abgebildet.

Wenn die Maschine mit dem optionalen Spülbehälter ausgerüstet ist, fluchten Sie den Behälter mit der Maschine aus, wie in Bild 12 abgebildet.
Note: Sie schließen die Installation des Spülbehälters in Einbauen des Spülbehälters ab.

Befestigen Sie die Stützhalterung für das Trommelfach mit vier Schrauben (⅜"-16 x 1"), zwei Schrauben (⅜"-16 x 2¼") und sechs Bundmuttern (⅜"-16) an der oberen und unteren Halterung, wie in Bild 13 abgebildet.

Setzen Sie den Trommelfachrahmen in die Schlitze in der Stützhalterung für das Trommelfach ein und befestigen Sie das Fach mit vier Ansatzschrauben, vier Bundmuttern (5/16"-18), zwei Schrauben (5/16"-18 x 1") und zwei Klemmmuttern (5/16"-18), wie in Bild 14 abgebildet.

Wickeln Sie PTFE-Band um das Gewinde am Druckmanometer und montieren Sie das Druckmanometer, wie in Bild 15 abgebildet.

Ziehen Sie die Schrauben an der Stützhalterung für das Druckmanometer gegen den Trommelfachrahmen an.
Fluchten Sie die Befestigungshalterung mit den Verjüngungen aus, die in die Oberseite des Spülbehälters eingegossen sind (Bild 16)

Fluchten Sie den Schlitz in der Befestigungshalterung mit dem Loch in der Ventilbefestigung aus (Bild 16).
Montieren Sie die Befestigung mit einer Schraube (⅜" x 1½"), zwei Scheiben (⅜") und einer Sicherungsbundmutter (⅜"), die Sie in Entfernen des Spülbehälters entfernt haben, lose an der Ventilbefestigung (Bild 16).
Wiederholen Sie die Schritte 1 bis 3 für die andere Befestigung an der anderen Vertiefung im Spülbehälter (Bild 16).
Ziehen Sie die Schrauben und Bundmuttern vorsichtig mit der Hand an.
Important: Der Spülbehälter muss richtig positioniert sein und fest sitzen; die Befestigung sollte den Behälter jedoch nicht eindrücken oder verformen
Note: Nachdem der Spülbehälter zum ersten Mal gefüllt wurde, überprüfen Sie die Befestigungen und den Spülbehälter auf Spiel (das Gewicht des Wassers kann den Behälter noch mehr gegen den Rahmen drücken). Ziehen Sie ggf. die Schrauben und Sicherungsbundmuttern an, bis die Befestigungen mit dem Spülbehälter bündig sind; verformen Sie den Behälter nicht.
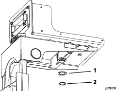
Fluchten Sie das gezahnte 90°-Anschlussstück des Zulaufschlauchs mit dem Gehäuse des Saugsiebs aus (Bild 18).

Befestigen Sie das gezahnte 90°-Anschlussstück mit der Haltegabel, die Sie in Schritt 1 in Entfernen des Spülbehälters entfernt haben, am Gehäuse (Bild 18).
Für diesen Arbeitsschritt erforderliche Teile:
| Kabelbaum | 1 |
| Schaltkasten | 1 |
| Druckscheibe | 1 |
| Sprengring | 1 |
| Schlauchtrommel | 1 |
| Federstift | 1 |
| Scheibe (7/16") | 4 |
| Bundmutter (5/16-18") | 2 |
| Schraube (5/16"-18 x ¼") | 2 |
| Scheibe | 1 |
| Bundmutter (⅜"-16) | 4 |
| Schraube (⅜"-16 x 1") | 4 |
Note: Die Sicherung für den Schlauchtrommelmotor befindet sich im Schaltkasten (Bild 19).

Setzen Sie die Schwenkplatte in das Loch am Schlauchtrommelunterteil ein.
Befestigen Sie die Druckscheibe und den Sprengring an der Unterseite des Schlauchtrommelrahmens an der Strebe an der Schwenkplatte (Bild 20).

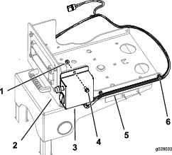
Befestigen Sie den Schaltkasten mit zwei Schrauben (5/16"-18 x ¼") und zwei Bundmuttern (5/16"-18) an der Schwenkplatte, wie in Bild 21 abgebildet.

Befestigen Sie den Kabelbaum mit den vorhandenen Clips an den Seiten der Schwenkplatte (Bild 21).
Befestigen Sie die Schlauchtrommel mit vier Schrauben (⅜"–16 x 1"), vier Scheiben (7/16") und vier Bundmuttern (⅜"–16) an der Schwenkplatte, wie in Bild 22 abgebildet.
Note: Der Motor der Schlauchtrommel sollte von der Schalterplatte weg zeigen.

Bringen Sie die Scheibe und den Federstift an der Unterseite des Schlauchtrommelrahmens an (Bild 23).

Schließen Sie die restlichen Kabelanschlüsse am Kabelbaum am Motor, am Hauptkabelbaumstrom und an den Anschlüssen für die Schlauchtrommel an.
Für diesen Arbeitsschritt erforderliche Teile:
| Regelventil | 1 |
| T-Anschlussstück | 1 |
| Schlauchklemme | 1 |
| Kabelbinder | 3 |
| R-Klemme | 1 |
| Schlauch (180 cm) | 1 |
| Klemme | 1 |
| 90°-Krümmer | 1 |
| Schlauchkupplung | 1 |
| Mutter (¼"-20) | 1 |
| Bundmutter (3/8"-16) | 1 |
| Druckwandlerschlauch | 1 |
| Schraube (¼"-20 x ¾") | 1 |
| Ventilbefestigung | 1 |
| Regelventilhalterung | 1 |
| Schraube (6 mm x 12 mm) | 4 |
| Scheibe (8 mm) | 4 |
| Bundbolzen (6 mm x 16 mm) | 4 |
| Sicherungsbundmutter (6 mm) | 4 |
Nehmen Sie den Deckel und die Kupplung vom Druckmanometeranschluss ab (Bild 24).

Montieren Sie das Regelventil, wie in Bild 24 abgebildet.
Befestigen Sie die Kupplung in der offenen Anschlussstelle am 90°-Krümmer (Bild 24 und Bild 37).
Note: Der Deckel kann weggeworfen werden.
Schließen Sie den Zulaufschlauch der Schlauchtrommel mit einer Schlauchklemme am Regelventil an (Bild 24).
Ziehen Sie den 3-Buchsen-Stecker für den Druckwandler ab (Bild 25).

Entfernen Sie die Flanschklemme, mit der der Druckwandler am 90°-Anschlussstück befestigt ist, und nehmen Sie den Umwandler, die Dichtung und Flanschklemme ab (Bild 26).

Entfernen Sie die Flanschklemme, mit der das 90°-Anschlussstück am 90°-Anschlussstück mit einem Anschluss für den Messschlauch befestigt ist, und nehmen Sie das 90°-Anschlussstück, die Dichtung und Flanschklemme ab (Bild 26).
Befestigen Sie die Ventilhalterung am Regelventil, wie in A in Bild 27 abgebildet.

Befestigen Sie die Ventilbefestigung mit dem Bundbolzen (Nr. 6) am Regelventil und ziehen es mit der Hand an (B in Bild 27).
Befestigen Sie die Ventilbefestigung mit den vier Schrauben (6 mm x 12 mm) und vier Flachscheiben an der Regelventilhalterung (Bild 28); ziehen Sie die Schrauben mit 10–12 N·m an.

Fluchten Sie den Flansch des T-Anschlussstücks mit dem Flansch des Regelventils aus, wie in Bild 29 abgebildet.

Befestigen Sie das T-Anschlussstück mit einer Dichtung und Flanschklemme lose am Regelventil (Bild 29).
Fluchten Sie den Flansch des Druckwandlers mit dem Flansch des T-Anschlussstücks aus, wie in Bild 30 abgebildet.

Befestigen Sie den Druckwandler mit einer Dichtung und Flanschklemme am T-Anschlussstück und ziehen Sie die Klemme mit der Hand an (Bild 30).
Fluchten Sie den Flansch des T-Anschlussstücks mit dem Flansch des 90°-Anschlussstücks mit einem Anschluss für den Messschlauch aus (Bild 31).

Befestigen Sie das T-Anschlussstück und das 90°-Anschlussstück lose mit einer Dichtung und einer Flanschklemme (Bild 31)
Note: Drehen Sie die Halterung des Regelventils ggf. um es bündig mit der Oberfläche der Ventilbefestigung auszufluchten.
Verwenden Sie die Halterung des Regelventils als Schablone und markieren und bohren Sie die Löcher in die Halterung auf der Oberfläche der Verteilerbefestigung (Bild 32).

Entfernen Sie die Klemme, Dichtung, das T-Anschlussstück mit dem Flansch vom 90°-Anschlussstück mit einem Anschluss für den Messschlauch (Bild 31).
Stanzen Sie die Mitte der in Schritt 3 gemachten Markierung an der Verteilerbefestigung aus.
Bohren Sie vier 6 mm (¼") große Löcher an den in Schritt 5 ausgestanzten Markierungen in die Verteilerbefestigung.

Fluchten Sie den Flansch des T-Anschlussstücks mit dem Flansch des 90°-Anschlussstücks mit einem Anschluss für den Messschlauch aus (Bild 34).

Befestigen Sie das T-Anschlussstück und das 90°-Anschlussstück lose mit einer Dichtung und einer Flanschklemme (Bild 34)
Befestigen Sie die Halterung des Regelventils mit vier Bundbolzen (6 mm x 16 mm) und vier Sicherungsbundmuttern (6 mm) an der Verteilerbefestigung (Bild 35); ziehen Sie die Schrauben mit 10–12 N·m an.
Ziehen Sie die Flanschklemme, mit der das Regelventil und das T-Anschlussstück (Bild 29) befestigt ist, und die Flanschklemme, mit der das T-Anschlussstück am 90°-Anschlussstück mit einem Anschluss für den Messschlauch befestigt ist, lose mit der Hand an (Bild 31 und Bild 34).
Schließen Sie den 3-Buchsen-Stecker für den Druckwandler an (Bild 35).

Befestigen Sie den Schlauch des Sprühstabs am gezahnten Schlauchanschlussstück des Regelventils und befestigen Sie den Schlauch mit einer Schlauchklemme am Anschlussstück (Bild 36).

Befestigen Sie den Schlauch (180 cm) mit einer R-Klemme, einer Schraube (¼"–20 x ¾") und einer Mutter (¼"–20) an der oberen Halterung, wie in Bild 37 abgebildet.

Tragen Sie PTFE-Dichtungsmittel auf das Gewinde am T-Anschlussstück auf und schließen Sie es am Regelventil an (Bild 37).
Tragen Sie PTFE-Dichtungsmittel auf das Gewinde an der Kupplung auf und befestigen Sie sie am T-Anschlussstück (Bild 37).
Schließen Sie den Druckwandlerschlauch an der Kupplung am T-Anschlussstück Druckwandlerschlauch an der Kupplung am T-Anschlussstück im 90°-Krümmer und die Kupplung am Druckmanometer an (Bild 38).

Schließen Sie den Schlauch (180 cm) an das gezahnte Schlauchanschlussstück an der Schlauchtrommel an und befestigen Sie den Schlauch mit einer Schlauchklemme, wie in Bild 39 abgebildet.

Befestigen Sie den Kabelbaum für die schwenkbare Schlauchtrommel mit drei Kabelbinden am Zulaufschlauch der Schlauchtrommel (Bild 39).
Für diesen Arbeitsschritt erforderliche Teile:
| Spritzpistolenschlauch mit Anschlussstück | 1 |
| Spritzpistole | 1 |
| Kleine Schlauchklemme | 1 |
Tragen Sie PTFE-Dichtungsmittel auf das Gewinde am Schlauchanschlussstück am langen Schlauch auf und befestigen Sie das Anschlussstück am Verbindungsrohr an der Trommel (Bild 40).

Schließen Sie das freie Ende des langen Schlauches am Anschlussstück an der Spritzpistole an (Bild 41).

Befestigen Sie das Schlauchende mit einer kleinen Schlauchklemme.
Schließen Sie die Batteriekabel wie folgt an:
Das unsachgemäße Verlegen der Batteriekabel kann zu Schäden an der Maschine und den Kabeln führen und Funken erzeugen. Funken können zum Explodieren der Batteriegase führen, was Verletzungen zur Folge haben kann.
Trennen Sie immer das Minuskabel (Schwarz) ab, bevor Sie das Pluskabel (Rot) abtrennen.
Schließen Sie immer das Pluskabel (Rot) an, bevor Sie das Minuskabel (Schwarz) anschließen.
Schließen Sie das Pluskabel am Pluspol der Batterie an, siehe Bedienungsanleitung.
Schließen Sie das Minuskabel am Minuspol der Batterie an, siehe Bedienungsanleitung.
Drücken Sie die Taste zum Aufrollen des Schlauches und wickeln Sie den Schlauch vorsichtig auf die Trommel. Bewegen Sie den Schlauch von einer zur anderen Seite, um ihn gleichmäßig zu verteilen.
Hände, lose Kleidungsstücke, lange Haare und Schmuck können sich im Schlauch und in der Trommel beim Aufrollen verfangen und zu Verletzungen führen.
Berühren Sie beim Aufrollen nicht die Trommel und den Schlauch mit den Händen.
Tragen Sie keine losen Kleidungsstücke oder Schmuck und stecken Sie lange Haare hoch.
Unter Druck austretende Flüssigkeit vom Sprühsystem kann unter die Haut dringen und Verletzungen verursachen.
Stellen Sie sicher, dass alle Schläuche und Leitungen in gutem Zustand und Verbindungen und Anschlussstücke fest angezogen sind, bevor Sie das Sprühsystem unter Druck stellen.
Halten Sie Ihren Körper und Ihre Hände von Nadellöchern und Düsen fern, aus denen Flüssigkeit unter hohem Druck ausgestoßen wird.
Gehen Sie Hydrauliklecks nur mit Pappe oder Papier nach.
Lassen Sie den Druck im Sprühsystem auf eine sichere Art und Weise ab, bevor Sie irgendwelche Arbeiten am Sprühsystem durchführen.
Suchen Sie beim Einspritzen unter die Haut sofort einen Arzt auf.
Füllen Sie den Sprühbehälter teilweise mit sauberem Wasser.
Lassen Sie den Motor an, stellen Sie die Motordrehzahl in die mittlere Stellung und den Schalter für die Sprühpumpe in die EIN-Stellung, siehe Bedienungsanleitung.
Stellen Sie sicher, dass das Regelventil am Ende des Abschnittverteilers geöffnet ist.
Prüfen Sie auf undichte Stellen am Verteiler, Regelventil und am Schlauch.
Erhöhen Sie den Druck des Sprühsystems an der Schlauchtrommel mit dem Dosierungsschalter im Schaltkasten.
Prüfen Sie die folgenden Bestandteile auf undichte Stellen:
Anschlussstücke und Kupplungen
Druckmanometer und Schlauchtrommelventil
Rohre, Schläuche und Spritzpistole
Note: Reparieren Sie alle undichten Stellen, bevor Sie das Sprühsystem verwenden.
Schließen Sie das Regelventil für die Schlauchtrommel, stellen Sie den Schalter für die Sprühpumpe in die AUS-Stellung und stellen Sie den Motor ab.
Unter Druck austretende Flüssigkeit kann unter die Haut dringen und Verletzungen verursachen.
Berühren Sie die Düsen, aus denen Flüssigkeit unter hohem Druck ausgestoßen wird, nicht mit dem Körper und Händen.
Richten Sie das Sprühfahrzeug nicht auf Personen oder Tiere.
Stellen Sie sicher, dass alle Flüssigkeitsschläuche und -leitungen in gutem Zustand und alle Verbindungen und Anschlussstücke fest angezogen sind, bevor Sie das System unter Druck setzen.
Gehen Sie Lecks nur mit Pappe oder Papier nach.
Lassen Sie den Druck von der Anlage ab, bevor Sie Arbeiten vornehmen.
Konsultieren Sie beim Einspritzen unter die Haut sofort einen Arzt.
Heiße Flüssigkeiten und Chemikalien können zu Verbrennungen oder Verletzungen führen.
Important: Sie müssen das Sprühfahrzeug immer sofort nach jedem Einsatz entleeren und reinigen. Ansonsten können die Chemikalien in den Leitungen austrocknen oder sich verdicken und die Pumpe und andere Komponenten verstopfen.
Reinigen Sie das Sprühsystem nach jedem Sprühen. So reinigen Sie das Sprühsystem richtig:
Verwenden Sie 3 Spülgänge.
Verwenden Sie mindestens 189 l für jeden Spülgang.
Verwenden Sie die von den Chemikalienherstellern empfohlenen Reiniger und Neutralisierungsmittel.
Verwenden Sie für den letzten Spülgang sauberes Wasser (ohne Reinigungs- oder Neutralisierungsmittel).
Wenn Sie fahren und die Spritzpistole einsetzen, können Sie die Kontrolle verlieren. Dies kann zu schweren oder tödlichen Verletzungen führen. Setzen Sie die Spritzpistole nicht beim Fahren ein.
Halten Sie die Maschine an, schalten Sie die Ausleger ab und aktivieren Sie die Feststellbremse.
Stellen Sie am Heck der Maschine sicher, dass die Abzugsperre an der Spritzpistole arretiert ist.
Stellen Sie den Hebel am Regelventil in die GEöFFNETE Stellung.
Schalten Sie an der Bedienerposition die Pumpe ein.
Schalten Sie den Hauptausleger in die EIN-Stellung.
Stellen Sie die gewünschte Motordrehzahl ein und aktivieren Sie die Motorsperre für die Leerlaufgeschwindigkeit.
Important: Die Druckeinstellung sollte bei Verwendung der Spritzpistole nicht über 10,34 bar liegen.
Ziehen Sie die gewünschte Schlauchlänge von der Trommel.
Important: Ziehen Sie den Schlauch nicht mit der Spritzpistole heraus. Halten Sie den Schlauch immer fest und ziehen Sie direkt am Schlauch. Wenn Sie den Schlauch mit der Spritzpistole herausziehen, können Sie das Anschlussstück an der Spritzpistole brechen oder den Schlauch beschädigen.
Lösen Sie die Abzugsperre.
Richten Sie die Spritzpistolendüse auf den Bereich, den Sie sprühen möchten, und betätigen Sie den Abzug.
Lassen Sie den Abzug los und aktivieren Sie die Abzugsperre, wenn Sie das Spritzen beendet haben.
Hände, lose Kleidungsstücke, lange Haare und Schmuck können sich im Schlauch und in der Trommel beim Aufrollen verfangen und zu Verletzungen führen.
Berühren Sie beim Aufrollen nicht die Trommel und den Schlauch mit den Händen.
Tragen Sie keine losen Kleidungsstücke oder Schmuck und stecken Sie lange Haare hoch.
Drücken Sie die Aufrolltaste am Schlauchwagen, bis nur noch einige cm nicht aufgerollt sind.
Stellen Sie den Hebel am Regelventil in die GESCHLOSSENE Stellung.
Richten Sie die Spritzpistolendüse auf einen Bereich, in dem Sie sicher spritzen können. Lösen Sie die Abzugsperre und ziehen Sie am Abzug, bis die ganze Flüssigkeit aus dem Schlauch ausgetreten ist. Aktivieren Sie dann die Abzugsperre.
Drehen Sie die Spritzpistole zur Halterung hinten an der Trommel.
Bringen Sie den Motor wieder auf die Leerlaufgeschwindigkeit.
Stellen Sie die Pumpe ab.
Important: Stellen Sie sicher, dass Sie die Spritzpistole mit Frischwasser bei den täglichen Reinigungsarbeiten durchspülen (siehe Bedienungsanleitung des Sprühfahrzeugs). Wenn Sie die Spritzpistole nicht richtig reinigen, kann die Leistung und die Zuverlässigkeit der Schlauchtrommel und der Spritzpistole abnehmen.
Stellen Sie mit dem Dosierungsschalter den gewünschten Druck ein.