Lisez attentivement ce manuel pour apprendre comment utiliser et entretenir correctement votre produit. Les renseignements fournis dans ce manuel sont importants pour éviter les accidents et les dommages matériels. Toro conçoit et fabrique des produits sûrs, mais vous êtes responsable de leur utilisation sûre et correcte.
Vous pouvez contacter Toro directement sur le site www.Toro.com pour tout document de formation à la sécurité et à l'utilisation des produits, pour tout renseignement concernant un produit ou un accessoire, pour obtenir l'adresse des concessionnaires ou pour enregistrer votre produit.
Pour obtenir des prestations de service, des pièces d'origine Toro ou des renseignements complémentaires, munissez-vous des numéros de modèle et de série du produit et contactez un concessionnaire-réparateur agréé ou le service client Toro. La Figure 1 indique l'emplacement des numéros de modèle et de série du produit.
Note: Ce produit est conforme à toutes les directives européennes pertinentes. Pour plus de renseignements, reportez-vous à la Déclaration d'incorporation (DOI) à la fin de ce document.Les côtés gauche et droit de la machine sont déterminés d'après la position d'utilisation normale.

CALIFORNIE
Proposition 65 - Avertissement
L'utilisation de ce produit peut entraîner une exposition à des substances chimiques considérées pas l'état de Californie comme capables de provoquer des cancers, des anomalies congénitales ou d'autres troubles de la reproduction.
Cette machine peut occasionner des accidents si elle n'est pas utilisée ou entretenue correctement. Pour réduire les risques d'accidents et de blessures, respectez les consignes de sécurité qui suivent. Tenez toujours compte des mises en garde signalées par le symbole de sécurité et la mention Prudence, Attention ou Danger. Le non respect des instructions peut entraîner des blessures graves ou mortelles.
Lisez également les consignes de sécurité et les instructions d'utilisation dans le Manuel de l'utilisateur du véhicule.
Ne dirigez jamais le pistolet pulvérisateur vers des personnes ou des animaux. Les liquides sous haute pression peuvent traverser la peau et causer des blessures graves susceptibles d'aboutir à une amputation ou la mort. Les liquides chauds et les produits chimiques peuvent causer des brûlures et des blessures. Si du liquide est pulvérisé sur une quelconque partie du corps, consultez immédiatement un médecin connaissant bien les blessures dues à l'injection de liquides.
Ne placez jamais vos mains ni aucune autre partie du corps devant la buse de pulvérisation.
N'abandonnez jamais le matériel quand il est sous pression.
N'utilisez pas le pulvérisateur si le flexible, le verrou de la gâchette, la buse ou tout autre élément est absent ou endommagé.
N'utilisez pas le pulvérisateur si les flexibles, les raccords ou tout autre élément présentent des fuites.
Ne pulvérisez pas à proximité de lignes sous tension.
Ne conduisez pas en même temps que vous utilisez un pulvérisateur manuel.
Portez des gants en caoutchouc, des lunettes de sécurité et une combinaison de protection quand vous pulvérisez des produits chimiques avec le pulvérisateur manuel.
La foudre peut causer des blessures graves ou mortelles. Si vous voyez des éclairs ou que vous entendez le tonnerre à proximité, n'utilisez pas la machine et mettez-vous à l'abri.
Les produits chimiques sont dangereux et peuvent causer des blessures.
Avant de manipuler les produits chimiques, lisez le mode d'emploi et suivez toutes les recommandations et les précautions du fabricant.
Ne mettez pas les produits chimiques en contact avec la peau. En cas de contact, lavez soigneusement la zone affectée à l'eau propre et au savon.
Portez des lunettes enveloppantes et tout autre autre équipement de protection recommandé par le fabricant du produit chimique.
![]() |
Des autocollants de sécurité et des instructions bien visibles par l'opérateur sont placés près de tous les endroits potentiellement dangereux. Remplacez tout autocollant endommagé ou manquant. |

Fourni par le client :
Produit d'étanchéité PTFE pour filetage (ruban ou pâte)
Lubrifiant non dérivé du pétrole, huile végétale par ex.
Les bornes de la batterie ou les outils en métal peuvent causer des courts-circuits au contact des pièces métalliques de la machine et produire des étincelles. Les étincelles peuvent provoquer l'explosion des gaz de la batterie et vous blesser.
Lors de la mise en place ou du retrait de la batterie, évitez que les bornes touchent les parties métalliques du tracteur.
Évitez de créer des courts-circuits entre les bornes de la batterie et les parties métalliques de la machine avec des outils en métal.
S'ils sont mal acheminés, les câbles de la batterie peuvent subir des dommages ou endommager la machine et produire des étincelles. Les étincelles peuvent provoquer l'explosion des gaz de la batterie et vous blesser.
Débranchez toujours le câble négatif (noir) de la batterie avant le câble positif (rouge).
Connectez toujours le câble positif (rouge) de la batterie avant le câble négatif (noir).
Si le réservoir de rinçage en option est installé, videz son contenu dans la cuve du pulvérisateur ; voir la section Utilisation du kit de rinçage dans les Instructions d'installation du kit de rinçage de cuve.
Vérifiez que la cuve de pulvérisation de la machine est vide de tout liquide.
Note: Si la cuve de pulvérisation a contenu des produits chimiques, rincez soigneusement la cuve et le système de pulvérisation à l'eau propre ; voir les instructions du Manuel de l'utilisateur du véhicule.
Garez la machine sur une surface plane et horizontale, serrez le frein de stationnement, coupez la pompe de pulvérisation, coupez le moteur et enlevez la clé de contact.
Débranchez le câble négatif de la batterie de la borne négative de la batterie ; voir le Manuel de l'utilisateur.
Débranchez le câble positif de la batterie de la borne positive de la batterie ; voir le Manuel de l'utilisateur.
Au sommet de la cuve de pulvérisation, retirez l'étrier qui fixe le raccord à 90° cannelé du flexible d'aspiration au boîtier de la crépine d'aspiration, et détachez le raccord cannelé du boîtier (Figure 2).

Déposez le raccord à 90° du boîtier de la crépine d'aspiration (Figure 2).
Au fond du réservoir de rinçage, retirez l'étrier qui fixe le raccord à 90° du flexible d'alimentation au raccord de traversée (Figure 3).

Détachez le raccord à 90° du raccord de traversée (Figure 3).
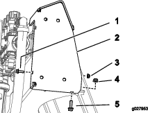
Retirez les 2 boulons, les 4 rondelles et les 2 contre-écrous à embase qui fixent les 2 pattes de maintien du réservoir de rinçage sur le support de vanne, et déposez les pattes de maintien (Figure 4).

Déposez le réservoir de rinçage de la machine (Figure 5).


Desserrez les 4 contre-écrous à embase et les 4 boulons qui fixent les demi-sangles du réservoir (Figure 7).

Avancez la cuve du pulvérisateur jusqu'à ce que les sangles affleurent l'épaulement à l'extrême arrière du relief de la sangle moulé dans la cuve (Figure 8).

Serrez les 4 contre-écrous à embase et les 4 boulons au sommet des sangles jusqu'à ce que les sangles affleurent la surface de la cuve (Figure 7).
Pièces nécessaires pour cette opération:
| Écrou (¼"-20) | 1 |
| Écrou à embase (5/16"-18) | 5 |
| Écrou à embase (⅜"-16) | 12 |
| Boulon (⅜"-16 x 1") | 5 |
| Boulon (¼"-20 x ¾") | 1 |
| Boulon (⅜"-16) | 2 |
| Boulon (⅜"-16 x 3½") | 2 |
| Support supérieur | 1 |
| Support inférieur | 1 |
| Support inférieur | 1 |
| Boulon Whiz (5/16"-18 x 1") | 1 |
| Étrier fileté | 1 |
| Boulon (⅜"-16 x 2¼") | 2 |
| Patte de support d'appui de dévidoir | 1 |
| Boulon à épaulement | 4 |
| Cadre d'appui de dévidoir | 1 |
| Écrou de blocage (5/16"-18) | 2 |
| Boulon (5/16"-18 x 1") | 2 |
| Raccord réducteur de manomètre | 1 |
| Coupleur | 1 |
| Manomètre | 1 |
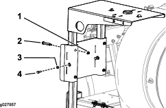
Montez le support supérieur avec 1 boulon (¼"-20 x ¾"), 1 écrou (1/4"-20), 1 boulon Whiz (5/16"-18 x 1") et 1 écrou à embase (5/16"-18), comme montré à la Figure 9.

Fixez l'arrière du support supérieur au moyen de 1 étrier fileté, 1 boulon (⅜"-16 x 1") et 3 écrous à embase (⅜"-16), comme montré à la Figure 10.

Note: Si le réservoir de rinçage a été déposé avant de monter le support supérieur, reposez-le avant de passer à l'opération suivante.
Montez le support inférieur et la patte de support inférieure sur le cadre au moyen de 2 boulons (⅜"-16), 2 boulons (⅜"-16 x 3½") et 4 écrous à embase (⅜"-16), comme montré à la Figure 11.

Si votre machine est équipée du kit réservoir de rinçage en option, placez le réservoir sur la machine, comme montré à la Figure 12.
Note: Vous terminerez l'installation du réservoir de rinçage à la section Montage du réservoir de rinçage.

Fixez la patte de support d'appui de dévidoir aux supports supérieur et inférieur au moyen de 4 boulons (⅜"-16 x 1"), 2 boulons (⅜"-16 x 2¼") et 6 écrous à embase (⅜"-16), comme montré à la Figure 13.

Insérez le cadre d'appui du dévidoir dans les fentes sur la patte de support et fixez l'appui au moyen de 4 boulons à épaulement, 4 écrous à embase (5/16"-18), 2 boulons (5/16"-18 x 1") et 2 écrous de blocage (5/16"-18), comme montré à la Figure 14.

Appliquez du ruban PTFE sur le filetage du manomètre et montez ce dernier, comme montré à la Figure 15.

Serrez les boulons sur le support du manomètre contre le cadre d'appui du dévidoir.
Placez le dispositif de maintien en face du creux au sommet du réservoir de rinçage (Figure 16)

Alignez la fente de la patte de maintien et le trou du support de vanne (Figure 16).
Figure 16Fixez légèrement le patte de maintien au support à l'aide d'un boulon (⅜ x 1½"), de 2 rondelles (⅜") et d'un contre-écrou à embase (⅜").Dépose du réservoir de rinçage
Répétez les opérations 1 à 3 pour l'autre patte de maintien sur l'autre creux du réservoir de rinçage (Figure 16).
Serrez soigneusement les boulons et les écrous à embase à la main.
Important: Le réservoir de rinçage doit être correctement engagé et fixé, sans être déformé par la patte de maintien.
Note: Après le premier remplissage du réservoir de rinçage, contrôlez le serrage des pattes de maintien (le poids de l'eau dans le réservoir peut repousser davantage celui-ci contre le cadre). Au besoin, serrez le(s) boulon(s) et contre-écrou(s) à embase jusqu'à ce que les pattes de maintien soient bien serrées contre le réservoir de rinçage, mais sans le déformer.
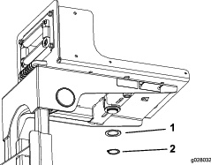
Placez le raccord à 90° cannelé du flexible d'alimentation en face du boîtier de la crépine d'aspiration (Figure 18).

Fixez le raccord à 90° au boîtier (Figure 18) à l'aide de l'étrier que vous avez retiré à l'opération 1 de Dépose du réservoir de rinçage.
Pièces nécessaires pour cette opération:
| Faisceau de câblage | 1 |
| Boîtier d'interrupteur | 1 |
| Rondelle de butée | 1 |
| Circlip | 1 |
| Dévidoir | 1 |
| Goupille élastique | 1 |
| Rondelle (7/16") | 4 |
| Écrou à embase (5/16"-18) | 2 |
| Boulon (5/16"-18 x ¼") | 2 |
| Rondelle | 1 |
| Écrou à embase (⅜"-16) | 4 |
| Boulon (⅜"-16 x 1") | 4 |
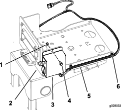
Note: Le fusible du moteur du dévidoir est situé dans le boîtier d'interrupteur (Figure 19).

Passez la plaque pivotante dans le trou et placez-la sur la base du dévidoir.
Sur la face inférieure du cadre du dévidoir, fixez la rondelle de butée et le circlip au plot sur la plaque pivotante (Figure 20).

Fixez le boîtier d'interrupteur sur la plaque pivotante au moyen de 2 boulons (5/16"-18 x ¼") et 2 écrous à embase (5/16"-18), comme montré à la Figure 21.

Fixez le faisceau de câblage sur les côtés de la plaque pivotante au moyen des clips existants (Figure 21).
Fixez le dévidoir à la plaque pivotante au moyen de 4 boulons (⅜"-16 x 1"), 4 rondelles (7/16") et 4 écrous à embase (⅜"-16), comme montré à la Figure 22.
Note: Le moteur du dévidoir doit être orienté à l'opposé du panneau de commande.

Montez la rondelle et la goupille élastique sur la face inférieure du cadre du dévidoir (Figure 23).

Branchez le faisceau de câblage restant aux prises du moteur, d'alimentation principale et du kit dévidoir.
Pièces nécessaires pour cette opération:
| Vanne de commande | 1 |
| Raccord en T | 1 |
| Collier | 1 |
| Serre-câble | 3 |
| Collier en R | 1 |
| Flexible (71 pouces) | 1 |
| Collier | 1 |
| Raccord coudé à 90° | 1 |
| Coupleur de tube | 1 |
| Écrou (¼"-20) | 1 |
| Écrou à embase (⅜"-16) | 1 |
| Tube transducteur de pression | 1 |
| Boulon (¼"-20 x ¾") | 1 |
| Support de vanne | 1 |
| Patte de fixation de vanne de commande | 1 |
| Boulon (6 x 12 mm) | 4 |
| Rondelle (8 mm) | 4 |
| Boulon à embase (6 x 16 mm) | 4 |
| Contre-écrou à embase (6 mm) | 4 |
Détachez le bouchon et le coupleur de la prise du manomètre (Figure 24).

Montez la vanne de commande comme montré à la Figure 24.
Insérez le coupleur dans l'orifice libre du raccord à 90° (Figure 24 ou Figure 37).
Note: Vous pouvez mettre le bouchon au rebut.
Raccordez le flexible d'alimentation du dévidoir à la vanne de commande au moyen d'un collier (Figure 24).
Débranchez le connecteur à 3 douilles du transducteur (Figure 25).

Retirez le collier à bride qui fixe le transducteur de pression au raccord à 90° et déposez le transducteur, le joint et le collier à bride (Figure 26).

Retirez le collier à bride qui fixe le raccord à 90° au raccord à 90° doté d'un connecteur pour le tube de détection, et déposez le raccord à 90°, le joint et le collier à bride (Figure 26).
Assemblez le support de vanne sur la vanne de commande, comme montré à la Figure 27.

Fixez le support de montage sur la vanne de commande à l'aide d'une vis à embase, puis serrez la vis à la main (B de Figure 27).
Montez le support de vanne sur la patte de fixation de la vanne de commande (Figure 28) à l'aide de 4 boulons (6 x 12 mm) et 4 rondelles plates ; serrez les boulons à un couple de 10 à 12 N·m.

Alignez la bride du raccord en T et la bride de la vanne de commande comme montré à la Figure 29.

Fixez légèrement le raccord en T sur la vanne de commande avec un joint et un collier à bride (Figure 29).
Alignez la bride du transducteur de pression et la bride du raccord en T, comme montré à la Figure 30.

Montez le transducteur de pression sur le raccord en T à l'aide du collier à bride et serrez le collier à la main (Figure 30).
Alignez la bride du raccord en T et la bride du raccord à 90°, comme montré à la Figure 31.

Fixez légèrement le raccord en T et le raccord à 90° avec un joint et un collier à bride (Figure 31).
Note: Tournez la patte de fixation de la vanne de commande autant que nécessaire pour qu'elle soit au même niveau que la surface du support de vanne.
En vous servant de la patte de fixation de la vanne de commande comme gabarit, repérez l'emplacement des trous de la patte à la surface du support du collecteur (Figure 32).

Retirez le collier, le joint, et le raccord en T avec la bride du raccord à 90° doté d'un connecteur pour le tube de détection (Figure 31).
Marquez au pointeau les repères sur le support de collecteur que vous avez effectués à l'opération 3.
Percez 4 trous de 6 mm dans le support de collecteur aux emplacements marqués au pointeau à l'opération 5.

Alignez la bride du raccord en T et la bride du raccord à 90°, comme montré à la Figure 34.

Fixez légèrement le raccord en T et le raccord à 90° avec un joint et un collier à bride (Figure 34).
Fixez la patte de fixation de la vanne de commande au support du collecteur (Figure 35) à l'aide de 4 boulons à embase (6 x 16 mm) et 4 contre-écrous à embase (6 mm) ; serrez les boulons à un couple de 10 à 12 N·m.
Serrez à la main le collier à bride qui fixe la vanne de commande et le raccord en T (Figure 29), et le collier à bride qui fixe le raccord en T au raccord à 90° doté d'un connecteur pour le tube de détection (Figure 31 et Figure 34).
Branchez le connecteur à 3 douilles du transducteur (Figure 35).

Branchez le flexible de l'applicateur manuel au raccord cannelé de la vanne de commande, et fixez le flexible sur le raccord avec un collier (Figure 36).

Fixez le flexible (180 cm) au support supérieur à l'aide d'un collier en R, d'un boulon (¼"-20 x ¾") et d'un écrou (1/4"-20), comme montré à la Figure 37.

Appliquez du produit d'étanchéité au PTFE sur le filetage du raccord en T et branchez le raccord à la vanne de commande (Figure 37).
Appliquez du produit d'étanchéité au PTFE sur le filetage du coupleur et branchez le coupleur au raccord en T (Figure 37).
Reliez le tube transducteur de pression au coupleur du raccord en T dans le raccord à 90° et au coupleur du manomètre (Figure 38).

Branchez le flexible (180 cm) au raccord cannelé sur le dévidoir et fixez le flexible au raccord à l'aide d'un collier, comme montré à la Figure 39.

Fixez le faisceau de câblage du kit dévidoir pivotant au flexible d'alimentation du dévidoir à l'aide de 3 serre-câbles (Figure 39).
Pièces nécessaires pour cette opération:
| Flexible de pulvérisateur manuel avec raccord | 1 |
| Pistolet pulvérisateur | 1 |
| Petit collier de flexible | 1 |
Appliquez du produit d'étanchéité au PTFE sur le filetage du raccord du long flexible et insérez le raccord dans le tube de raccordement sur le dévidoir (Figure 40).

Connectez l'extrémité libre du long flexible au raccord du pistolet pulvérisateur (Figure 41).

Fixez l'extrémité du flexible au moyen d'un petit collier.
Rebranchez les câbles de la batterie comme suit :
S'ils sont mal acheminés, les câbles de la batterie peuvent subir des dommages ou endommager la machine et produire des étincelles. Les étincelles peuvent provoquer l'explosion des gaz de la batterie et vous blesser.
Débranchez toujours le câble négatif (noir) de la batterie avant le câble positif (rouge).
Connectez toujours le câble positif (rouge) de la batterie avant le câble négatif (noir).
Branchez le câble positif de la batterie à la borne positive de la batterie ; voir le Manuel de l'utilisateur.
Branchez le câble négatif de la batterie à la borne négative de la batterie ; voir le Manuel de l'utilisateur.
Appuyez sur le bouton d'enroulement du flexible et guidez le flexible soigneusement sur le dévidoir, en le déplaçant d'un côté à l'autre pour le répartir uniformément.
Les mains, les vêtements amples, les cheveux longs et les bijoux pendants peuvent se prendre dans le flexible et le dévidoir pendant l'enroulement et causer des blessures.
N'approchez pas les mains du dévidoir et du flexible pendant que vous l'enroulez.
Ne portez pas de vêtements amples ni de bijoux pendants, et attachez les cheveux longs.
Les liquides sous pression s'échappant du système de pulvérisation peuvent transpercer la peau et causer des blessures graves.
Vérifiez l'état des flexibles et conduites, ainsi que le serrage de tous les raccords et branchements avant de mettre le système de pulvérisation sous pression.
N'approchez pas les mains ou autres parties du corps des fuites en trou d'épingle ou des gicleurs d'où sort du liquide sous haute pression.
Utilisez un morceau de papier ou de carton pour détecter les fuites de liquide.
Évacuez avec précaution toute la pression du système de pulvérisation avant toute intervention sur le système.
Consultez immédiatement un médecin en cas d'injection de liquide sous la peau.
Remplissez partiellement la cuve du pulvérisateur d'eau propre.
Mettez le moteur en marche, placez la commande de régime moteur à mi-course et la commande de la pompe de pulvérisation en position MARCHE ; voir le Manuel de l'utilisateur.
Vérifiez que la vanne de commande à l'extrémité du collecteur de section est ouverte.
Vérifiez l'étanchéité du collecteur, de la vanne de commande et du flexible.
Utilisez la commande de débit sur le boîtier d'interrupteur pour augmenter la pression du système de pulvérisation au niveau du dévidoir.
Vérifiez l'étanchéité des composants suivants :
raccords et branchements
manomètre et vanne de dévidoir
tubes, flexibles et pistolet pulvérisateur
Note: Réparez toutes les fuites éventuelles avant d'utiliser le système de pulvérisation.
Fermez la vanne de commande du dévidoir et placez la commande de la pompe de pulvérisation à la position ARRêT, puis coupez le moteur.
Les liquides sous pression peuvent transpercer la peau et causer des blessures graves.
N'approchez pas les mains ou d'autres parties du corps des gicleurs d'où sort du liquide sous haute pression.
Ne dirigez jamais le pistolet pulvérisateur vers des personnes ou des animaux.
Vérifiez l'état de tous les flexibles et conduits de liquide, ainsi que le serrage de tous les raccords et branchements avant de mettre le circuit sous pression.
Utilisez un morceau de papier ou de carton pour détecter les fuites.
Dépressurisez soigneusement le système avant de travailler dessus.
Consultez immédiatement un médecin si du liquide est injecté sous la peau.
Les liquides chauds et les produits chimiques peuvent causer des brûlures et des blessures.
Important: Videz et nettoyez toujours le pulvérisateur immédiatement après chaque utilisation. Si cela n'est pas fait, les produits chimiques risquent de sécher ou de se coaguler à l'intérieur des canalisations, ce qui bouchera la pompe et d'autres composants.
Nettoyez le système de pulvérisation après chaque séance de pulvérisation. Pour nettoyer correctement le système de pulvérisation :
Effectuez 3 rinçage séparés.
Utilisez un minimum de 190 litres à chaque rinçage.
Utilisez les agents nettoyants et neutralisants recommandés par les fabricants des produits chimiques.
Utilisez de l'eau propre (pas d'agents nettoyants ni neutralisants) pour le dernier rinçage.
Si vous conduisez tout en utilisant le pulvérisateur manuel, vous risquez de perdre le contrôle de la machine et vous blesser gravement ou mortellement. N'utilisez pas le pulvérisateur manuel pendant la conduite de la machine.
Arrêtez la machine, coupez les rampes et serrez le frein de stationnement.
À l'arrière de la machine, vérifiez que le verrou de la gâchette du pistolet pulvérisateur est fermé.
Placez le levier sur la vanne de commande en position OUVERTE.
Mettez la pompe en marche depuis la position d'utilisation.
Placez la commande générale des rampes en position de MARCHE.
Réglez le moteur au régime voulu, puis engagez la commande de blocage du régime au point mort.
Important: Ne réglez pas la pression au-dessus de 10,34 bar quand vous utilisez l'applicateur manuel.
Déroulez la longueur de flexible voulue.
Important: Ne tirez pas le flexible par le pistolet pulvérisateur. Tirez toujours le flexible en le saisissant directement. Le raccord du pistolet peut se briser ou vous risquez d'endommager le flexible si vous le tirez par le pistolet pulvérisateur.
Débloquez le verrou de la gâchette.
Pointez le pistolet pulvérisateur vers la zone à pulvériser et actionnez la gâchette.
Relâchez la gâchette et bloquez-la avec le verrou quand vous avez terminé.
Les mains, les vêtements amples, les cheveux longs et les bijoux pendants peuvent se prendre dans le flexible et le dévidoir pendant l'enroulement et causer des blessures.
N'approchez pas les mains du dévidoir et du flexible pendant que vous l'enroulez.
Ne portez pas de vêtements amples ni de bijoux pendants, et attachez les cheveux longs.
Appuyez sur le bouton d'enroulement sur le dévidoir jusqu'à ce que le flexible soit enroulé, à part quelques centimètres.
Placez le levier sur la vanne de commande en position FERMéE.
Pointez le pistolet pulvérisateur vers un endroit ne présentant aucun risque, débloquez le verrou de la gâchette et actionnez la gâchette jusqu'à ce qu'il ne reste plus de liquide dans le flexible. Bloquez ensuite la gâchette avec le verrou.
Remettez le pistolet pulvérisateur sur son support au dos du dévidoir.
Rétablissez le régime de ralenti du moteur.
Arrêtez la pompe.
Important: Veillez à rincer le pistolet pulvérisateur à l'eau douce propre pendant les opérations du nettoyage quotidien (voir le Manuel de l'utilisateur du pulvérisateur). Si le pistolet pulvérisateur n'est pas nettoyé correctement, une détérioration de ses performances et sa fiabilité, ainsi que de celles du kit dévidoir, est possible.
Utilisez la commande de débit pour obtenir la pression voulue.