Lees deze handleiding zorgvuldig, zodat u weet hoe u de machine op de juiste wijze kunt gebruiken en onderhouden. De informatie in deze handleiding kan u en anderen helpen letsel en schade te voorkomen. Hoewel Toro veilige producten ontwerpt en fabriceert, blijft u verantwoordelijk voor het juiste en veilige gebruik van de machine.
U kunt op www.Toro.com rechtstreeks contact met Toro opnemen om trainingsmaterialen en informatie over productveiligheid en accessoires te verkrijgen, een verkoper te vinden of uw product te registreren.
Als u service, originele Toro onderdelen of aanvullende informatie nodig hebt, kunt u contact opnemen met een erkende servicedealer of met de klantenservice van Toro. U dient hierbij altijd het modelnummer en het serienummer van het product te vermelden. Figuur 1 geeft de plaats van het modelnummer en het serienummer van het product aan.
Note: Dit product voldoet aan alle relevante Europese richtlijnen. Zie voor meer informatie de inbouwverklaring aan het einde van deze handleiding.Bepaal vanuit de normale bedieningspositie de linker- en rechterzijde van de machine.

CALIFORNIË
Proposition 65 Waarschuwing
Gebruik van dit product kan leiden tot blootstelling aan chemische stoffen waarvan de Staat Californië weet dat ze kanker, geboorteafwijkingen en andere schade aan het voortplantingssysteem veroorzaken.
Onjuist gebruik of onderhoud door de gebruiker of eigenaar kan letsel veroorzaken. Om het risico op letsel te verkleinen, dient u zich aan de volgende veiligheidsinstructies te houden en altijd op het veiligheidssymbool te letten, dat betekent: Voorzichtig, Waarschuwing of Gevaar – instructie voor persoonlijke veiligheid. Niet-naleving van de instructie kan leiden tot lichamelijk of dodelijk letsel.
Lees ook de veiligheidsinstructies en gebruiksaanwijzingen in de Gebruikershandleiding van de machine.
Richt de handspuitmachine nooit op mensen of dieren. Vloeistoffen die onder hoge druk staan, kunnen door de huid heen dringen en ernstig letsel veroorzaken. Dit kan leiden tot amputatie of de dood. Hete vloeistoffen en chemicaliën kunnen ook brandwonden of ander letsel veroorzaken. Al een lichaamsdeel in contact komt met een straal spuitvloeistof, moet onmiddellijk een arts worden gewaarschuwd die bekend is met verwondingen waarbij vloeistof is geïnjecteerd.
Houd uw hand of een ander lichaamsdeel nooit vóór de spuitdop.
Haal altijd de druk van de machine als u niet aanwezig bent.
Gebruik de handspuitmachine nooit als de slang, de vergrendeling van de trekker, de spuitdop of een ander onderdeel is beschadigd of ontbreekt.
Gebruik de handspuitmachine nooit als slangen, fittingen of andere onderdelen lekken.
Spuit nooit in de buurt van elektrische leidingen.
Rij nooit als u spuit met een handspuitmachine.
Draag rubberen handschoenen, een veiligheidsbril en een pak dat het hele lichaam beschermt als u chemicaliën spuit met een handspuitmachine.
Bliksem kan ernstig of dodelijk letsel veroorzaken. Als u bliksem ziet of donder hoort in het gebied, gebruik de machine dan niet; ga schuilen.
Chemische stoffen zijn gevaarlijk en kunnen lichamelijk letsel veroorzaken.
Lees de aanwijzingen op het fabrieksetiket voordat u gaat werken met chemische stoffen, en neem alle aanbevelingen en voorzorgsmaatregelen van de fabrikant in acht.
Zorg ervoor dat uw huid niet in contact komt met chemische stoffen. Als dit toch gebeurt, moet u de desbetreffende plek grondig afspoelen met zeep en schoon water.
Draag een veiligheidsbril of andere beschermende uitrusting volgens de aanbevelingen van de fabrikant van de chemische stoffen.
![]() |
Veiligheidsstickers en veiligheidsinstructies zijn gemakkelijk zichtbaar voor de bestuurder en bevinden zich bij plaatsen waar gevaar kan ontstaan. Vervang alle beschadigde of ontbrekende stickers. |

Niet-bijgeleverde benodigdheden:
PTFE-schroefdraadborgmiddel (tape of pasta)
Een niet-petroleumgebaseerd smeermiddel zoals plantaardige olie
Accupolen of metalen gereedschappen kunnen kortsluiting maken met metalen onderdelen van de machine, waardoor vonken kunnen ontstaan. Hierdoor kunnen accugassen tot ontploffing komen en lichamelijk letsel veroorzaken.
Zorg ervoor dat bij het verwijderen of monteren van de accu de accupolen niet in aanraking komen met metalen onderdelen van de machine.
Voorkom dat metalen gereedschappen kortsluiting veroorzaken tussen de accupolen en metalen onderdelen van de machine.
Als accukabels verkeerd worden verbonden, kan dit schade aan de machine en de kabels tot gevolg hebben en vonken veroorzaken. Hierdoor kunnen accugassen tot ontploffing komen, waardoor lichamelijk letsel kan ontstaan.
Maak altijd de minkabel (zwart) van de accu los voordat u de pluskabel (rood) losmaakt.
Sluit altijd de pluskabel (rood) van de accu aan voordat u de minkabel (zwart) aansluit.
Als de optionele spoeltank gemonteerd is, ledig de tank dan in de spuittank; raadpleeg het hoofdstuk De spoelset gebruiken in de Montage-instructies van de Tankspoelset.
Controleer of er geen vloeistof in de spuittank van de machine zit.
Note: Als er chemische oplossingen in de spuittank hebben gezeten, moet u de tank en het spuitsysteem grondig spoelen met schoon water; raadpleeg de Gebruikershandleiding van de machine voor instructies.
Plaats de machine op een horizontaal oppervlak, stel de parkeerrem in werking, schakel de spuitpomp uit, zet de motor af en verwijder het sleuteltje uit het contact.
Maak de minkabel los van de minpool van de accu; raadpleeg de Gebruikershandleiding.
Maak de pluskabel los van de pluspool van de accu; raadpleeg de Gebruikershandleiding.
Verwijder bovenaan de spuittank de bevestigingsvork waarmee de 90° slangpilaar van de aanzuigslang bevestigd is aan de behuizing voor het aanzuigfilter, en neem de slangpilaar van de behuizing (Figuur 2).

Verwijder de fitting van 90° van de behuizing van het aanzuigfilter (Figuur 2).
Verwijder onderaan de spoeltank de bevestigingsvork waarmee de fitting van 90° van de toevoerslang bevestigd is aan de tussenschotfitting (Figuur 3).

Verwijder de fitting van 90° van de tussenschotfitting (Figuur 3).
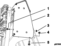
Verwijder de 2 bouten, 4 ringen en 2 flensborgmoeren waarmee de 2 bevestigingsbeugels van de spoeltank bevestigd zijn aan de klepbevestiging; verwijder de bevestigingsbeugels (Figuur 4).

Verwijder de spoeltank van de machine (Figuur 5).


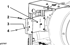
Zet de 4 flensborgmoeren en 4 bouten waarmee de helften van de tankband bevestigd zijn los (Figuur 7).

Verplaats de spuittank naar voren tot de banden gelijk komen met de achterste verhoging van de voorgevormde banduitsparing in de tank (Figuur 8).

Draai de 4 flensborgmoeren en 4 bouten bovenaan de banden aan tot de banden gelijk komen met het oppervlak van de tank (Figuur 7).
Benodigde onderdelen voor deze stap:
| Moer (¼"-20) | 1 |
| Flensmoer (5/16"-18) | 5 |
| Flensmoer (⅜"-16) | 12 |
| Bout (⅜"-16 x 1") | 5 |
| Bout (¼"-20 x ¾") | 1 |
| Bout (⅜"-16) | 2 |
| Bout (⅜"-16 x 3½") | 2 |
| Bovenste beugel | 1 |
| Onderste steunbeugel | 1 |
| Onderste beugel | 1 |
| Getande bout (5/16"-18 x 1") | 1 |
| U-bout | 1 |
| Bout (⅜"-16 x 2¼") | 2 |
| Steunbeugel van de haspelhouder | 1 |
| Borstbout | 4 |
| Frame van haspelhouder | 1 |
| Contramoer (5/16"-18) | 2 |
| Bout (5/16"-18 x 1") | 2 |
| Overgangsstuk van drukmeter | 1 |
| Koppeling | 1 |
| Drukmeter | 1 |
Monteer de bovenste beugel met 1 bout (¼"-20 x ¾"), 1 moer (¼"-20), 1 getande bout (5/16"-18 x 1") en 1 flensmoer (5/16"-18); zie Figuur 9.

Bevestig de achterzijde van de bovenste beugel met 1 U-bout, 1 bout (⅜"-16 x 1") en 3 flensmoeren (⅜"-16), zoals wordt getoond in Figuur 10.

Note: Als u een spoeltank hebt verwijderd voordat u de bovenste beugel hebt gemonteerd, moet u de spoeltank nu opnieuw monteren alvorens naar de volgende stap te gaan.
Monteer de onderste beugel en onderste steunbeugel met 2 bouten (⅜"-16), 2 bouten (⅜"-16 x 3½") en 4 flensmoeren (⅜"-16) aan het frame; zie Figuur 11.

Als uw machine uitgerust is met de optionele spoeltankset, plaats de tank dan op de machine zoals afgebeeld in Figuur 12.
Note: U zal de montage van de spoeltank voltooien in De spoeltank plaatsen.

Bevestig de steunbeugel van de haspelhouder met 4 bouten (⅜"-16 x 1"), 2 bouten (⅜"-16 x 2¼"), en 6 flensmoeren (⅜"-16) aan de bovenste en onderste beugel; zie Figuur 13.

Plaats het frame van de haspelhouder in de openingen van de steunbeugel van de haspelhouder en bevestig de rand met 4 borstbouten, 4 flensmoeren (5/16"-18), 2 bouten (5/16"-18 x 1") en 2 contramoeren (5/16"-18); zie Figuur 14.

Breng PTFE-tape aan op de schroefdraad van de drukmeter en monteer de drukmeter zoals in Figuur 15.

Draai de bouten op de steunbeugel van de drukmeter vast tegen het frame van de haspelhouder.
Lijn de bevestigingsbeugel uit met de voorgevormde uitsparingen bovenaan in de spoeltank (Figuur 16)

Lijn de sleuf in de bevestigingsbeugel uit met de opening in de klepbevestiging (Figuur 16).
Bevestig de houder losjes op de klepbevestiging (Figuur 16); gebruik hiervoor een bout (⅜" x 1½"), 2 ringen (⅜") en een flensborgmoer (⅜") die u verwijderd hebt in De spoeltank verwijderen.
Herhaal stap 1 tot en met 3 voor de andere houder aan de andere uitsparing in de spoeltank (Figuur 16).
Draai de bouten en de flensmoeren voorzichtig aan met de hand.
Important: De spoeltank moet stevig vastzitten maar de houder mag de tank niet vervormen of verwringen
Note: Wanneer u de spoeltank voor het eerst hebt gevuld, dient u de houders en de spoeltank te controleren op speling (het gewicht van het water in de tank kan ervoor zorgen dat de tank dichter tegen het frame aan gaat zitten). Draai de bout(en) en flensborgmoer(en) indien nodig vaster tot de houders tegen de spoeltank aan zitten – vervorm de spoeltank niet.
Lijn de 90° slangpilaar van de toevoerslang uit met de behuizing van het aanzuigfilter (Figuur 18).

Bevestig de slangpilaar van 90° aan de behuizing (Figuur 18); gebruik hierbij de bevestigingsvork die u verwijderd hebt in stap 1 van De spoeltank verwijderen.
Benodigde onderdelen voor deze stap:
| Kabelboom | 1 |
| Schakelkastinrichting | 1 |
| Drukring | 1 |
| Snapring | 1 |
| Slanghaspel | 1 |
| Veerpen | 1 |
| Ring (7/16") | 4 |
| Flensmoer (5/16"-18) | 2 |
| Bout (5/16"-18 x ¼") | 2 |
| Ring | 1 |
| Flensmoer (⅜"-16) | 4 |
| Bout (⅜"-16 x 1") | 4 |
Note: De zekering voor de slanghaspelmotor bevindt zich in de schakelaarkast (Figuur 19).

Laat de zwenkplaat in het gat van de slanghaspelbasis vallen.
Bevestig aan de onderzijde van het slanghaspelframe de drukring en de snapring op de stang van de zwenkplaat (Figuur 20).

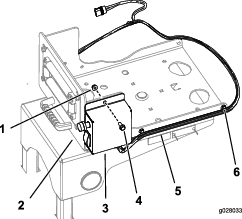
Monteer de schakelkast op de zwenkplaat. Gebruik 2 bouten (5/16"-18 x ¼") en 2 flensmoeren (5/16"-18); zie Figuur 21.

Bevestig de draadboom met behulp van de oude klemmen aan de zijden van de zwenkplaat (Figuur 21).
Bevestig de slanghaspel aan de zwenkplaat. Gebruik 4 bouten (⅜"-16 x 1"), 4 ringen (7/16") en 4 flensmoeren (⅜"-16); zie Figuur 22.
Note: Richt de slanghaspelmotor weg van het schakelpaneel.

Monteer de ring en de veerpen aan de onderkant van het slanghaspelframe (Figuur 23).

Verbind de overige kabelboomaansluitingen met de aansluitingen van de motor, de hoofdkabelboom en de slanghaspelset.
Benodigde onderdelen voor deze stap:
| Regelklep | 1 |
| T-fitting | 1 |
| Slangklem | 1 |
| Kabelbinder | 3 |
| R-klem | 1 |
| Slang van 180 cm | 1 |
| Klem | 1 |
| 90° knie | 1 |
| Buiskoppeling | 1 |
| Moer (¼"-20) | 1 |
| Flensmoer (⅜"-16) | 1 |
| Buis van drukomzetter | 1 |
| Bout (¼"-20 x ¾") | 1 |
| Klepbevestiging | 1 |
| Beugel van regelklep | 1 |
| Bout (6 x 12 mm) | 4 |
| Ring (8 mm) | 4 |
| Flenskopbout (6 x 16 mm) | 4 |
| Flensborgmoer (6 mm) | 4 |
Maak de kap en koppeling los van de drukmeterpoort (Figuur 24).

Monteer de regelklep; zie Figuur 24.
Monteer de koppeling in de vrije opening van de 90°-knie (Figuur 24 en Figuur 37).
Note: De dop kunt u weggooien.
Sluit de toevoerslang van de slanghaspel met een slangklem aan op de regelklep (Figuur 24).
Maak de stekker met 3 contacten van de drukomzetter los (Figuur 25).

Verwijder de flensklem waarmee de drukomzetter aan de 90°-fitting is bevestigd, en verwijder de drukomzetter, pakking en flensklem (Figuur 26).

Verwijder de flensklem waarmee de 90°-fitting aan de 90°-fitting met een aansluiting voor de sensorbuis is bevestigd, en verwijder de 90°-fitting, pakking en flensklem (Figuur 26).
Monteer de klepbevestiging op de regelklep; zie A in Figuur 27.

Monteer de klepbevestiging op de regelklep; gebruik hierbij de flenskopschroef en draai de schroef handmatig aan (B van Figuur 27).
Monteer de klepbevestiging op de beugel van de regelklep (Figuur 28); gebruik hierbij de 4 bouten (6 x 12 mm) en 4 platte ringen; draai de bouten aan met een torsie van 10 tot 12 N·m.

Lijn de flens van de T-fitting uit met de flens van de regelklep; zie Figuur 29.

Bevestig de T-fitting losjes aan de regelklep met een pakking en flensklem (Figuur 29).
Lijn de flens van de drukomzetter uit met de flens van de T-fitting; zie Figuur 30.

Monteer de drukomzetter op de T-fitting; gebruik hierbij een pakking en een flensklem, en draai de klem handmatig aan (Figuur 30).
Lijn de flens van de T-fitting uit met de flens van de 90°-fitting met een aansluiting voor de sensorbuis (Figuur 31).

Bevestig de T-fitting en de 90°-fitting losjes met een pakking en een flensklem (Figuur 31).
Note: Draai de beugel van de regelklep indien nodig om deze uit te lijnen met het oppervlak van de klepbevestiging.
Gebruik de beugel van de regelklep als sjabloon om de plaats af te tekenen van de gaten in de beugel op het oppervlak van de bevestigingsbeugel van het verdeelstuk (Figuur 32).

Verwijder de klem, pakking en T-fitting met de flens van de 90°-fitting met een aansluiting voor de sensorbuis (Figuur 31).
Maak met een centerpons gaten op de markeringen die u in stap 3 gemaakt hebt op de bevestigingsbeugel van het verdeelstuk.
Boor de 4 gaten die u in stap 5 gemaakt hebt in de bevestigingsbeugel van het verdeelstuk uit met een bit van 6 mm.

Lijn de flens van de T-fitting uit met de flens van de 90°-fitting met een aansluiting voor de sensorbuis (Figuur 34).

Bevestig de T-fitting en de 90°-fitting losjes met een pakking en een flensklem (Figuur 34).
Monteer de beugel van de regelklep op de bevestiging van het verdeelstuk (Figuur 35); gebruik hierbij 4 flenskopbouten (6 x 16 mm) en 4 flensborgmoeren (6 mm); draai de bouten aan met een torsie van 10 tot 12 N·m.
Draai handmatig de flensklem aan waarmee de regelklep en de T-fitting (Figuur 29) bevestigd zijn, alsook de flensklem waarmee de T-fitting bevestigd is aan de 90°-fitting met een aansluiting voor de sensorbuis (Figuur 31 en Figuur 34).
Sluit de stekker met 3 contacten van de drukomzetter aan (Figuur 35).

Monteer de slang van de handsproeier op de slangfitting met ribbel van de regelklep, en bevestig de slang met een slangklem aan de fitting (Figuur 36).

Bevestig de slang van 180 cm aan de bovenste beugel met een R-klem, bout (¼"-20 x ¾") en moer (¼"-20); zie Figuur 37.

Breng PTFE-dichtmiddel aan op de schroefdraad van de T-fitting en koppel de T-fitting aan op de regelklep (Figuur 37).
Breng PTFE-dichtmiddel aan op de schroefdraden van de koppeling en sluit de koppeling aan op de T-fitting (Figuur 37).
Sluit de buis van de drukomzetter aan op de koppeling van de T-fitting in de 90°-knie en de koppeling van de drukmeter (Figuur 38).

Sluit de slang van 180 cm aan op de geribde fitting van de slanghaspel en bevestig de slang met een slangklem op de fitting; zie Figuur 39.

Koppel de draadboom voor de meedraaiende slanghaspelset aan op de toevoerslang voor de slanghaspel; gebruik hierbij 3 kabelbinders (Figuur 39).
Benodigde onderdelen voor deze stap:
| Slang van spuitpistool met fitting | 1 |
| Spuitpistool | 1 |
| Kleine slangklem | 1 |
Breng PTFE-dichtmiddel aan op de schroefdraden van de slangfitting op de lange slang en plaats de fitting in de aansluitbuis op de haspel (Figuur 40).

Sluit de het vrije uiteinde van de lange slang aan op de fitting op het spuitpistool (Figuur 41).

Zet het uiteinde van de slang vast met een kleine slangklem.
Koppel de accukabels als volgt aan:
Als accukabels verkeerd worden verbonden, kan dit schade aan de machine en de kabels tot gevolg hebben en vonken veroorzaken. Hierdoor kunnen accugassen tot ontploffing komen, waardoor lichamelijk letsel kan ontstaan.
Maak altijd de minkabel (zwart) van de accu los voordat u de pluskabel (rood) losmaakt.
Sluit altijd de pluskabel (rood) van de accu aan voordat u de minkabel (zwart) aansluit.
Maak de pluskabel vast aan de pluspool van de accu; raadpleeg de Gebruikershandleiding.
Maak de minkabel vast aan de minpool van de accu; raadpleeg de Gebruikershandleiding.
Druk op de opwindknop en wind de slang voorzichtig op de haspel. Beweeg hierbij de slang van de ene naar de andere kant om de slang gelijkmatig te verdelen over de breedte van de haspel.
Handen, losse kleding, lang haar en losse sieraden kunnen tijdens het opwinden worden gegrepen door de slang en de haspel. Dit kan letsel veroorzaken.
Houd u handen tijdens het opwinden uit de buurt van de haspel en de slang.
Draag geen losse kleding of losse sieraden en bind lang haar op.
Vloeistof die onder druk uit het spuitsysteem komt, kan door de huid heen dringen en letsel veroorzaken.
Controleer of alle slangen en leidingen in goede staat verkeren en alle aansluitingen en fittings stevig vastzitten voordat u druk zet op het spuitsysteem.
Houd lichaam en handen uit de buurt van kleine lekgaten of spuitmonden waaruit onder hoge druk vloeistof ontsnapt.
U kunt vloeistoflekken opsporen met behulp van karton of papier.
Hef alle druk in het spuitsysteem op veilige wijze op, voordat u werkzaamheden gaat verrichten aan het spuitsysteem.
Waarschuw onmiddellijk een arts als er hydraulische vloeistof is geïnjecteerd in de huid.
Vul de spuittank gedeeltelijk met schoon water.
Start de motor, zet het motortoerental op halfgas en zet de schakelaar van de spuitpomp in de AAN-stand; zie de Gebruikershandleiding.
Zorg dat de regelklep aan het uiteinde van het spuitboomverdeelstuk open staat.
Controleer op lekkages aan het verdeelstuk, de regelklep en de slang.
Gebruik de dosisschakelaar in de schakelkast om de spuitsysteemdruk aan de slanghaspel op te voeren.
Controleer de volgende onderdelen op lekkages:
fittings en koppelingen
drukmeter en slanghaspelklep
buizen, slangen en spuitpistool
Note: Repareer alle lekken voordat u het spuitsysteem gebruikt.
Sluit de regelklep voor de slanghaspel, zet de schakelaar van de spuitpomp in de UIT-stand en schakel de motor uit.
Hydraulische vloeistof die onder druk staat, kan door de huid heen dringen en letsel veroorzaken.
Houd uw lichaam en handen uit de buurt van spuitdoppen waaruit onder hoge druk vloeistof ontsnapt.
Richt de spuitmachine nooit op mensen of dieren.
Controleer of alle vloeistofslangen en leidingen in goede staat verkeren en alle aansluitingen en verbindingsstukken stevig vastzitten voordat u druk zet op het systeem.
U kunt lekken opsporen met behulp van karton of papier.
Voer alle druk in het systeem veilig af voordat u hieraan werkzaamheden gaat verrichten.
Waarschuw onmiddellijk een arts als er hydraulische vloeistof is geïnjecteerd in de huid.
Hete vloeistoffen en chemicaliën kunnen brandwonden of ander letsel veroorzaken.
Important: U moet de spuitmachine altijd onmiddellijk na elk gebruik leeg laten lopen en reinigen. Indien u dit nalaat, kan dit tot gevolg hebben dat de chemische stoffen uitdrogen of dik worden in de leidingen, waardoor de pomp en andere onderdelen verstopt raken.
Reinig het spuitsysteem na elke spuitbeurt. Om het spuitsysteem goed te reinigen, moet u als volgt te werk gaan:
Spoel het systeem 3 keer om.
Gebruik minimaal 189 liter per spoelbeurt.
Gebruik de reinigings- en neutraliseermiddelen die worden aanbevolen door de fabrikanten van de chemische stoffen.
Gebruik schoon water (zonder reinigings- en neutraliseermiddelen) voor de laatste spoelbeurt.
Als u handmatig spuit terwijl u met de machine rijdt, bestaat de kans dat u de controle over de machine verliest. Dit kan lichamelijk of dodelijk letsel veroorzaken. Spuit daarom niet handmatig als u met de machine rijdt.
Breng de machine tot stilstand, schakel de spuitbomen uit en stel de parkeerrem in werking.
Controleer achteraan de machine of de trekkervergrendeling van het spuitpistool ingeschakeld is.
Draai de hendel van de regelklep naar de stand OPEN.
Op de bestuurdersstoel schakelt u de pomp in werking.
Zet de hoofdspuitboom in de stand AAN.
Stel de motor in op het gewenste toerental en stel de toerentalvergrendeling van de neutraalstand in werking.
Important: Gebruik geen druk hoger dan 10,34 bar voor het spuitpistool.
Rol zo veel slang van de haspel af als u nodig hebt.
Important: Trek niet aan het spuitpistool om de slang uit te rollen. Pak altijd direct de slang vast als u deze van de haspel rolt. Als u met het spuitpistool aan de slang trekt, bestaat de kans dat de fitting op het pistool afbreekt of de slang beschadigd raakt.
Ontgrendel de trekker.
Richt het spuitpistool op het gebied dat u wilt spuiten, en haal de trekker over.
Laat de trekker los en vergrendel deze als u klaar bent met spuiten.
Handen, losse kleding, lang haar en losse sieraden kunnen tijdens het opwinden worden gegrepen door de slang en de haspel. Dit kan letsel veroorzaken.
Houd u handen tijdens het opwinden uit de buurt van de haspel en de slang.
Draag geen losse kleding of losse sieraden en bind lang haar op.
Druk op de opwindknop van de slanghaspel totdat er nog maar een halve meter slang is uitgerold.
Draai de hendel van de regelklep naar de GESLOTEN stand.
Richt het spuitpistool op een gebied waar u veilig kunt spuiten, ontgrendel de trekker en haal de trekker over totdat er helemaal geen spuitvloeistof meer in de slang zit. Vergrendel daarna de trekker.
Plaats het spuitpistool in de houder op de achterkant van de haspel.
Laat de motor opnieuw vrijlopen.
Zet de pomp af.
Important: Spoel het spuitpistool met schoon water bij de dagelijkse schoonmaakbeurt (raadpleeg de Gebruikershandleiding van de sproeier). Als u het spuitpistool niet naar behoren reinigt, kan dat een nadelig effect hebben op de prestaties en de duurzaamheid van de slanghaspelset en het spuitpistool.
Gebruik de gebruiksdosisregelaar om de gewenste druk in te stellen.