Karbantartás
Note: A gép jobb és bal oldalát normál üzemeltetési helyzetben határozza meg.
Ajánlott karbantartási ütemterv(ek)
| Karbantartási időköz | Karbantartási intézkedés |
|---|---|
| Az első 10 óra után |
|
| Minden egyes használat előtt, vagy naponta |
|
| Tárolás előtt |
|
Figyelmeztetés
Ha a kulcsot a gyújtáskapcsolóban hagyja, mások véletlenül beindíthatják a motort, és a közelben állók súlyos sérülését okozhatják.
Karbantartási munkák előtt vegye ki a kulcsot a gyújtáskapcsolóból, és vegye le a gyertyapipát. Hajtsa félre a gyertyapipát, hogy ne érhessen véletlenül a gyújtógyertyához.
Figyelmeztetés
A motor üzem közben felforrósodhat. A forró felületek érintésre égési sérülést okozhatnak.
Hagyja lehűlni a motort, különösen a kipufogóját, mielőtt megérintené.
Figyelmeztetés
A törmelék, például a levelek, a fű vagy a gallyak lángra kaphatnak. A motortérben keletkezett tűz személyi sérülést és anyagi kárt okozhat.
-
Tartsa a motor és a kipufogó környékét törmeléktől mentesen.
-
A zsákolóadapter fedelének felnyitásakor körültekintően járjon el, hogy ne hulljon törmelék a motor és a kipufogó környékére.
-
Tárolás előtt hagyja a gépet lehűlni.
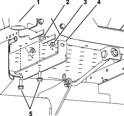
A zsákolóadapter-tartozék ellenőrzése
| Karbantartási időköz | Karbantartási intézkedés |
|---|---|
| Az első 10 óra után |
|
| Tárolás előtt |
|
-
Ellenőrizze a csatornát, a kidobócsövet és a zsákolóadapter fedelét. Cserélje ki ezeket az alkatrészeket, ha megrepedtek vagy eltörtek.
-
Húzzon meg minden csavart és csavaranyát.
-
Ellenőrizzen minden kötőelemet és gyorszárat; cserélje, illetve pótolja a hiányzó vagy sérült elemeket.
-
Ellenőrizze a fűgyűjtő zsák elhasználódásának mértékét.
Figyelmeztetés
Súlyos személyi sérüléseket okozhat a szakadt, kopott vagy elhasználódott fűgyűjtő zsákon át kirepülő törmelék és egyéb tárgyak.
-
Ellenőrizze a fűgyűjtő zsákokat lyukak, szakadás, kopás és az elhasználódásra utaló egyéb jelek szempontjából.
-
Ne mossa ki a fűgyűjtő zsákokat.
-
Ha a zsák elhasználódott, cserélje le a zsákolóadapter gyártója által biztosított pótzsákra.
-
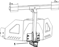
A fűnyírókések ellenőrzése
Ellenőrizze rendszeresen a fűnyírókéseket, valamint akkor is, ha idegen tárgynak ütköztek.
Ha a kések nagyon elkoptak vagy károsodtak, szereljen fel új késeket. Tekintse meg a fűnyíró vagy a nyíróasztal Kezelői kézikönyvét a teljes késkarbantartással kapcsolatban.
A zsákolóadapter-munkaeszköz tisztítása
| Karbantartási időköz | Karbantartási intézkedés |
|---|---|
| Minden egyes használat előtt, vagy naponta |
|
| Tárolás előtt |
|
-
Minden használat után szerelje le és mossa le kívül-belül a zsákolóadapter tetejét, a kidobócsövet, a kidobócsatornát és a nyíróasztal alját a kerti tömlőből rápermetezett vízzel. A makacs szennyeződésekhez használjon enyhe mosószert.
-
Feltétlenül távolítsa el az alkatrészekről a rájuk tapadt füvet.
-
Öblítse ki a gyűjtőzsákokból a hulladékot a kerti tömlőből rápermetezett vízzel.
-
Lemosás után hagyjon alaposan megszáradni minden alkatrészt.






























