| Underhållsintervall | Underhållsförfarande |
|---|---|
| Varje användning eller dagligen |
|
| Var 50:e timme |
|
Detta gräsklippardäck med slagknivar monteras på en åkmaskin och är avsett att användas av yrkesförare som har anlitats för kommersiellt arbete. Den är primärt konstruerad för att klippa gräs på väl underhållna parkgräsmattor, sportanläggningar och kommersiella anläggningar. Det kan medföra fara för dig och kringstående om maskinen används i andra syften än vad som avsetts.
Läs den här informationen noga så att du lär dig att använda och underhålla produkten på rätt sätt och för att undvika person- och produktskador. Du är ansvarig för att produkten används på ett korrekt och säkert sätt.
Besök www.Toro.com om du behöver utbildningsmaterial för säkerhet och drift, information om tillbehör, hjälp med att hitta en återförsäljare eller om du vill registrera din produkt.
Kontakta en auktoriserad återförsäljare eller Toros kundservice och ha produktens modell- och artikelnummer till hands om du har behov av service, Toro-originaldelar eller ytterligare information. Figur 1 visar var på produkten modell- och serienumren sitter. Skriv numren i det tomma utrymmet.
Important: Skanna rutkoden på serienummerplåten (i förekommande fall) med en mobil enhet för att få tillgång till information om garanti, reservdelar och annat.

I den här bruksanvisningen anges potentiella risker och alla säkerhetsmeddelanden har markerats med en varningssymbol (Figur 2), som anger fara som kan leda till allvarliga personskador eller dödsfall om föreskrifterna inte följs.

Två ord används också i den här bruksanvisningen för att markera information. Viktigt anger speciell teknisk information och Observera anger allmän information som bör ges särskild uppmärksamhet.
Denna produkt uppfyller alla relevanta europeiska direktiv. Mer information finns i försäkran om inbyggnad i slutet av det här dokumentet.
KALIFORNIEN
Proposition 65 Varning
Användning av produkten kan orsaka kemikalieexponering som av den amerikanska delstaten Kalifornien anses orsaka cancer, fosterskador och andra fortplantningsskador.
Maskinen har utformats i enlighet med specifikationerna i ANSI B71.4-2017 och säkerhetsdirektivet 2006/46/EG.
Maskinen kan slita av händer och fötter. Följ alltid alla säkerhetsanvisningar för att undvika allvarliga personskador.
Läs och förstå innehållet i den här bruksanvisningen innan du startar motorn.
Var fullt koncentrerad på maskinen när du använder den. Delta inte i aktiviteter som kan distrahera dig, eftersom personskador eller skador på egendom då kan uppstå.
Håll händer och fötter på avstånd från maskinens rörliga delar.
Kör endast maskinen om skydd och andra säkerhetsanordningar sitter på plats och fungerar.
Håll avstånd till utkastaröppningen.
Håll kringstående och barn borta från arbetsområdet. Låt aldrig barn använda maskinen.
Innan du kliver ur förarsätet ska du göra följande:
Ställ maskinen på ett plant underlag.
Sänk klippenheten/klippenheterna.
Koppla bort drivenheterna.
Koppla in parkeringsbromsen (i förekommande fall).
Stäng av motorn och ta ut nyckeln.
Vänta tills alla rörliga delar har stannat.
Felaktigt bruk eller underhåll av maskinen kan leda till
personskador. För att minska risken för skador ska du alltid
följa säkerhetsanvisningarna och uppmärksamma varningssymbolen
. Symbolen betyder Var försiktig,
Varning eller Fara – anvisning om personsäkerhet. Underlåtenhet
att följa anvisningarna kan leda till personskador eller dödsfall.
Klippenheten är endast en komplett maskin när den har monterats på en traktorenhet. Läs noggrant igenom traktorenhetens bruksanvisning för fullständiga anvisningar om säker användning av maskinen.
Stanna maskinen, ta ut nyckeln (i förekommande fall), sänk ned klippenheten och vänta tills all rörelse har avstannat innan du undersöker redskapet om du kör på ett föremål eller om maskinen vibrerar på ett onormalt sätt. Reparera alla skador innan du börjar köra maskinen igen.
Håll alla delar i gott bruksskick och samtliga beslag åtdragna. Byt ut alla slitna eller skadade dekaler.
Använd endast tillbehör, redskap och reservdelar som har godkänts av tillverkaren.
En sliten eller skadad kniv kan gå sönder och en bit av kniven kan slungas ut mot dig eller någon kringstående, vilket kan leda till allvarliga personskador eller dödsfall.
Kontrollera om knivarna är slitna eller skadade med jämna mellanrum.
Var försiktig när du kontrollerar knivarna. Linda in knivarna i något eller ta på dig handskar, och var försiktig när du servar knivarna. Byt endast ut knivarna eller slipa dem.
![]() |
Säkerhetsdekalerna och anvisningarna är fullt synliga för föraren och finns nära alla potentiella farozoner. Ersätt dekaler som har skadats eller saknas. |









Note: Om inget annat anges sparar du alla delar du tar bort.
Ställ maskinen på ett plant underlag, koppla ur kraftuttaget, flytta lyftarmarna till det lägsta läget, koppla in parkeringsbromsen, stäng av motorn och ta ut nyckeln.
Vänta tills alla rörliga delar har stannat och låt maskinen svalna innan du justerar, rengör, reparerar eller ställer den i förvaring.
Om en klippenhet är monterad tar du bort den från maskinens lyftarmar. Se klippenhetens bruksanvisning.
Se till att kraftuttagsaxeln är korrekt justerad. Se kraftuttagsaxelns justeringsprocedur i traktorenhetens bruksanvisning.
Important: En allvarlig obalans kan uppstå i drivlinan om markeringarna på drivaxeln inte riktas in korrekt.
Om lyftarmarna för den roterande klippenheten är monterade på traktorenheten ska lyftarmarna tas bort enligt följande:
Höj maskinens främre del och ta bort framdäcken från maskinen. Se traktorenhetens bruksanvisning.
Ta bort de två vagnsskruvarna och de två muttrarna (⅜ tum) som fäster sensorfästet på den högra lyftarmen (Figur 3).
Ta bort de två skruvarna (⅜ x 1 ¼ tum), de två muttrarna (⅜ tum) och de två små stiften som fäster lyftarmarna på cylindrarna (Figur 3).
Ta bort muttern och skruvarna som fäster de stora stiften på lyftarmarna enligt Figur 4.
Ta bort lyftarmarna och de stora stiften från maskinramen (Figur 5).



Delar som behövs till detta steg:
| Svänghjulsgaffel | 2 |
| Svänghjulsbult | 2 |
| Lager | 4 |
| Distansbricka för lager | 2 |
| Stor låsmutter | 2 |
| Svänghjulsarm | 2 |
| Vagnskruv (M10) | 12 |
| Låsmutter (M10) | 12 |
| Spännlock | 2 |
| Distansbrickor för klipphöjd | 14 |
| Mellanlägg | 4 |
Montera svänghjulen på svänghjulsgaffeln enligt Figur 6.
Note: Använd endast det övre axelhålet. Justera inte svänghjulets position.

Montera varje svänghjulsarm på klippenheten med sex vagnsskruvar (M10) och sex låsmuttrar (M10) enligt Figur 7. Dra åt låsmuttrarna till 47–57 Nm.

Montera svänghjulen på klippenheten med ett mellanlägg på båda sidor om svänghjulsaxelns nav enligt Figur 8.
Note: Du kan justera inställningen för klipphöjd genom att ändra antalet distansbrickor på båda sidor om svänghjulsaxelns nav. Se Justera klipphöjden.

Se till att klippdäcket är i nivå; flytta däcket till ett plant underlag och placera ett vattenpass vågrätt tvärs över däckets ovansida.
Om klippdäcket inte är i nivå ska du placera mellanläggen på svänghjulsaxeln tills det är i nivå.
Delar som behövs till detta steg:
| Skräpskydd | 1 |
| Fäste | 1 |
| Nit | 5 |
Montera fästet och skräpskyddet på framaxeln med fem nitar (Figur 9).

Delar som behövs till detta steg:
| Lyftarm | 2 |
| Stort stift | 2 |
| Lång skruv (⅜ x 2 ¾ tum) | 2 |
| Mutter (⅜ tum) | 6 |
| Litet stift | 2 |
| Bult (⅜ x 1 ¼ tum) | 2 |
| Vagnskruv (⅜ x 1 ¼ tum) | 2 |
| Insexskruv (⅜ x 2 ¼ tum) | 2 |
| Bricka (⅜ tum) | 2 |
| Flänslåsmutter (⅜ tum) | 2 |
| Lyftarmsstift | 2 |
| Hjulsprintar | 2 |
| Fäste för givare | 1 |
Höj maskinens framsida och ta bort framdäcken från maskinen. Se traktorenhetens bruksanvisning.
Montera lyftarmarna och de stora stiften på maskinramen (Figur 10).

Fäst det stora stiftet på lyftarmen med ett par muttrar och skruvar enligt Figur 11.

Fäst cylinderstavsändarna på varje lyftarm med ett litet stift, skruvar (⅜ x 1 ¼ tum) och mutter (⅜ tum) enligt Figur 12.
Note: Vrid lyftarmen manuellt för att justera den efter cylinderstavens ände.
Använd två vagnsskruvar och två muttrar (⅜ tum) för att montera givarfästet på den högra lyftarmen. Se Figur 12.

Se till att sensorfästet inte stör sensorn, se Justera givarfästet.
När du monterar sensorfästet vrider du fästet uppåt (enligt Figur 12) före fastspänning.
Placera klippenheten framför maskinramen och kraftuttagsaxeln.
Utför följande steg för att montera kraftuttagsaxeln på klippenheten:
Montera kraftuttagsaxeloket på klippenhetens växellådsaxel enligt Figur 13.
Montera en insexskruv (⅜ x 2 ¼ tum) genom en bricka (⅜ tum) och hålet i drivaxeloket (Figur 13), och fäst skruven med en flänslåsmutter (⅜ tum).
Montera en insexskruv (⅜ x 2 ¼ tum) genom en bricka (⅜ tum) och hålet i drivaxeloket från motsatt riktning (Figur 13) och fäst skruven med en flänslåsmutter (⅜ tum).
Dra åt låsmuttrarna lite åt gången växelvis till 61 Nm.
Important: Se till att kraftuttagsaxelokets skruvar är åtdragna till det angivna åtdragningsmomentet. Om skruvarna inte dras åt ordentligt kommer viktiga komponenter att gå sönder i förtid.
Important: När du tar bort kraftuttagsaxeln från växellådan ska du använda nya skruvar och låsskruvar för att fästa axeln på växellådan.

Fäst slagen på lyftarmarna med hjälp av lyftarmsstiften och hjulsprintarna (Figur 30).
Delar som behövs till detta steg:
| Spjällfäste | 1 |
| Vagnsskruv (M8) | 6 |
| Flänsmutter (M8) | 6 |
Använd sex vagnsskruvar (M8), sex flänsmuttrar (M8) och spjällfästet för att fästa smutsskyddet på axelfästet.
Note: För att lättare få åtkomst till detta område kan du ta bort ett framhjul eller båda framhjulen. Se monteringsavsnittet i traktorenhetensbruksanvisning för instruktioner om hjulborttagning och montering.

Delar som behövs till detta steg:
| Skyddsenhet för kraftuttag | 1 |
| Skruv (⅜ x ¾ tum) | 2 |
| Bricka (⅜ tum) | 2 |
Montera skyddsenheten för kraftuttaget på växellådans ovansida enligt Figur 15.

Sensorn och sensorfästesplattan ska ha ett avstånd på 6 mm (0,24 tum) mellan sig (Figur 16).

Om det inte är rätt avstånd utför du följande steg för att justera sensorfästet:
Lossa låsmuttrarna som håller fast strömbrytaren på kopplingsfästet och justera det så att det blir rätt avstånd mellan sensorn och sensorplattan.
Dra åt sensorlåsmuttrarna från 19 till 21 Nm.
Justera viktöverföringen för redskapet. Se traktorenhetens bruksanvisning.
Se till att växellådan har rätt mängd smörjmedel. Se Kontrollera smörjoljenivån i växellådan.
Se till att svänghjulen är fyllda till 2–3,5 bar. Se Kontrollera svänghjulets tryck.
Smörj klippenheten före det första steget. SeSmörja klippenheten. Om du inte smörjer maskinen på rätt sätt kommer viktiga komponenter att gå sönder i förtid.
Använd traktorenhetens displayskärm för att aktivera vändläget. Se traktorenhetens bruksanvisning.
Important: Genom att använda vändläget på en utrustad slagklippare förhindrar du förtidigt slitage på drivlinan. Vändläget måste alltid vara på när du klipper med slagklipparen.
Note: Med vändläget kan du snabbt höja slagklipparen ovanför gräset när du gör en snabb sväng i slutet av en klipprunda (eller när du navigerar runt hinder) utan att behöva koppla ur kraftuttaget.
Innan du kopplar in kraftuttaget med en utrustad slaga ska du använda gasreglaget för traktorenheten för att ställa in motorn på medelhög hastighet. När du har kopplat in kraftuttaget använder du gasreglaget för att öka motorhastigheten till full hastighet.
Important: Genom att sänka motorhastigheten innan kraftuttaget kopplas in med slagan förhindrar du förtidigt slitage på drivlinan.
Använd skärmen för traktorenheten för att aktivera KRAFTUTTAGETS LåGHASTIGHETSLäGE. Se traktorenhetens bruksanvisning.
Note: KRAFTUTTAGETS LåGHASTIGHETS-läge drar automatiskt ner motorhastigheten när kraftuttaget är på, och höjer sedan automatiskt motorhastigheten till full hastighet.
Important: Genom att använda KRAFTUTTAGETS LåGHASTIGHETS-läge med slagklipparen förhindrar du förtidigt slitage på drivlinan.
Delar som behövs till detta steg:
| Distansbricka | 2 |
| Skruv (¼ x 1 ¼ tum) | 4 |
På traktorenheter utrustade med en hytt- och vägbelysningssats kan slagklipparen komma i kontakt med vägbelysningen. Undvik kontakt med vägbelysningen genom att montera distansbrickorna, så att lyftarmarna inte rör sig.
Under det främre chassit tar du bort de befintliga skruvarna (¼ tum) och gummiklossarna från chassit (Figur 17).
Kassera skruvarna och behåll klossarna.
Använd de nya skruvarna (¼ x 1 ¼ tum) för att fästa distansbrickorna och gummiklossarna på chassit (Figur 17).
Dra åt skruvarna tills huvudena är i jämn färg med gummiklossarna.

Note: Specifikationer och konstruktion kan komma att ändras utan föregående meddelande.
| Klippbredd |
1,52 m |
| Klipphöjd | Kan ställas in från 19 till 102 mm i steg om 13 mm |
| Totalvikt |
260 kg |
Det finns ett urval av redskap och tillbehör som tillverkaren har godkänt och som du kan använda för att förbättra och utöka maskinens kapacitet. Kontakta en auktoriserad återförsäljare, auktoriserad distributör av tillverkarens produkter eller gå till www.Toro.com för att se en lista över alla godkända redskap och tillbehör.
Använd endast originalreservdelar och tillbehör från Toro för att garantera optimal prestanda och fortlöpande säkerhet för produkten. Det kan vara farligt att använda reservdelar och tillbehör från andra tillverkare och det kan göra produktgarantin ogiltig.
Håll slagknivarna vassa och i gott skick för att säkerställa ett gott klippresultat, minimal energiförbrukning och en god klippkvalitet.
Klippenheten svävar för att följa markkonturerna.
Innan du aktiverar klippenheten ska du se till så att motorn är inställd på en lägre hastighet:
För traktormodellerna 31900, 31901, 31907 och 31909, seMinska motorhastigheten innan kraftuttaget slås på
För traktormodellerna 31902 och 31903, seAktivera kraftuttagets låghastighetsläge
Manövrera klippenheten med fullt motorvarvtal. Justera framåthastigheten efter gräsförhållandena så att inte klippenheten överbelastas. Ju lägre framåthastighet, desto bättre klippkvalitet och resultat efter klippningen.
Important: Se alltid till att klipphöjden är korrekt inställd enligt dessa instruktioner. Se till att både justeringsplattan och hjulgaffelns distansbrickor är inställda enligt tabellen. Underlåtenhet att göra detta kan resultera i förtidigt slitage på drivlinan och kraftiga vibrationer .
Note: Klipphöjden bestäms med hjälp av den bakre rullen och de främre svänghjulen. Knivslitage, däcktryck och böjda/skadade svänghjulsarmar kan påverka inställningen för klipphöjd.

Ställ maskinen på ett plant underlag, höj upp klippenheten och stötta upp den med pallbockar, stäng av motorn, koppla in parkeringsbromsen och ta ut nyckeln ur tändningslåset.
Se inställningstabellen för klipphöjd på klipphöjdsdekalen (Figur 19) för de vanligaste klipphöjdsinställningarna.

Justera positionen för klipphöjdsjusteringsplattan genom att ta bort muttrarna och skruvarna som håller fast plattan (Figur 20).
Montera skruvarna på de platser som anges i Figur 19 för önskad klipphöjd. Dra åt muttrarna till 60 Nm.

Justera hjulgaffelns position genom att ta bort klipphöjdslocken från de främre hjulaxlarna och justera antalet distansbrickor på vardera sidorna av hjulaxelns nav (Figur 19).
Note: Distansbrickor som placeras ovanför svänghjulsaxelns nav minskar klipphöjden, distansbrickor som placeras under navet ökar klipphöjden.
Montera spännlocken för klipphöjd.
| Underhållsintervall | Underhållsförfarande |
|---|---|
| Varje användning eller dagligen |
|
| Var 50:e timme |
|
Important: Om en enstaka kniv skadas ska både kniven och kniven mittemot tas bort och ersättas med ett nytt par för att balansen ska bibehållas.
Parkera maskinen på ett plant underlag, höj upp klippenheten, koppla in parkeringsbromsen, stäng av motorn och ta ut nyckeln ur tändningslåset.
Stötta upp den upphöjda klippenheten med pallbockar.
Kontrollera varje kniv avseende skador och ge särskilt akt på fästena, eggarna och monteringshålen (Figur 21). Byt ut alla skadade knivar och fästen.

Kontrollera varje kniv avseende överdrivet slitage med hjälp av slitagelinjen (Figur 22). När en kniv har slitits ned till slitagelinjen ska du byta ut kniven.

Se till att varje knivskruv är åtdragen till 45 Nm.
Fatta tag om varje kniv och se till att spelet i sidled inte överstiger 3 mm i endera riktningen från rotorn. Om spelet är större än 3 mm totalt ska du byta ut kniven.
Kontrollera varje par motsatta knivar avseende viktskillnad mellan dem.
Note: Viktavvikelsen mellan ett par motsatta knivar får inte vara mer än 10 gram.
En sliten eller skadad kniv kan gå sönder och en bit av kniven kan slungas ut mot dig eller någon kringstående, vilket kan leda till allvarliga personskador eller dödsfall.
Kontrollera om knivarna är slitna eller skadade med jämna mellanrum.
Byt ut slitna och skadade knivar.
Kör med motorn i det snabba gasläget och anpassa hastigheten efter omgivningen för att erhålla tillräcklig kraft till maskinen och klippenheten medan du klipper. Sänk markhastigheten när belastningen på klippenheterna ökar. Öka markhastigheten när belastningen på klippenheterna minskar.
Växla klippriktningen för att undvika att göra hjulspår i gräset över tiden. Det underlättar också fördelningen av det klippta gräset, vilket förbättrar nedbrytningen och gödningen.
Kör saktare för att få ett bättre klippresultat.
Om klippenhetens klippbredd är bredare än den var på den gräsklippare du använde tidigare så höjer du klipphöjden för att säkerställa att ojämnt gräs inte klipps för kort.
Klipp av cirka 25 mm eller högst ⅓ av grässtrået. Om du klipper ovanligt frodigt och tätt gräs kan du behöva sänka farten och/eller höja klipphöjdsinställningen ytterligare ett steg.
Klipp med en högre klipphöjdsinställning än vanligt om gräset tillåts växa högre än normalt eller om det är väldigt fuktigt. Klipp sedan gräset igen med den normala, lägre inställningen.
Rensa bort gräsklipp och smuts från klippenhetens undersida efter varje klippning. Om gräs och smuts ansamlas inuti klippenheten blir klippresultatet till slut inte tillfredsställande.
Minska brandrisken genom att inte låta gräs, löv och överflödigt smörjmedel ansamlas i motorn, ljuddämparen, batterifacket, parkeringsbromsen, klippenheten och förvaringsutrymmet för bränsle. Torka upp eventuellt olje- eller bränslespill.
Se till att hålla knivarna vassa under klippsäsongen, eftersom en vass kniv klipper rent utan att slita och rycka av grässtråna. Om gräset slits och rycks av gulnar det i ändarna, vilket minskar tillväxten och ökar risken för sjukdomar.
Kontrollera knivarna varje dag för att se till att de inte är slöa, slitna eller skadade. Slipa knivarna om så behövs.
Om en kniv är skadad eller sliten ska du omedelbart byta ut den mot en originalkniv från tillverkaren. Se Byta ut knivarna.
| Underhållsintervall | Underhållsförfarande |
|---|---|
| Efter de första 2 timmarna |
|
| Efter de första 10 timmarna |
|
| Varje användning eller dagligen |
|
| Var 50:e timme |
|
| Var 250:e timme |
|
| Var 400:e timme |
|
| Årligen |
|
Om du lämnar nyckeln i tändningslåset kan någon råka starta motorn av misstag och skada dig eller någon annan person allvarligt.
Ta ut nyckeln ur tändningslåset innan du utför något underhåll.
Kopiera sidan och använd den regelbundet.
| Kontrollpunkt | Vecka: | ||||||
|---|---|---|---|---|---|---|---|
| Mån. | Tis. | Ons. | Tors. | Fre. | Lör. | Sön. | |
| Kontrollera knivarnas skickoch rotorer. | |||||||
| Kontrollera klipphöjdsinställningen. | |||||||
| Kolla så att smutsskyddet inte är smutsigt eller skadat. | |||||||
| Rengör klippenheten. | |||||||
| Kontrollera de främre klaffarna. | |||||||
| Smörj alla smörjnipplarna.1 | |||||||
| Bättra på skadad lack. | |||||||
|
1. Omedelbart efter varje tvätt, oavsett intervallet i listan. |
|||||||
| Anteckningar om särskilda problem | ||
| Kontrollen utförd av: | ||
| Artikel | Datum | Information |
| Underhållsintervall | Underhållsförfarande |
|---|---|
| Varje användning eller dagligen |
|
Typ av fett: Litiumfett nr 2
Byt ut skadade smörjnipplar.
Se Figur 23 för placering av varje smörjnippelpar på klippenheten.

| Underhållsintervall | Underhållsförfarande |
|---|---|
| Var 50:e timme |
|
Växellådan är konstruerad för att drivas med bensin eller syntetisk olja av typen SAE 80–90. Även om växellådan levereras med olja från fabriken bör oljenivån kontrolleras innan klippenheten tas i drift. Växellådans kapacitet är 0,33 l.
Ställ maskinen på ett plant underlag, sänk ned klippenheten, koppla in parkeringsbromsen, stäng av motorn och ta ut nyckeln.
Ta ut ventilationspluggen från ovansidan av växellådan (Figur 24) och kontrollera att oljenivån ligger mellan påfyllnadsmarkeringarna på ventilationspluggens nedre del. Fyll på med olja så att nivån ligger mellan markeringarna, om nivån är låg.

Sätt i ventilationspluggen och dra åt till 9 Nm.
| Underhållsintervall | Underhållsförfarande |
|---|---|
| Var 400:e timme |
|
Ställ maskinen på ett plant underlag, sänk ned klippenheten, koppla in parkeringsbromsen, stäng av motorn och ta ut nyckeln.
Ställ ett kärl under växellådans avtappningsplugg (Figur 25).
Ta bort avtappningspluggen på den nedre vänstra sidan av växellådan och tappa ur oljan (Figur 25).

Sätt tillbaka avtappningspluggen och dra åt den till 20–27 Nm.
Ta ut ventilationspluggen från ovansidan av växellådan.
Fyll på växellådan med rätt växellådsolja och kontrollera med jämna mellanrum att smörjmedelsnivån är mellan de lägre påfyllningsmarkeringarna på ventilationspluggen. Se Kontrollera smörjoljenivån i växellådan.
När smörjmedlet är mellan de lägre påfyllningsmarkeringarna på ventilationspluggen ska du montera ventilationspluggen och dra åt den till 9 Nm.
| Underhållsintervall | Underhållsförfarande |
|---|---|
| Var 250:e timme |
|
Ställ maskinen på ett plant underlag, sänk ned klippenheten, koppla in parkeringsbromsen, stäng av motorn och ta ut nyckeln.
Lossa de fyra spärrskruvarna som fäster remkåpans över- och nederdel på maskinen (Figur 26).


Lossa, men ta inte bort, muttern till mellanremskivan (Figur 27).
Note: För att lossa muttern till mellanremskivan måste du hålla i skruven som fäster muttern på insidan av klippdäcket.
Justera muttern på mellanremsskivans stift för att spänna remmen (Figur 27).
Använd en enkelpipig spänningsmätare och tryck ned remmen för att kontrollera spänningen enligt följande (Figur 28):
Om det är en ny rem ska du kunna trycka ned den 5 mm med en kraft på 6,0–6,4 kg.
En använd rem ska du kunna trycka ned 5 mm med en kraft på 5,1–5,6 kg.

Justera muttern på mellanremskivans stift efter behov för att dra åt eller lossa remmen.
Rotera rotorn manuellt ett par varv och kontrollera remspänningen igen. Om spänningen är felaktig ska du kontrollera och justera tills den är korrekt.
Dra åt muttern till mellanremsskivan; åtdragningsmoment till 100 Nm.
Montera remkåpan (Figur 26).
| Underhållsintervall | Underhållsförfarande |
|---|---|
| Var 250:e timme |
|
Ställ maskinen på ett plant underlag, sänk ned klippenheten, koppla in parkeringsbromsen, stäng av motorn och ta ut nyckeln.
Ta bort remkåpan (Figur 26).
Dra åt ställskruvarna som fäster konlåsbussningarna till 30 Nm.

Montera remkåpan.
Ställ maskinen på ett plant underlag, sänk ned klippenheten, koppla in parkeringsbromsen, stäng av motorn och ta ut nyckeln.
Koppla loss kraftuttagsaxeloket från klippenhetens växellådsaxel enligt Figur 13.
Important: När du tar bort kraftuttagsaxeln från växellådan ska du använda nya skruvar och låsskruvar för att fästa axeln på växellådan.
Ta bort fästelementen som fäster smutsskyddet på traktorenhetens främre axelfäste (Figur 14).
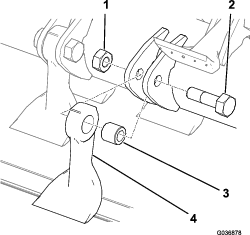
Ta bort hjulsprintarna och stiften som fäster klippenheten på lyftarmarna (Figur 30).

Flytta bort maskinen från klippenheten.
På svänghjulsarmarna har bussningar pressats in i den övre och nedre delen av röret, och efter många körtimmar slits dessa bussningar ut.
Kontrollera bussningarna genom att flytta hjulgafflarna bakåt och framåt och från ena sidan till den andra. Om svänghjulsspindeln är lös inuti bussningarna är bussningarna slitna och måste bytas ut.
Parkera maskinen på ett plant underlag, höj upp klippenheten och stötta upp den med pallbockar, koppla in parkeringsbromsen, stäng av motorn och ta ut nyckeln.
Ta bort spännlocket, distansbrickan eller -brickorna och tryckbrickan från svänghjulsspindelns ovansida.
Dra ut svänghjulsspindeln ur monteringsröret. Låt tryckbrickan och distansbrickan eller -brickorna sitta kvar längst ned på spindeln.
Skjut in ett pinndorn i monteringsrörets övre eller nedre del och skjut ut bussningen ur röret (Figur 31). Skjut också ut den andra bussningen ur röret. Rengör insidan på rören och ta bort all smuts.

Stryk på fett på insidan och utsidan av de nya bussningarna. Skjut in bussningarna i monteringsröret med en hammare och en platt skiva.
Undersök om svänghjulsspindeln är sliten och byt ut den om den är skadad.
Skjut svänghjulspindeln genom bussningarna och monteringsröret, skjut tryckbrickan och distansbrickorna på plats på spindeln och montera spännlocket på svänghjulspindeln.
| Underhållsintervall | Underhållsförfarande |
|---|---|
| Efter de första 2 timmarna |
|
| Efter de första 10 timmarna |
|
| Var 50:e timme |
|
Parkera maskinen på ett plant underlag, höj upp klippenheten och stötta upp den med pallbockar, koppla in parkeringsbromsen, stäng av motorn och ta ut nyckeln.
Lossa låsmuttern från skruven som fäster svänghjulet i hjulgaffeln (Figur 32). Fatta tag i svänghjulet och skjut ut skruven ur gaffeln eller svängarmen.
Ta bort lagret från hjulnavet och låt lagerdistansbrickan falla ut (Figur 32). Ta bort lagret från hjulnavets motsatta sida.
Kontrollera om lagren, distansbrickorna eller insidan av hjulnavet är slitna. Byt ut skadade delar.
Montera ihop svänghjulet igen genom att skjuta in lagret i hjulnavet. Tryck på den yttre lagerbanan när du monterar lagren.

Skjut in lagerdistansbrickan i hjulnavet. Skjut in det andra lagret i den öppna änden på hjulnavet så att lagerdistansbrickan sitter fast inuti hjulnavet.
Sätt svänghjulet i hjulgaffeln och fäst det med skruven och låsmuttern.
| Underhållsintervall | Underhållsförfarande |
|---|---|
| Var 50:e timme |
|
Se till att alla knivskruvar är korrekt åtdragna till 45 Nm.
| Underhållsintervall | Underhållsförfarande |
|---|---|
| Varje användning eller dagligen |
|
Se till att alla klaffar är oskadade och kan rotera fritt. Byt ut alla skadade klaffar.
Kraft som finns kvar i slagrotorsystemet kan orsaka personskador om slagrotorerna plötsligt rör sig när igensättningen rensas bort.
Försök aldrig att rotera eller rensa blockeringar från slagrotorerna för hand.
Använd alltid skyddshandskar och en trästav.
Kontrollera att trästaven passar i slagrotorn och är tillräckligt lång för att kunna rensa bort alla igensättningar.
Sätt kraftuttagsbrytaren i läget AV.
Parkera maskinen på ett plant underlag, ställ in gasreglaget på lågt motorvarvtal och koppla in parkeringsbromsen.
Höj klippenheten efter behov för att komma åt igensättningen.
Stäng av motorn, ta ut tändningsnyckeln och vänta tills alla rörliga delar har stannat.
Stötta upp den upphöjda klippenheten med pallbockar.
Använd en trästav för att försiktigt avlägsna igensättningen.
Important: Slagrotorn kan rotera när du rensar bort igensättningen.
Important: Undvik att använda för stor kraft när du tar bort igensättningen.
Ta bort trästaven från klippenheten innan du startar motorn.
Reparera eller justera klippenheten vid behov.
| Underhållsintervall | Underhållsförfarande |
|---|---|
| Var 50:e timme |
|
Se till att svänghjulen är fyllda till 2–3,5 bar.
| Underhållsintervall | Underhållsförfarande |
|---|---|
| Varje användning eller dagligen |
|
Du kontrollerar om rotorn vibrerar onormalt genom att köra klippenheten med fullt motorvarvtal.
Starta motorn och flytta maskinen till ett plant, öppet område på avstånd från eventuella åskådare.
Sänk ned klippenheten och koppla in parkeringsbromsen.
Aktivera kraftuttaget och kör motorn med full gas när du kontrollerar eventuella onormala rotorvibrationer.
Om rotorn vibrerar onormalt ska du utföra följande:
Ställ in gasreglaget på tomgång, stäng av krafttuttaget och höj upp klippenheten.
Stäng av motorn, ta ut nyckeln och vänta tills alla rörliga delar har stannat.
Kontrollera om följande föreligger på klippenheten:
Skräp som förhindrar att rotorn eller knivarna fungerar korrekt och ta bort eventuella blockeringar, se Rensa en igensatt rotor.
En skadad rotor eller utslitna rotorlager, se Kontrollera rotorlagren.
Skadade, obalanserade eller mycket slitna knivar eller knivar som saknas, se Slipa knivarna och Byta ut knivarna.
Important: Alla par av motstående knivar måste ha samma grad av slitage; obalanserade knivar kan påverka rotorns jämvikt.
Important: Om du inte kan korrigera orsaken till de onormala rotorvibrationerna ska du kontakta en auktoriserad Toro-återförsäljare.
| Underhållsintervall | Underhållsförfarande |
|---|---|
| Var 50:e timme |
|
Important: Använd handskar vid kontroll av rotorlagren.
Flytta maskinen till ett plant underlag och koppla in parkeringsbromsen.
Höj upp klippenheten, stäng av motorn, ta ut nyckeln och vänta tills alla rörliga delar har stannat.
Stötta upp klippenheten med pallbockar.
Greppa rotorn i respektive ände och kontrollera om det är för mycket spel i ändarna; om rotorn har för mycket ändspel kan den behöva bytas ut. Kontakta en auktoriserad Toro-återförsäljare.
| Underhållsintervall | Underhållsförfarande |
|---|---|
| Varje användning eller dagligen |
|
Inspektera smutsskyddet visuellt för eventuella skador och ta bort all smuts som har samlats på smutsskyddet.
Att använda en slipmaskin på ett osäkert sätt kan orsaka allvarliga personskador eller skador på egendom.
Kontrollera att personen som slipar knivarna har lämplig utbildning i hur man säkert använder en bärbar slipmaskin.
Använd en vinkelslipmaskin för att slipa den vinklade slipytan på baksidan av slagkniven (Figur 33).
Important: Slipa inte framsidan av slagkniven.
Håll eggen helt vågrät och den vinklade ytan platt mot marken när du slipar kniven (Figur 33).
Använd slipmaskinen försiktigt och se till att slagkniven inte blir varm, då mister stålet sin hårdhet.
Slipa aldrig knivarna bortom slitagelinjen som indikeras av fem prickar (Figur 33). Se till att alla slagknivar är lika vassa, så att rotorerna är balanserade.
Spara en ny kniv som referens och jämför med den när du slipar.

| Underhållsintervall | Underhållsförfarande |
|---|---|
| Årligen |
|
För jämviktens skull ska du endast byta ut knivarna som ett motsatspar eller hela rotorn på en gång. Byt även ut bussningen, skruven och låsmuttern när du byter ut en kniv. Det finns två tillgängliga servicesatser för knivbyte; se reservdelskatalogen.
Höj klippenheten och säkra den med pallbockar.
Koppla in parkeringsbromsen, stäng av motorn och ta ur nyckeln.
Vrid rotorn långsamt för hand så att varje rad av slagredskap är i önskad position och är lätta att komma åt.
Ta bort allt skräp från skruvhuvudet och muttern och rengör de utstickande gängorna med en stålborste.
Markera skruvhuvudets position så att du kan byta ut skruven från samma sida.
Håll kniven med en trasa eller tjock handske och avlägsna muttern, skruven, bussningen och kniven (Figur 34).
Note: Applicera vid behov penetrerande olja på gängorna så det blir lättare att skruva loss muttern.

Kassera kniven, bussningen, muttern och skruven.
Montera en ny kniv och bussning med en ny mutter och en ny knivskruv (Figur 34).
Note: Var uppmärksam på skruvhuvudets positionsmarkeringar så att du byter ut skruven i samma riktning.
Dra åt fästelementen till 45 Nm.
| Underhållsintervall | Underhållsförfarande |
|---|---|
| Varje användning eller dagligen |
|
Avlägsna dagligen allt gräs som har ansamlats under klippenheten.
Ställ maskinen på ett plant underlag, höj upp klippenheten till TRANSPORTLäGET, koppla in parkeringsbromsen, stäng av motorn och ta ut nyckeln.
Rengör noggrant klippenhetens undersida med vatten.
Ställ maskinen på ett plant underlag, höj upp klippenheten till TRANSPORTLäGET, koppla in parkeringsbromsen, stäng av motorn och ta ut nyckeln.
Rengör klippenheten noggrant och var särskilt uppmärksam på följande områden:
Klippenhetens undersida
Under klippenhetens remkåpa
Kraftuttagsaxeln
Samtliga smörjnipplar och upphängningspunkter
Kontrollera och justera trycket i traktorenhetens främre och bakre däck. Se traktorenhetens bruksanvisning.
Slipa alla knivar och byt ut skadade knivar efter behov. Se Slipa knivarna och Byta ut knivarna.
Kontrollera alla fästelement och dra åt dem om de är lösa.
Smörj eller olja samtliga smörjnipplar och svängpunkter och torka bort överflödigt fett. Se Smörja klippenheten.
I områden där färg har skrapats av, flagat eller rostat ska du sandpappra lätt och måla om. Reparera eventuella bucklor.