| Intervalo de assistência | Procedimento de manutenção |
|---|---|
| Em todas as utilizações ou diariamente |
|
| A cada 50 horas |
|
A plataforma de corte de relva com lâmina de mangual é montada em máquinas com operador montado e destina-se a ser utilizada por operadores profissionais contratados em aplicações comerciais. Foi principalmente concebida para cortar a relva em parques, campos desportivos e relvados comerciais bem mantidos. Se a máquina for utilizada para um fim diferente da sua utilização prevista, poderá pôr em perigo o utilizador e outras pessoas.
Leia estas informações cuidadosamente para saber como utilizar o produto, como efetuar a sua manutenção de forma adequada, evitar ferimentos pessoais e danos no produto. A utilização correta e segura do produto é da exclusiva responsabilidade do utilizador.
Visite www.Toro.com para mais informações sobre produtos e acessórios, para obter o contacto de um distribuidor ou registar o seu produto.
Sempre que necessitar de assistência, peças genuínas Toro ou informações adicionais, entre em contacto com um representante de assistência autorizado ou com a assistência ao cliente Toro, indicando os números de série e modelo do produto. A Figura 1 mostra onde se encontram os números de série e modelo do produto. Escreva os números no espaço fornecido.
Important: Com o seu dispositivo móvel, pode ler o código QR (se equipado) no autocolante com o número de série para aceder a informações sobre garantia, peças e outros produtos.

Este manual identifica potenciais perigos e tem mensagens de segurança identificadas pelo símbolo de alerta de segurança (Figura 2), que sinaliza um perigo que pode provocar ferimentos graves ou mesmo a morte, se não respeitar as precauções recomendadas.

Este manual utiliza duas palavras para destacar informações. Importante chama atenção para informações especiais de ordem mecânica e Nota sublinha informações gerais que requerem especial atenção.
Este produto cumpre todas as diretivas europeias relevantes. Para mais informações, consulte a Declaração de incorporação (DOI) no verso desta publicação.
CALIFÓRNIA
Proposição 65 Aviso
É do conhecimento do Estado da Califórnia que a utilização deste produto pode causar exposição a químicos que podem provocar cancro, defeitos congénitos ou outros problemas reprodutivos.
Esta máquina foi concebida de acordo com as normas ANSI B71.4-2017 e Diretiva de segurança 2006/46/CE.
Este produto pode provocar a amputação de mãos e pés. Respeite sempre todas as instruções de segurança, de modo a evitar ferimentos pessoais graves.
Leia e compreenda o conteúdo deste Manual do utilizador antes de ligar a máquina.
Tenha toda a atenção durante a operação da máquina. Não faça qualquer atividade que cause distrações; caso contrário, podem ocorrer ferimentos ou danos materiais.
Não coloque as mãos ou os pés perto de componentes em movimento da máquina.
Não opere a máquina sem que todos os resguardos e outros dispositivos protetores de segurança estejam instalados e a funcionar corretamente na máquina.
Mantenha-se afastado de qualquer abertura de descarga.
Mantenha as crianças e outras pessoas afastadas da área de funcionamento. Nunca permita que crianças utilizem a máquina.
Antes de sair da posição de operador, faça o seguinte:
Estacione a máquina numa superfície plana.
Baixe as unidades de corte
Desengate as transmissões.
Ajuste o travão de estacionamento (se equipado).
Desligue o motor e retire a chave.
Aguarde que todo o movimento pare.
A utilização ou manutenção inadequada
desta máquina pode provocar ferimentos. De modo a reduzir o
risco de ferimentos, deverá respeitar estas instruções
de segurança e prestar sempre atenção ao símbolo
de alerta de segurança
, que indica Cuidado, Aviso ou Perigo –
instrução de segurança pessoal. O não
cumprimento destas instruções pode resultar em ferimentos
pessoais ou mesmo em morte.
A unidade de corte é apenas uma máquina completa quando instalada numa unidade de tração. Leia o Manual do utilizador da unidade de tração cuidadosamente para obter instruções completas sobre a utilização segura da máquina.
Pare a máquina, retire a chave (se equipada), desça a unidade de corte e aguarde que todas as peças móveis parem antes de inspecionar o acessório depois de atingir um objeto ou se existir uma vibração anormal na máquina. Efetue todas as reparações necessárias antes de retomar o funcionamento.
Mantenha todas as peças em boas condições de trabalho e as partes corretamente apertadas. Substitua todos os autocolantes gastos ou danificados.
Utilize apenas acessórios e peças de substituição aprovados pelo fabricante.
Uma lâmina desgastada ou danificada pode partir-se, podendo levar à projeção de um fragmento contra o utilizador ou alguém que esteja por perto e provocar lesões graves ou até mesmo a morte.
Inspecione periodicamente se as lâminas apresentam sinais de desgaste ou danos.
Tome todas as precauções necessárias quando efetuar a verificação das lâminas. Envolva as lâminas ou utilize luvas e tome todas as precauções necessárias quando efetuar a manutenção das lâminas. As lâminas só devem ser substituídas ou afiadas.
![]() |
Os autocolantes de segurança e instruções estão facilmente visíveis para o operador e situam-se próximo das zonas de potencial perigo. Substitua todos os autocolantes danificados ou perdidos. |









Note: Guarde todas as peças excepto se indicado em contrário.
Estacione a máquina numa superfície nivelada, desengate a PTO, mova os braços de elevação para a posição mais baixa, engate o travão de estacionamento, desligue o motor e retire a chave.
Aguarde que todo o movimento pare e aguarde que a máquina arrefeça antes de a ajustar, limpar, guardar ou reparar.
Se estiver equipada uma unidade de corte, remova a unidade de corte dos braços de elevação da máquina, consulte o Manual do utilizador da sua unidade de corte.
Certifique-se de que o eixo da transmissão da tomada de força está alinhado corretamente; consulte o procedimento de alinhamento do eixo de transmissão da tomada de força no Manual do utilizador da sua unidade de tração.
Important: Se as marcas no eixo da transmissão não estiverem alinhadas, pode ocorrer desequilíbrio grave no sistema da transmissão.
Se estiverem instalados braços de elevação na unidade de tração, remova os braços da seguinte forma:
Eleve a frente da máquina e remova as rodas frontais da máquina; consulte o Manual do utilizador da sua unidade de tração.
Remova os dois parafusos de carroçaria e duas porcas (⅜ pol.) que prendem o suporte do sensor ao braço de elevação direito (Figura 3).
Remova os dois parafusos (⅜ x 1¼ pol.), duas porcas (⅜ pol.) e dois pinos pequenos que prendem os braços de elevação aos cilindros (Figura 3).
Remova as porcas e parafusos que prendem os pinos grandes aos braços de elevação como se mostra na Figura 4.
Remova os braços de elevação e pinos grandes da estrutura da máquina (Figura 5).



Peças necessárias para este passo:
| Forquilha da roda giratória | 2 |
| Parafuso da roda giratória | 2 |
| Rolamento | 4 |
| Espaçador do rolamento | 2 |
| Porca de bloqueio grande | 2 |
| Braço da roda giratória | 2 |
| Parafuso de carroçaria (M10) | 12 |
| Porca de bloqueio (M10) | 12 |
| Tampa de tensionamento | 2 |
| Espaçadores da altura de corte | 14 |
| Calço | 4 |
Monte as rodas giratórias na forquilha das rodas giratórias como se mostra na Figura 6.
Note: Utilize apenas o furo do eixo superior; não ajuste a posição da roda giratória.

Monte cada braço da roda giratória na unidade de corte com seis parafusos de carroçaria (M10) e seis porcas de bloqueio (M10) como se mostra na Figura 7; aperte a porca de bloqueio com uma força de 47 a 57 N·m.

Monte as rodas giratórias na unidade de corte com um calço em ambos os lados do cubo do eixo da roda giratória como se mostra na Figura 8.
Note: Pode ajustar a definição da altura de corte alterando a quantidade de espaçadores em qualquer dos lados do cubo do eixo da roda giratória; consulte a Ajuste da altura de corte.

Certifique-se de que a plataforma está nivelada; mova a plataforma para uma superfície nivelada e coloque um nível na horizontal na parte superior da plataforma.
Se a plataforma não estiver nivelada, posicione calços na roda giratória de acordo com o necessário até que fique nivelada.
Peças necessárias para este passo:
| Resguardo de detritos | 1 |
| Suporte | 1 |
| Rebite | 5 |
Utilize cinco rebites para instalar o suporte e resguardo de detritos no eixo frontal (Figura 9).

Peças necessárias para este passo:
| Braço de elevação | 2 |
| Pino grande | 2 |
| Parafuso comprido (⅜ x 2¾ pol.) | 2 |
| Porca (⅜ pol.) | 6 |
| Pino pequeno | 2 |
| Parafuso (⅜ pol. x 1¼ pol.) | 2 |
| Parafuso de carroçaria (⅜ x 1¼ pol.) | 2 |
| Parafuso de cabeça sextavada interior (⅜ x 2¼ pol.) | 2 |
| Anilha (⅜ pol.) | 2 |
| Porca de bloqueio flangeada (⅜ pol.) | 2 |
| Pino do braço de elevação | 2 |
| Pinos de sujeição | 2 |
| Suporte do sensor | 1 |
Eleve a frente da máquina e remova os pneus frontais da máquina; consulte o Manual do utilizador da sua unidade de tração.
Instale os braços de elevação e pinos grandes na estrutura da máquina (Figura 10).

Prenda o pino grande no braço de elevação utilizando um par de porcas e parafusos como se mostra na Figura 11.

Prenda cada extremidade da barra do cilindro em cada braço de elevação com um pequeno pino, parafusos (⅜ x 1¼ pol.) e porca (⅜ pol.) como se mostra na Figura 12.
Note: Rode manualmente o braço de elevação para o alinhar com a extremidade da barra do cilindro.
Prenda o suporte do sensor no braço de elevação direito utilizando dois parafusos de carroçaria e duas porcas (⅜ pol.) como se mostra na Figura 12.

Certifique-se de que o suporte do sensor não interfere com o sensor; consulte a Ajuste do suporte do sensor.
Ao instalar o suporte do sensor, rode o suporte para cima (como se mostra na Figura 12) antes de o fixar.
Alinhe a unidade de corte na frente da estrutura da máquina e eixo da PTO.
Realize os passos seguintes para instalar o eixo da PTO na unidade de corte.
Instale a culatra do eixo da PTO no eixo da caixa de velocidades da unidade de corte como se mostra na Figura 13.
Monte um parafuso de cabeça sextavada interior (⅜ x 1¼ pol.) através de uma anilha (⅜ pol.) e o orifício na culatra da transmissão (Figura 13) e fixe o parafuso de cabeça cilíndrica com uma porca de bloqueio flangeada (⅜ pol.).
Monte um parafuso de cabeça sextavada interior (⅜ x 2¼ pol.) através de uma anilha (⅜ pol.) e o orifício na culatra da transmissão a partir da direção oposta (Figura 13) e fixe o parafuso de cabeça cilíndrica com uma porca de bloqueio flangeada (⅜ pol.).
Torça cada vez mais as porcas de bloqueio a 61 N∙m num padrão alternado.
Important: Certifique-se de que os parafusos da culatra do veio da tomada de força estão bem apertados a um binário específico. Não realizar um aperto adequado aos parafusos pode causar uma falha prematura de peças vitais.
Important: Sempre que retirar o eixo da tomada de força da caixa de velocidades, utilize novos parafusos e porcas de bloqueio para fixar o eixo à caixa de velocidades.

Prenda o mangual nos braços de elevação utilizando os pinos de elevação e pinos de sujeição (Figura 30).
Peças necessárias para este passo:
| Montagem da pala | 1 |
| Parafuso de carroçaria (M8) | 6 |
| Porca flangeada (M8) | 6 |
Utilize seis parafusos de carroçaria (M8), seis porcas flangeadas (M8) e a montagem da pala para fixar a aba de detritos ao suporte do eixo.
Note: Para facilitar o acesso a esta área, pode remover uma roda dianteira ou ambas as rodas dianteiras. Consulte a secção Configuração no Manual do utilizador da unidade de tração para obter as instruções de remoção e instalação.

Peças necessárias para este passo:
| Conjunto da proteção da PTO | 1 |
| Parafuso (⅜ x ¾ pol.) | 2 |
| Anilha (⅜ pol.) | 2 |
Instale o conjunto da proteção da PTO na parte superior da caixa de velocidades como se mostra na Figura 15.

O sensor e a placa do suporte do sensor devem ter uma folga de 6 mm entre si (Figura 16).

Se a folga estiver incorreta, execute os seguintes passos para ajustar o suporte do sensor:
Desaperte as porcas de bloqueio que prendem o interruptor ao suporte do interruptor e ajuste-o de forma a que exista uma folga correta entre o sensor e a placa do sensor.
Aperte as porcas de bloqueio do sensor com 19 a 21 N∙m.
Ajuste a transferência de peso do acessório; consulte o Manual do utilizador da unidade de tração.
Verifique se a caixa de velocidades tem a quantidade certa de lubrificante; consulte a Verificação do lubrificante na caixa de velocidades.
Certifique-se de que os pneus da roda giratória estão cheios com 2 a 3,5 bar; consulte a Verificação da pressão da roda giratória.
Lubrifique a unidade de corte antes da primeira operação; consulte a Lubrificação da unidade de corte. Não realizar uma lubrificação adequada pode causar uma falha prematura de peças vitais.
Utilize o ecrã de visualização da unidade de tração para engatar o modo de viragem; consulte o Manual do utilizador da sua unidade de tração.
Important: A utilização do modo de viragem com um cortador de mangual equipado ajuda a prevenir o desgaste prematuro da linha de transmissão. Deve ter sempre o modo de viragem ativado quando cortar com o mangual.
Note: O modo de viragem permite levantar rapidamente o cortador de mangual por cima da relva ao completar uma curva rápida no final de uma passagem de corte (ou enquanto passa em torno de obstáculos) sem desengatar a PTO.
Antes de engatar a PTO com um mangual equipado, use o controlo de aceleração da unidade de tração para ajustar o motor a uma velocidade média. Uma vez engatada a PTO, utilize o controlo do acelerador para aumentar a velocidade do motor até à velocidade máxima.
Important: A redução da velocidade do motor antes de engatar a PTO com o mangual ajuda a evitar o desgaste prematuro da linha da transmissão.
Utilize o ecrã de visualização da unidade de tração para engatar o modo TOMADA DE FORçA – ENGATAR RPM BAIXAS; consulte o Manual do utilizador da sua unidade de tração.
Note: TOMADA DE FORçA – ENGATAR RPM BAIXAS o modo reduz automaticamente a velocidade do motor quando a PTO é engatada, depois aumenta automaticamente a velocidade do motor para a velocidade máxima.
Important: Utilizaão do modo TOMADA DE FORçA – ENGATAR RPM BAIXAS com o mangual ajuda a prevenir o desgaste prematuro da linha da transmissão.
Peças necessárias para este passo:
| Espaçador | 2 |
| Parafuso (¼ x 1¼ pol.) | 4 |
Para as unidades de tração equipadas com um kit de cabina e um kit de luzes de estrada, o cortador de mangual poderia contactar as luzes da estrada. Para evitar o contacto com as luzes da estrada, instale os espaçadores para restringir o movimento dos braços do elevador.
Por baixo do chassis frontal, remova os parafusos (¼ pol.) e as almofadas de borracha existentes do chassis (Figura 17).
Deite fora os parafusos e guarde as almofadas.
Utilize os novos parafusos (¼ x 1¼ pol.) para fixar os espaçadores e as almofadas de borracha ao chassis (Figura 17).
Aperte os parafusos até que as cabeças estejam niveladas com as almofadas de borracha.

Note: As especificações e o desenho do produto estão sujeitos a alterações sem aviso prévio.
| Largura de corte |
152 cm |
| Altura de corte | Ajustável de 19 a 102 mm em incrementos de 13 mm |
| Peso líquido |
260 kg |
Está disponível uma seleção de engates e acessórios aprovados pelo fabricante para utilização com a máquina, para melhorar e expandir as suas capacidades. Contacte o seu representante de assistência autorizado ou distribuidor Toro autorizado ou vá a www.Toro.com para obter uma lista de todos os acessórios aprovados.
Para se certificar do máximo desempenho e da continuação da certificação de segurança da máquina, utilize apenas acessórios e peças sobressalentes genuínos da Toro. Os acessórios e peças sobressalentes produzidos por outros fabricantes poderão tornar-se perigosos e a sua utilização pode anular a garantia do produto.
Mantenha as lâminas do mangual afiadas e em boas condições para assegurar um bom desempenho de corte, consumo energético mínimo e uma boa qualidade de corte.
A unidade de corte flutua para seguir os contornos do terreno.
Antes de engatar a unidade de corte, assegure-se de que o motor está regulado para uma velocidade reduzida:
Unidades de tração modelos 31900, 31901, 31907 e 31909: Consulte Redução da velocidade do motor antes de engatar a PTO
Unidades de tração modelos 31902 e 31903: Consulte Engate do modo Tomada de força – engatar RPM baixas
Opere a unidade de corte na velocidade máxima do motor. Ajuste a velocidade para a frente para se adequar às condições da relva e não sobrecarregar a unidade de corte. Quanto mais baixa for a velocidade, melhor é a qualidade de corte e a aparência após o corte.
Important: Certifique-se sempre de que a altura de corte é definida corretamente de acordo com estas instruções. Assegure que tanto a placa de ajuste como os espaçadores da forquilha da roda são ajustados de acordo com a tabela. Não o fazer pode causar desgaste prematuro na linha da transmissão e vibração excessiva.
Note: A altura de corte é determinada pelo rolo traseiro e rodas giratórias frontais. O desgaste da lâmina, pressão dos pneus e braços da roda giratória dobrados/danificados podem afetar a definição da altura de corte.

Coloque a máquina numa superfície nivelada, eleve a unidade de corte e apoie-a em macacos, desligue o motor, engate o travão de estacionamento e retire a chave da ignição.
Consulte a tabela de definição da altura de corte no autocolante da altura de corte (Figura 19) para obter as definições comuns da altura de corte.

Para ajustar a posição da placa de ajuste da altura de corte, retire as porcas e os parafusos que fixam a placa (Figura 20).
Instale os parafusos nos locais especificados em Figura 19 para a altura de corte desejada; aperte as porcas com 60 N∙m.

Para ajustar a posição da forquilha da roda, remova as tampas da altura de corte dos eixos das rodas giratórias frontais e ajuste a quantidade de espaçadores em ambos os lados do cubo do eixo da roda giratória (Figura 19).
Note: Os espaçadores colocados acima do cubo do eixo da roda giratória diminuem a altura, os espaçadores colocados abaixo do cubo aumentam a altura de corte.
Instale a tampas de tensionamento da altura de corte.
| Intervalo de assistência | Procedimento de manutenção |
|---|---|
| Em todas as utilizações ou diariamente |
|
| A cada 50 horas |
|
Important: No caso de uma única lâmina estar danificada, tanto essa lâmina como a lâmina oposta devem ser removidas e substituídas como um par para manter o equilíbrio.
Estacione a máquina numa superfície nivelada, eleve a unidade de corte, engate o travão de estacionamento, desligue o motor e retire a chave da ignição.
Suporte a unidade de corte elevada com macacos.
Inspecione cada lâmina para detetar danos, dando particular atenção aos fixadores, à extremidade de corte e ao orifício de instalação (Figura 21). Substitua todas as lâminas e fixadores danificados.

Inspecione cada lâmina para detetar desgaste excessivo utilizando a linha de desgaste (Figura 22). Quando uma lâmina estiver gasta até à linha, substitua a lâmina.

Certifique-se de que cada parafuso da lâmina é apertado com 45 N∙m.
Segure cada lâmina e certifique-se de que não existe mais de 3 mm de movimento livre em qualquer direção a partir do disco. Se existir mais de 3 mm de movimento livre em qualquer direção, substitua a lâmina.
Verifique a diferença de peso em cada par de lâminas opostas.
Note: Cada par de lâminas opostas não deve ter uma diferença de peso superior a 10 g.
Uma lâmina desgastada ou danificada pode partir-se, podendo levar à projeção de um fragmento contra o utilizador ou alguém que esteja por perto e provocar lesões graves ou até mesmo a morte.
Inspecione periodicamente se as lâminas apresentam sinais de desgaste ou danos.
Substitua as lâminas gastas ou danificadas.
Para manter uma potência suficiente da máquina e da unidade de corte ao cortar, opere o motor na posição de acelerador mais rápida e ajuste a velocidade consoante as condições. Diminua a velocidade à medida que a carga na unidade de corte aumentar. Aumente a velocidade à medida que a carga na unidade de corte diminuir.
Alterne a direção de corte para evitar fazer carreiras com o decorrer do tempo. Isto também ajuda a dispersar as aparas de relva o que melhora a decomposição e a fertilização.
Para melhorar a qualidade do corte, utilize uma velocidade mais lenta.
Se a largura de corte da unidade de corte for mais larga do que o cortador que utilizou anteriormente, aumente a altura de corte para garantir que a relva irregular não fica demasiado curta.
Retire cerca de 25 mm ou não exceda 1/3 das folhas da relva ao cortar. Em casos de relva excecionalmente viçosa e densa, poderá optar por abrandar a velocidade de avanço e/ou subir a altura de corte para a configuração imediatamente a seguir.
Se a relva crescer ligeiramente mais do que o normal ou se estiver muito húmida, utilize uma altura de corte superior ao normal e corte e recolha a relva com esta configuração. Depois, volte a cortar a relva utilizando a altura de corte mais pequena habitual.
Limpe as aparas e a sujidade da parte de baixo da unidade de corte após cada utilização. Se se acumularem relva e sujidade dentro da unidade de corte, a qualidade do corte fica insatisfatória.
Para reduzir o risco de incêndio, mantenha o motor, abafador, compartimento da bateria, travão de mão, unidade de corte e o compartimento do depósito de combustível sem folhas e ervas ou lubrificante em excesso. Limpe as zonas que tenham óleo ou combustível derramado.
Mantenha as lâminas afiadas em toda época de corte; uma lâmina afiada corta direito sem rasgar nem estragar as folhas da relva. Quando se rasga ou danifica a relva, esta fica castanha nas extremidades, cresce mais devagar e torna-se mais suscetível a doenças.
Verifique as lâminas diariamente para ver se estão afiadas, se estão gastas ou danificadas. Afie as lâminas se for necessário.
Se uma lâmina estiver danificada ou gasta, substitua-a imediatamente por uma lâmina sobressalente genuína do fabricante. Consulte Substituição das lâminas.
| Intervalo de assistência | Procedimento de manutenção |
|---|---|
| Após as pimeiras 2 horas |
|
| Após as pimeiras 10 horas |
|
| Em todas as utilizações ou diariamente |
|
| A cada 50 horas |
|
| A cada 250 horas |
|
| A cada 400 horas |
|
| Anualmente |
|
Se deixar a chave na ignição, alguém pode ligar acidentalmente o motor e feri-lo a si ou às pessoas que se encontrarem próximo da máquina.
Retire a chave da ignição antes de fazer qualquer revisão.
Copie esta página para uma utilização de rotina.
| Verificações de manutenção | Para a semana de: | ||||||
|---|---|---|---|---|---|---|---|
| Seg. | Ter. | Qua. | Qui. | Sex. | Sáb. | Dom. | |
| Verifique o estado das lâminase dos discos. | |||||||
| Verifique a definição da altura do corte. | |||||||
| Verifique a aba de detritos quanto a detritos ou danos. | |||||||
| Limpe a unidade de corte. | |||||||
| Verificação das abas frontais. | |||||||
| Aplique lubrificante em todos os bocais de lubrificação.1 | |||||||
| Retoque a pintura danificada. | |||||||
|
1. Imediatamente após cada lavagem, independentemente do intervalo previsto. |
|||||||
| Notas sobre zonas problemáticas | ||
| Inspeção executada por: | ||
| Item | Data | Informação |
| Intervalo de assistência | Procedimento de manutenção |
|---|---|
| Em todas as utilizações ou diariamente |
|
Tipo de lubrificante: Massa n.º 2 à base de lítio
Substitua todos os bocais de lubrificação.
Consulte a Figura 23 para obter o local de cada par de locais de lubrificação na unidade de corte.

| Intervalo de assistência | Procedimento de manutenção |
|---|---|
| A cada 50 horas |
|
A caixa de velocidades foi concebida para funcionar com o lubrificante para engrenagens a petróleo ou sintético SAE 80W-90. Apesar de a caixa de velocidades ser enviada com lubrificante de fábrica, verifique o seu nível antes de operar a unidade de corte. A capacidade de óleo da caixa de velocidades é de 0,33 litros.
Coloque a máquina numa superfície nivelada, baixe a unidade de corte até ao solo, engate o travão de estacionamento, desligue o motor e retire a chave da ignição.
Retire o tampão de respiro da parte superior da caixa de velocidades (Figura 24) e verifique se há lubrificante entre as marcas de enchimento na parte inferior do tampão de respiro. Se o nível de lubrificante estiver baixo, adicione lubrificante suficiente até o nível ficar entre as marcas.

Instale o tampão de respiro e aperte com uma força de 9 N∙m.
| Intervalo de assistência | Procedimento de manutenção |
|---|---|
| A cada 400 horas |
|
Coloque a máquina numa superfície nivelada, baixe a unidade de corte até ao solo, engate o travão de estacionamento, desligue o motor e retire a chave da ignição.
Coloque um tabuleiro por baixo do tampão de escoamento na caixa de velocidades (Figura 25).
Remova o tampão de escoamento no lado esquerdo inferior da caixa de velocidades e deixe o fluido drenar (Figura 25).

Instale o tampão de drenagem e aperte-o com 20 a 27 N·m.
Retire o tampão de respiro da parte de cima da caixa de velocidades.
Encha a caixa de velocidades com o lubrificante correto, verificando periodicamente se o lubrificante se encontra entre as marcas de enchimento inferiores no tampão do respiro; consulte a Verificação do lubrificante na caixa de velocidades.
Quando o lubrificante estiver entre as marcas de enchimento inferiores no tampão do respiro, instale o tampão do respiro e aperte-o com 9 N·m.
| Intervalo de assistência | Procedimento de manutenção |
|---|---|
| A cada 250 horas |
|
Coloque a máquina numa superfície nivelada, baixe a unidade de corte até ao solo, engate o travão de estacionamento, desligue o motor e retire a chave da ignição.
Desaperte os quatro parafusos cativos que prendem a parte superior e inferior a cobertura da correia à máquina (Figura 26).


Desaperte, mas não remova, a porca da polia intermédia (Figura 27).
Note: Para desapertar a porca da polia intermédia, vai necessitar de segurar o parafuso que prende no sítio no interior da plataforma.
Ajuste a porca na coluna da polia intermédia para tensionar a correia (Figura 27).
Utilizando um medidor de tensão de um cilindro, empurre para baixo a correia para verificar a tensão da seguinte forma (Figura 28):
Para uma nova correia, deve conseguir empurrar a correia para baixo 5 mm utilizando 6 a 6,4 kg de força.
Para uma correia utilizada, deve conseguir empurrar a correia para baixo 5 mm utilizando 5,1 a 5,6 kg de força.

Ajuste a porca na coluna da polia intermédia consoante o necessário para apertar ou desapertar a correia.
Rode o disco manualmente algumas voltas e verifique novamente a tensão da correia; se a tensão estiver incorreta, verifique e ajuste até que esteja correta.
Aperte a porca da polia intermédia; aperte com 47 a 100 N∙m.
Instale a cobertura da correia (Figura 26).
| Intervalo de assistência | Procedimento de manutenção |
|---|---|
| A cada 250 horas |
|
Coloque a máquina numa superfície nivelada, baixe a unidade de corte até ao solo, engate o travão de estacionamento, desligue o motor e retire a chave da ignição.
Remova a cobertura da correia (Figura 26).
Aperte os parafusos de afinação que prendem os casquilhos Taperlock com 30 N∙m.

Coloque a cobertura da correia.
Coloque a máquina numa superfície nivelada, baixe a unidade de corte até ao solo, engate o travão de estacionamento, desligue o motor e retire a chave da ignição.
Desligue a culatra do eixo da PTO do eixo da caixa de velocidades da unidade de corte como se mostra na Figura 13.
Important: Sempre que retirar o eixo da tomada de força da caixa de velocidades, utilize novos parafusos e porcas de bloqueio para fixar o eixo à caixa de velocidades.
Retire os fixadores que prendem a aba dos detritos ao suporte do eixo dianteiro da unidade de tração (Figura 14).
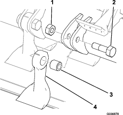
Remova os pinos de sujeição e pinos que prendem a unidade de corte aos braços de elevação (Figura 30).

Mova a máquina afastando-a da unidade de corte.
Os braços da roda giratória possuem casquilhos apertados no topo e no fundo da tubagem, que podem desgastar-se após muitas horas de utilização.
Para verificar os casquilhos, desloque a forquilha da roda giratória para a frente e para trás e para os lados. Se o fuso da roda giratória estiver solto, significa que os casquilhos estão gastos e devem ser substituídos.
Coloque a máquina numa superfície nivelada, eleve e suporte a unidade de corte com macacos, engate o travão de estacionamento, desligue o motor e retire a chave da ignição.
Retire a tampa de tensionamento, espaçador(es) e anilha de apoio do cimo do fuso da roda giratória.
Retire o fuso da roda giratória para fora do tubo de montagem. Mantenha a arruela de apoio e o(s) espaçador(es) no fundo do fuso.
Introduza um punção para cavilhas na zona superior ou inferior do tubo de montagem e retire o casquilho para fora do tubo (Figura 31). Retire igualmente o outro casquilho do tubo. Limpe o interior dos tubos para remover a sujidade.

Aplique lubrificante no interior e exterior dos novos casquilhos. Introduza os casquilhos nos tubos de montagem, utilizando um martelo e uma placa plana.
Verifique se o fuso da roda giratória apresenta desgaste e substitua-o se estiver danificado.
Empurre o eixo da roda giratória através dos casquilhos e tubo de montagem, deslize a anilha de encosto e espaçador(es) no eixo e instale a tampa de tensionamento no fuso da roda giratória.
| Intervalo de assistência | Procedimento de manutenção |
|---|---|
| Após as pimeiras 2 horas |
|
| Após as pimeiras 10 horas |
|
| A cada 50 horas |
|
Coloque a máquina numa superfície nivelada, eleve e suporte a unidade de corte com macacos, engate o travão de estacionamento, desligue o motor e retire a chave da ignição.
Retire a porca de bloqueio do parafuso que fixa o conjunto da roda, no respetivo suporte (Figura 32). Fixe a roda giratória e retire o parafuso da forquilha ou do braço articulado.
Retire o rolamento do cubo da roda e deixe cair o espaçador do rolamento para fora (Figura 32). Retire o rolamento do lado oposto ao do cubo da roda.
Verifique se existe algum desgaste nos rolamentos, no espaçador e no interior do cubo da roda. Substitua todas as peças danificadas.
Para montar a roda giratória, basta pressionar o rolamento para dentro do cubo da roda. Quando montar os rolamentos, pressione a corrediça exterior dos mesmos.

Introduza o espaçador do rolamento no cubo da roda. Pressione o outro rolamento contra à extremidade aberta do cubo da roda para encaixar o respetivo espaçador dentro do cubo da roda.
Monte a estrutura da roda giratória entre a forquilha da roda giratória e fixe-a nessa posição com o parafuso e a porca de bloqueio.
| Intervalo de assistência | Procedimento de manutenção |
|---|---|
| A cada 50 horas |
|
Certifique-se de que todos os parafusos da lâmina são apertados com 45 N∙m.
| Intervalo de assistência | Procedimento de manutenção |
|---|---|
| Em todas as utilizações ou diariamente |
|
Certifique-se de que todas as abas não estão danificadas e que rodam livremente; substitua todas e quaisquer abas danificadas.
A potência residual no sistema do rotor do mangual pode dar origem a ferimentos provocados pelo movimento repentino dos discos do mangual quando a obstrução for libertada.
Nunca tente rodar ou eliminar o bloqueio dos discos do mangual à mão.
Use sempre luvas de proteção e um poste de madeira.
Certifique-se de que o poste de madeira encaixa no disco do mangual e de que é suficientemente comprido para permitir alavancagem suficiente para libertar a obstrução.
Regule o interruptor da tomada de força para a posição DESLIGAR.
Estacione a máquina numa superfície plana, coloque o controlo do acelerador na posição de baixa velocidade e engate o travão de estacionamento.
Eleve a unidade de corte o necessário para aceder ao bloqueio.
Desligue o motor, remova a chave da ignição e aguarde que todas as peças em movimento parem.
Suporte a unidade de corte elevada com macacos.
Utilize um poste de madeira para remover o bloqueio.
Important: O disco do mangual pode rodar quando libertar o bloqueio.
Important: Evite utilizar força excessiva quando remover o bloqueio.
Retire o poste de madeira da unidade de corte antes de ligar o motor.
Repare ou ajuste a unidade de corte, se necessário.
| Intervalo de assistência | Procedimento de manutenção |
|---|---|
| A cada 50 horas |
|
Certifique-se de que os pneus da roda giratória estão cheios com 2 a 3,5 bar.
| Intervalo de assistência | Procedimento de manutenção |
|---|---|
| Em todas as utilizações ou diariamente |
|
Para verificar se existe alguma vibração invulgar no disco, coloque em movimento cada unidade de corte à vez nas rpm máximas.
Ligue o motor e mova a máquina para uma área aberta e plana, afastada de pessoas.
Desça a unidade de corte e engate o travão de estacionamento.
Engate a PTO e ligue o motor a velocidade total observando se existe qualquer vibração invulgar.
Se a vibração for invulgar, faça o seguinte:
Coloque o acelerador ao ralenti, desligue a PTO e eleve a unidade de corte.
Desligue o motor, retire a chave e aguarde que todas as partes em movimento parem.
Verifique a unidade de corte no que diz respeito ao seguinte:
Detritos que impeçam o disco ou as lâminas de operar corretamente e remova quaisquer bloqueios; consulte Desobstrução de um disco bloqueado.
Um disco danificado ou rolamentos gastos do disco; consulte Verificação dos rolamentos do disco.
Lâminas em falta, danificadas, desequilibradas ou excessivamente gastas; consulte a Afiação das lâminas e Substituição das lâminas.
Important: Todos os pares de lâminas opostas têm de ter uma quantidade de desgaste semelhante; lâminas desequilibradas podem afetar o equilíbrio do disco.
Important: Se não puder corrigir a causa da vibração invulgar do disco, contacte o distribuidor Toro autorizado.
| Intervalo de assistência | Procedimento de manutenção |
|---|---|
| A cada 50 horas |
|
Important: Utilize luvas ao verificar os rolamentos do disco.
Mova a máquina para uma superfície plana e engate o travão de estacionamento.
Levante a unidade de corte, desligue o motor, retire a chave e espere até todas as peças em movimento parem.
Suporte a unidade de corte com macacos.
Segure o disco em cada extremidade e verifique se há folga excessiva da extremidade; se o disco tiver uma folga excessiva, pode ser necessário substitui-lo; contacte o distribuidor Toro autorizado.
| Intervalo de assistência | Procedimento de manutenção |
|---|---|
| Em todas as utilizações ou diariamente |
|
Inspecione visualmente a aba de detritos para detetar quaisquer danos e remover quaisquer detritos que tenham sido recolhidos na aba de detritos.
Utilizar uma afiadora de uma forma pouco ou nada segura pode causar ferimentos pessoais graves ou danos materiais.
Certifique-se de que a pessoa que afia as lâminas teve formação adequada sobre a utilização segura de uma afiadora manual.
Utilize um amolador de ângulos para afiar a superfície de afiamento da lâmina na parte posterior da lâmina de mangual (Figura 33).
Important: Não afie a face frontal da lâmina.
Enquanto afia a lâmina, mantenha a extremidade de corte perfeitamente na horizontal e a superfície angular em contacto com o solo (Figura 33).
Utilize a afiadora delicadamente e assegure que o mangual não fica quente; se assim não for, o aço perde a sua dureza.
Nunca afie as lâminas para além da linha de desgaste que é indicada pelos 5 pontos (Figura 33). Certifique-se de que todas as lâminas de mangual são igualmente afiadas para manter o equilíbrio de cada rotor.
Tenha uma lâmina nova como referência e observe-a quando estiver a afiar.

| Intervalo de assistência | Procedimento de manutenção |
|---|---|
| Anualmente |
|
Para manter o equilíbrio, substitua as lâminas apenas como par oposto ou disco completo de cada vez. Substitua também o casquilho, o parafuso e a porca de bloqueio quando substituir uma lâmina. Existem dois kits de manutenção de lâminas para substituição das lâminas; verifique o Catálogo de peças.
Eleve a unidade de corte e prenda-o com macacos.
Engate o travão de estacionamento, desligue o motor e retire a chave.
Rode o disco lentamente à mão para que cada fila de manguais fique na posição pretendida e possa aceder facilmente às mesmas.
Retire os detritos da cabeça do parafuso e da porca e limpe as roscas com uma escova.
Marque a posição da cabeça do parafuso para que possa substituir os parafusos do mesmo lado.
Segurando a lâmina com um trapo ou uma luva acolchoada, retire a porca, o parafuso, o casquilho e a lâmina (Figura 34).
Note: Se for necessário, aplique óleo nas roscas para ser mais fácil retirar a porca.

Elimine a lâmina, o casquilho, a porca e o parafuso.
Instale a nova lâmina e o casquilho com uma nova porca e parafuso da lâmina (Figura 34).
Note: Preste atenção às marcas da posição da cabeça do parafuso para que o parafuso seja substituído na mesma direção.
Aperte os fixadores com uma força de 45 N·m.
| Intervalo de assistência | Procedimento de manutenção |
|---|---|
| Em todas as utilizações ou diariamente |
|
Retire a relva acumulada sob unidade de corte diariamente.
Estacione a máquina numa superfície nivelada, eleve a unidade de corte para a posição de TRANSPORTE, engate o travão de estacionamento, desligue o motor e retire a chave da ignição.
Limpe muito bem a parte de baixo da unidade de corte com água.
Estacione a máquina numa superfície nivelada, eleve a unidade de corte para a posição de TRANSPORTE, engate o travão de estacionamento, desligue o motor e retire a chave da ignição.
Limpe bem a unidade de corte, prestando especial atenção às seguintes zonas:
Zona inferior da unidade de corte
Zona inferior da cobertura da correia da unidade de corte
Conjunto do veio da tomada de força
Todos os bocais de lubrificação e pontos de articulação
Verifique e ajuste a pressão dos pneus frontais e traseiros da unidade de tração; consulte o Manual do operador da unidade de tração.
Afie todas as lâminas e substitua quaisquer lâminas danificadas, como necessário; consulte Afiação das lâminas e Substituição das lâminas.
Verifique todos os dispositivos de fixação para ver se estão soltos e aperte-os conforme necessário.
Lubrifique todos os bocais de lubrificação e pontos de articulação e limpe qualquer excesso de lubrificante; consulte Lubrificação da unidade de corte.
Lixe ligeiramente e retoque a pintura de todas as zonas pintadas que estejam riscadas, estaladas ou enferrujadas. Repare qualquer marca.