| Huoltoväli | Huoltotoimenpide |
|---|---|
| Aina ennen käyttöä tai päivittäin |
|
| 50 käyttötunnin välein |
|
Tämä varstateräinen leikkuupöytä asennetaan ajoleikkuriin, ja se on tarkoitettu ammattimaiseen kaupalliseen käyttöön. Se on tarkoitettu pääasiassa puistojen, urheilukenttien ja kaupallisten kiinteistöjen viheralueiden ruohonleikkuuseen. Tuotteen käyttäminen muuhun kuin sen aiottuun käyttötarkoitukseen voi olla vaarallista käyttäjälle ja sivullisille.
Lue nämä tiedot huolellisesti, jotta oppisit käyttämään ja huoltamaan laitetta asianmukaisesti sekä välttämään tapaturmia ja tuotevaurioita. Olet itse vastuussa tuotteen asianmukaisesta ja turvallisesta käytöstä.
Käy osoitteessa www.Toro.com, jos tarvitset tuoteturvallisuuteen ja käyttökoulutukseen liittyviä materiaaleja, tietoja lisävarusteista tai lähimmästä jälleenmyyjästä tai haluat rekisteröidä tuotteesi.
Aina kun tarvitset huoltoa, alkuperäisiä Toro-varaosia tai lisätietoja, ota yhteys valtuutettuun huoltoliikkeeseen tai Toron asiakaspalveluun. Ota tällöin tuotteen malli- ja sarjanumerot valmiiksi esiin. Kuva 1 näyttää laitteen malli ja sarjanumeron sijainnin. Kirjoita numerot annettuun tilaan.
Important: Skannaamalla sarjanumerokilvessä olevan QR-koodin (jos varusteena) mobiililaitteella saat tuotetietoja sekä takuu- ja varaosatietoja.

Tässä käyttöoppaassa esiintyvä varoitusmerkintä (Kuva 2) ilmaisee vaaratilannetta, josta saattaa olla seurauksena vakava tapaturma tai jopa kuolema, jos suositellut varotoimenpiteet laiminlyödään.

Tässä käyttöoppaassa käytetään kahta termiä tietojen korostamiseksi. Tärkeää kiinnittää huomiota mekaanisiin erikoistietoihin ja Huomautus korostaa erityishuomion ansaitsevia yleistietoja.
Tämä tuote on asiaankuuluvien eurooppalaisten direktiivien mukainen. Lisätietoja on tämän julkaisun lopussa olevassa liittämisvakuutuksessa.
KALIFORNIA
Lakiesityksen 65 mukainen varoitus
Tämän tuotteen käyttäminen voi altistaa kemikaaleille, jotka Kalifornian osavaltion tietojen mukaan aiheuttavat syöpää, synnynnäisiä epämuodostumia tai muuta lisääntymiseen liittyvää haittaa.
Tämä kone on suunniteltu standardin ANSI B71.4-2017 ja turvallisuusdirektiivin 2006/46/EY mukaisesti.
Tämä tuote voi katkaista jalan tai käden. Noudata aina kaikkia turvallisuusohjeita, jotta vakavilta loukkaantumisilta vältytään.
Ennen kuin käynnistät koneen, varmista, että olet lukenut tämän käyttöoppaan ja ymmärtänyt sen sisällön.
Koneen käyttö vaatii käyttäjän täyden huomion. Jos käyttäjän huomio keskittyy muualle, saattaa seurata henkilö- tai omaisuusvahinko.
Älä laita käsiä tai jalkoja koneen liikkuvien osien lähelle.
Älä käytä konetta ilman paikallaan olevia ja asianmukaisesti toimivia suojuksia ja muita suojalaitteita.
Älä mene heittoaukkojen eteen.
Älä päästä sivullisia ja lapsia käyttöalueelle. Älä anna lasten käyttää konetta.
Ennen käyttäjän paikalta poistumista:
Pysäköi kone tasaiselle alustalle.
Laske leikkuuyksikkö/-yksiköt.
Vapauta käytöt.
Kytke seisontajarru (jos on).
Sammuta moottori ja irrota virta-avain.
Odota, että kaikki liikkuvat osat ovat pysähtyneet.
Laitteen asiaton käyttö tai huolto voi aiheuttaa tapaturman.
Vähennä loukkaantumisriskiä noudattamalla näitä
turvallisuusohjeita ja huomioimalla aina varoitusmerkki
, joka tarkoittaa varoitusta,
vaaraa tai hengenvaaraa – henkilöturvallisuusohjeet. Ohjeiden
laiminlyönti saattaa johtaa henkilövahinkoon tai kuolemaan.
Leikkuuyksikkö on kokonainen kone vasta sitten, kun se on asennettu ajoyksikköön. Lue ajoyksikön käyttöoppaasta huolellisesti kaikki koneen turvallista käyttöä koskevat ohjeet.
Jos kone osuu esteeseen tai tärisee epätavallisesti, pysäytä kone, irrota virta-avain (jos on), laske leikkuuyksikkö ja odota, että kaikki liike on pysähtynyt, ennen kuin tarkastat lisälaitteen. Suorita tarvittavat korjaukset ennen koneen käytön jatkamista.
Pidä kaikki osat hyvässä kunnossa ja kaikkien laitteiden kiinnitykset tiukalla. Vaihda kaikki kuluneet tai vaurioituneet tarrat.
Käytä vain valmistajan hyväksymiä lisävarusteita, lisälaitteita ja varaosia.
Kulunut tai vaurioitunut terä voi rikkoutua ja terän pala voi sinkoutua käyttäjään tai ohikulkijaan päin, mikä voi aiheuttaa vakavan henkilövahingon tai kuoleman.
Terät on tarkistettava säännöllisesti kulumisen ja vaurioiden varalta.
Ole varovainen, kun tarkastat teriä. Kiedo terien ympärille esimerkiksi kangas tai käytä käsineitä ja noudata varovaisuutta teriä huoltaessasi. Terät on ainoastaan vaihdettava tai teroitettava.
![]() |
Turva- ja ohjetarrat on sijoitettu hyvin näkyville paikoille mahdollisten vaara-alueiden lähettyville. Korvaa vioittuneet tai kadonneet tarrat uusilla. |









Note: Säilytä kaikki poistetut osat, ellei toisin mainita.
Pysäköi kone tasaiselle alustalle, vapauta voimanulosotto, siirrä nostovarret alimpaan asentoon, kytke seisontajarru, sammuta moottori ja irrota virta-avain.
Odota, että kaikki liikkuvat osat pysähtyvät, ja anna koneen jäähtyä ennen sen säätämistä, puhdistamista, varastoimista tai korjaamista.
Jos leikkuuyksikkö on asennettu, irrota leikkuuyksikkö koneen nostovarsista. Katso lisätietoja leikkuuyksikön käyttöoppaasta.
Varmista, että voimanulosoton vetoakseli on kohdistettu oikein. Katso voimanulosoton vetoakselin kohdistusohjeet ajoyksikön käyttöoppaasta.
Important: Jos vetoakselin merkinnät eivät ole kohdistettuina, voimansiirtojärjestelmässä voi ilmetä voimakasta epätasapainoa.
Jos vaakatasoleikkuuyksikön nostovarret on asennettu ajoyksikköön, irrota nostovarret seuraavasti:
Nosta koneen etuosaa ja irrota etupyörät koneesta. Katso ajoyksikön käyttöopas.
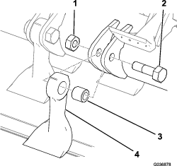
Irrota kaksi lukkopulttia ja kaksi mutteria (⅜ tuumaa), joilla anturin kannake on kiinnitetty oikeanpuoleiseen nostovarteen (Kuva 3).
Irrota kaksi pulttia (⅜ × 1-¼ tuumaa), kaksi mutteria (⅜ tuumaa) ja kaksi pientä tappia, joilla nostovarret on kiinnitetty sylintereihin (Kuva 3).
Irrota mutteri ja pultit, joilla suuret tapit on kiinnitetty nostovarsiin, kuvan mukaisesti (Kuva 4).
Irrota nostovarret ja suuret tapit koneen rungosta (Kuva 5).



Vaiheeseen tarvittavat osat:
| Kääntöpyörän haarukka | 2 |
| Kääntöpyörän pultti | 2 |
| Laakeri | 4 |
| Laakerin välikappale | 2 |
| Suuri lukkomutteri | 2 |
| Kääntöpyörän varsi | 2 |
| Lukkopultti (M10) | 12 |
| Lukkomutteri (M10) | 12 |
| Kiristyskanta | 2 |
| Leikkuukorkeuden välikappaleet | 14 |
| Välilevy | 4 |
Kiinnitä kääntöpyörät kääntöpyörän haarukkaan kuvan mukaisesti (Kuva 6).
Note: Käytä vain ylempää akseliaukkoa. Älä säädä kääntöpyörän sijaintia.

Kiinnitä jokainen kääntöpyörän varsi leikkuuyksikköön kuudella lukkopultilla (M10) ja kuudella lukkomutterilla (M10) kuvan mukaisesti (Kuva 7). Kiristä lukkomutterit momenttiin 47–57 N·m.

Kiinnitä kääntöpyörät leikkuuyksikköön siten, että kääntöpyörän akselin navan molemmilla puolilla on välilevy kuvan mukaisesti (Kuva 8).
Note: Voit säätää leikkuukorkeusasetusta muuttamalla kääntöpyörän akselin navan molemmin puolin olevien välikappaleiden määrää. Katso kohta Leikkuukorkeuden säätö.

Varmista, että leikkuupöytä on vaakasuorassa. Siirrä leikkuupöytä tasaiselle alustalle ja aseta vesivaaka vaakasuuntaan leikkuupöydän yläosan poikki.
Jos leikkuupöytä ei ole vaakasuorassa, aseta välilevyjä kääntöpyörän akseliin, kunnes se on vaakasuorassa.
Vaiheeseen tarvittavat osat:
| Roskasuojus | 1 |
| Kannatin | 1 |
| Niitti | 5 |
Asenna kannatin ja roskasuojus etuakseliin viidellä niitillä (Kuva 9).

Vaiheeseen tarvittavat osat:
| Nostovarsi | 2 |
| Suuri tappi | 2 |
| Pitkä pultti (⅜ × 2-¾ tuumaa) | 2 |
| Mutteri (⅜ tuumaa) | 6 |
| Pieni tappi | 2 |
| Pultti (⅜ × 1¼ tuumaa) | 2 |
| Lukkopultti (⅜ × 1¼ tuumaa) | 2 |
| Kuusiokantaruuvi (⅜ × 2-¼ tuumaa) | 2 |
| Aluslaatta (⅜ tuumaa) | 2 |
| Laippalukkomutteri (⅜ tuumaa) | 2 |
| Nostovarren tappi | 2 |
| Lukitussokat | 2 |
| Anturin kannake | 1 |
Nosta koneen etuosaa ja irrota eturenkaat koneesta. Katso ajoyksikön käyttöopas.
Asenna nostovarret ja suuret tapit koneen runkoon (Kuva 10).

Kiinnitä suuri tappi nostovarteen mutterilla ja pultilla kuvan mukaisesti (Kuva 11).

Kiinnitä sylinteritangon päät nostovarsiin pienellä tapilla, pultilla (⅜ × 1-¼ tuumaa) ja mutterilla (⅜ tuumaa) kuvan mukaisesti (Kuva 12).
Note: Käännä nostovartta manuaalisesti ja kohdista se sylinteritangon päähän.
Kiinnitä anturin kannake oikeanpuoleiseen nostovarteen kahdella lukkopultilla ja kahdella mutterilla (⅜ tuumaa) kuvan mukaisesti (Kuva 12).

Varmista, että anturin kannake ei aiheuta häiriötä anturiin. Katso kohta Anturin kannakkeen säätö.
Kun asennat anturin kannaketta, käännä kannake ylös kuvan mukaisesti ennen kiinnitystä (Kuva 12).
Kohdista leikkuuyksikkö koneen rungon ja voimanulosoton akselin eteen.
Asenna voimanulosoton akseli leikkuuyksikköön seuraavasti:
Asenna voimanulosoton akselin haarukka leikkuuyksikön vaihteiston akseliin kuvan mukaisesti (Kuva 13).
Asenna kuusiokantaruuvi (⅜ × 2-¼ tuumaa) aluslaatan (⅜ tuumaa) läpi ja vetoakselin haarukassa (Kuva 13) olevan reiän läpi ja kiinnitä kantaruuvi laippalukkomutterilla (⅜ tuumaa).
Asenna kuusiokantaruuvi (⅜ × 2¼ tuumaa) aluslaatan (⅜ tuumaa) läpi ja vetoakselin haarukassa (Kuva 13) olevan reiän läpi vastakkaisesta suunnasta ja kiinnitä kantaruuvi laippalukkomutterilla (⅜ tuumaa).
Kiristä lukkomutterit asteittain ja vuorotellen momenttiin 61 N·m.
Important: Varmista, että voimanulosoton akselin haarukan pultit on kiristetty määritettyyn momenttiin. Jos pultteja ei kiristetä oikein, tärkeät osat vioittuvat ennenaikaisesti.
Important: Aina kun irrotat voimanulosoton akselin vaihteistosta, asenna akseli takaisin vaihteistoon uusilla kantaruuveilla ja lukkomuttereilla.

Kiinnitä varsta nostovarsiin nostovarren tapeilla ja lukitussokilla (Kuva 30).
Vaiheeseen tarvittavat osat:
| Läpän kiinnike | 1 |
| Lukkopultti (M8) | 6 |
| Laippamutteri (M8) | 6 |
Asenna roskasuojus akselin kannattimeen kuudella lukkopultilla (M8), kuudella laippamutterilla (M8) ja läpän kiinnikkeellä.
Note: Voit irrottaa etupyörän tai molemmat etupyörät helpottamaan pääsyä tälle alueelle. Katso pyörän irrotus- ja asennusohjeet ajoyksikön käyttöoppaan käyttöönottoa käsittelevästä kohdasta.

Vaiheeseen tarvittavat osat:
| Voimanulosoton suojuskokoonpano | 1 |
| Ruuvi (⅜ × ¾ tuumaa) | 2 |
| Aluslaatta (⅜ tuumaa) | 2 |
Asenna voimanulosoton suojuskokoonpano vaihteiston yläosaan kuvan mukaisesti (Kuva 15).

Anturin ja anturin kannakelevyn välissä on oltava 6 mm:n välys (Kuva 16).

Jos välys on virheellinen, säädä anturin kannaketta seuraavasti:
Löysää lukkomutterit, joilla kytkin on asennettu kytkimen kannattimeen, ja säädä sitä siten, että anturin ja anturilevyn välissä on oikea välys.
Kiristä anturin lukkomutterit momenttiin 19–21 N·m.
Säädä lisälaitteen painonsiirtoa. Katso ajoyksikön käyttöopas.
Varmista, että vaihteistossa on oikea määrä voiteluainetta. Katso kohta Vaihteiston voiteluaineen tarkistus.
Varmista, että kääntöpyörät täytetään paineeseen 2–3,5 bar. Katso kohta Kääntöpyörien rengaspaineen tarkistus.
Rasvaa leikkuuyksikkö ennen ensimmäistä käyttökertaa. Katso kohta Leikkuuyksikön voitelu. Koneen rasvauksen laiminlyönti saattaa aiheuttaa tärkeiden osien ennenaikaisen vioittumisen.
Ota kääntötila käyttöön ajoyksikön näytöstä. Katso ajoyksikön käyttöopas.
Important: Kääntötilan käyttö varusteena olevan varstaleikkurin kanssa auttaa estämään voimansiirron ennenaikaista kulumista. Kääntötilan on aina oltava käytössä, kun leikkuuseen käytetään varstaa.
Note: Kääntötilassa voit nostaa varstaleikkurin nopeasti nurmen yläpuolelle, kun teet nopean käännöksen leikkuuväylän lopussa (tai kun kierrät esteitä) ilman voimanulosoton poiskytkentää.
Ennen kuin kytket voimanulosoton varstaa käytettäessä, säädä moottori keskinopeudelle ajoyksikön kaasuvivulla. Kun olet kytkenyt voimanulosoton, nosta moottorin nopeus täydelle nopeudelle kaasuvivulla.
Important: Moottorin nopeuden alentaminen ennen voimanulosoton kytkentää varstaa käytettäessä auttaa estämään voimansiirron ennenaikaista kulumista.
Ota ALH. RPM PTO KYTK. -tila käyttöön ajoyksikön näytöstä. Katso ajoyksikön käyttöopas.
Note: ALH. RPM PTO KYTK. -tila alentaa automaattisesti moottorin nopeutta, kun voimanulosotto on kytkettynä, ja nostaa sitten automaattisesti moottorin nopeuden täydelle nopeudelle.
Important: ALH. RPM PTO KYTK. -tilan käyttäminen varstan kanssa auttaa estämään voimansiirron ennenaikaista kulumista.
Vaiheeseen tarvittavat osat:
| Välikappale | 2 |
| Ruuvi (¼ × 1-¼ tuumaa) | 4 |
Jos ajoyksikössä on ohjaamosarja ja tievalosarja, varstaleikkuri voi osua tievaloihin. Jotta se ei koskettaisi tievaloja, asenna välikappaleet rajoittamaan nostovarsien liikkumista.
Irrota etualustan alla olevat ruuvit (¼ tuumaa) ja kumipalat alustasta (Kuva 17).
Ruuveja ei enää tarvita, mutta säilytä kumipalat.
Asenna välikappaleet ja kumipalat alustaan uusilla ruuveilla (¼ × 1-¼ tuumaa) (Kuva 17).
Kiristä ruuveja, kunnes niiden päät ovat samalla tasolla kumipalojen kanssa.

Note: Ominaisuuksia ja rakennetta voidaan muuttaa ilmoittamatta.
| Leikkuuleveys |
1,52 m |
| Leikkuukorkeus | Säädettävissä 19–102 mm:n korkeudelle 13 mm:n välein |
| Nettopaino |
260 kg |
Koneeseen on saatavana valikoima valmistajan hyväksymiä lisälaitteita ja -varusteita, joiden avulla voidaan parantaa ja laajentaa sen ominaisuuksia. Ota yhteys valtuutettuun huoltoliikkeeseen tai valtuutettuun Toro-jälleenmyyjään tai siirry osoitteeseen www.Toro.com, jossa on luettelo hyväksytyistä lisälaitteista ja -varusteista.
Käytä vain aitoja Toro-varaosia ja -lisävarusteita, jotta kone toimisi parhaalla mahdollisella tavalla ja sen turvasertifiointi pysyisi voimassa. Muiden valmistajien varaosat ja lisävarusteet voivat osoittautua vaarallisiksi, ja niiden käyttö voi johtaa tuotteen takuun raukeamiseen.
Pidä varstaterät terävinä ja hyvässä käyttökunnossa, jotta leikkuutulos on mahdollisimman hyvä ja tehonkulutus on mahdollisimman pientä.
Leikkuuyksikkö kelluu ja seuraa maanpinnan muotoja.
Varmista ennen leikkuuyksikön kytkemistä, että moottori on asetettu alhaiselle nopeudelle:
Ajoyksikkömallit 31900, 31901, 31907 ja 31909: katso Moottorin nopeuden alentaminen ennen voimanulosoton kytkentää.
Ajoyksikkömallit 31902 ja 31903: katso Alh. RPM PTO kytk. -tilan kytkeminen.
Käytä leikkuuyksikköä täydellä moottorin nopeudella. Säädä ajonopeus nurmiolosuhteisiin sopivaksi ja niin, että leikkuuyksikkö ei ylikuormitu. Hitaampi ajonopeus merkitsee laadukkaampaa leikkuujälkeä.
Important: Varmista aina, että leikkuukorkeus on asetettu oikein näiden ohjeiden mukaisesti. Varmista, että sekä säätölevy että kääntöpyörän haarukan välikappaleet on asetettu taulukon mukaan. Jos näin ei tehdä, voimansiirto voi kulua ennenaikaisesti ja aiheuttaa liiallista tärinää.
Note: Leikkuukorkeus määritetään takarullalla ja etukääntöpyörillä. Terän kuluminen, rengaspaine ja taipuneet/vaurioituneet kääntöpyörien varret voivat vaikuttaa leikkuukorkeuden asetukseen.

Pysäköi kone tasaiselle alustalle, nosta leikkuuyksikkö ja tue se pukeilla, sammuta moottori, kytke seisontajarru ja irrota avain virtalukosta.
Yleiset leikkuukorkeusasetukset on esitetty leikkuukorkeuden tarran (Kuva 19) leikkuukorkeusasetusten taulukossa.

Jos haluat säätää leikkuukorkeuden säätölevyn asentoa, irrota mutterit ja pultit, joilla levy on asennettu (Kuva 20).
Asenna pultit kuvassa (Kuva 19) määritettyihin sijainteihin halutulle leikkuukorkeudelle. Kiristä mutterit momenttiin 60 N·m.

Jos haluat säätää kääntöpyörän haarukan asentoa, irrota leikkuukorkeuden kannat etukääntöpyörien akseleista ja säädä välikappaleiden määrää kääntöpyörän akselin navan molemmin puolin (Kuva 19).
Note: Kääntöpyörän akselin navan yläpuolelle asetut välikappaleet vähentävät leikkuukorkeutta, navan alapuolelle sijoitetut välikappaleet lisäävät leikkuukorkeutta.
Asenna leikkuukorkeuden kiristyskannat.
| Huoltoväli | Huoltotoimenpide |
|---|---|
| Aina ennen käyttöä tai päivittäin |
|
| 50 käyttötunnin välein |
|
Important: Jos yksittäinen terä vaurioituu, vaurioitunut terä ja sitä vastapäätä oleva terä on poistettava ja vaihdettava parina, jotta tasapaino säilyy.
Pysäköi kone tasaiselle alustalle, nosta leikkuuyksikkö, kytke seisontajarru, sammuta moottori ja irrota avain virtalukosta.
Tue nostettu leikkuuyksikkö pukeilla.
Tarkista jokainen terä vaurioiden varalta ja kiinnitä erityistä huomiota kiinnikkeisiin, leikkuusärmään ja asennusaukkoon (Kuva 21). Vaihda kaikki vaurioituneet terät ja kiinnikkeet.

Tarkista jokainen terä liiallisen kulumisen varalta käyttäen kulumislinjaa (Kuva 22). Vaihda terä, jos se on kulunut kulumislinjaan saakka.

Varmista, että kaikki teräpultit on kiristetty momenttiin 45 N·m.
Tartu kuhunkin terään ja varmista, että vapaata liikettä kumpaankin suuntaan roottorista on yhteensä enintään 3 mm. Jos vapaata liikettä on yli 3 mm, vaihda terä.
Tarkista kaikkien vastakkaisten terien välinen painoero.
Note: Vastakkaisten terien painoero saa olla enintään 10 g.
Kulunut tai vaurioitunut terä voi rikkoutua ja terän pala voi sinkoutua käyttäjään tai ohikulkijaan päin, mikä voi aiheuttaa vakavan henkilövahingon tai kuoleman.
Terät on tarkistettava säännöllisesti kulumisen ja vaurioiden varalta.
Kulunut tai vaurioitunut terä on vaihdettava.
Jotta koneen ja leikkuuyksikön käytössä olisi tarpeeksi tehoa leikkauksen aikana, pidä kaasu Nopea-asennossa ja säädä ajonopeutta olosuhteiden mukaan. Vähennä ajonopeutta, kun leikkuuyksikön kuormitus kasvaa. Lisää ajonopeutta, kun leikkuuyksikön kuormitus vähenee.
Vaihtele ajosuuntaa, jotta nurmeen ei muodostu vakoja ajan mittaan. Tämä helpottaa myös leikkuujätteen levittämistä, joka puolestaan edistää maatumista ja lannoitusta.
Leikkuujäljen laatua voi parantaa käyttämällä alhaisempaa ajonopeutta.
Jos leikkuuyksikön leikkuuleveys on leveämpi kuin ennen käyttämässäsi leikkurissa, nosta leikkuukorkeutta, jotta et leikkaa epätasaista nurmea liian lyhyeksi.
Leikkaa yhden leikkuun aikana noin 25 mm tai korkeintaan 1/3 ruohon korkeudesta. Poikkeuksellisen rehevässä ja tiheässä ruohikossa ajonopeutta on ehkä hidastettava ja/tai leikkuukorkeutta korotettava seuraavaksi korkeimpaan asetukseen.
Jos ruohon annetaan kasvaa hieman normaalia pidemmäksi tai se on hyvin kosteaa, leikkaa ruoho tavallista korkeammalla leikkuukorkeusasetuksella. Leikkaa ruoho sitten uudelleen normaalia, alempaa asetusta käyttäen.
Poista leikkuujätteet ja lika leikkuuyksikön alapuolelta aina käytön jälkeen. Jos leikkuuyksikön sisälle kertyy ruohoa ja likaa, leikkuujäljestä tulee ennen pitkää epätyydyttävä.
Puhdista moottori, äänenvaimennin, akkutila, seisontajarru, leikkuuyksikkö ja polttoaineen säilytysalue ruohosta, lehdistä tai liiallisesta rasvasta palovaaran vähentämiseksi. Puhdista öljy- ja polttoaineroiskeet.
Pidä terät terävinä koko leikkuukauden ajan. Terävä terä leikkaa ruohon siistimmin ruohonkorsia repimättä. Repeytymien vuoksi ruohon reunat muuttuvat ruskeiksi, mikä heikentää kasvua ja altistaa kasvisairauksille.
Tarkista päivittäin, että terät ovat terävät ja että ne eivät ole kuluneet tai vaurioituneet. Teroita terät tarpeen vaatiessa.
Jos terä on vaurioitunut tai kulunut, vaihda se välittömästi aitoon Toro-vaihtoterään. Katso Terien vaihto.
| Huoltoväli | Huoltotoimenpide |
|---|---|
| 2 ensimmäisen käyttötunnin jälkeen |
|
| 10 ensimmäisen käyttötunnin jälkeen |
|
| Aina ennen käyttöä tai päivittäin |
|
| 50 käyttötunnin välein |
|
| 250 käyttötunnin välein |
|
| 400 käyttötunnin välein |
|
| Vuosittain |
|
Jos jätät avaimen virtalukkoon, joku voi vahingossa käynnistää moottorin ja vahingoittaa vakavasti lähellä olijoita.
Irrota avain virtalukosta ennen huollon aloitusta.
Ota tästä sivusta kopioita.
| Tarkistettavat kohdat | Viikolle: | ||||||
|---|---|---|---|---|---|---|---|
| Ma | Ti | Ke | To | Pe | La | Su | |
| Tarkista terien kunto.ja roottorien kunto. | |||||||
| Tarkista leikkuukorkeusasetus. | |||||||
| Tarkista, että roskasuojuksessa ei ole roskia tai vaurioita. | |||||||
| Puhdista leikkuuyksikkö. | |||||||
| Tarkista etuläpät. | |||||||
| Voitele kaikki rasvanipat.1 | |||||||
| Korjaa maalipinnan vauriot. | |||||||
|
1. Välittömästi jokaisen pesun jälkeen, luettelon mukaisesta huoltovälistä riippumatta. |
|||||||
| Todetut viat | ||
| Tarkastuksen suoritti: | ||
| Vika | Päivämäärä | Huomio |
| Huoltoväli | Huoltotoimenpide |
|---|---|
| Aina ennen käyttöä tai päivittäin |
|
Rasvatyyppi: litiumpohjainen yleisrasva nro 2
Vaihda vaurioituneet rasvanipat.
Katso kaikkien leikkuuyksikön rasvanippaparien sijainnit kuvasta (Kuva 23).

| Huoltoväli | Huoltotoimenpide |
|---|---|
| 50 käyttötunnin välein |
|
Vaihteistossa on käytettävä maaöljypohjaista tai synteettistä SAE 80W–90 -vaihteistoöljyä. Vaikka vaihteisto toimitetaan tehtaalta voiteluaineella täytettynä, tarkista voiteluaineen määrä ennen leikkuuyksikön käyttöä. Vaihteiston tilavuus on 0,33 litraa.
Pysäköi kone tasaiselle alustalle, laske leikkuuyksikkö, kytke seisontajarru, sammuta moottori ja irrota virta-avain.
Irrota huohotintulppa vaihteiston yläosasta (Kuva 24) ja varmista, että voiteluaineen pinta on huohotintulpan alemman osan täyttömerkintöjen välissä. Jos voiteluainetta on liian vähän, lisää voiteluainetta niin paljon, että pinta nousee merkintöjen väliin.

Asenna huohotintulppa ja kiristä se momenttiin 9 N·m.
| Huoltoväli | Huoltotoimenpide |
|---|---|
| 400 käyttötunnin välein |
|
Pysäköi kone tasaiselle alustalle, laske leikkuuyksikkö, kytke seisontajarru, sammuta moottori ja irrota virta-avain.
Sijoita astia vaihteiston tyhjennystulpan alle (Kuva 25).
Irrota alhaalla vaihteiston vasemmalla puolella oleva tyhjennystulppa ja tyhjennä neste (Kuva 25).

Asenna tyhjennystulppa ja kiristä momenttiin 20–27 N·m.
Irrota vaihteiston päällä oleva huohotintulppa.
Täytä vaihteisto oikealla vaihteiston voiteluöljyllä ja tarkista ajoittain, että voiteluaine on huohotintulpan alempien täyttömerkkien välissä. Katso kohta Vaihteiston voiteluaineen tarkistus.
Kun voiteluaine on huohotintulpan alempien täyttömerkkien välissä, asenna huohotintulppa ja kiristä se momenttiin 9 N·m.
| Huoltoväli | Huoltotoimenpide |
|---|---|
| 250 käyttötunnin välein |
|
Pysäköi kone tasaiselle alustalle, laske leikkuuyksikkö, kytke seisontajarru, sammuta moottori ja irrota virta-avain.
Löysää neljä lukkopulttia, joilla hihnasuojuksen ylä- ja alaosa on kiinnitetty koneeseen (Kuva 26).


Löysää kiristinpyörän mutteri, mutta älä irrota sitä (Kuva 27).
Note: Jos haluat löysätä kiristinpyörän mutteria, pidä pulttia, jolla se kiinnitetään leikkuupöydän sisäpuolelle.
Säädä kiristinpyörän pylvään mutteria hihnan kiristämistä varten (Kuva 27).
Mittaa kireys yksiputkisella kireysmittarilla painamalla hihnaa alas seuraavasti (Kuva 28):
Uutta hihnaa tulee pystyä painamaan alas 5 mm 6,0–6,4 kg:n voimalla.
Käytettyä hihnaa tulee pystyä painamaan alas 5 mm 5,1–5,6 kg:n voimalla.

Säädä kiristinpyörän pylvään mutteria tarpeen mukaan hihnan kiristämistä tai löysäämistä varten.
Käännä roottoria manuaalisesti pari kierrosta ja tarkista hihnan kireys uudelleen. Jos kireys on virheellinen, tarkista ja säädä, kunnes se on oikein.
Kiristä kiristinpyörän mutteri momenttiin 100 N·m.
Asenna hihnasuojus (Kuva 26).
| Huoltoväli | Huoltotoimenpide |
|---|---|
| 250 käyttötunnin välein |
|
Pysäköi kone tasaiselle alustalle, laske leikkuuyksikkö, kytke seisontajarru, sammuta moottori ja irrota virta-avain.
Irrota hihnasuojus (Kuva 26).
Kiristä säätöruuvit, joilla kartiolukkoholkit on kiinnitetty, momenttiin 30 N·m.

Asenna hihnasuojus.
Pysäköi kone tasaiselle alustalle, laske leikkuuyksikkö, kytke seisontajarru, sammuta moottori ja irrota virta-avain.
Irrota voimanulosoton akselin haarukka leikkuuyksikön vaihteiston akselista kuvan mukaisesti (Kuva 13).
Important: Aina kun irrotat voimanulosoton akselin vaihteistosta, asenna akseli takaisin vaihteistoon uusilla kantaruuveilla ja lukkomuttereilla.
Irrota kiinnikkeet, joilla roskasuojus on kiinnitetty ajoyksikön etuakselin kannattimeen (Kuva 14).
Irrota lukitussokat ja tapit, joilla leikkuuyksikkö on kiinnitetty nostovarsiin (Kuva 30).

Siirrä kone irti leikkuuyksiköstä.
Kääntöpyörien varsien holkit on painettu putken ylä- ja alapäähän, ja runsaan käytön jälkeen holkit kuluvat.
Tarkasta holkit siirtämällä kääntöpyörän haarukkaa edestakaisin ja sivulta toiselle. Jos kääntöpyörän kara on löysällä holkkien sisällä, holkit ovat kuluneet, ja ne on vaihdettava.
Pysäköi kone tasaiselle alustalle, nosta ja tue leikkuuyksikkö pukeilla, kytke seisontajarru, sammuta moottori ja irrota virta-avain.
Irrota kiristyskanta, välilevy(t) ja aluslaatta kääntöpyörän karan päältä.
Vedä kääntöpyörän kara ulos asennusputkesta. Jätä aluslaatta ja välilevy(t) karan alaosaan.
Aseta pistepuikko asennusputken ylä- tai alapäähän ja vedä holkki ulos putkesta (Kuva 31). Ota myös toinen holkki putkesta. Puhdista putkien sisäpuoli.

Levitä rasvaa uusien holkkien sisä- ja ulkopintaan. Siirrä holkit asennusputkeen käyttämällä vasaraa ja litteää levyä.
Tarkista, ettei kääntöpyörän karassa ole kulumia ja vaihda se tarvittaessa.
Työnnä kääntöpyörän kara holkkien ja asennusputken läpi. Liu’uta painealuslaatta ja välilevyt karaan ja asenna kiristyskanta kääntöpyörän karaan.
| Huoltoväli | Huoltotoimenpide |
|---|---|
| 2 ensimmäisen käyttötunnin jälkeen |
|
| 10 ensimmäisen käyttötunnin jälkeen |
|
| 50 käyttötunnin välein |
|
Pysäköi kone tasaiselle alustalle, nosta ja tue leikkuuyksikkö pukeilla, kytke seisontajarru, sammuta moottori ja irrota virta-avain.
Irrota lukkomutteri pultista, jolla kääntöpyöräkokoonpano on kiinnitetty kääntöpyörän haarukan väliin (Kuva 32). Tartu kääntöpyörään ja irrota pultti haarukasta tai kääntövarresta.
Irrota laakeri pyörännavasta ja päästä laakerin välikappale putoamaan (Kuva 32). Irrota laakeri pyörännavan vastakkaiselta puolelta.
Tarkasta, etteivät laakerit, välilevy ja pyörännavan sisäpuoli ole kuluneet. Vaihda vaurioituneet osat.
Työnnä laakeri pyörännapaan kääntöpyörän kokoamista varten. Asentaessasi laakereita paina laakerin ulompaa vierintäpintaa.

Liu'uta laakerin välilevy pyörännapaan. Työnnä toinen laakeri pyörännavan avoimeen päähän siten, että se kiinnittyy pyörännavan sisällä olevaan laakerin välilevyyn.
Asenna kääntöpyöräkokoonpano kääntöpyörän haarukan väliin ja kiinnitä se pultilla ja lukkomutterilla.
| Huoltoväli | Huoltotoimenpide |
|---|---|
| 50 käyttötunnin välein |
|
Varmista, että kaikki teräpultit on kiristetty momenttiin 45 N·m.
| Huoltoväli | Huoltotoimenpide |
|---|---|
| Aina ennen käyttöä tai päivittäin |
|
Varmista, ettei missään läpissä ole vaurioita ja että ne pääsevät kääntymään vapaasti. Vaihda kaikki vaurioituneet läpät.
Varstan roottorijärjestelmään jäännösteho voi saada varstaroottorit liikkumaan äkillisesti ja aiheuttaa loukkaantumisen, kun tukos poistetaan.
Älä koskaan yritä pyörittää varstaroottoreita käsin tai poistaa niistä tukosta käsin.
Käytä aina suojakäsineitä ja puukeppiä.
Varmista, että puukeppi mahtuu varstaroottoriin ja on riittävän pitkä tuottaakseen riittävästi vipuvoimaa tukoksen irrottamista varten.
Siirrä voimanulosoton kytkin POIS-asentoon.
Pysäköi kone tasaiselle alustalle, siirrä kaasuvipu moottorin hitaan nopeuden asentoon ja kytke seisontajarru.
Nosta leikkuuyksikköä tarpeen mukaan, jotta tukokseen päästään käsiksi.
Sammuta moottori, irrota avain virtalukosta ja odota, että kaikki liikkuvat osat pysähtyvät.
Tue nostettu leikkuuyksikkö pukeilla.
Poista tukos varovasti puukepillä.
Important: Varstaroottori saattaa pyöriä tukoksen poistamisen aikana.
Important: Älä käytä liian suurta voimaa tukoksen poistamiseen.
Poista puukeppi leikkuuyksiköstä, ennen kuin käynnistät moottorin.
Korjaa leikkuuyksikkö tai säädä sitä tarvittaessa.
| Huoltoväli | Huoltotoimenpide |
|---|---|
| 50 käyttötunnin välein |
|
Varmista, että kääntöpyörät täytetään paineeseen 2–3,5 bar.
| Huoltoväli | Huoltotoimenpide |
|---|---|
| Aina ennen käyttöä tai päivittäin |
|
Tarkista roottori epätavallisen tärinän varalta käyttämällä leikkuuyksikköä täydellä moottorin nopeudella.
Käynnistä moottori ja siirrä kone tasaiselle avoimelle alueelle poissa sivullisten läheltä.
Laske leikkuuyksikkö ja kytke seisontajarru.
Kytke voimanulosotto ja käytä moottoria täydellä kaasulla. Tarkista, esiintyykö epätavallista roottorin tärinää.
Jos roottorin tärinä on epätavallista, suorita seuraavat toimet:
Aseta kaasu tyhjäkäynnille, sammuta voimanulosotto ja nosta leikkuuyksikkö.
Sammuta moottori, irrota avain ja odota, että kaikki liikkuvat osat pysähtyvät.
Tarkista leikkuuyksikkö seuraavien varalta:
Roottorin tai terien normaalin käytön estävät roskat. Poista mahdolliset tukokset. Katso kohta Roottorin tukoksen poisto.
Vaurioitunut roottori tai kuluneet roottorin laakerit. Katso kohta Roottorin laakerien tarkastus.
Puuttuvat, vahingoittuneet, epätasapainoiset tai liian kuluneet terät. Katso kohta Terien teroitus ja Terien vaihto.
Important: Kaikissa vastakkaisissa teräpareissa on oltava saman verran kulumista. Epätasapainoiset terät voivat vaikuttaa roottorin tasapainoon.
Important: Jos et pysty ratkaisemaan roottorin epätavallista tärinää, ota yhteys valtuutettuun Toro-jälleenmyyjään.
| Huoltoväli | Huoltotoimenpide |
|---|---|
| 50 käyttötunnin välein |
|
Important: Käytä käsineitä roottorin laakerien tarkistuksen yhteydessä.
Siirrä kone tasaiselle alustalle ja kytke seisontajarru.
Nosta leikkuuyksikkö, sammuta moottori, irrota avain virtalukosta ja odota, että kaikki liikkuvat osat pysähtyvät.
Tue leikkuuyksikkö pukeilla.
Tartu roottoriin kummastakin päästä ja katso, onko roottorissa liiallista päittäisvälystä. Jos roottorissa on liiallista päittäisvälystä, se on ehkä vaihdettava. Ota yhteys valtuutettuun Toro-jälleenmyyjään.
| Huoltoväli | Huoltotoimenpide |
|---|---|
| Aina ennen käyttöä tai päivittäin |
|
Tarkista roskasuojus silmämääräisesti vaurioiden varalta ja poista roskasuojukseen kertyneet roskat.
Jos hiomalaitetta käytetään tavalla, joka ei ole turvallinen, seurauksena voi olla vakava henkilö- tai omaisuusvahinko.
Teriä teroittava henkilö on opastettava käyttämään käsikäyttöistä hiomalaitetta turvallisesti.
Teroita varstaterän takaosan kulmahiomapintaa kulmahiomalaitteella (Kuva 33).
Important: Älä hio varstaterän etupuolta.
Kun hiot terää, pidä leikkuusärmä vaaka-asennossa ja kulmapinta maata vasten (Kuva 33).
Käytä hiomalaitetta varoen ja varmista, ettei varsta kuumene liikaa ja teräs pehmene.
Kun terä on kulunut kulumislinjaan saakka, älä teroita terää enempää. Kulumislinja on merkitty viidellä pisteellä (Kuva 33). Tarkista, että kaikki varstaterät ovat yhtä teräviä, jotta kaikki roottorit ovat tasapainossa.
Vertaa hiottavaa terää uuteen terään teroittaessasi.

| Huoltoväli | Huoltotoimenpide |
|---|---|
| Vuosittain |
|
Tasapainon vuoksi terät on vaihdettava vastapareittain tai kaikki roottorin terät on vaihdettava kerralla. Terien vaihdon yhteydessä on vaihdettava myös holkki, pultti ja lukkomutteri. Terien vaihtoa varten on saatavilla kaksi huoltosarjaa. Katso osaluettelo.
Nosta leikkuuyksikkö ja tue se pukeilla.
Kytke seisontajarru, sammuta moottori ja irrota virta-avain.
Kierrä roottoria hitaasti käsin, jotta jokainen varstarivi on halutussa asennossa helposti käsiteltävissä.
Poista lika pultin päästä ja mutterista ja puhdista ulkonevat kierteet teräsharjalla.
Merkitse pultin kannan sijainti, jotta voit vaihtaa pultit samalta puolelta.
Tartu terään liinalla tai paksulla hansikkaalla ja irrota mutteri, pultti, holkki ja terä (Kuva 34).
Note: Lisää kierteisiin tarvittaessa ruosteenirrotusöljyä, jotta mutteri on helpompi irrottaa.

Hävitä terä, holkki, mutteri ja pultti.
Asenna uusi terä ja holkki uudella mutterilla ja teräpultilla (Kuva 34).
Note: Kiinnitä huomiota pultin kannan sijaintimerkintöihin, jotta voit asettaa pultin takaisin paikalleen samansuuntaisesti.
Kiristä kiinnikkeet momenttiin 45 N·m.
| Huoltoväli | Huoltotoimenpide |
|---|---|
| Aina ennen käyttöä tai päivittäin |
|
Poista ruohokertymät leikkuuyksikön alta päivittäin.
Pysäköi kone tasaiselle alustalle, nosta leikkuuyksikkö KULJETUSASENTOON, kytke seisontajarru, sammuta moottori ja irrota virta-avain.
Puhdista leikkuuyksikön alapuoli huolellisesti vedellä.
Pysäköi kone tasaiselle alustalle, nosta leikkuuyksikkö KULJETUSASENTOON, kytke seisontajarru, sammuta moottori ja irrota virta-avain.
Puhdista leikkuuyksikkö huolellisesti. Kiinnitä erityistä huomiota seuraaviin kohtiin:
Leikkuuyksikön alapuoli
Leikkuuyksikön hihnasuojuksen alapuoli
Voimanulosoton akselikokoonpano
Kaikki rasvanipat ja nivelet
Tarkista ja säädä ajoyksikön etu- ja takarenkaiden rengaspaineet. Katso ajoyksikön käyttöopas.
Teroita kaikki terät ja vaihda tarvittaessa vaurioituneet terät. Katso kohta Terien teroitus ja Terien vaihto.
Tarkista, etteivät kiinnikkeet ole löysällä, ja kiristä tarvittaessa.
Rasvaa tai öljyä kaikki rasvanipat ja nivelet ja pyyhi pois ylimääräinen voiteluaine. Katso kohta Leikkuuyksikön voitelu.
Hio varovasti ja maalaa korjausmaalilla maalipinnat, jotka ovat naarmuuntuneet, lohkeilleet tai ruostuneet. Korjaa kolhut tarvittaessa.