| Vedligeholdelsesintervaller | Vedligeholdelsesprocedure |
|---|---|
| Hver anvendelse eller dagligt |
|
| For hver 50 timer |
|
Dette plæneklipperskjold med plejlskæreknive er monteret på en plænetraktor og er beregnet til brug af professionelle, ansatte operatører i kommercielle anvendelsesområder. Den er primært beregnet til klipning af græs på velholdte plæner i parker, på sportsbaner og kommercielle områder. Brug af dette produkt til andre formål end den tilsigtede anvendelse kan udsætte dig selv og omkringstående for fare.
Læs denne vejledning omhyggeligt, så du kan lære at betjene og vedligeholde produktet korrekt samt undgå person- og produktskade. Det er dit ansvar at betjene produktet korrekt og sikkert.
Besøg www.Toro.com for at få materialer om produktsikkerhed og oplæring i betjening, oplysninger om tilbehør, hjælp til at finde en forhandler eller for at registrere dit produkt.
Når du har brug for service, originale Toro-dele eller yderligere oplysninger, bedes du kontakte en autoriseret serviceforhandler eller Toros kundeservice samt have produktets model- og serienummer parat. Figur 1 angiver, hvor model- og serienummeret er placeret på produktet. Skriv numrene, hvor der er gjort plads til dette.
Important: Scan QR-koden (hvis udstyret hermed) på serienummerpladen med din mobilenhed for at få adgang til oplysninger om garanti, reservedele og andre produktoplysninger.

Denne vejledning advarer dig om mulige farer og giver dig særlige sikkerhedsoplysninger ved hjælp af advarselssymbolet (Figur 2), der angiver en fare, som kan forårsage alvorlig personskade eller død, hvis du ikke følger de anbefalede forholdsregler.

Denne betjeningsvejledning bruger to ord til at fremhæve oplysninger. Vigtigt henleder opmærksomheden på særlige mekaniske oplysninger, og Bemærk angiver generel information, som det er værd at lægge særligt mærke til.
Dette produkt overholder alle relevante EU-direktiver. Få yderligere oplysninger i inkorporeringserklæringen bagest i denne udgivelse.
CALIFORNIEN
Advarsel i henhold til erklæring nr. 65
Brug af dette produkt kan medføre eksponering over for kemikalier, der ifølge staten Californien er kræftfremkaldende og giver medfødte defekter eller andre forplantningsskader.
Denne maskine er designet i overensstemmelse med ANSI B71.4-2017 og sikkerhedsdirektiv 2006/46/EF.
Dette produkt kan afskære hænder og fødder. Følg altid sikkerhedsforskrifterne for at undgå alvorlig personskade.
Læs og forstå indholdet i denne betjeningsvejledning, før du starter maskinen.
Betjening af maskinen kræver din fulde opmærksomhed. Giv dig ikke i kast med aktiviteter, der afleder opmærksomheden, da dette kan medføre person- eller tingsskade.
Hold hænder og fødder væk fra bevægelige maskinkomponenter.
Betjen ikke maskinen, uden at alle afskærmninger og øvrige sikkerhedsanordninger sidder og fungerer korrekt på maskinen.
Hold afstand til udblæsningsåbninger.
Hold omkringstående og børn væk fra arbejdsområdet. Lad aldrig børn betjene maskinen.
Før du forlader førersædet, skal du gøre følgende:
Parker maskinen på en plan overflade.
Sænk klippeenheden/-erne.
Udkobl drevene.
Aktiver parkeringsbremsen (hvis udstyret hermed).
Sluk motoren, og tag nøglen ud.
Vent, til al bevægelse er standset.
Hvis maskinen betjenes eller vedligeholdes forkert, kan det
medføre personskade. Operatøren skal altid følge
sikkerhedsforskrifterne og være opmærksom på advarselssymbolet
, der betyder Forsigtig,
Advarsel eller Fare – personlig sikkerhedsanvisning, for at
nedsætte risikoen for personskade. Hvis disse forskrifter ikke
følges, kan det medføre personskade eller død.
Klippeenheden udgør kun en komplet maskine, når den er monteret på en traktionsenhed. Læs traktionsenhedens betjeningsvejledning omhyggeligt for at få komplet vejledning om sikker brug af maskinen.
Stands maskinen, tag nøglen ud (hvis udstyret hermed), sænk klippeenheden, og vent, indtil al bevægelse er standset, før du efterser redskabet, når du har ramt en genstand, eller hvis der opstår en unormal vibration i maskinen. Foretag alle nødvendige reparationer, inden driften genoptages.
Hold alle dele i god driftsmæssig stand og alle beslag tilspændt. Udskift alle slidte eller beskadigede mærkater.
Brug kun tilbehør, redskaber og reservedele, der er godkendt af Toro.
En slidt eller beskadiget skærekniv kan gå itu, og et stykke af den kan blive kastet mod dig eller omkringstående, hvilket kan forårsage alvorlige eller livsfarlige kvæstelser.
Efterse jævnligt skæreknivene for slid og skader.
Vær forsigtig, når du efterser knivene. Pak skæreknivene ind, eller bær handsker, og vær forsigtig når du efterser skæreknivene. Skæreknivene må kun udskiftes eller slibes.
![]() |
Sikkerheds- og instruktionsmærkaterne kan nemt ses af operatøren og er placeret tæt på potentielle risikoområder. Beskadigede eller bortkomne mærkater skal udskiftes. |









Note: Gem alle afmonterede dele, medmindre andet er angivet.
Parker maskinen på en plan flade, udkobl kraftudtaget, flyt løftearmene til den laveste position, aktiver parkeringsbremsen, sluk for motoren, og tag nøglen ud.
Vent, til al bevægelse standser, og lad maskinen køle af inden justering, rengøring, opbevaring eller reparation.
Hvis der er monteret en klippeenhed, skal den fjernes fra maskinens løftearme. Se betjeningsvejledningen til klippeenheden.
Sørg for, at kraftudtagsakslen er justeret korrekt. Se proceduren for justering af kraftudtagsakslen i traktionsenhedens betjeningsvejledning.
Important: Hvis mærkningerne på drivakslen ikke er på linje med hinanden, kan der forekomme alvorlig ubalance i transmissionssystemet.
Hvis løftearmene til den roterende klippeenhed er monteret på traktionsenheden, skal de fjernes som følger:
Løft maskinens forende, og fjern forhjulene fra maskinen. Se betjeningsvejledningen til traktionsenheden.
Fjern de 2 bræddebolte og 2 møtrikker (⅜"), der fastgør sensorbeslaget til den højre løftearm (Figur 3).
Fjern de 2 bolte (⅜" x 1¼"), 2 møtrikker (⅜") og 2 små tapper, der fastgør løftearmene på cylindrene (Figur 3).
Fjern møtrikken og boltene, der fastgør de store tapper til løftearmene, som vist i Figur 4.
Fjern løftearmene og de store tapper fra maskinstellet (Figur 5).



Dele, der skal bruges til dette trin:
| Styrehjulsgaffel | 2 |
| Styrehjulsbolt | 2 |
| Leje | 4 |
| Lejeafstandsklods | 2 |
| Stor låsemøtrik | 2 |
| Styrehjulsarm | 2 |
| Bræddebolt (M10) | 12 |
| Låsemøtrik (M10) | 12 |
| Strammehætte | 2 |
| Afstandsbøsninger til klippehøjde | 14 |
| Afstandsstykke | 4 |
Monter styrehjulene til styrehjulsgaflerne som vist i Figur 6.
Note: Brug kun det øverste hul i drivakslen. Juster ikke styrehjulets position.

Monter hver styrehjulsarm på klippeenheden med 6 bræddebolte (M10) og 6 låsemøtrikker (M10) som vist i Figur 7. Tilspænd låsemøtrikkerne med et moment på 47-57 Nm.

Monter styrehjulene på klippeenheden med et afstandsstykke på begge sider af styrehjulets akselnav som vist i Figur 8.
Note: Du kan justere klippehøjdeindstillingen ved at ændre antallet af afstandsbøsninger på hver side af styrehjulets akselnav. Se Justering af klippehøjden.

Sørg for, at skjoldet er plant. Flyt skjoldet til en plan overflade, og læg et vaterpas vandret hen over toppen af skjoldet.
Hvis skjoldet ikke er i vater, skal du placere afstandsstykker på styrehjulakslen, indtil det er plant.
Dele, der skal bruges til dette trin:
| Snavsafskærmning | 1 |
| Beslag | 1 |
| Nitte | 5 |
Brug 5 nitter til at montere beslaget og snavsafskærmningen på forakslen (Figur 9).

Dele, der skal bruges til dette trin:
| Løftearm | 2 |
| Stor tap | 2 |
| Lang bolt (⅜" x 2¾") | 2 |
| Møtrik (⅜") | 6 |
| Lille tap | 2 |
| Bolt (⅜" x 1¼") | 2 |
| Bræddebolt (⅜" x 1¼") | 2 |
| Unbrakomaskinskrue (⅜" x 2¼") | 2 |
| Spændeskive (⅜") | 2 |
| Flangelåsemøtrik (⅜") | 2 |
| Løftearmstap | 2 |
| Ringstifter | 2 |
| Sensorbeslag | 1 |
Løft maskinens forende, og fjern fordækkene fra maskinen. Se traktionsenhedens betjeningsvejledning.
Monter løftearmene og de store tapper på maskinstellet (Figur 10).

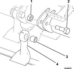
Fastgør den store tap til løftearmen ved hjælp af et par møtrikker og bolte som vist i Figur 11.

Fastgør hver af cylinderstangens ender til hver løftearm med en lille tap, bolte (⅜" x 1¼") og møtrik (⅜") som vist i Figur 12.
Note: Drej manuelt løftearmen, så den flugter med cylinderstangens ende.
Fastgør sensorbeslaget til den højre løftearm med 2 bræddebolte og 2 møtrikker (⅜") som vist i Figur 12.

Sørg for, at sensorbeslaget ikke påvirker sensoren. Se Justering af sensorbeslaget.
Når du monterer sensorbeslaget, skal du dreje beslaget op (som vist på Figur 12), før du fastspænder det.
Ret klippeenheden foran maskinstellet og kraftudtagsakslen.
Udfør følgende trin for at montere kraftudtagsakslen på klippeenheden:
Monter kraftudtagets akselgafler på klippeenhedens gearkasseaksel som vist i Figur 13.
Før en unbrakomaskinskrue (⅜" x 2¼") gennem en spændeskive (⅜") og hullet i drivakslens gaffel (Figur 13), og fastgør maskinskruen med en flangelåsemøtrik (⅜").
Før en unbrakomaskinskrue (⅜" x 2¼") gennem en spændeskive (⅜") og hullet i drivakslens gaffel fra den modsatte retning (Figur 13), og fastgør maskinskruen med en flangelåsemøtrik (⅜").
Tilspænd gradvist låsemøtrikkerne med et moment på 61 Nm i et krydsmønster.
Important: Sørg for, at boltene til kraftudtagsakslens gafler tilspændes med det angivne moment. Hvis boltene ikke tilspændes korrekt, kan det føre til for tidligt svigt i de vigtige dele.
Important: Hver gang du fjerner kraftudtagsakslen fra gearkassen, skal du bruge nye maskinskruer og låsemøtrikker til at fastgøre akslen til gearkassen.

Fastgør plejlen til løftearmene ved hjælp af løftearmenes tapper og ringstifter (Figur 30).
Dele, der skal bruges til dette trin:
| Flapbeslag | 1 |
| Bræddebolt (M8) | 6 |
| Flangemøtrik (M8) | 6 |
Brug 6 bræddebolte (M8), 6 flangemøtrikker (M8) og flapbeslaget til at fastgøre snavskappen til akselbeslaget.
Note: Du kan fjerne et forhjul eller begge forhjul for at få nemmere adgang til området. Se afsnittet Opsætning i traktionsenhedens betjeningsvejledning for oplysninger om, hvordan du fjerner og monterer hjulene.

Dele, der skal bruges til dette trin:
| Kraftudtagsafskærmningssamling | 1 |
| Skrue (⅜" x ¾") | 2 |
| Spændeskive (⅜") | 2 |
Monter kraftudtagsafskærmningssamlingen på gearkassens overside som vist i Figur 15.

Der bør være en afstand på 6 mm mellem sensoren og sensorbeslagets plade (Figur 16).

Hvis afstanden er forkert, skal sensorbeslaget justeres i følgende trin:
Løsn de låsemøtrikker, der fastgør kontakten til kontaktbeslaget, og juster, indtil afstanden mellem sensoren og sensorpladen er korrekt.
Tilspænd sensorlåsemøtrikkerne med et moment på 19 til 21 Nm.
Juster vægtoverførslen af redskabet. Se betjeningsvejledningen til traktionsenheden.
Sørg for, at gearkassen har den korrekte mængde olie. Se Kontrol af gearkasseolien.
Sørg for, at styrehjulsdækkene er fyldt til et tryk på 2–3,5 bar. Se Kontrol af styrehjulets dæktryk.
Smør klippeenheden før første brug. Se Smøring af klippeenheden. Hvis maskinen ikke smøres ordentligt, kan det føre til for tidligt svigt i vigtige dele.
Aktivér vendingstilstand på traktionsenhedens skærm. Se traktionsenhedens betjeningsvejledning.
Important: Brug af vendingstilstand med en udstyret plejlplæneklipper hjælper med at forhindre, at transmissionen slides for tidligt. Du skal altid have vendingstilstand aktiveret, når du bruger plejlplæneklipperen.
Note: Vendingstilstand giver dig mulighed for hurtigt at hæve plejlplæneklipperen over plænen, når du gennemfører en hurtig vending for enden af en bane (eller mens du navigerer rundt om forhindringer) uden at udkoble kraftudtaget.
Juster motoren til mellemhastighed via traktionsenhedens gashåndtag, før du indkobler kraftudtaget til plejlen. Når du har indkoblet kraftudtaget, skal du bruge gashåndtaget til at øge motorhastigheden til fuld hastighed.
Important: Reduktion af motorhastigheden, før du indkobler kraftudtaget til plejlen, hjælper med at forhindre, at transmissionen slides for tidligt.
Aktiver tilstanden Low RPM PTO Engage på traktionsenhedens skærm. Se traktionsenhedens BETJENINGSVEJLEDNING.
Note: Tilstanden LOW RPM PTO ENGAGE reducerer automatisk motorhastigheden, når kraftudtaget aktiveres, og øger den automatisk efterfølgende til fuld hastighed.
Important: Brug af tilstanden LOW RPM PTO ENGAGE med plejlen hjælper med at forhindre, at transmissionen slides for tidligt.
Dele, der skal bruges til dette trin:
| Afstandsbøsning | 2 |
| Skrue (¼" x 1¼") | 4 |
På traktionsenheder udstyret med et førerhussæt og et vejlygtesæt kan plejlplæneklipperen komme i kontakt med vejlygterne. Undgå kontakt med vejlygterne ved at montere afstandsbøsningerne, så løftearmenes bevægelse begrænses.
Fjern de eksisterende skruer (¼") og gummiklodserne fra chassiset under det forreste chassis (Figur 17).
Kassér skruerne, og gem klodserne.
Fastgør afstandsbøsningerne og gummiklodserne til chassiset med de nye skruer (¼" x 1¼") (Figur 17).
Spænd skruerne, indtil hovederne flugter med gummiklodserne.

Note: Specifikationer og design kan ændres uden forudgående varsel.
| Klippebredde |
1,52 m |
| Klippehøjde | Kan justeres fra 19 til 102 mm i intervaller på 13 mm |
| Nettovægt |
260 kg |
Der fås en række forskellige redskaber og tilbehør, som er godkendt af producenten, til brug sammen med maskinen, så den bliver bedre og mere alsidig. Kontakt en autoriseret serviceforhandler eller autoriseret producentdistributør, eller gå ind på www.Toro.com for at få en fortegnelse over alle godkendte redskaber og alt godkendt tilbehør.
Brug kun originale Toro-reservedele og tilbehør for at sikre optimal ydelse og sikre, at maskinen fortsat overholder sikkerhedscertificeringen. Reservedele og tilbehør, der er fremstillet af andre producenter, kan være farlige, og brug heraf kan gøre garantien ugyldig.
Hold plejlskæreknivene skarpe og i god stand for at sikre god klippeydelse, minimalt strømforbrug og en klipning af god kvalitet.
Klippeenheden svæver, så den følger underlagets konturer.
Sørg for at sænke motorhastigheden, før du indkobler klippeenheden:
Traktionsenhedsmodel 31900, 31901, 31907 og 31909: Se Reduktion af motorhastigheden før indkobling af kraftudtag
Traktionsenhedsmodel 31902 og 31903: Se Aktivering af tilstanden Low RPM PTO Engage (lavt omdrejningstal ved indkobling af kraftudtag)
Betjen klippeenheden ved fuld motorhastighed. Juster den fremadgående hastighed, så den passer til græsforholdene og for at undgå overbelastning af klippeenheden. Jo lavere den fremadgående hastighed er, jo bedre er klippekvaliteten og udseendet efter klipning.
Important: Sørg altid for, at klippehøjden er indstillet korrekt i henhold til disse anvisninger. Sørg for, at både justeringsgrebspladen og styrehjulsgaflens afstandsbøsninger er indstillet i henhold til tabellen. Hvis dette ikke overholdes, kan det forårsage kraftige rystelser, og at transmissionen slides for tidligt.
Note: Klippehøjden bestemmes af bagrullen og de forreste styrehjul. Knivslid, dæktryk og bøjede/beskadigede styrehjulsarme kan påvirke klippehøjdeindstillingen.

Placer maskinen på en plan flade, hæv klippeenheden, og understøt den med donkrafte, sluk motoren, aktiver parkeringsbremsen, og tag nøglen ud af tændingen.
Se tabellen over klippehøjdeindstilling på klippehøjdemærkaten (Figur 19) for almindelige klippehøjdeindstillinger.

Juster klippehøjdejusteringsgrebspladens position ved at fjerne møtrikkerne og boltene, der fastgør pladen (Figur 20).
Isæt boltene på de steder, der er angivet i Figur 19, for at opnå den ønskede klippehøjde. Tilspænd møtrikkerne med et moment på 60 Nm.

For at justere styrehjulsgaflens position skal du fjerne klippehøjdehætterne fra de forreste styrehjulsaksler og justere mængden af afstandsbøsninger på hver side af styrehjulets akselnav (Figur 19).
Note: Afstandsbøsninger, der er placeret over styrehjulets akselnav, mindsker klippehøjden. Afstandsstykker, der er placeret under navet, øger klippehøjden.
Monter klippehøjdestrammehætterne.
| Vedligeholdelsesintervaller | Vedligeholdelsesprocedure |
|---|---|
| Hver anvendelse eller dagligt |
|
| For hver 50 timer |
|
Important: Hvis et enkelt skæreblad beskadiges, skal både selve bladet og det modsatte blad fjernes og udskiftes som et par for at opretholde balancen.
Parker maskinen på en plan flade, hæv klippeenheden, aktiver parkeringsbremsen, sluk motoren, og tag nøglen ud af tændingskontakten.
Understøt den hævede klippeenhed med donkrafte.
Efterse hver skærekniv for skader og vær især opmærksom på fastgørelsesanordningerne, skærekanten og monteringshullet (Figur 21). Udskift alle beskadigede skæreknive og fastgørelsesanordninger.

Efterse hver skærekniv for overdrevent slid vha. slidlinjen (Figur 22). Når en skærekniv er slidt ned til slidlinjen, skal skærekniven udskiftes.

Sørg for, at hver skæreknivsbolt er tilspændt med et moment på 45 Nm.
Tag fat i hver skærekniv og sørg for, at der højst er i alt 3 mm fri bevægelighed i hver retning fra rotoren. Hvis der er mere end i alt 3 mm fri bevægelse, skal skærekniven udskiftes.
Kontroller vægtforskellen mellem hvert par modsatte skæreknive.
Note: Hvert par modsatte skæreknive må ikke have en vægtforskel på mere end 10 g.
En slidt eller beskadiget skærekniv kan gå itu, og et stykke af den kan blive kastet mod dig eller omkringstående, hvilket kan forårsage alvorlige eller livsfarlige kvæstelser.
Efterse jævnligt skæreknivene for slid og skader.
Udskift en slidt eller beskadiget skærekniv.
For at kunne opretholde tilstrækkelig kraft til både maskine og klippeenhed, mens du klipper græs, skal du lade motoren køre med gashåndtaget i positionen Fast (hurtig) og afpasse kørehastigheden efter forholdene. Reducer kørselshastigheden, når belastningen på klippeenhederne øges. Øg kørselshastigheden, når belastningen på klippeenhederne reduceres.
Skift klipperetning, så du undgår at lave hjulspor i plænen med tiden. Dette medvirker også til at sprede det afklippede græs, hvilket øger nedbrydningen og gødningseffekten.
Klipningskvaliteten kan forbedres ved at køre langsommere.
Hvis klippeenhedens klippebredde er bredere end den plæneklipper, du tidligere brugte, skal du hæve klippehøjden for at sikre, at græsset på en ujævn plæne ikke klippes for kort.
Fjern ca. 25 mm eller højst ⅓ af græsstrået, når du klipper. I usædvanligt frodigt og tæt græs kan det muligvis være nødvendigt at sænke den fremadgående hastighed og/eller sætte klippehøjdeindstillingen et niveau højere op.
Hvis græsset på noget tidspunkt får lov til at vokse lidt længere end normalt, eller hvis græsset er meget vådt, skal klippehøjden hæves højere end den sædvanlige indstilling, hvorefter græsset skal slås. Slå derefter græsset igen ved den lavere, normale indstilling.
Rengør undersiden af klippeenheden for afklippet græs og snavs efter hver anvendelse. Hvis græs og snavs ophober sig i klippeenheden, bliver kvaliteten af græsslåningen utilfredsstillende med tiden.
Mindsk brandfaren ved at holde motoren, lydpotten, batterirummet, parkeringsbremsen, klippeenheden og brændstofopbevaringsrummet fri for græs, blade eller for meget fedt. Tør spildt olie eller brændstof op.
Skæreknivene skal holdes skarpe gennem hele græsslåningssæsonen, da en skarp skærekniv klipper græsstråene rent over uden at rive dem eller få dem til at flosse. Hvis græsset rives over eller flosser, bliver spidserne brune, hvilket hæmmer væksten og øger risikoen for sygdom.
Kontroller skæreknivenes skarphed dagligt, og kontroller, om de er slidte eller beskadigede. Slib skæreknivene efter behov.
Hvis en skærekniv er beskadiget eller slidt, skal den udskiftes med det samme med en original skærekniv fra producenten. Se Udskiftning af skæreknivene.
| Vedligeholdelsesintervaller | Vedligeholdelsesprocedure |
|---|---|
| Efter de første 2 timer |
|
| Efter de første 10 timer |
|
| Hver anvendelse eller dagligt |
|
| For hver 50 timer |
|
| For hver 250 timer |
|
| For hver 400 timer |
|
| Årlig |
|
Hvis du lader nøglen sidde i tændingen, kan andre personer utilsigtet komme til at starte motoren og forårsage alvorlig personskade på dig eller andre omkringstående.
Fjern nøglen fra tændingen, før vedligeholdelsesarbejde påbegyndes.
Kopier denne side til daglig brug.
| Vedligeholdelsespunkter | I ugen: | ||||||
|---|---|---|---|---|---|---|---|
| Man. | Tirs. | Ons. | Tors. | Fre. | Lør. | Søn. | |
| Kontroller skæreknivenes tilstandsamt rotorernes tilstand. | |||||||
| Kontroller klippehøjdens indstilling. | |||||||
| Kontrollér snavskappen for snavs eller skader. | |||||||
| Rengør klippeenheden. | |||||||
| Kontroller frontflapperne. | |||||||
| Smør alle smørenipler.1 | |||||||
| Reparation af beskadiget maling. | |||||||
|
1. Umiddelbart efter hver vask, uanset det angivne interval. |
|||||||
| Bemærkninger om problemområder | ||
| Eftersyn foretaget af: | ||
| Punkt | Dato | Oplysninger |
| Vedligeholdelsesintervaller | Vedligeholdelsesprocedure |
|---|---|
| Hver anvendelse eller dagligt |
|
Fedttype: Lithiumbaseret fedt nr. 2
Udskift beskadigede smørenipler.
Se Figur 23 for at se placeringen af hvert par smørenipler på klippeenheden.

| Vedligeholdelsesintervaller | Vedligeholdelsesprocedure |
|---|---|
| For hver 50 timer |
|
Gearkassen er konstrueret til at køre på enten mineralolie eller syntetisk SAE 80-90-gearolie. Selvom gearkassen indeholder smøreolie, når den sendes fra fabrikken, skal oliestanden kontrolleres, før klippeenheden betjenes. Gearkassens kapacitet er 0,33 l.
Parker maskinen på en plan flade, sænk klippeenheden, aktiver parkeringsbremsen, sluk motoren, og tag nøglen ud.
Fjern ånderørsproppen, der sidder oven på gearkassen (Figur 24), og kontroller, at oliestanden er mellem påfyldningsmærkerne på den nederste del af ånderørsproppen. Hvis oliestanden er lav, skal du påfylde så megen olie, at oliestanden kommer op mellem mærkerne.

Monter ånderørsproppen, og tilspænd den med et moment på 9 Nm.
| Vedligeholdelsesintervaller | Vedligeholdelsesprocedure |
|---|---|
| For hver 400 timer |
|
Parker maskinen på en plan flade, sænk klippeenheden, aktiver parkeringsbremsen, sluk motoren, og tag nøglen ud.
Placer en bakke under aftapningsproppen på gearkassen (Figur 25).
Fjern aftapningsproppen på den nedre venstre side af gearkassen, og dræn væsken (Figur 25).

Monter aftapningsproppen, og tilspænd den med et moment på 20 til 27 Nm.
Fjern ånderørsproppen, der sidder oven på gearkassen.
Fyld gearkassen med den korrekte gearolie, og kontroller med jævne mellemrum, at olieniveauet ligger mellem de nederste påfyldningsmærker på ånderørsproppen. Se Kontrol af gearkasseolien.
Når olieniveauet ligger mellem de nederste påfyldningsmærker på ånderørsproppen, skal du montere ånderørsproppen og tilspænde den med et moment på 9 Nm.
| Vedligeholdelsesintervaller | Vedligeholdelsesprocedure |
|---|---|
| For hver 250 timer |
|
Parker maskinen på en plan flade, sænk klippeenheden, aktiver parkeringsbremsen, sluk motoren, og tag nøglen ud.
Løsn de 4 slagbolte, der fastgør remskærmens top og bund til maskinen (Figur 26).


Løsn styreremskivens møtrik, men fjern den ikke (Figur 27).
Note: For at løsne styreremskivens møtrik skal du holde den bolt, som fastgør den, fast på indersiden af skjoldet.
Juster styreremskiveskruens møtrik for at stramme remmen (Figur 27).
Brug en enkeltløbet spændingsmåler, og tryk ned på remmen for at kontrollere remmens spænding som følger (Figur 28):
Hvis remmen er ny, bør du kunne skubbe den 5 mm ned med en kraft på 6,0-6,4 kg.
Hvis remmen er brugt, bør du kunne skubbe den 5 mm ned med en kraft på 5,1 til 5,6 kg.

Juster styreremskiveskruens møtrik efter behov for at stramme eller løsne remmen.
Roter rotoren manuelt et par omdrejninger og kontroller remmens stramhed igen. Hvis stramheden er forkert, skal du kontrollere og justere, indtil den er korrekt.
Stram styreremskivens møtrik. Tilspænd med et moment til 100 Nm.
Monter remskærmen (Figur 26).
| Vedligeholdelsesintervaller | Vedligeholdelsesprocedure |
|---|---|
| For hver 250 timer |
|
Parker maskinen på en plan flade, sænk klippeenheden, aktiver parkeringsbremsen, sluk motoren, og tag nøglen ud.
Fjern remskærmen (Figur 26).
Tilspænd de sætskruer, der fastgør konuslåsbøsningerne med et moment på 30 Nm.

Montering af remskærm.
Parker maskinen på en plan flade, sænk klippeenheden, aktiver parkeringsbremsen, sluk motoren, og tag nøglen ud.
Kobl kraftudtagets akselgaffel fra klippeenhedens gearkasseaksel som vist i Figur 13.
Important: Hver gang du fjerner kraftudtagsakslen fra gearkassen, skal du bruge nye maskinskruer og låsemøtrikker til at fastgøre akslen til gearkassen.
Fjern de fastgørelsesanordninger, der fastgør snavskappen til forakslens beslag på traktionsenheden (Figur 14).
Fjern de ringstifter og tapper, der fastgør klippeenheden til løftearmene (Figur 30).

Flyt maskinen væk fra klippeenheden.
Styrehjulsarmene har bøsninger presset ind i den øverste og nederste del af røret. Efter mange driftstimer vil disse bøsninger blive slidt.
Bøsningerne kontrolleres ved at flytte styrehjulsgaflen frem og tilbage og fra side til side. Hvis styrehjulsspindlen er løs inden i bøsningerne, er bøsningerne slidte og skal udskiftes.
Parker maskinen på en plan flade, hæv klippeenheden, og understøt den med donkrafte, aktiver parkeringsbremsen, sluk motoren, og tag nøglen ud.
Fjern strammehætten, afstandsbøsningen/-bøsningerne og trykskiven fra den øverste del af styrehjulsspindlen.
Træk styrehjulsspindlen ud af monteringsrøret. Lad trykskiven og afstandsbøsningen/-bøsningerne sidde på bunden af spindlen.
Sæt en uddriver ind i den øverste eller nederste del af monteringsrøret, og driv bøsningen ud af røret (Figur 31). Driv også den anden bøsning ud af røret. Rengør rørene indvendigt for at fjerne snavs.

Smør indersiden og ydersiden af de nye bøsninger med fedt. Brug en hammer og en flad plade til at føre bøsningerne ind i monteringsrøret.
Efterse styrehjulsspindlen for slid, og udskift den, hvis den er beskadiget.
Skub styrehjulsspindlen gennem bøsningerne og monteringsrøret. Skub trykskiven og afstandsklodsen/-erne ind på spindlen, og monter strammehætten på styrehjulsspindlen.
| Vedligeholdelsesintervaller | Vedligeholdelsesprocedure |
|---|---|
| Efter de første 2 timer |
|
| Efter de første 10 timer |
|
| For hver 50 timer |
|
Parker maskinen på en plan flade, hæv klippeenheden, og understøt den med donkrafte, aktiver parkeringsbremsen, sluk motoren, og tag nøglen ud.
Skru låsemøtrikken af bolten, der holder styrehjulsenheden fast i styrehjulsgaflen (Figur 32). Tag fat i styrehjulet, og tag bolten ud af gaflen eller drejearmen.
Fjern lejet fra hjulnavet, og lad bøsningsafstandsstykket falde ud (Figur 32). Fjern lejet fra den modsatte side af hjulnavet.
Kontroller lejer, afstandsklods og hjulnavets inderside for slid. Udskift beskadigede dele.
Saml styrehjulet ved at skubbe lejet ind i hjulnavet. Tryk på lejets yderste løbering, når du monterer lejerne.

Skub lejeafstandsstykket ind i hjulnavet. Skub det andet leje ind i hjulnavets åbne ende, så lejeafstandsstykket holdes fast inden i hjulnavet.
Monter styrehjulsenheden i styrehjulsgaflen, og fastgør den med bolten og låsemøtrikken.
| Vedligeholdelsesintervaller | Vedligeholdelsesprocedure |
|---|---|
| For hver 50 timer |
|
Sørg for, at alle skæreknivsbolte er tilspændt med et moment på 45 Nm.
| Vedligeholdelsesintervaller | Vedligeholdelsesprocedure |
|---|---|
| Hver anvendelse eller dagligt |
|
Sørg for, at alle flapper er ubeskadigede, og at de kan dreje frit. Udskift alle beskadigede flapper.
Reststrøm i plejlrotorsystemet kan forårsage personskade, hvis plejlrotoren/-erne pludselig bevæger sig, når blokeringen fjernes.
Forsøg aldrig at dreje eller fjerne en blokering fra plejlrotorerne manuelt.
Bær altid beskyttelseshandsker, og brug en træstolpe.
Sørg for, at træstolpen passer ind i plejlrotoren, og at den er tilpas lang til at give tilstrækkelig vægtstangsvirkning til at fjerne blokeringen.
Sæt kraftudtagskontakten i positionen OFF (fra).
Parker maskinen på en plan overflade, sæt gashåndtaget i positionen for langsom motorhastighed, og aktiver parkeringsbremsen.
Hæv klippeenheden efter behov for at få adgang til blokeringen.
Sluk motoren, tag tændingsnøglen ud, og vent, til alle bevægelige dele er standset.
Understøt den hævede klippeenhed med donkrafte.
Brug en træstolpe til forsigtigt at fjerne blokeringen.
Important: Plejlrotoren vil muligvis dreje, når du frigør blokeringen.
Important: Undgå at bruge for stor kraft, når du fjerner blokeringen.
Fjern træstolpen fra klippeenheden, inden du starter motoren.
Reparer eller juster klippeenheden om nødvendigt.
| Vedligeholdelsesintervaller | Vedligeholdelsesprocedure |
|---|---|
| For hver 50 timer |
|
Sørg for, at styrehjulsdækkene er fyldt til et tryk på 2–3,5 bar.
| Vedligeholdelsesintervaller | Vedligeholdelsesprocedure |
|---|---|
| Hver anvendelse eller dagligt |
|
Efterse rotoren for usædvanlig vibration ved at køre klippeenheden ved fuld motorhastighed.
Start motoren, og flyt maskinen til et plant, åbent område uden omkringstående i nærheden.
Sænk klippeenheden, og aktiver parkeringsbremsen.
Indkobl kraftudtaget, og kør motoren ved fuld gas, mens du holder øje med eventuel usædvanlig rotorvibration.
Hvis rotorvibrationen er usædvanlig, skal du gøre følgende:
Indstil gashåndtaget til tomgang, sluk kraftudtaget, og hæv klippeenheden.
Sluk motoren, tag nøglen ud, og vent, til alle bevægelige dele er standset.
Kontroller klippeenheden for følgende:
Snavs, der forhindrer rotoren eller skæreknivene i at fungere korrekt. Fjern eventuelle tilstopninger. Se Rensning af en tilstoppet rotor.
En beskadiget rotor eller slidte rotorlejer. Se Kontrol af rotorlejerne.
Manglende, beskadigede, meget slidte skæreknive eller skæreknive, der er ude af balance. Se Slibning af skæreknivene og Udskiftning af skæreknivene.
Important: Alle modsatrettede skæreknivspar skal udvise samme niveau af slitage. Skæreknive, der er ude af balance, kan påvirke rotorens balance.
Important: Hvis du ikke kan afhjælpe årsagen til usædvanlig rotorvibration, skal du kontakte din autoriserede Toro-forhandler.
| Vedligeholdelsesintervaller | Vedligeholdelsesprocedure |
|---|---|
| For hver 50 timer |
|
Important: Bær handsker, når du kontrollerer rotorlejerne.
Flyt maskinen over på et plant underlag, og aktiver parkeringsbremsen.
Hæv klippeenheden, sluk motoren, tag nøglen ud, og vent, til alle bevægelige dele er standset.
Understøt klippeenheden med donkrafte.
Tag fat om rotoren i hver side, og kontroller, om der er overdrevet endeslør. Hvis rotoren har overdrevet endeslør, skal den muligvis udskiftes. Kontakt din autoriserede Toro-forhandler.
| Vedligeholdelsesintervaller | Vedligeholdelsesprocedure |
|---|---|
| Hver anvendelse eller dagligt |
|
Efterse snavskappen for skader, og fjern eventuelt snavs, der er ophobet på snavskappen.
Hvis slibemaskinen bruges på en uforsvarlig måde, kan det medføre alvorlig personskade eller tingskade.
Sørg for, at personen, der sliber skæreknivene, har gennemgået tilstrækkelig træning i sikker brug af en håndholdt slibemaskine.
Brug en vinkelsliber til at slibe vinkelsliberens overflade på bagsiden af plejlskærekniven (Figur 33).
Important: Slib ikke forsiden af plejlskærekniven.
Under slibning af skærekniven skal du holde skæret helt vandret, og den vinklede overflade fladt mod jorden (Figur 33).
Brug slibemaskinen forsigtigt, og sørg for, at plejlredskabet ikke bliver varmt, da stålet ellers mister sin hårdhed.
Slib ikke skæreknivene ud over slidlinjen, der er angivet med de fem prikker (Figur 33). Sørg for, at alle plejlskæreknivene er slebet lige meget for at bevare afbalanceringen af hver rotor.
Behold en ny skærekniv som reference, og sammenlign med den under slibning.

| Vedligeholdelsesintervaller | Vedligeholdelsesprocedure |
|---|---|
| Årlig |
|
For at opretholde balancen bør skæreknivene kun udskiftes som modstillede par eller en hel rotor ad gangen. Udskift desuden bøsningen, bolten og låsemøtrikken, når du udskifter en skærekniv. Der findes to servicesæt til skæreknivsudskiftning. Se Reservedelskataloget.
Løft klippeenheden, og understøt den med donkrafte.
Aktiver parkeringsbremsen, sluk for motoren, og tag nøglen ud.
Drej rotoren langsomt med hånden, så hver plejlrække er i den ønskede position, og du nemt kan tilgå dem.
Fjern eventuelt snavs fra bolthovedet og møtrikken, og rengør det fremspringende gevind med en stålbørste.
Marker bolthovedets placering, så du kan udskifte boltene fra samme side.
Hold om skærekniven med en klud eller en tyk handske, og fjern møtrikken, bolten, bøsningen og skærekniven (Figur 34).
Note: Hvis det er nødvendigt, kan gevindet påføres olie for at gøre møtrikken nemmere at fjerne.

Kasser skærekniven, bøsningen, møtrikken og bolten.
Monter en ny skærekniv og bøsning med en ny møtrik og skæreknivsbolt (Figur 34).
Note: Vær opmærksom på bolthovedets positionsmarkeringer, og kontroller, at du placerer bolten i samme retning.
Tilspænd fastgørelsesanordningerne med et moment på 45 Nm.
| Vedligeholdelsesintervaller | Vedligeholdelsesprocedure |
|---|---|
| Hver anvendelse eller dagligt |
|
Fjern ophobning af græs under klippeenheden hver dag.
Parker maskinen på en plan flade, hæv klippeenheden til positionen TRANSPORT, aktiver parkeringsbremsen, sluk for motoren, og tag nøglen ud.
Rengør omhyggeligt klippeenhedens underside med vand.
Parker maskinen på en plan flade, hæv klippeenheden til positionen TRANSPORT, aktiver parkeringsbremsen, sluk for motoren, og tag nøglen ud.
Rengør klippeenheden grundigt, og vær særligt opmærksom på følgende områder:
Under klippeenheden
Under klippeenhedens remafskærmning
Kraftudtagsakslen
Alle smørenipler og drejepunkter
Kontroller og juster trykket i traktionsenhedens for- og baghjul. Se traktionsenhedens betjeningsvejledning.
Slib alle skæreknive og udskift eventuelle beskadigede skæreknive efter behov. Se Slibning af skæreknivene og Udskiftning af skæreknivene.
Kontroller, at der ikke er løse dele, som skal være fastspændte, og efterspænd dem om nødvendigt.
Smør alle smørenipler og drejepunkter med fedt eller olie, og tør overskydende fedt eller olie af. Se Smøring af klippeenheden.
Slib let med sandpapir, og benyt pletreparationslak på lakerede områder, som er blevet ridsede, har været udsat for stenslag eller har rustpletter. Reparer eventuelle buler.