| Périodicité d'entretien | Procédure d'entretien |
|---|---|
| À chaque utilisation ou une fois par jour |
|
| Toutes les 50 heures |
|
Ce plateau de coupe à fléaux se monte sur un groupe autoporté et s'adresse aux utilisateurs professionnels employés à des applications commerciales. Elle est principalement conçue pour tondre les pelouses entretenues régulièrement dans les parcs, les terrains de sports et les espaces verts commerciaux. L'utilisation de ce produit à d'autres fins que celle prévue peut être dangereuse pour vous-même et toute personne à proximité.
Lisez attentivement cette notice pour apprendre comment utiliser et entretenir correctement votre produit, et éviter ainsi de l'endommager ou de vous blesser. Vous êtes responsable de l'utilisation sûre et correcte du produit.
Rendez-vous sur www.Toro.com pour tout document de formation à la sécurité et à l'utilisation des produits, pour tout renseignement concernant un produit ou un accessoire, pour obtenir l'adresse des concessionnaires ou pour enregistrer votre produit.
Pour obtenir des prestations de service, des pièces d'origine Toro ou des renseignements complémentaires, munissez-vous des numéros de modèle et de série du produit et contactez un concessionnaire-réparateur agréé ou le service client Toro. La Figure 1 indique l'emplacement des numéros de modèle et de série sur le produit. Inscrivez les numéros dans l'espace réservé à cet effet.
Important: Avec votre appareil mobile, vous pouvez scanner le code QR (selon l'équipement) sur la plaque du numéro de série pour accéder aux renseignements sur la garantie, les pièces et autres informations produit.

Les mises en garde de ce manuel soulignent des dangers potentiels et sont signalées par le symbole de sécurité (Figure 2), qui indique un danger pouvant entraîner des blessures graves ou mortelles si les précautions recommandées ne sont pas respectées.

Ce manuel utilise deux termes pour faire passer des renseignements essentiels. Important, pour attirer l'attention sur des renseignements mécaniques spécifiques et Remarque, pour insister sur des renseignements d'ordre général méritant une attention particulière.
Ce produit est conforme à toutes les directives européennes pertinentes. Pour plus de renseignements, reportez-vous à la Déclaration d'incorporation (DOI) à la fin de ce document.
CALIFORNIE
Proposition 65 - Avertissement
L'utilisation de ce produit peut entraîner une exposition à des substances chimiques considérées pas l'état de Californie comme capables de provoquer des cancers, des anomalies congénitales ou d'autres troubles de la reproduction.
Cette machine est conçue en conformité avec la norme ANSI B71.4-2017 et la directive de sécurité 2006/46/CE.
Ce produit peut sectionner les mains et les pieds. Respectez toujours toutes les consignes de sécurité pour éviter des blessures graves.
Vous devez lire et comprendre le contenu de ce Manuel de l'utilisateur avant de démarrer la machine.
Accordez toute votre attention à l'utilisation de la machine. Ne faites rien d’autre qui puisse vous distraire, au risque de causer des dommages corporels ou matériels.
N'approchez pas les mains ou les pieds des composants mobiles de la machine.
N'utilisez pas la machine s'il manque des capots ou d'autres dispositifs de protection, ou s'ils sont défectueux.
Ne vous tenez pas devant l'ouverture d'éjection.
N'admettez personne, notamment les enfants, dans le périmètre de travail. N'autorisez jamais les enfants à utiliser la machine.
Avant de quitter la position d'utilisation, effectuez la procédure suivante :
Garez la machine sur une surface plane et horizontale.
Abaissez les unités de coupe.
Débrayez les systèmes d'entraînement.
Serrez le frein de stationnement (selon l'équipement).
Coupez le moteur et enlevez la clé.
Attendez l'arrêt complet de tout mouvement.
L'usage ou l'entretien incorrect de cette machine
peut occasionner des accidents. Pour réduire les risques d'accidents
et de blessures, respectez les consignes de sécurité
qui suivent. Tenez toujours compte des mises en garde signalées
par le symbole de sécurité (
) et la mention Prudence,
Attention ou Danger. Le non respect de ces instructions peut entraîner
des blessures graves ou mortelles.
L'unité de coupe constitue une machine complète seulement quand elle est montée sur un groupe de déplacement. Lisez attentivement le Manuel de l'utilisateur du groupe de déplacement pour prendre connaissance de toutes les instructions d'utilisation sécuritaire de la machine.
Arrêtez la machine, enlevez la clé (selon l'équipement), abaissez l'unité de coupe et attendez l'arrêt complet de tout mouvement avant d'examiner l'accessoire si vous heurtez un obstacle ou si la machine vibre de manière inhabituelle. Effectuez toutes les réparations nécessaires avant de réutiliser la machine.
Maintenez toutes les pièces en bon état de marche et toutes les fixations bien serrées. Remplacez tous les autocollants usés ou endommagés.
Utilisez uniquement des accessoires, outils et pièces de rechange agréés par le fabricant.
Une lame usée ou endommagée peut se briser et projeter le morceau cassé dans votre direction ou celle d'autres personnes, et infliger des blessures graves ou mortelles.
Contrôlez l'état et l'usure des lames périodiquement.
Examinez toujours les lames avec prudence. Manipulez les lames avec des gants ou en les enveloppant dans un chiffon, et toujours avec prudence. Les lames doivent être uniquement remplacées ou aiguisées.
![]() |
Des autocollants de sécurité et des instructions bien visibles par l'opérateur sont placés près de tous les endroits potentiellement dangereux. Remplacez tout autocollant endommagé ou manquant. |









Note: Conservez toutes les pièces déposées, sauf indication contraire.
Garez la machine sur une surface plane et horizontale, désengagez la PDF, abaissez les bras de levage à la position la plus basse, serrez le frein de stationnement, coupez le moteur et enlevez la clé.
Attendez l'arrêt complet de tout mouvement et laissez refroidir la machine avant de la régler, la nettoyer, la remiser ou la réparer.
Si la machine est équipée d'une unité de coupe, déposez cette dernière des bras de levage ; voir le Manuel de l'utilisateur de l'unité de coupe.
Veillez à aligner correctement l'arbre de transmission de la PDF ; voir la procédure d'alignement de l'arbre de transmission de la PDF dans le Manuel de l'utilisation du groupe de déplacement.
Important: Si les repères de l'arbre d'entraînement ne sont pas alignés, un grave déséquilibre de la transmission peut se produire.
Si les bras de levage de l'unité de coupe rotative sont installés sur le groupe de déplacement, déposez-les comme suit :
Élevez l'avant de la machine et déposez les roues avant ; voir le Manuel de l'utilisateur de la machine.
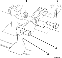
Retirez les 2 boulons de carrosserie et les 2 écrous (⅜") qui fixent le support du capteur sur le bras de levage droit (Figure 3).
Retirez les 2 boulons (⅜" x 1¼"), les 2 écrous (⅜") et les 2 petites goupilles qui fixent les bras de levage aux vérins (Figure 3).
Retirez les écrous et les boulons qui fixent les grandes goupilles sur les bras de levage, comme montré à la Figure 4.
Déposez les bras de levage et les grandes goupilles du cadre de la machine (Figure 5).



Pièces nécessaires pour cette opération:
| Fourche de roue pivotante | 2 |
| Boulon de roue pivotante | 2 |
| Roulement | 4 |
| Douille d'écartement | 2 |
| Gros contre-écrou | 2 |
| Bras de roue pivotante | 2 |
| Boulon de carrosserie (M10) | 12 |
| Contre-écrou (M10) | 12 |
| Chapeau de tension | 2 |
| Entretoises de hauteur de coupe | 14 |
| Cale | 4 |
Montez la roue pivotante sur la fourche, comme montré à la Figure 6.
Note: Utilisez uniquement le trou supérieur de l'axe ; ne modifiez pas la position de la roue pivotante.

Montez chaque bras de roue pivotante sur l'unité de coupe à l'aide de 6 boulons de carrosserie (M10) et 6 contre-écrous (M10), comme montré à la Figure 7 ; serrez les contre-écrous à un couple de 47 à 57 N·m.

Montez les roues pivotantes sur l'unité de coupe avec une cale de chaque côté du moyeu de l'arbre, comme montré à la Figure 8.
Note: Vous pouvez réglez la hauteur de coupe en changeant le nombre d'entretoises de chaque côté du moyeu de l'arbre de la roue ; voir Réglage de la hauteur de coupe.

Vérifiez que le plateau est de niveau ; amenez-le sur une surface plane et horizontale, et placez un niveau à l'horizontale en travers au sommet du plateau.
Si le plateau n'est pas de niveau, placez le nombre de cales nécessaire sur l'arbre de la roue pivotante jusqu'à ce qu'il soit de niveau.
Pièces nécessaires pour cette opération:
| Pare-débris | 1 |
| Support | 1 |
| Rivet | 5 |
Fixez le support et le pare-débris sur l'essieu avant avec 5 rivets (Figure 9).

Pièces nécessaires pour cette opération:
| Bras de levage | 2 |
| Grand axe | 2 |
| Boulon de carrosserie (⅜" x 2¾") | 2 |
| Écrou (⅜") | 6 |
| Petit axe | 2 |
| Boulon (⅜" x 1¼") | 2 |
| Boulon de carrosserie (⅜" x 1¼") | 2 |
| Vis à tête creuse (⅜" x 2¼") | 2 |
| Rondelle (⅜") | 2 |
| Contre-écrou à embase (⅜") | 2 |
| Axe de bras de levage | 2 |
| Goupilles | 2 |
| Support de capteur | 1 |
Élevez l'avant de la machine et déposez les roues avant ; voir le Manuel de l'utilisateur de la machine.
Reposez les bras de levage et les grandes goupilles sur le cadre de la machine (Figure 10).

Fixez la grande goupille sur le bras de levage à l'aide de deux écrous et boulons, comme montré à la Figure 11.

Fixez chaque extrémité de tige de vérin sur chaque bras de levage avec une petite goupille, un boulon (⅜" x 1¼") et un écrou (⅜"), comme montré à la Figure 12.
Note: Pivotez le bras vers le haut à la main pour l'aligner sur l'extrémité de la tige de vérin.
Fixez le support de capteur sur le bras de levage droit à l'aide de 2 boulons de carrosserie et de 2 écrous (⅜"), comme montré à la Figure 12.

Assurez-vous que le support ne gêne pas le capteur ; voir Réglage du support du capteur.
Lorsque vous installez le support de capteur, tournez-le vers le haut (comme montré à la Figure 12) avant de le serrer.
Placez l'unité de coupe devant le cadre de la machine et l'arbre de PDF.
Procédez comme suit pour installer l'arbre de PDF sur l'unité de coupe :
Placez la chape de l'arbre de PDF sur l'arbre du boîtier d'engrenages de l'unité de coupe, comme montré à la Figure 13.
Insérez une vis à tête creuse (⅜" x 2¼") dans une rondelle (⅜") et dans le trou de la chape de l'arbre d'entraînement (Figure 13), et fixez la vis en place avec un contre-écrou à embase (⅜").
Insérez une vis à tête creuse (⅜" x 2¼") dans une rondelle (⅜") et dans le trou de la chape de l'arbre d'entraînement en passant par l'autre côté (Figure 13), et fixez la vis en place avec un contre-écrou à embase (⅜").
Serrez les contre-écrous progressivement et alternativement à 61 N·m.
Important: Veillez à bien serrer les boulons de la chape de l'arbre de PDF au couple prescrit. Si vous ne serrez pas les boulons correctement, des pannes prématurées de pièces importantes se produiront.
Important: Chaque fois que vous déposez l'arbre de PDF du boîtier d'engrenages, utilisez des vis et des contre-écrous neufs pour fixer l'arbre sur le boîtier.

Fixez la tondeuse à fléaux sur les bras de levage à l'aide des goupilles de bras de levage et des goupilles à anneau (Figure 30).
Pièces nécessaires pour cette opération:
| Barre de fixation | 1 |
| Boulon de carrosserie (M8) | 6 |
| Écrou à embase (M8) | 6 |
Avec 6 boulons de carrosserie (M8), 6 écrous à embase (M8) et la barre de fixation, fixez la jupe pare-débris sur le support d'essieu.
Note: Pour faciliter l'accès, vous pouvez déposer une ou les deux roues avant. Voir la section Préparation dans le Manuel de l'utilisateur du groupe de déplacement pour savoir comment déposer et poser les roues.

Pièces nécessaires pour cette opération:
| Protection de PDF | 1 |
| Vis (⅜" x ¾") | 2 |
| Rondelle (⅜") | 2 |
Montez la protection de PDF au sommet du boîtier d'engrenages, comme montré à la Figure 15.

Le capteur et sa plaque de support doivent être espacés de 6 mm (Figure 16).

Si l'espace n'est pas correct, procédez comme suit pour régler le support du capteur :
Desserrez les contre-écrous qui fixent le contacteur sur son support et réglez-le jusqu'à obtention du jeu correct entre le capteur et la plaque du capteur.
Serrez les contre-écrous du capteur à un couple de 19 à 21 N·m.
Réglez le transfert de poids de l'accessoire ; voir le Manuel de l'utilisateur du groupe de déplacement.
Assurez-vous que le niveau de lubrifiant dans le boîtier d'engrenages est correct ; voir Contrôle de l'huile du boîtier d'engrenages.
Vérifiez que les pneus des roues pivotantes sont gonflés à une pression de 2 à 3,5 bar ; voir Contrôle de la pression des pneus des roues pivotantes.
Graissez l'unité de coupe avant la première utilisation ; voir Graissage de l'unité de coupe. Si vous ne graissez pas la machine correctement, des pannes prématurées de pièces importantes se produiront.
Engagez le mode Manœuvres depuis l'écran du groupe de déplacement ; voir le Manuel de l'utilisateur du groupe de déplacement.
Important: L'utilisation du mode Manœuvres avec une tondeuse équipée de fléaux permet d'éviter l'usure prématurée de la transmission. Vous devez toujours engager le mode Manœuvres quand vous utilisez les fléaux pour tondre.
Note: Le mode Manœuvres permet de lever rapidement le plateau de coupe à fléaux au-dessus du gazon lorsque vous effectuez un demi-tour rapide à la fin d'une passe de tonte (ou pendant que vous contournez des obstacles) sans avoir à désengager la PDF.
Avant d'engager la PDF, si la machine est équipée d'un plateau de coupe à fléaux, actionnez la commande d'accélérateur du groupe de déplacement pour régler le régime moteur à mi-régime. Après avoir engagé la PDF, faites monter le moteur au régime maximum à l'aide de la commande d'accélérateur.
Important: La réduction du régime moteur avant l'engagement de la PDF avec le plateau de coupe à fléaux permet d'éviter l'usure prématurée de la transmission.
Engagez le mode ENGAGEMENT DE LA PDF, BAS RéGIME depuis l'écran du groupe de déplacement ; voir le Manuel de l'utilisateur du groupe de déplacement.
Note: Le mode ENGAGEMENT DE LA PDF, BAS RéGIME réduit automatiquement le régime moteur quand la PDF est engagée, puis le fait monter automatiquement au régime maximum.
Important: L'utilisation du mode ENGAGEMENT DE LA PDF, BAS RéGIME avec le plateau de coupe à fléaux permet d'éviter l'usure prématurée de la transmission.
Pièces nécessaires pour cette opération:
| Entretoise | 2 |
| Vis (¼" x 1¼") | 4 |
Sur les groupes de déplacement avec kit cab et kit éclairage routier, il se peut que le plateau à fléaux touche les éclairages. Pour éviter cela, installez des entretoises pour limiter le mouvement des bras de levage.
Sous le châssis avant, retirez les vis existantes (¼") et les patins en caoutchouc fixés au châssis (Figure 17).
Mettez les vis au rebut et conservez les patins.
Fixez les entretoises et les patins en caoutchouc sur le châssis avec les nouvelles vis (¼" x 1¼") (Figure 17).
Serrez les vis jusqu'à ce que leur tête soit de niveau avec les patins en caoutchouc.

Note: Les spécifications et la conception peuvent faire l'objet de modifications sans préavis.
| Largeur de coupe |
1,52 m |
| Hauteur de coupe | Réglable entre 19 et 102 mm par paliers de 13 mm |
| Poids net |
260 kg |
Une sélection d'outils et d'accessoires agréés par le fabricant est disponible pour augmenter et améliorer les capacités de la machine. Pour obtenir la liste de tous les accessoires et outils agréés, contactez votre concessionnaire-réparateur ou votre distributeur agréé, ou rendez-vous sur www.Toro.com.
Pour garantir un rendement optimal et conserver la certification de sécurité de la machine, utilisez uniquement des pièces de rechange et accessoires d'origine Toro. Les pièces de rechange et accessoires provenant d'autres constructeurs peuvent être dangereux, et leur utilisation risque d'annuler la garantie de la machine.
Maintenez les lames des fléaux bien aiguisées et en bon état pour assurer de bonnes performances de coupe, une consommation d'énergie minimum et une bonne qualité de coupe.
L'unité de coupe flotte pour suivre les contours du sol.
Avant d'engager l'unité de coupe, vérifiez que le moteur tourne à bas régime :
Groupes de déplacement modèles 31900, 31901, 31907 et 31909 : voir Baisse du régime moteur avant l'engagement de la PDF
Groupes de déplacement modèles 31902 et 31903 : voir Engagement du mode Engagement de la PDF, bas régime
Faites fonctionner l'unité de coupe à plein régime. Réglez la vitesse en marche avant en fonction de l'état de l'herbe et pour éviter de surcharger l'unité de coupe. Plus la vitesse de marche avant est réduite, plus la qualité de coupe et la finition seront bonnes.
Important: Veillez à toujours régler la hauteur de coupe correctement d'après ces instructions. Veillez à régler la plaque de réglage et les entretoises de la fourche de la roue pivotante conformément au tableau. Le non respect de cette consigne peut causer une usure prématurée de la transmission et des vibrations excessives..
Note: La hauteur de coupe est déterminée par le rouleau arrière et les roues pivotantes avant. Le réglage de la hauteur de coupe peut être affecté par l'usure des lames, la pression des pneus et les bras des roues pivotantes déformés/endommagés.

Placez la machine sur une surface plane et horizontale, abaissez les unités de coupe, coupez le moteur, serrez le frein de stationnement et enlevez la clé du commutateur d'allumage.
Consultez le tableau de réglages de la hauteur de coupe sur l'autocollant de hauteur de coupe (Figure 19) pour les réglages les plus courants.

Pour régler la position de la plaque de réglage de hauteur de coupe, retirez les écrous et les boulons de fixation de la plaque (Figure 20).
Installez les boulons aux emplacements spécifiés à la Figure 19 pour obtenir la hauteur de coupe voulue ; serrez les écrous à 60 N·m.

Pour régler la position de la fourche de la roue pivotante, déposez les chapeaux de hauteur de coupe sur les arbres des roues pivotantes avant et ajustez le nombre d'entretoises de chaque côté du moyeu d'arbre (Figure 19).
Note: Placez les entretoises au-dessus du moyeu d'arbre de roue pivotante pour réduire la hauteur de coupe, et au-dessous pour augmenter la hauteur de coupe.
Reposez les chapeaux de hauteur de coupe.
| Périodicité d'entretien | Procédure d'entretien |
|---|---|
| À chaque utilisation ou une fois par jour |
|
| Toutes les 50 heures |
|
Important: Si jamais une lame est endommagée, cette lame et celle d'en face doivent être déposées et remplacées en même temps pour maintenir l'équilibre.
Garez la machine sur une surface plane et horizontale, élevez l'unité de coupe, serrez le frein de stationnement, coupez le moteur et enlevez la clé du commutateur d'allumage.
Soutenez l'unité de coupe élevée avec des chandelles.
Contrôlez l'état de chaque lame, en particulier les fixations, le tranchant et le trou de fixation (Figure 21). Remplacez toutes les lames et fixations endommagées

Vérifiez qu'aucune lame n'est excessivement usée en vous aidant de la ligne d'usure (Figure 22). Remplacez les lames qui sont usées jusqu'à la ligne d'usure.

Serrez le boulon de chaque lame à 45 N·m.
Tenez chaque lame et vérifiez que le jeu ne dépasse pas 3 mm de chaque côté du rotor. Si le jeu est supérieur à 3 mm, remplacez la lame.
Vérifiez la différence de poids entre chaque paire de lames opposées.
Note: La différence de poids de chaque paire de lames opposées ne doit pas dépasser 10 grammes.
Une lame usée ou endommagée peut se briser et projeter le morceau cassé dans votre direction ou celle d'autres personnes, et infliger des blessures graves ou mortelles.
Contrôlez l'état et l'usure des lames périodiquement.
Remplacez les lames usées ou endommagées.
Pour maintenir une puissance suffisante pour la machine et l'unité de coupe pendant la tonte, faites tourner le moteur à haut régime et adaptez votre vitesse de déplacement en fonction de l'état de l'herbe. Réduisez la vitesse de déplacement à mesure que la charge augmente sur l'unité de coupe. Augmentez la vitesse de déplacement à mesure que la charge diminue sur l'unité de coupe.
Alternez le sens des passages pour éviter de créer des ornières dans la pelouse avec le temps. L'alternance permet aussi de mieux disperser l'herbe coupée, ce qui améliore la décomposition et la fertilisation.
Ralentissez pour améliorer la qualité de la coupe.
Si la largeur de coupe utilisée est plus large que la précédente, augmentez la hauteur de coupe pour ne pas raser les inégalités de la pelouse.
Ne coupez pas plus de 25 mm environ ou 1/3 de la hauteur de l'herbe. Si l'herbe est extrêmement drue et fournie, il peut être préférable réduire la vitesse de déplacement en marche avant et/ou de choisir la hauteur de coupe supérieure.
Si l'herbe est légèrement plus haute que d'habitude ou si elle est humide, utilisez d'abord une hauteur de coupe un peu plus haute que la normale pour un premier passage. Tondez ensuite l'herbe à la hauteur de coupe inférieure habituelle.
Nettoyez le dessous de l'unité de coupe après chaque utilisation. Ne laissez pas l'herbe et la terre s'accumuler à l'intérieur, car la qualité de la tonte finira par en souffrir.
Pour réduire les risques d'incendie, débarrassez le moteur, le silencieux, le bac à batterie, le frein de stationnement, l'unité de coupe et le lieu de stockage du carburant de tout excès de graisse, de débris, d'herbe, et de feuilles. Nettoyez l'huile ou le carburant éventuellement répandus.
Utilisez des lames bien aiguisées durant toute la saison de coupe, pour obtenir une coupe nette sans arracher ou déchiqueter les brins d'herbe. L'herbe arrachée ou déchiquetée brunit sur les bords, sa croissance ralentit et elle devient plus sensible aux maladies.
Vérifiez chaque jour l'état, l'usure et l'affûtage des lames. Aiguisez les lames au besoin.
Remplacez immédiatement les lames endommagées ou usées par des lames d'origine. Voir Remplacement des lames.
| Périodicité d'entretien | Procédure d'entretien |
|---|---|
| Après les 2 premières heures de fonctionnement |
|
| Après les 10 premières heures de fonctionnement |
|
| À chaque utilisation ou une fois par jour |
|
| Toutes les 50 heures |
|
| Toutes les 250 heures |
|
| Toutes les 400 heures |
|
| Une fois par an |
|
Si vous laissez la clé dans le commutateur d'allumage, quelqu'un pourrait mettre le moteur en marche accidentellement et vous blesser gravement, ainsi que toute personne à proximité.
Avant tout entretien, retirez la clé de contact.
Copiez cette page pour pouvoir vous en servir régulièrement.
| Entretiens à effectuer | Pour la semaine du : | ||||||
|---|---|---|---|---|---|---|---|
| Lun. | Mar. | Mer. | Jeu. | Ven. | Sam. | Dim. | |
| Vérifiez l'état des lames.et des rotors. | |||||||
| Contrôlez le réglage de la hauteur de coupe. | |||||||
| Vérifiez que la jupe pare-débris n'est pas sale ou endommagée. | |||||||
| Nettoyez l'unité de coupe. | |||||||
| Contrôlez les déflecteurs avant. | |||||||
| Lubrifiez tous les graisseurs.1 | |||||||
| Retouchez les peintures endommagées. | |||||||
|
1. Immédiatement après chaque lavage, quelle que soit la fréquence d'entretien indiquée. |
|||||||
| Notes concernant les problèmes constatés | ||
| Contrôle effectué par : | ||
| Point contrôlé | Date | Information |
| Périodicité d'entretien | Procédure d'entretien |
|---|---|
| À chaque utilisation ou une fois par jour |
|
Type de graisse : graisse au lithium nº 2
Remplacez les graisseurs endommagés.
Voir sur la Figure 23 l'emplacement de chaque paire de graisseurs sur l'unité de coupe.

| Périodicité d'entretien | Procédure d'entretien |
|---|---|
| Toutes les 50 heures |
|
Le boîtier d'engrenages est conçu pour fonctionner avec de l'huile pour engrenages SAE 80W–90 à base de pétrole ou synthétique. Le boîtier d'engrenages est rempli de lubrifiant à l'usine. Vérifiez toutefois le niveau du liquide avant d'utiliser l'unité de coupe. Le boîtier d'engrenages a une capacité de 0,33 litre.
Garez la machine sur une surface plane et horizontale, abaissez l'unité de coupe, serrez le frein de stationnement, coupez le moteur et enlevez la clé.
Retirez le bouchon du reniflard au sommet du boîtier d'engrenages (Figure 24) et vérifiez que le niveau d'huile se situe entre les repères de remplissage sur la partie inférieure du bouchon. Si le niveau de lubrifiant est trop bas, faites l'appoint de lubrifiant pour faire monter le niveau entre les repères.

Montez et serrez le bouchon d'aération à 9 N·m.
| Périodicité d'entretien | Procédure d'entretien |
|---|---|
| Toutes les 400 heures |
|
Garez la machine sur une surface plane et horizontale, abaissez l'unité de coupe, serrez le frein de stationnement, coupez le moteur et enlevez la clé.
Placez un bac de vidange sous le bouchon de vidange du boîtier d'engrenages (Figure 25).
Retirez le bouchon de vidange sur le côté inférieur gauche du boîtier d'engrenages et vidangez le liquide (Figure 25).

Remettez le bouchon de vidange en place et serrez-les à un couple de 20 à 27 N·m.
Retirez le bouchon d'aération au sommet du boîtier d'engrenages.
Remplissez le boîtier d'engrenages avec le lubrifiant correct, et vérifiez régulièrement que le niveau de lubrifiant se situe entre les repères de remplissage inférieurs du bouchon d'aération ; voir Contrôle de l'huile du boîtier d'engrenages.
Lorsque le lubrifiant se situe entre les repères de remplissage inférieurs du bouchon d'aération, remettez le bouchon d'aération en place et serrez-le à 9 N·m.
| Périodicité d'entretien | Procédure d'entretien |
|---|---|
| Toutes les 250 heures |
|
Garez la machine sur une surface plane et horizontale, abaissez l'unité de coupe, serrez le frein de stationnement, coupez le moteur et enlevez la clé.
Desserrez les 4 boulons captifs qui fixent le haut et le bas du protège-courroie sur la machine (Figure 26).


Desserrez, mais n'enlevez pas, l'écrou de la poulie de tension (Figure 27).
Note: Pour desserrer l'écrou de la poulie de tension, vous devez bloquer le boulon en place sur l'intérieur du plateau.
Ajustez l'écrou sur l'ergot de la poulie de tension pour tendre la courroie (Figure 27).
Avec un tensiomètre à barillet, appuyez sur la courroie pour en vérifier la tension comme suit (Figure 28) :
Si la courroie est neuve, vous devriez pouvoir obtenir une flèche de 5 mm quand vous exercez une force de 6 à 6,4 kg.
Si la courroie est usagée, vous devriez pouvoir obtenir une flèche de 5 mm quand vous exercez une force de 5,1 à 5,6 kg.

Ajustez l'écrou sur l'ergot de la poulie de tension pour tendre ou détendre la courroie.
Tournez le rotor à la main d'un ou deux tours et vérifiez à nouveau la tension de la courroie ; si elle n'est pas correcte, contrôlez et réglez jusqu'à ce qu'elle soit correcte.
Serrez l'écrou de la poulie de tension à 100 N·m.
Posez le protège-courroie (Figure 26).
| Périodicité d'entretien | Procédure d'entretien |
|---|---|
| Toutes les 250 heures |
|
Garez la machine sur une surface plane et horizontale, abaissez l'unité de coupe, serrez le frein de stationnement, coupez le moteur et enlevez la clé.
Déposez le protège-courroie (Figure 26).
Serrez les vis de fixation des douilles de blocage coniques à 30 N·m.

Posez le protège-courroie.
Garez la machine sur une surface plane et horizontale, abaissez l'unité de coupe, serrez le frein de stationnement, coupez le moteur et enlevez la clé.
Détachez la chape de l'arbre de PDF de l'arbre du boîtier d'engrenages de l'unité de coupe, comme montré à la Figure 13.
Important: Chaque fois que vous déposez l'arbre de PDF du boîtier d'engrenages, utilisez des vis et des contre-écrous neufs pour fixer l'arbre sur le boîtier.
Retirez les fixations qui retiennent la jupe pare-débris sur le support d'essieu avant sur le groupe de déplacement (Figure 14).
Retirez les goupilles à anneau et les axes qui fixent l'unité de coupe sur les bras de levage (Figure 30).

Éloignez la machine de l'unité de coupe.
Les bras des roues pivotantes sont munis de bagues enfoncées à la presse en haut et en bas du tube. Les bagues s'usent après de nombreuses heures d'utilisation.
Pour vérifier l'état des bagues, bougez la fourche de la roue pivotante longitudinalement et latéralement. Si l'axe de pivot bouge à l'intérieur des bagues, cela signifie que les bagues sont usées ; vous devez alors les remplacer.
Garez la machine sur une surface plane et horizontale, levez l'unité de coupe et soutenez-la avec des chandelles, serrez le frein de stationnement, coupez le moteur et enlevez la clé.
Retirez le chapeau de tension, la ou les entretoise(s) et la rondelle de butée situés en haut de l'axe de pivot.
Sortez l'axe de pivot du tube de montage, mais laissez la rondelle de butée et la ou les entretoise(s) au bas de l'axe.
Insérez un chasse-goupille dans le haut ou le bas du tube de montage et chassez la bague hors du tube (Figure 31). Chassez ensuite l'autre bague. Nettoyez l'intérieur des tubes de montage.

Graissez l'intérieur et l'extérieur des nouvelles bagues. À l'aide d'un marteau et d'une plaque plate, enfoncez les bagues dans le tube de montage.
Examinez l'usure du pivot de la roue pivotante et remplacez-le s'il est endommagé.
Poussez le pivot de la roue pivotante dans les bagues et le tube de montage, enfilez la rondelle de butée et la ou les entretoises sur le pivot, puis posez le chapeau de tension sur le pivot.
| Périodicité d'entretien | Procédure d'entretien |
|---|---|
| Après les 2 premières heures de fonctionnement |
|
| Après les 10 premières heures de fonctionnement |
|
| Toutes les 50 heures |
|
Garez la machine sur une surface plane et horizontale, levez l'unité de coupe et soutenez-la avec des chandelles, serrez le frein de stationnement, coupez le moteur et enlevez la clé.
Enlevez le contre-écrou du boulon qui fixe la roue pivotante à la chape (Figure 32). Maintenez la roue pivotante et sortez le boulon de la fourche ou du bras de pivot.
Enlevez le roulement du moyeu de la roue et laissez tomber la douille d'écartement à l'extérieur (Figure 32). Enlevez le roulement de l'autre côté du moyeu.
Vérifiez l'usure des roulements, de la douille d'écartement et de l'intérieur du moyeu. Remplacez les pièces endommagées.
Pour assembler la roue pivotante, enfoncez le roulement dans le moyeu. Lors de la pose des roulements, appuyez sur la bague extérieure des roulements.

Glissez la douille d'écartement dans le moyeu. Insérez l'autre roulement dans le côté ouvert du moyeu pour bloquer la douille d'écartement à l'intérieur.
Montez la roue pivotante entre la fourche et fixez-la en place à l'aide du boulon et du contre-écrou.
| Périodicité d'entretien | Procédure d'entretien |
|---|---|
| Toutes les 50 heures |
|
Serrez tous les boulons de lame à 45 N·m.
| Périodicité d'entretien | Procédure d'entretien |
|---|---|
| À chaque utilisation ou une fois par jour |
|
Vérifiez que tous les déflecteurs sont en bon état et peuvent tourner librement ; remplacez les déflecteurs endommagés.
La puissance résiduelle dans le système de rotor à fléaux peut provoquer un mouvement brusque du ou des rotors lorsque l'obstruction est éliminée et entraîner des blessures.
N'essayez jamais de faire tourner les rotors à fléaux ou de les déboucher à la main.
Portez toujours des gants de protection et utilisez un manche en bois.
Assurez-vous que le manche en bois peut passer dans le rotor à fléaux et qu'il est assez long pour vous permettre de faire levier et débloquer le cylindre.
Placez la commande de PDF en position DéSENGAGéE.
Garez la machine sur une surface plane et horizontale, réglez la commande d'accélérateur en position de ralenti et serrez le frein de stationnement.
Levez l'unité de coupe de manière à pouvoir accéder à l'obstruction.
Coupez le moteur, enlevez la clé de contact et attendez l'arrêt complet de toutes les pièces mobiles.
Soutenez l'unité de coupe élevée avec des chandelles.
Utilisez un manche en bois pour enlever les obstructions avec précaution.
Important: Le rotor à fléaux peut tourner pendant que vous dégagez l'obstruction.
Important: Évitez d'employer une force excessive lorsque vous enlevez l'obstruction.
Retirez le manche en bois de l'unité de coupe avant de démarrer le moteur.
Réparez ou réglez l'unité de coupe si nécessaire.
| Périodicité d'entretien | Procédure d'entretien |
|---|---|
| Toutes les 50 heures |
|
Vérifiez que les pneus des roues pivotantes sont gonflés à une pression de 2 à 3,5 bar.
| Périodicité d'entretien | Procédure d'entretien |
|---|---|
| À chaque utilisation ou une fois par jour |
|
Pour contrôler les vibrations du rotor, faites tourner l'unité de coupe à plein régime.
Démarrez le moteur et conduisez la machine sur une surface de niveau, dégagée et isolée.
Abaissez l'unité de coupe au sol et serrez le frein de stationnement.
Engagez la PDF et faites tourner le moteur à plein régime tout en observant si le rotor vibre de manière anormale.
Si le rotor vibre de manière anormale, effectuez la procédure suivante :
Réglez l'accélérateur au ralenti, arrêtez la PDF et levez l'unité de coupe.
Coupez le moteur, enlevez la clé et attendez l'arrêt complet de toutes les pièces mobiles.
Sur l'unité de coupe, vérifiez si :
Des débris empêchent le bon fonctionnement du rotor ou des lames, et éliminez les éventuels blocages ; voir Nettoyage d'un rotor bloqué.
Le rotor est endommagé ou les roulements du rotor sont usés ; voir Contrôle des roulements du rotor.
Si des lames manquent, sont endommagées, mal équilibrées ou excessivement usées ; voir Affûtage des lames et Remplacement des lames.
Important: Les paires opposées de lames doivent toutes être usées au même degré ; en effet, les lames non équilibrées peuvent affecter l'équilibrage du rotor.
Important: Si vous ne pouvez pas remédier à la cause des vibrations anormales du rotor, contactez votre distributeur Toro agréé.
| Périodicité d'entretien | Procédure d'entretien |
|---|---|
| Toutes les 50 heures |
|
Important: Portez des gants pour vérifier les roulements du rotor.
Garez la machine sur une surface plane et horizontale, et serrez le frein de stationnement.
Levez l'unité de coupe, coupez le moteur, enlevez la clé et attendez l'arrêt complet de toutes les pièces mobiles.
Soutenez l'unité de coupe avec des chandelles.
Saisissez le rotor de chaque côté et vérifiez s'il présente un jeu axial excessif ; si c'est le cas, il faut probablement le remplacer ; contactez votre distributeur Toro agréé.
| Périodicité d'entretien | Procédure d'entretien |
|---|---|
| À chaque utilisation ou une fois par jour |
|
Vérifiez visuellement que la jupe pare-débris est en bon état et éliminez les débris éventuellement déposés dessus.
L'utilisation d'une meuleuse de façon dangereuse peut entraîner de graves dommages corporels ou matériels.
Assurez-vous que la personne chargée de l'affûtage des lames a reçu une formation adéquate sur l'utilisation sûre d'une meuleuse manuelle.
Utilisez une meuleuse d'angle pour affûter la surface oblique à l'arrière de la lame (Figure 33).
Important: Ne meulez pas la partie avant de la lame de fléau.
Pendant l'affûtage, gardez le bord tranchant parfaitement à l'horizontale, et la surface oblique bien à plat sur le sol (Figure 33).
Utilisez la meuleuse avec précaution pour éviter que le fléau ne devienne trop chaud ; sinon, l'acier risque de perdre de sa dureté.
N'aiguisez jamais les lames au-delà de la ligne d'usure indiquée par les 5 points (Figure 33). Assurez-vous que toutes les lames de fléau sont aiguisées de la même manière afin de préserver l'équilibre de chaque rotor.
Conservez une lame neuve à titre de modèle auquel vous référer pendant le meulage.

| Périodicité d'entretien | Procédure d'entretien |
|---|---|
| Une fois par an |
|
Pour conserver un bon équilibrage, remplacez toujours les lames par paire opposée ou par rotor complet. Remplacez aussi la bague, le boulon et le contre-écrou quand vous remplacez une lame. Deux kits d'entretien proposés pour le remplacement des lames ; consultez le Catalogue de pièces de la machine.
Soulevez l'unité de coupe et calez-la avec des chandelles.
Serrez le frein de stationnement, coupez le moteur et enlevez la clé.
Tournez le rotor lentement à la main de manière à ce que chaque rangée de fléaux soit à la position voulue et facile d'accès.
Enlevez les débris présents sur la tête de boulon et l'écrou, et nettoyez le filetage qui dépasse avec une brosse métallique.
Repérez la position de la tête de boulon afin de pouvoir remettre le boulon en place par le même côté.
Tenez la lame avec un chiffon ou un gant épais et retirez l'écrou, le boulon, la bague et la lame (Figure 34).
Note: Au besoin, appliquez du dégrippant sur le filetage pour faciliter le retrait de l'écrou.

Mettez au rebut la lame, la bague, l'écrou et le boulon.
Fixez une lame et une bague neuves avec un écrou et un boulon neufs (Figure 34).
Note: Tenez compte des repères de position de la tête du boulon de manière à replacer le boulon dans la même direction.
Serrez les fixations à 45 N·m.
| Périodicité d'entretien | Procédure d'entretien |
|---|---|
| À chaque utilisation ou une fois par jour |
|
Enlevez chaque jour l'herbe agglomérée sous l'unité de coupe.
Garez la machine sur une surface plane et horizontale, levez l'unité de coupe à la position de TRANSPORT, serrez le frein de stationnement, coupez le moteur et enlevez la clé.
Lavez soigneusement le dessous de l'unité de coupe à l'eau.
Garez la machine sur une surface plane et horizontale, levez l'unité de coupe à la position de TRANSPORT, serrez le frein de stationnement, coupez le moteur et enlevez la clé.
Nettoyez soigneusement l'unité de coupe en insistant tout particulièrement sur les zones suivantes :
Dessous de l'unité de coupe
Dessous du protège-courroie de l'unité de coupe
Arbre de PDF
Tous les graisseurs et points de pivotement
Contrôlez et ajustez la pression des pneus avant et arrière du groupe de déplacement ; voir le Manuel de l'utilisateur du groupe de déplacement.
Affûtez toutes les lames et remplacez celle qui sont endommagées ; voir Affûtage des lames et Remplacement des lames.
Vérifiez le serrage de toutes les fixations et resserrez-les au besoin.
Graissez ou huilez tous les graisseurs et points de pivotement, et essuyez l'excédent de lubrifiant ; voir Graissage de l'unité de coupe.
Poncez légèrement et retouchez la peinture rayée, écaillée ou rouillée. Réparez les déformations.