| Wartungsintervall | Wartungsmaßnahmen |
|---|---|
| Bei jeder Verwendung oder täglich |
|
| Alle 50 Betriebsstunden |
|
Das Schlegelmessermähwerk wird an einem Aufsitzrasenmäher befestigt und sollte nur von geschulten Lohnarbeitern in gewerblichen Anwendungen eingesetzt werden. Er ist hauptsächlich für das Mähen von Gras auf gepflegten Grünflächen in Parkanlagen, Sportplätzen und öffentlichen Anlagen gedacht. Wenn diese Maschine für einen anderen Zweck als vorgesehen eingesetzt wird, kann das für Sie und andere Personen gefährlich sein.
Lesen Sie diese Informationen sorgfältig durch, um sich mit dem ordnungsgemäßen Einsatz und der Wartung des Geräts vertraut zu machen und Verletzungen und eine Beschädigung des Geräts zu vermeiden. Sie tragen die Verantwortung für einen ordnungsgemäßen und sicheren Einsatz des Produkts.
Besuchen Sie Toro.com, hinsichtlich Produktsicherheit und Schulungsunterlagen, Zubehörinformationen, Standort eines Händlers oder Registrierung des Produkts.
Wenden Sie sich an den Toro-Vertragshändler oder Kundendienst, wenn Sie eine Serviceleistung, Originalersatzteile von Toro oder weitere Informationen benötigen. Haben Sie dafür die Modell- und Seriennummern der Maschine griffbereit. Bild 1 zeigt die Position der Modell- und Seriennummern am Produkt. Tragen Sie hier bitte die Modell- und Seriennummern des Geräts ein.
Important: Scannen Sie mit Ihrem Mobilgerät den QR-Code (falls vorhanden) auf dem Typenschild, um auf Garantie-, Ersatzteil-, oder andere Produktinformationen zuzugreifen.

In dieser Anleitung werden potenzielle Gefahren angeführt und Sicherheitshinweise werden vom Sicherheitswarnsymbol (Bild 2) gekennzeichnet. Dieses Warnsymbol weist auf eine Gefahr hin, die zu schweren oder tödlichen Verletzungen führen kann, wenn Sie die empfohlenen Sicherheitsvorkehrungen nicht einhalten.

In dieser Anleitung werden zwei Begriffe zur Hervorhebung von Informationen verwendet. Wichtig weist auf spezielle technische Informationen hin, und Hinweis hebt allgemeine Informationen hervor, die Ihre besondere Beachtung verdienen.
Dieses Produkt entspricht allen relevanten europäischen Richtlinien. Weitere Informationen finden Sie in der Einbauerklärung am Ende dieses Dokuments.
KALIFORNIEN
Warnung zu Proposition 65
Bei Verwendung dieses Produkts sind Sie ggf. Chemikalien ausgesetzt, die laut den Behörden des Staates Kalifornien krebserregend wirken, Geburtsschäden oder andere Defekte des Reproduktionssystems verursachen.
Diese Maschine wurde in Übereinstimmung mit ANSI B71.4-2017 und der Sicherheitsrichtlinie 2006/46/EG konstruiert.
Dieses Produkt kann Hände und Füße amputieren. Befolgen Sie zum Vermeiden von schweren Verletzungen immer alle Sicherheitshinweise.
Lesen und verstehen Sie vor dem Einsatz der Maschine den Inhalt dieser Bedienungsanleitung.
Konzentrieren Sie sich immer bei der Verwendung der Maschine. Tun Sie nichts, was Sie ablenken könnte, sonst können Verletzungen oder Sachschäden auftreten.
Halten Sie Hände und Füße von beweglichen Teilen fern.
Bedienen Sie die Maschine niemals, wenn nicht alle Schutzvorrichtungen und Abdeckungen angebracht und funktionstüchtig sind.
Bleiben Sie immer von der Auswurföffnung fern.
Halten Sie Unbeteiligte und Kinder vom Arbeitsbereich fern. Die Schneefräse darf niemals von Kindern betrieben werden.
Bevor Sie den Fahrerstand verlassen, gehen Sie wie folgt vor:
Stellen Sie die Maschine auf einer ebenen Fläche ab.
Senken Sie die Schneideinheiten ab.
Kuppeln Sie die Antriebe aus.
Aktivieren Sie ggf. die Feststellbremse (sofern vorhanden).
Stellen Sie den Motor ab und ziehen Sie den Schlüssel ab.
Warten Sie, bis alle beweglichen Teile zum Stillstand gekommen sind.
Der unsachgemäße Einsatz oder die falsche Wartung
dieser Maschine kann zu Verletzungen führen. Befolgen Sie zur
Verringerung des Verletzungsrisikos diese Sicherheitshinweise und
beachten Sie das Warnsymbol
mit der Bedeutung Achtung, Warnung oder Gefahr
– Sicherheitsrisiko. Wenn diese Hinweise nicht beachtet werden,
kann es zu schweren bis tödlichen Verletzungen kommen.
Die Schneideinheit ist nur dann eine komplette Maschine, wenn es auf einer Zugmaschine installiert ist. Lesen Sie die Betriebsanleitung der Zugmaschine sorgfältig durch, um umfassende Anweisungen für den sicheren Gebrauch der Maschine zu erhalten.
Halten Sie die Maschine an, ziehen Sie den Schlüssel ab (sofern vorhanden), senken Sie das Mähwerk ab und warten Sie, bis alle beweglichen Teile zum Stillstand gekommen sind, bevor Sie das Anbaugerät prüfen, wenn Sie ein Objekt berührt haben oder die Maschine ungewöhnliche Vibrationen aufweist. Führen Sie alle erforderlichen Reparaturen durch, ehe Sie die Maschine wieder in Gebrauch nehmen.
Alle Teile müssen sich in gutem Zustand befinden, und alle Befestigungsteile müssen festgezogen sein. Tauschen Sie abgenutzte oder beschädigte Aufkleber aus.
Verwenden Sie nur von Toro zugelassenes Zubehör, Anbaugeräte und Ersatzteile.
Ein abgenutztes oder beschädigtes Messer kann zerbrechen. Herausgeschleuderte Messerstücke können Sie oder Unbeteiligte treffen und schwere oder tödliche Verletzungen verursachen.
Prüfen Sie die Messer regelmäßig auf Abnutzung oder Beschädigungen.
Prüfen Sie die Messer vorsichtig. Wickeln Sie die Messer in einen Lappen ein oder tragen Handschuhe; gehen Sie bei der Wartung der Messer mit besonderer Vorsicht vor. Ersetzen oder schärfen Sie nur die Messer.
![]() |
Die Sicherheits- und Anweisungsaufkleber sind gut sichtbar; sie befinden sich in der Nähe der möglichen Gefahrenbereiche. Tauschen Sie beschädigte oder verloren gegangene Aufkleber aus. |









Note: Bewahren Sie alle abmontierten Teile auf, sofern nicht anders angegeben.
Parken Sie die Maschine auf einer ebenen Fläche, kuppeln Sie die Zapfwelle aus, senken Sie die Hubarme in die niedrigste Stellung ab, aktivieren Sie die Feststellbremse, stellen Sie den Motor ab und ziehen Sie den Schlüssel ab.
Lassen Sie vor dem Einstellen, Reinigen, Einlagern und Reparieren alle beweglichen Teile zum Stillstand kommen und die Maschine abkühlen.
Nehmen Sie ein angebautes Mähwerk von den Hubarmen der Maschine ab, siehe Bedienungsanleitung des Mähwerks.
Vergewissern Sie sich, dass die Zapfwelle korrekt ausgerichtet ist. Weitere Informationen zur Ausrichtung der Zapfwelle finden Sie in der Betriebsanleitung Ihrer Zugmaschine.
Important: Wenn die Markierungen auf der Antriebswelle nicht ausgerichtet sind, kann eine starke Unwucht im Antriebsstrangsystem auftreten.
Sind Hubarme für das Kreiselmähwerk an der Zugmaschine angebaut, entfernen Sie die Hubarme wie folgt:
Heben Sie die Vorderseite der Maschine an und nehmen Sie die Vorderräder von der Maschine ab; siehe Bedienungsanleitung Ihrer Zugmaschine.
Entfernen Sie die beiden Schlossschrauben und Muttern (⅜“) der Sensorhalterung am rechten Hubarm (Bild 3).
Entfernen Sie die beiden Schrauben (⅜" x 1¼"), die beiden Muttern (⅜") und zwei kleinen Stifte, mit denen die Hubarme an den Zylindern befestigt sind (Bild 3).
Entfernen Sie die Mutter und die Schrauben, mit denen die großen Stifte an den Hubarmen befestigt sind, wie in Bild 4 dargestellt.
Entfernen Sie die Hubarme und die großen Stifte vom Maschinenrahmen (Bild 5).



Für diesen Arbeitsschritt erforderliche Teile:
| Laufradgabel | 2 |
| Laufradschraube | 2 |
| Lager | 4 |
| Distanzstück des Lagers | 2 |
| Große Sicherungsmutter | 2 |
| Laufradarm | 2 |
| Schlossschraube (M10) | 12 |
| Sicherungsmutter (M10) | 12 |
| Spannkappe | 2 |
| Abstandshalter Schnitthöheneinstellung | 14 |
| Beilagscheibe | 4 |
Montieren Sie die Laufräder an der Laufradgabel, wie in Bild 6 dargestellt.
Note: Verwenden Sie nur das obere Achswellenloch; stellen Sie die Position des Laufrads nicht ein.

Montieren Sie jeden Laufradarm mit sechs Schlossschrauben (M10) und sechs Sicherungsmuttern (M10) am Mähwerk, wie in Bild 7 dargestellt; ziehen Sie die Sicherungsmuttern auf ein Drehmoment von 47 bis 57 N·m an.

Montieren Sie die Laufräder mit einer Beilagscheibe auf beiden Seiten der Nabe der Laufradwelle am Mähwerk, wie in Bild 8 dargestellt.
Note: Sie können die Schnitthöheneinstellung durch Ändern der Anzahl der Abstandshalter auf beiden Seiten der Nabe der Laufradwelle anpassen; siehe Einstellen der Schnitthöhe.

Stellen Sie sicher, dass das Mähwerk waagerecht steht; stellen Sie das Mähwerk auf eine ebene Fläche und legen Sie eine Wasserwaage horizontal über die Oberseite des Mähwerks.
Wenn das Mähwerk nicht waagerecht steht, positionieren Sie die Unterlegscheiben auf der Lenkradwelle entsprechend, bis das Mähwerk waagerecht ausgerichtet ist.
Für diesen Arbeitsschritt erforderliche Teile:
| Schmutzfänger | 1 |
| Halterung | 1 |
| Niete | 5 |
Verwenden Sie fünf Nieten, um die Halterung und den Schmutzfänger an der Vorderachse zu befestigen (Bild 9).

Für diesen Arbeitsschritt erforderliche Teile:
| Hubarm | 2 |
| Großer Stift | 2 |
| Lange Schraube (⅜" x 2¾") | 2 |
| Mutter (⅜") | 6 |
| Kleiner Stift | 2 |
| Schraube (⅜" x 1¼") | 2 |
| Schlossschraube (⅜" x 1¼") | 2 |
| Innensechskantschraube (⅜" x 2¼") | 2 |
| Scheibe (⅜") | 2 |
| Sicherungsbundmutter (⅜") | 2 |
| Hubarmstift | 2 |
| Klappstecker | 2 |
| Sensorhalterung | 1 |
Heben Sie die Vorderseite der Maschine an und nehmen Sie die Vorderreifen von der Maschine ab; siehe Bedienungsanleitung Ihrer Zugmaschine.
Montieren Sie die Hubarme und die großen Stifte am Maschinenrahmen (Bild 10).

Sichern Sie den großen Stift am Hubarm mit einem Paar Schrauben und Muttern, wie in Bild 11 dargestellt.

Befestigen Sie jedes Ende der Zylinderstange an den einzelnen Hubarmen mit einem kleinen Stift, Schrauben (⅜" x 1¼") und Mutter (⅜"), wie in Bild 12 dargestellt.
Note: Drehen Sie den Hubarm manuell, um ihn mit dem Ende der Zylinderstange auszurichten.
Befestigen Sie die Sensorhalterung am rechten Hubarm mit zwei Schlossschrauben und zwei Muttern (⅜"), wie in Bild 12 dargestellt.

Stellen Sie sicher, dass die Sensorhalterung nicht den Sensor behindert; siehe Einstellen der Sensorhalterung.
Wenn Sie die Sensorhalterung anbringen, drehen Sie die Halterung nach oben (wie in Bild 12 dargestellt), bevor Sie sie festklemmen.
Richten Sie das Mähwerk vor dem Maschinenrahmen und der Zapfwelle aus.
Gehen Sie wie folgt vor, um die Zapfwelle am Mähwerk anzubringen:
Montieren Sie das Zapfwellenjoch an der Welle des Mähwerkgetriebes, wie in Bild 13 dargestellt.
Montieren Sie eine Innensechskantschraube (⅜" x 2¼") durch eine Unterlegscheibe (⅜") und die Bohrung in der Antriebswellengabel (Bild 13), und sichern Sie die Innensechskantschraube mit einer Sicherungsbundmutter (⅜").
Montieren Sie eine Innensechskantschraube (⅜" x 2¼") durch eine Unterlegscheibe (⅜") und die Bohrung in der Antriebswellengabel von der entgegengesetzten Richtung (Bild 13), und sichern Sie die Innensechskantschraube mit einer Sicherungsbundmutter (⅜").
Ziehen Sie die Sicherungsmuttern abwechselnd auf ein Drehmoment von 61 N·m an.
Important: Stellen Sie sicher, dass die Schrauben des Zapfwellenjochs mit dem angegebenen Drehmoment angezogen sind. Werden die Schrauben nicht ordnungsgemäß auf das vorgegebene Drehmoment angezogen, kommt es zum frühzeitigen Ausfall wichtiger Bauteile.
Important: Wenn Sie die Zapfwelle aus dem Getriebe entfernen, verwenden Sie neue Kopfschrauben und Sicherungsmuttern, um die Zapfwelle am Getriebe zu befestigen.

Befestigen Sie den Schlegel mit den Hubarmstiften und Klappsteckern an den Hubarmen (Bild 30).
Für diesen Arbeitsschritt erforderliche Teile:
| Halterung der Schmutzfangschürze | 1 |
| Schlossschraube (M8) | 6 |
| Bundmutter (M8) | 6 |
Befestigen Sie die Schmutzfangschürze mit sechs Schlossschrauben (M8), sechs Bundmuttern (M8) und die Halterung der Schmutzfangschürze an der Achsaufnahme.
Note: Sie können ein Vorderrad oder beide Vorderräder entfernen, um den Zugang zu diesem Bereich zu erleichtern. Anweisungen zum Aus- und Einbau der Räder finden Sie im Einrichtungsabschnitt in der Betriebsanleitung der Zugmaschine.

Für diesen Arbeitsschritt erforderliche Teile:
| Schutzvorrichtung Zapfwelle | 1 |
| Schraube (⅜" x ¾") | 2 |
| Scheibe (⅜") | 2 |
Installieren Sie die Schutzvorrichtung der Zapfwelle an der Oberseite des Getriebes, wie in Bild 15 dargestellt.

Der Sensor und die Sensorhalteplatte sollten einen Abstand von 6 mm zueinander haben (Bild 16).

Ist der Abstand nicht korrekt, führen Sie die folgenden Schritte aus, um die Sensorhalterung einzustellen:
Lösen Sie die Sicherungsmuttern, mit denen der Sensor an der Sensorhalterung befestigt ist, und stellen Sie diesen so ein, dass der richtige Abstand zwischen dem Sensor und der Sensorplatte besteht.
Ziehen Sie die Sicherungsmutter des Sensors bis auf ein Drehmoment von 19 bis 21 N·m an.
Stellen Sie die Gewichtsverlagerung des Anbaugerätes ein; siehe Bedienungsanleitung der Zugmaschine.
Stellen Sie sicher, dass das Getriebe die richtige Menge an Schmiermittel enthält; siehe Prüfen des Schmiermittels im Getriebe.
Pumpen Sie die Laufradreifen auf 2 bis 3,5 bar auf; siehe Prüfen des Reifendrucks der Laufräder.
Schmieren Sie die Mähwerk vor dem ersten Arbeitsgang ab; siehe Einfetten des Mähwerks. Wenn Sie die Maschine nicht einwandfrei einfetten, kommt es zum frühzeitigen Ausfall kritischer Bauteile.
Verwenden Sie den Bildschirm der Zugmaschine, um den Wendemodus zu aktivieren; siehe Bedienungsanleitung der Zugmaschine.
Important: Die Verwendung des Wendemodus mit angebauten Schlegelmäher hilft, einen vorzeitigen Verschleiß des Antriebsstrangs zu verhindern. Beim Mähen mit einem Schlegelmäher müssen Sie immer den Wendemodus aktivieren.
Note: Im Wendemodus können Sie den Schlegelmäher schnell über die Grasnarbe heben, wenn Sie am Ende eines Mähdurchgangs (oder beim Umfahren von Hindernissen) schnell wenden wollen, ohne die Zapfwelle auszukuppeln.
Bevor Sie die Zapfwelle mit einem angebauten Schlegelmähwerk einschalten, stellen Sie die Motordrehzahl der Zugmaschine mit dem Gashebel auf eine mittlere Drehzahl ein. Sobald Sie die Zapfwelle eingekuppelt haben, erhöhen Sie die Motordrehzahl mit dem Gashebel auf volle Drehzahl.
Important: Die Reduzierung der Motordrehzahl vor dem Einkuppeln der Zapfwelle mit angebauten Schlegelmähwerk hilft, einen vorzeitigen Verschleiß des Antriebsstrangs zu verhindern.
Verwenden Sie den Bildschirm der Zugmaschine, um den Modus LOW RPM PTO ENGAGE [Zapfwelle mit niedriger Drehzahl einkuppeln] zu aktivieren; siehe Bedienungsanleitung der Zugmaschine.
Note: Der LOW RPM PTO ENGAGE [Zapfwelle mit niedriger Drehzahl einkuppeln] Modus reduziert automatisch die Motordrehzahl, wenn die Zapfwelle eingekuppelt wird, und erhöht dann automatisch die Motordrehzahl auf die volle Drehzahl.
Important: Die Verwendung des LOW RPM PTO ENGAGE [Zapfwelle mit niedriger Drehzahl einkuppeln] Modus mit angebautem Schlegelmähwerk hilft, vorzeitigen Verschleiß des Antriebsstrangs zu vermeiden.
Für diesen Arbeitsschritt erforderliche Teile:
| Distanzstück | 2 |
| Schraube (¼" x 1¼") | 4 |
Bei Zugmaschinen, die mit einem Kabinen- und Straßenbeleuchtungskit für öffentlichen Straßenverkehr ausgestattet sind, kann der Schlegelmäher die Straßenbeleuchtung berühren. Um einen Kontakt mit der Straßenbeleuchtung zu vermeiden, bringen Sie die Distanzstücke an, um die Bewegung der Hubarme zu begrenzen.
Entfernen Sie die vorhandenen Schrauben (¼") und Gummipuffer an der Unterseite des vorderen Chassis (Bild 17).
Entsorgen Sie die Schrauben und bewahren Sie die Gummipuffer auf.
Befestigen Sie die Distanzstücke und Gummipuffer mit neuen Schrauben (¼" x 1¼") am Chassis (Bild 17).
Ziehen Sie die Schrauben fest, bis die Schraubenköpfe mit den Gummipuffern bündig sind.

Note: Änderungen der technischen Daten und des Designs sind vorbehalten.
| Schnittbreite |
1,52 m |
| Schnitthöhe | Verstellbar von 19 mm bis 102 mm in Schritten von 13 mm. |
| Nettogewicht |
260 kg |
Ein Sortiment an Originalanbaugeräten und -zubehör des Herstellers wird für diese Maschine angeboten, um den Funktionsumfang des Geräts zu erhöhen und zu erweitern. Wenden Sie sich an den offiziellen Hersteller oder einen seiner Vertragshändler oder navigieren Sie auf www.Toro.com für eine Liste der zugelassenen Anbaugeräte und des Zubehörs.
Verwenden Sie nur Originalersatzteile und -zubehörteile von Toro, um die optimale Leistung und Sicherheit zu gewährleisten. Ersatzteile und Zubehör anderer Hersteller können gefährlich sein und eine Verwendung könnte die Garantie ungültig machen.
Die Schlegelmesser müssen scharf und in gutem Zustand gehalten werden, um eine gute Schnittleistung, einen minimalen Stromverbrauch und ein gutes Schnittbild zu garantieren.
Das Mähwerk schwebt über dem Boden, um den Bodenkonturen zu folgen.
Stellen Sie vor dem Einschalten des Mähwerks sicher, dass der Motor auf eine niedrige Drehzahl eingestellt ist:
Zugmaschinenmodelle 31900, 31901, 31907 und 31909: Siehe Reduzieren der Motordrehzahl vor dem Einkuppeln der Zapfwelle.
Zugmaschinenmodelle 31902 und 31903: Siehe Aktivieren des Low RPM PTO Engage [Zapfwelle mit niedriger Drehzahl einkuppeln] Modus.
Betreiben Sie das Mähwerk bei voller Motordrehzahl. Stellen Sie die Vorwärtsgeschwindigkeit auf die Grasbedingungen ein, achten Sie darauf, dass die Mähwerke nicht überlastet werden. Je geringer die Vorwärtsgeschwindigkeit ist, desto besser ist die Schnittqualität und das Schnittbild.
Important: Achten Sie immer darauf, dass die Schnitthöhe gemäß diesen Anweisungen richtig eingestellt ist. Stellen Sie sicher, dass sowohl die Einstellplatte als auch die Distanzstücke der Laufradgabel gemäß der Tabelle eingestellt sind. Andernfalls kann es zu vorzeitigem Verschleiß des Antriebsstrangs und übermäßigen Vibrationen kommen..
Note: Die Schnitthöhe wird durch die Einstellung der Heckrolle und die vorderen Laufräder bestimmt. Messerverschleiß, Reifendruck und verbogene/beschädigte Laufradarme können die Schnitthöheneinstellung beeinflussen.

Stellen Sie die Maschine auf eine ebene Fläche, heben Sie das Mähwerk an und stützen Sie es mit Achsständern ab, stellen den Motor ab, aktivieren die Feststellbremse und ziehen den Schlüssel vom Zündschalter ab.
Die üblichen Einstellungen für die Schnitthöhe finden Sie in der Tabelle für die Schnitthöhe auf dem Schnitthöhenaufkleber (Bild 19).

Um die Position der Schnitthöheneinstellplatte einzustellen, entfernen Sie die Muttern und Schrauben, mit denen die Schnitthöheneinstellplatte befestigt ist (Bild 20).
Setzen Sie die Schrauben, an den in Bild 19 dargestellten Positionen, für die gewünschte Schnitthöhe ein und ziehen Sie die Muttern auf ein Drehmoment von 60 N·m an.

Um die Stellung der Laufradgabel einzustellen, entfernen Sie die Kappen für die Schnitthöheneinstellung von den vorderen Laufradwellen und stellen Sie die Anzahl der Distanzstücke auf beiden Seiten der Naben der Laufradwellen ein (Bild 19).
Note: Distanzstücke, die oberhalb der Nabe der Laufradwelle angebracht sind, verringern die Schnitthöhe, Distanzstücke, die unterhalb der Nabe angebracht sind, erhöhen die Schnitthöhe.
Installieren Sie die Spannkappen der Schnitthöheneinstellung.
| Wartungsintervall | Wartungsmaßnahmen |
|---|---|
| Bei jeder Verwendung oder täglich |
|
| Alle 50 Betriebsstunden |
|
Important: Falls ein einzelnes Messer beschädigt ist, sollten sowohl dieses Messer als auch das gegenüberliegende Messer entfernt und paarweise ersetzt werden, um die Balance zu erhalten.
Parken Sie die Maschine auf einer ebenen Fläche, heben die Mähwerke an, aktivieren die Feststellbremse, stellen den Motor ab und ziehen Sie den Schlüssel aus Zündschloss.
Stützen Sie das angehobene Mähwerk mit Achsständern ab.
Prüfen Sie jedes Messer auf Beschädigungen und achten Sie besonders auf die Befestigungen, die Schnittkante und die Befestigungslöcher (Bild 21). Ersetzen Sie beschädigte Messer und Befestigungen.

Prüfen Sie jedes Messer mit der Verschleißlinie auf zu starke Abnutzung (Bild 22). Wenn ein Messer bis auf die Verschleißlinie abgenutzt ist, tauschen Sie das Messer aus.

Ziehen Sie jede Messerschraube auf ein Drehmoment von 45 N·m an.
Fassen Sie jedes Messer an und stellen sicher, dass es höchstens 3 mm in jede Richtung vom Drehzylinder bewegt werden kann. Tauschen Sie das Messer aus, wenn es mehr als 3 mm bewegt werden kann.
Prüfen Sie jedes Paar der gegenüberliegenden Messer auf einen Gewichtsunterschied.
Note: Jedes Paar der gegenüberliegenden Messer sollte höchstens einen Gewichtsunterschied von 10 g haben.
Ein abgenutztes oder beschädigtes Messer kann zerbrechen. Herausgeschleuderte Messerstücke können Sie oder Unbeteiligte treffen und schwere oder tödliche Verletzungen verursachen.
Prüfen Sie die Messer regelmäßig auf Abnutzung oder Beschädigungen.
Tauschen Sie ein abgenutztes oder defektes Messer aus.
Um der Maschine und dem Mähwerk beim Mähen ausreichende Kraft zur Verfügung zu stellen, stellen Sie den Motor in die schnelle Gasbedienungsstellung und passen Sie die Fahrgeschwindigkeit den Bedingungen an. Verringern Sie die Fahrgeschwindigkeit, wenn die Belastung des Mähwerks ansteigt. Erhöhen Sie die Fahrgeschwindigkeit, wenn die Belastung des Mähwerks abnimmt.
Wechseln Sie die Mährichtung, um Rillen in der Rasenfläche zu vermeiden. Dadurch wird auch das Schnittgut besser verteilt, was wiederum die Zersetzung und Düngung verbessert.
Verwenden sie zur Verbesserung der Schnittqualität eine niedrigere Fahrgeschwindigkeit.
Wenn das Mähwerk breiter ist als beim vorher verwendeten Rasenmäher, erhöhen Sie die Schnitthöhe, um sicherzustellen, dass Sie einen unebenen Rasen nicht zu kurz mähen.
Mähen Sie ca. 25 mm, aber nie mehr als ein Drittel der Grashalme. Sie müssen bei extrem sattem und dichtem Gras u. U. die Geschwindigkeit verringern und/oder die Schnitthöhe um eine weitere Stufe erhöhen.
Mähen Sie den Rasen mit einer höheren Einstellung als normalerweise, wenn das Gras höher als üblich gewachsen oder wenn es sehr feucht ist. Mähen Sie den Rasen anschließend mit der niedrigeren, normalen Einstellung noch einmal.
Entfernen Sie nach jedem Einsatz Schnittgut und Schmutz von der Unterseite des Mähwerks. Wenn sich Gras und Schmutz im Mähwerk ansammelt, verschlechtert sich letztendlich die Schnittqualität.
Halten Sie die Bereiche um den Motor, den Auspuff, das Batteriefach, die Feststellbremse, die Mähwerke und den Kraftstofftank frei von Gras, Laub und überflüssigem Fett, um das Brandrisiko zu verringern. Wischen Sie Öl- und Kraftstoffverschüttungen auf.
Sorgen Sie während der ganzen Mähsaison für scharfe Schnittmesser, da ein scharfes Messer sauber schneidet, ohne die Grashalme abzureißen oder zu zerfetzen. Abgerissene Grashalme werden an den Kanten braun. Dadurch reduziert sich das Wachstum, und die Anfälligkeit des Rasens für Krankheiten steigt.
Prüfen Sie die Messer täglich auf Schärfe und Anzeichen von Abnutzung oder Schäden. Schärfen Sie die Messer ggf.
Wenn ein Messer beschädigt oder abgenutzt ist, ersetzen Sie es sofort durch ein Originalersatzmesser des Herstellers. Siehe Auswechseln der Messer.
| Wartungsintervall | Wartungsmaßnahmen |
|---|---|
| Nach zwei Betriebsstunden |
|
| Nach 10 Betriebsstunden |
|
| Bei jeder Verwendung oder täglich |
|
| Alle 50 Betriebsstunden |
|
| Alle 250 Betriebsstunden |
|
| Alle 400 Betriebsstunden |
|
| Jährlich |
|
Wenn Sie den Zündschlüssel im Zündschloss lassen, könnte eine andere Person den Motor versehentlich anlassen und Sie und Unbeteiligte schwer verletzen.
Ziehen Sie vor irgendwelchen Wartungsarbeiten den Zündschlüssel ab.
Kopieren Sie diese Seite für regelmäßige Verwendung.
| Wartungsprüfpunkt | Für KW: | ||||||
|---|---|---|---|---|---|---|---|
| Mo | Di | Mi | Do | Fr | Sa | So | |
| Prüfen Sie den Messerzustand und die Rotoren. | |||||||
| Prüfen Sie die Schnitthöheneinstellung. | |||||||
| Prüfen Sie die Schmutzfangschürze auf Verunreinigungen oder Beschädigungen. | |||||||
| Reinigen Sie das Mähwerk. | |||||||
| Kontrollieren Sie die vorderen Klappen. | |||||||
| Schmieren Sie alle Schmiernippel ein.1 | |||||||
| Bessern Sie alle Lackschäden aus. | |||||||
|
1. Unmittelbar nach jeder Wäsche, ungeachtet des aufgeführten Intervalls. |
|||||||
| Aufzeichnungen irgendwelcher Probleme | ||
| Inspiziert durch: | ||
| Punkt | Datum | Informationen |
| Wartungsintervall | Wartungsmaßnahmen |
|---|---|
| Bei jeder Verwendung oder täglich |
|
Schmierfettsorte: Nr. 2 Allzweckschmierfett auf Lithiumbasis
Austauschen beschädigter Schmiernippel
Die Lage der einzelnen Schmiernippelpaare am Mähwerk ist in Bild 23 angegeben.

| Wartungsintervall | Wartungsmaßnahmen |
|---|---|
| Alle 50 Betriebsstunden |
|
Für das Getriebe sollten Sie Getriebeschmiermittel der Sorte SAE 80W-90 auf Petroleum- oder synthetischer Basis verwenden. Obwohl das Getriebe werksseitig mit Öl versandt wird, sollten Sie den Stand vor dem Verwenden des Mähwerks prüfen. Ölfassungsvermögen Getriebe: 0,33 Liter
Parken Sie die Maschine auf einer ebenen Fläche, senken Sie das Mähwerk ab, aktivieren Sie die Feststellbremse, stellen Sie den Motor ab und ziehen Sie den Zündschlüssel ab.
Nehmen Sie den Entlüftungsstopfen an der Oberseite des Getriebes ab (Bild 24) und stellen Sie sicher, dass der Ölstand zwischen den Markierungen im unteren Bereich des Entlüftungsstopfens liegt. Wenn der Ölstand niedrig ist, füllen Sie Öl ein, bis der Stand zwischen den Markierungen liegt.

Setzen Sie die Entlüftungsschraube ein und ziehen Sie diesen auf ein Drehmoment von 9 N·m fest.
| Wartungsintervall | Wartungsmaßnahmen |
|---|---|
| Alle 400 Betriebsstunden |
|
Parken Sie die Maschine auf einer ebenen Fläche, senken Sie das Mähwerk ab, aktivieren Sie die Feststellbremse, stellen Sie den Motor ab und ziehen Sie den Zündschlüssel ab.
Stellen Sie eine Wanne unter die Ablassschraube am Getriebe (Bild 25).
Entfernen Sie die Ablassschraube an der linken unteren Seite des Getriebes und lassen Sie das Schmiermittel ab (Bild 25).

Setzen Sie die Ablassschraube ein und ziehen Sie diese auf ein Drehmoment von 20 bis 27 N·m fest.
Entfernen Sie die Entlüftungsschraube von der Oberseite des Getriebes.
Füllen Sie das Getriebe mit dem richtigen Getriebeöl und prüfen Sie dabei regelmäßig, ob sich das Getriebeöl zwischen den unteren Füllmarkierungen auf der Entlüftungsschraube befindet; siehe Prüfen des Schmiermittels im Getriebe.
Wenn sich das Getriebeöl zwischen den unteren Füllmarkierungen auf der Entlüftungsschraube befindet, setzen Sie die Entlüftungsschraube ein und ziehen Sie diese auf ein Drehmoment von 9 N·m fest.
| Wartungsintervall | Wartungsmaßnahmen |
|---|---|
| Alle 250 Betriebsstunden |
|
Parken Sie die Maschine auf einer ebenen Fläche, senken Sie das Mähwerk ab, aktivieren Sie die Feststellbremse, stellen Sie den Motor ab und ziehen Sie den Zündschlüssel ab.
Lösen Sie die vier unverlierbaren Schrauben, mit der die Ober- und Unterseite der Riemenabdeckung an der Maschine befestigt ist (Bild 26).


Lösen Sie die Spannscheibenmutter (Bild 27), aber entfernen Sie sie nicht.
Note: Um die Spannscheibenmutter zu lösen, müssen Sie die Schraube, die sie an der Innenseite des Mähwerks sichert, festhalten.
Stellen Sie die Mutter am Spannscheibenzapfen ein, um den Riemen zu spannen (Bild 27).
Drücken Sie mit einem Spannungsmessgerät auf den Riemen, um die Riemenspannung wie folgt zu prüfen (Bild 28):
Bei einem neuen Riemen sollten Sie in der Lage sein, den Riemen mit einer Kraft von 6 bis 6,4 kg um 5 mm nach unten zu drücken.
Bei einem benutzten Riemen sollten Sie in der Lage sein, den Riemen mit einer Kraft von 5,1 bis 5,6 kg um 5 mm nach unten zu drücken.

Stellen Sie die Mutter auf dem Spannscheibenzapfen so ein, um die Spannung des Riemens einzustellen.
Drehen Sie den Drehzylinder um ein paar Umdrehungen von Hand und prüfen Sie die Riemenspannung erneut. Ist die Spannung nicht korrekt, prüfen und justieren Sie diese entsprechend.
Ziehen Sie die Spannscheibenmutter auf ein Drehmoment von 100 N·m an.
Bringen Sie die Riemenabdeckung wieder an (Bild 26).
| Wartungsintervall | Wartungsmaßnahmen |
|---|---|
| Alle 250 Betriebsstunden |
|
Parken Sie die Maschine auf einer ebenen Fläche, senken Sie das Mähwerk ab, aktivieren Sie die Feststellbremse, stellen Sie den Motor ab und ziehen Sie den Zündschlüssel ab.
Entfernen Sie die Riemenabdeckung (Bild 26).
Ziehen Sie die Stellschrauben, mit denen die Spannbüchsen befestigt sind, auf ein Drehmoment von 30 N·m an.

Einbauen der Riemenabdeckung.
Parken Sie die Maschine auf einer ebenen Fläche, senken Sie das Mähwerk ab, aktivieren Sie die Feststellbremse, stellen Sie den Motor ab und ziehen Sie den Zündschlüssel ab.
Koppeln Sie das Zapfwellenjoch von der Welle des Mähwerkgetriebes ab, wie in Bild 13 dargestellt.
Important: Wenn Sie die Zapfwelle aus dem Getriebe entfernen, verwenden Sie neue Kopfschrauben und Sicherungsmuttern, um die Zapfwelle am Getriebe zu befestigen.
Entfernen Sie die Befestigungselemente, mit denen die Schmutzfangschürze an der vorderen Achsaufnahme der Zugmaschine befestigt ist (Bild 14).
Entfernen Sie die Klappstecker und Stifte, die das Mähwerk an den Hubarmen sichern (Bild 30).

Bewegen Sie die Maschine vom Mähwerk weg.
In die Ober- und Unterseite des Rohrs der Laufradarme sind Büchsen eingepresst, die sich nach einer längeren Einsatzdauer abnutzen.
Bewegen Sie zum Prüfen der Büchsen die Laufradgabeln hin und her und von einer Seite zur anderen. Wenn die Laufradspindel in den Büchsen locker ist, sind die Büchsen abgenutzt und müssen ausgetauscht werden.
Parken Sie die Maschine auf einer ebenen Fläche, heben Sie das Mähwerk an und stützen Sie es ab, aktivieren Sie die Feststellbremse, stellen Sie den Motor ab und ziehen Sie den Schlüssel ab.
Entfernen Sie die Spannkappe, die Distanzstücke und Druckscheibe von der Oberseite der Laufradspindel.
Ziehen Sie die Laufradspindel aus dem Befestigungsrohr heraus. Lassen Sie die Druckscheibe und die Distanzstücke unten in der Laufradspindel zurück.
Stecken Sie einen Dorn oben oder unten in das Befestigungsrohr und treiben die Büchsen heraus (Bild 31). Treiben Sie dann die andere Büchse aus dem Rohr heraus. Reinigen Sie die Innenseite der Rohre.

Fetten Sie die Innen- und Außenseiten der neuen Büchsen ein. Treiben Sie die Büchsen mit einem Hammer und einem Stück Flachstahl in das Befestigungsrohr ein.
Prüfen Sie die Laufradspindel auf Abnutzung und tauschen sie aus, wenn sie beschädigt ist.
Drücken Sie die Laufradspindel durch die Büchsen und das Befestigungsrohr, schieben Sie die Druckscheibe und die Distanzstücke auf die Spindel und befestigen Sie die Spannkappe an der Laufradspindel.
| Wartungsintervall | Wartungsmaßnahmen |
|---|---|
| Nach zwei Betriebsstunden |
|
| Nach 10 Betriebsstunden |
|
| Alle 50 Betriebsstunden |
|
Parken Sie die Maschine auf einer ebenen Fläche, heben Sie das Mähwerk an und stützen Sie es ab, aktivieren Sie die Feststellbremse, stellen Sie den Motor ab und ziehen Sie den Schlüssel ab.
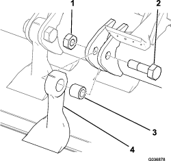
Entfernen Sie die Sicherungsmutter von der Schraube, mit der das Laufrad an der der Gabel befestigt ist (Bild 32). Halten Sie das Laufrad fest und schieben die Schraube aus der Gabel oder vom Gelenkarm ab.
Entfernen Sie das Lager aus der Radnabe und lassen das Lagerdistanzstück herausfallen (Bild 32). Entfernen Sie das Lager aus der gegenüberliegenden Seite der Radnabe.
Prüfen Sie die Lager, das Distanzstück und die Innenseite der Radnabe auf Abnutzung. Tauschen Sie abgenutzte und defekte Teile aus.
Drücken Sie das Lager zum Zusammenbauen des Laufrads in die Radnabe. Drücken Sie beim Einsetzen der Lager auf den äußeren Lagerkäfig.

Schieben Sie das Lagerdistanzstück in die Radnabe. Drücken Sie das andere Lager in das freie Ende der Radnabe, um das Lagerdistanzstück im Inneren der Radnabe zu halten.
Setzen Sie das Laufrad zwischen die Laufradgabel und befestigen Sie es mit der Schraube und der Sicherungsmutter.
| Wartungsintervall | Wartungsmaßnahmen |
|---|---|
| Alle 50 Betriebsstunden |
|
Stellen Sie sicher, dass alle Messerschrauben auf ein Drehmoment von 45 N·m angezogen sind.
| Wartungsintervall | Wartungsmaßnahmen |
|---|---|
| Bei jeder Verwendung oder täglich |
|
Stellen Sie sicher, dass alle Klappen unbeschädigt sind und sich frei drehen können; ersetzen Sie alle beschädigten Klappen.
Restdruck im Schlegeldrehzylindersystem kann zu Verletzungen führen, da sich die Schlegeldrehzylinder plötzlich bewegen können, wenn die Blockade gelöst wird.
Versuchen Sie nie, die Schlegeldrehzylinder mit der Hand zu drehen oder Verstopfungen zu entfernen.
Tragen Sie immer Schutzhandschuhe und verwenden Sie einen Holzstab.
Stellen Sie sicher, dass der Holzstab in den Schlegeldrehzylinder passt und lang genug ist, um die nötige Hebelwirkung zum Lösen der Verstopfung zu erbringen.
Stellen Sie den Zapfwellenschalter in die AUS-Stellung.
Parken Sie die Maschine auf einer ebenen Fläche, stellen Sie die Gasbedienung in die Stellung für die niedrige Motordrehzahl und aktivieren Sie die Feststellbremse.
Heben Sie das Mähwerk nach Bedarf an, um an die Verstopfung zu gelangen.
Stellen Sie den Motor ab, ziehen Sie den Zündschlüssel ab und warten Sie, bis alle rotierenden Teile zum Stillstand gekommen sind.
Stützen Sie das angehobene Mähwerk mit Achsständern ab.
Entfernen Sie die Verstopfung vorsichtig mit einem Holzstab.
Important: Der Schlegeldrehzylinder kann sich drehen, wenn Sie die Verstopfung entfernen.
Important: Vermeiden Sie übermäßige Gewaltanwendung bei der Beseitigung der Verstopfung.
Entfernen Sie den Holzstab aus dem Mähwerk, bevor Sie den Motor anlassen.
Reparieren oder stellen Sie das Mähwerk ggf. ein.
| Wartungsintervall | Wartungsmaßnahmen |
|---|---|
| Alle 50 Betriebsstunden |
|
Stellen Sie sicher, dass die Laufradreifen mit einem Druck von 2 bis 3,5 bar aufgepumpt sind.
| Wartungsintervall | Wartungsmaßnahmen |
|---|---|
| Bei jeder Verwendung oder täglich |
|
Lassen Sie das Mähwerk mit maximaler Motordrehzahl laufen, um ungewöhnliche Vibrationen des Drehzylinders zu erkennen.
Starten Sie den Motor und bringen Sie die Maschine auf eine ebene, offene Fläche. Achten Sie darauf, dass sich keine umstehenden Personen im Bereich der Maschine aufhalten.
Senken Sie das Mähwerk ab und aktivieren Sie die Feststellbremse.
Aktivieren Sie die Zapfwelle und lassen Sie den Motor mit Vollgas laufen, achten Sie dabei auf ungewöhnliche Vibrationen am Drehzylinder.
Führen Sie die folgenden Schritte aus, wenn Sie ungewöhnliche Vibrationen am Drehzylinder feststellen:
Stellen Sie den Gashebel auf Leerlauf, deaktivieren Sie die Zapfwelle und heben Sie das Mähwerk an.
Stellen Sie den Motor ab, ziehen Sie den Schlüssel ab und warten Sie, bis alle rotierenden Teile zum Stillstand gekommen sind.
Überprüfen Sie das Mähwerk auf Folgendes:
Schmutz- oder Grasablagerungen, die den ordnungsgemäßen Betrieb des Drehzylinders bzw. der Messers verhindern. Beseitigen Sie eventuelle Verstopfungen, siehe Ausräumen eines blockierten Schlegeldrehzylinders.
Ein beschädigter Drehzylinder oder ausgeschlagene Lager des Drehzylinders; siehe Prüfen der Lager des Drehzylinders.
Fehlende, beschädigte, unausgewuchtete oder übermäßig abgenutzte Messer; siehe Schärfen der Messer und Auswechseln der Messer.
Important: Alle gegenüberliegenden Messerpaare müssen einen ähnlichen Verschleiß aufweisen; unausgewuchtete Messer können das Gleichgewicht des Drehzylinder beeinträchtigen.
Important: Wenn Sie die Ursache einer ungewöhnlichen Vibration am Drehzylinder nicht beheben können, wenden Sie sich an Ihren autorisierten Toro-Vertragshändler.
| Wartungsintervall | Wartungsmaßnahmen |
|---|---|
| Alle 50 Betriebsstunden |
|
Important: Tragen Sie bei der Überprüfung der Lager des Drehzylinders Handschuhe.
Fahren Sie die Maschine auf einer ebenen Fläche und aktivieren Sie die Feststellbremse.
Heben Sie das Mähwerk an, stellen Sie den Motor ab, ziehen Sie den Schlüssel ab und warten Sie, bis alle rotierenden Teile zum Stillstand gekommen sind.
Stützen Sie die Maschine mit Achsständern ab.
Greifen Sie den Drehzylinder an jedem Ende und prüfen Sie auf übermäßiges Spiel; wenn der Drehzylinder übermäßiges Spiel aufweist, muss er möglicherweise ersetzt werden; wenden Sie sich an Ihren autorisierten Toro-Vertragshändler.
| Wartungsintervall | Wartungsmaßnahmen |
|---|---|
| Bei jeder Verwendung oder täglich |
|
Untersuchen Sie die Schmutzfangschürze visuell auf Schäden und entfernen Sie alle Schmutzansammlungen, die sich auf der Schmutzfangschürze angesammelt haben.
Die unsichere Verwendung einer Schleifmaschine kann zu Körperverletzungen oder Sachschäden führen.
Stellen Sie sicher, dass die Person, die das Messer schärft, ausreichend im sicheren Umgang mit einer Handschleifmaschine geschult ist.
Verwenden Sie einen Winkelschleifer zum Schärfen der abgewinkelten Schleiffläche auf der Rückseite des Schlegelmessers (Bild 33).
Important: Schleifen Sie nicht die Vorderseite des Schlegelmessers.
Halten Sie beim Schärfen des Messers die Schnittkante ganz horizontal und die abgewinkelte Oberfläche flach zum Boden (Bild 33).
Verwenden Sie die Schleifmaschine vorsichtig, damit der Schlegel nicht heiß wird; sonst verliert der Stahl seine Härte.
Schärfen Sie die Messer nie über die Verschleißlinie hinweg, die durch die fünf Punkte angegeben ist (Bild 33). Stellen Sie sicher, dass sich alle Schlegelmesser gleichmäßig geschärft sind, damit jeder Drehzylinder ausgewuchtet ist.
Behalten Sie ein neues Messer als Bezug und verwenden Sie es beim Schleifen.

| Wartungsintervall | Wartungsmaßnahmen |
|---|---|
| Jährlich |
|
Tauschen Sie stets gegenüberliegende Messerpaare oder den gesamten Schlegeldrehzylinder aus, um Unwuchten zu vermeiden. Ersetzen Sie ebenfalls die Lagerbuchse, die Schraube und die Sicherungsmutter, wenn Sie die Messer austauschen. Es werden zwei Messerwartungskits für den Messeraustausch angeboten, siehe Ersatzteilkatalog.
Heben Sie das Mähwerk an und sichern Sie es mit Achsständern ab.
Aktivieren Sie die Feststellbremse, stellen Sie den Motor ab und ziehen Sie den Zündschlüssel ab.
Drehen Sie den Drehzylinder langsam mit der Hand, sodass jede Reihe der Schlegel in der gewünschten Stellung und leicht zugänglich ist.
Entfernen Sie Rückstände vom Schraubenkopf und der Mutter und reinigen Sie das herausstehende Gewinde mit einer Drahtbürste.
Markieren Sie die Stellung des Schraubenkopfs, damit Sie die Schrauben von derselben Seite austauschen können.
Fassen Sie das Messer mit einem Lappen oder dicken Handschuh an, entfernen Sie die Mutter, die Büchse und das Messer (Bild 34).
Note: Tragen Sie ggf. rostlösendes Öl auf das Gewinde auf, um das Entfernen der Mutter zu erleichtern.

Entsorgen Sie das Messer, die Buchse und Schraube.
Setzen Sie ein neues Messer und eine neue Buchse mit einer neuen Mutter und Messerschraube ein (Bild 34).
Note: Achten Sie auf die Markierungen am Schraubenkopf, damit Sie die Schraube in derselben Richtung austauschen.
Ziehen Sie die Befestigungen mit 45 N·m an.
| Wartungsintervall | Wartungsmaßnahmen |
|---|---|
| Bei jeder Verwendung oder täglich |
|
Entfernen Sie täglich Schnittgutrückstände unter dem Mähwerk.
Parken Sie die Maschine auf einer ebenen Fläche, heben Sie das Mähwerk in die TRANSPORT-Stellung an, aktivieren Sie die Feststellbremse, stellen Sie den Motor ab und ziehen Sie den Schlüssel ab.
Reinigen Sie die Unterseite des Mähwerks gründlich mit Wasser.
Parken Sie die Maschine auf einer ebenen Fläche, heben Sie das Mähwerk in die TRANSPORT-Stellung an, aktivieren Sie die Feststellbremse, stellen Sie den Motor ab und ziehen Sie den Schlüssel ab.
Reinigen Sie das Mähwerk gründlich, achten Sie besonders auf die folgenden Bereiche:
Unterhalb des Mähwerks
Unterhalb der Riemenabdeckung des Mähwerks
Zapfwelle
Alle Schmiernippel und Drehpunkte
Prüfen und stellen Sie den Druck der Vorder- und Hinterreifen ein, siehe Bedienungsanleitung der Zugmaschine.
Schärfen Sie alle Messer und ersetzen Sie beschädigte Messer bei Bedarf; siehe Schärfen der Messer und Auswechseln der Messer.
Prüfen Sie auf lockere Befestigungsteile und ziehen diese bei Bedarf fest.
Fetten oder ölen Sie alle Schmiernippel und Drehpunkte und wischen Sie jegliches überschüssiges Fett ab, siehe Einfetten des Mähwerks.
Schmirgeln Sie alle Lackschäden leicht und bessern Bereiche aus, die angekratzt, abgesprungen oder verrostet sind. Reparieren Sie alle Dellen.