| Intervalo de mantenimiento y servicio | Procedimiento de mantenimiento |
|---|---|
| Cada vez que se utilice o diariamente |
|
| Cada 50 horas |
|
Esta carcasa de corte de cuchillas desbrozadoras se monta en una máquina de asiento y está diseñada para que la utilicen operadores profesionales contratados en aplicaciones comerciales. Está diseñada principalmente para cortar césped bien mantenido en parques, campos deportivos y zonas verdes comerciales. El uso de este producto para otros propósitos que los previstos podría ser peligroso para usted y para otras personas.
Lea este manual detenidamente para aprender a utilizar y mantener correctamente su producto, y para evitar lesiones y daños al producto. Usted es responsable de utilizar el producto de forma correcta y segura.
Visite www.Toro.com para buscar materiales de formación y seguridad o información sobre accesorios, para localizar un distribuidor o para registrar su producto.
Cuando necesite asistencia técnica, piezas genuinas Toro o información adicional, póngase en contacto con un Servicio Técnico Autorizado o con Asistencia al Cliente de Toro, y tenga a mano los números de modelo y serie de su producto. Figura 1 identifica la ubicación de los números de modelo y serie en el producto. Escriba los números en el espacio provisto.
Important: Con su dispositivo móvil, puede escanear el código QR (si dispone del mismo) de la placa del número de serie para acceder a información sobre la garantía, las piezas y otra información sobre el producto.

Este manual identifica peligros potenciales y contiene mensajes de seguridad identificados por el símbolo de alerta de seguridad (Figura 2), que señala un peligro que puede causar lesiones graves o la muerte si usted no sigue las precauciones recomendadas.

Este manual utiliza 2 palabras más para resaltar información. Importante llama la atención sobre información mecánica especial, y Nota resalta información general que merece una atención especial.
Este producto cumple todas las directivas europeas aplicables. Para obtener más detalles, consulte la Declaración de Incorporación (DOI) al final de esta publicación.
CALIFORNIA
Advertencia de la Propuesta 65
El uso de este producto puede provocar la exposición a sustancias químicas que el Estado de California considera causantes de cáncer, defectos congénitos u otros trastornos del sistema reproductor.
Esta máquina ha sido diseñada con arreglo a lo estipulado en la norma ANSI B71.4-2017 y en la Directiva de seguridad 2006/46/CE.
Este producto puede amputar manos y pies. Siga siempre todas las instrucciones de seguridad con el fin de evitar lesiones personales graves.
Lea y comprenda el contenido de este Manual del operador antes de arrancar la máquina.
Preste toda su atención al utilizar la máquina. No realice ninguna actividad que genere distracciones, de lo contrario pueden producirse lesiones o daños en la propiedad.
No coloque las manos o los pies cerca de componentes en movimiento de la máquina.
No utilice la máquina a menos que tenga instalados y estén en funcionamiento todos los protectores y otros dispositivos de seguridad.
Manténgase alejado de cualquier apertura de descarga.
Mantenga a otras personas, especialmente a los niños, alejadas del área de operación. Nunca permita a los niños utilizar la máquina.
Antes de dejar el puesto del operador, realice lo siguiente:
Aparque la máquina en una superficie nivelada.
Baje la(s) unidad(es) de corte.
Desengrane las transmisiones.
Accione el freno de estacionamiento (si está equipado).
Apague el motor y retire la llave.
Espere a que se detenga todo movimiento.
El uso o mantenimiento incorrecto de esta máquina puede
causar lesiones. Para reducir el peligro de lesiones, cumpla estas
instrucciones de seguridad y preste atención siempre al símbolo
de alerta de seguridad
, que significa: Cuidado, Advertencia o Peligro
– instrucción relativa a la seguridad personal. El incumplimiento
de estas instrucciones puede dar lugar a lesiones personales o la
muerte.
La unidad de corte es solo una máquina completa cuando se instala en una unidad de tracción. Lea el Manual del operador de la unidad de tracción detenidamente para obtener instrucciones completas sobre el uso seguro de la máquina.
Pare la máquina, retire la llave (si está equipada), baje la unidad de corte y espere a que se detenga todo movimiento antes de inspeccionar el accesorio después de golpear un objeto o si se produce una vibración anormal en la máquina. Realice todas las reparaciones necesarias antes de volver a utilizar la máquina.
Mantenga todas las piezas en buenas condiciones de funcionamiento, y todos los herrajes bien apretados. Sustituya cualquier pegatina desgastada o deteriorada.
Utilice solo accesorios, aperos y piezas de repuesto aprobados por el fabricante.
Una cuchilla desgastada o dañada puede romperse, y un trozo de la cuchilla podría ser arrojado hacia usted u otra persona, provocando lesiones personales graves o la muerte.
Inspeccione periódicamente las cuchillas, para asegurarse de que no están desgastadas ni dañadas.
Tenga cuidado al comprobar las cuchillas. Envuelva las cuchillas o lleve guantes, y extreme las precauciones al manejar las cuchillas. Solo sustituya o afile las cuchillas.
![]() |
Las pegatinas de seguridad e instrucciones están a la vista del operador y están ubicadas cerca de cualquier zona de peligro potencial. Sustituya cualquier pegatina que esté dañada o que falte. |









Note: Conserve todas las piezas retiradas, a menos que se indique lo contrario.
Aparque la máquina en una superficie nivelada, desengrane la TDF, mueva los brazos de elevación a la posición más baja, accione el freno de estacionamiento, apague el motor y retire la llave.
Espere a que se detenga todo movimiento y deje que la máquina se enfríe antes de ajustarla, limpiarla o repararla.
Si se ha instalado una unidad de corte, retírela de los brazos de elevación de la máquina; consulte el Manual del operador de la unidad de corte.
Asegúrese de que el árbol de transmisión la TDF esté alineado correctamente; consulte el procedimiento de alineación del árbol de transmisión de la TDF en el Manual del operador de la unidad de tracción.
Important: Si las marcas del árbol de transmisión no están alineadas, puede producirse un desequilibrio grave en el sistema de la transmisión.
Si los brazos de elevación de la unidad de corte rotativa están instalados en la unidad de tracción, retírelos del siguiente modo:
Eleve la parte delantera de la máquina y retire las ruedas delanteras de la máquina; consulte el Manual del operador de la unidad de tracción.
Retire los 2 pernos de cuello cuadrado y las 2 tuercas (⅜") que sujetan el soporte del sensor al brazo de elevación derecho (Figura 3).
Retire los 2 pernos (⅜" x 1¼"), las 2 tuercas (⅜") y los 2 pasadores pequeños que sujetan los brazos de elevación a los cilindros (Figura 3).
Retire la tuerca y los pernos que sujetan los pasadores grandes a los brazos de elevación, tal y como se muestra en la Figura 4.
Retire los brazos de elevación y los pasadores grandes del bastidor de la máquina, (Figura 5).



Piezas necesarias en este paso:
| Horquilla de la rueda giratoria | 2 |
| Perno de la rueda giratoria | 2 |
| Cojinete | 4 |
| Suplemento del cojinete | 2 |
| Contratuerca grande | 2 |
| Brazo de la rueda giratoria | 2 |
| Perno de cuello cuadrado (M10) | 12 |
| Contratuerca (M10) | 12 |
| Casquillo tensor | 2 |
| Espaciadores de altura de corte | 14 |
| Suplemento | 4 |
Monte las ruedas giratorias en la horquilla, tal y como se muestra en la Figura 6.
Note: Utilice únicamente el taladro del eje superior; no ajuste la posición de la rueda giratoria.

Monte cada brazo de rueda giratoria en la unidad de corte con 6 pernos de cuello cuadrado (M10) y 6 contratuercas (M10), tal y como se muestra en la Figura 7; apriete las contratuercas a entre 47 y 57 N∙m.

Monte las ruedas giratorias en la unidad de corte con un suplemento a ambos lados del cubo del eje de la rueda giratoria, tal y como se muestra en la Figura 8.
Note: Puede ajustar la configuración de altura de corte cambiando la cantidad de espaciadores a cada lado del cubo del eje de la rueda giratoria; consulte Ajuste de la altura de corte.

Asegúrese de que la carcasa está nivelada; mueva la carcasa a una superficie nivelada y coloque un nivel horizontalmente sobre la parte superior de la carcasa.
Si la carcasa no está nivelada, cambie los suplementos de posición en el eje de la rueda giratoria hasta que quede nivelada.
Piezas necesarias en este paso:
| Pantalla de protección | 1 |
| Soporte | 1 |
| Remache | 5 |
Utilice 5 remaches para instalar el soporte y la pantalla de protección en el eje delantero (Figura 9).

Piezas necesarias en este paso:
| Brazo de elevación | 2 |
| Pasador grande | 2 |
| Perno largo (⅜" x 2¾") | 2 |
| Tuerca (⅜") | 6 |
| Pasador pequeño | 2 |
| Perno (⅜" x 1¼") | 2 |
| Perno de cuello cuadrado (⅜" x 1¼") | 2 |
| Tornillo de caperuza de cabeza allen (⅜" x 2¼") | 2 |
| Arandela (⅜") | 2 |
| Contratuerca con arandela prensada (⅜") | 2 |
| Pasador del brazo de elevación | 2 |
| Pasadores de seguridad | 2 |
| Soporte del sensor | 1 |
Eleve la parte delantera de la máquina y retire los neumáticos delanteros de la máquina; consulte el Manual del operador de la unidad de tracción.
Instale los brazos de elevación y los pasadores grandes en el bastidor de la máquina, (Figura 10).

Fije el pasador grande al brazo de elevación con un par de tuercas y pernos, tal y como se muestra en la Figura 11.

Fije cada extremo de varilla de cilindro a cada brazo de elevación con un pasador pequeño, pernos (⅜" x 1¼") y una tuerca (⅜"), tal y como se muestra en la Figura 12.
Note: Gire el brazo de elevación manualmente para alinearlo con el extremo de la varilla del cilindro.
Fije el soporte del sensor al brazo de elevación derecho con 2 pernos de cuello cuadrado y 2 tuercas (⅜"), tal y como se muestra en la Figura 12.

Asegúrese de que el soporte del sensor no obstaculiza el sensor; consulte Ajuste del soporte del sensor.
Al instalar el soporte del sensor, gire el soporte hacia arriba (tal y como se muestra en la Figura 12) antes de fijarlo con abrazaderas.
Alinee la unidad de corte delante del bastidor de la máquina y el eje de la TDF.
Realice los siguientes pasos para instalar el árbol de la TDF en la unidad de corte:
Instale la horquilla del eje de la TDF en el eje de la caja de engranajes de la unidad de corte, tal y como se muestra en la Figura 13.
Monte un tornillo de caperuza de cabeza allen (⅜" x 2¼") a través de una arandela (⅜") y del taladro en la horquilla del árbol de transmisión (Figura 13) y fije el tornillo de caperuza con una contratuerca con arandela prensada (⅜").
Monte un tornillo de caperuza de cabeza allen (⅜" x 2¼") a través de una arandela (⅜") y del taladro en la horquilla del árbol de transmisión desde la dirección opuesta (Figura 13) y fije el tornillo de caperuza con una contratuerca con arandela prensada (⅜").
Apriete las contratuercas en incrementos hasta 61 N∙m en un patrón alterno.
Important: Asegúrese de que los pernos de la horquilla del árbol de la TDF están apretados al par especificado. Si no se aplica el par de apriete correcto a los pernos, habrá fallos prematuros de piezas críticas.
Important: Siempre que retire el árbol de la TDF de la caja de engranajes, utilice tornillos de caperuza y contratuercas nuevos para fijar el árbol a la caja de engranajes.

Fije la desbrozadora a los brazos de elevación con los pasadores del árbol de elevación y los pasadores de seguridad (Figura 30).
Piezas necesarias en este paso:
| Pletina de sujeción del deflector | 1 |
| Perno de cuello cuadrado (M8) | 6 |
| Tuerca con arandela prensada (M8) | 6 |
Utilice 6 pernos de cuello cuadrado (M8), 6 tuercas con arandela prensada (M8) y el bastidor de aleta para fijar el deflector de residuos en el soporte del eje.
Note: Para acceder más fácilmente a esta área, puede retirar una rueda delantera o las dos ruedas delanteras. Consulte la sección de Ensamblaje del Manual del operador de la unidad de tracción para obtener instrucciones sobre la retirada y la instalación de las ruedas.

Piezas necesarias en este paso:
| Conjunto de protector de la TDF | 1 |
| Tornillo (⅜" x ¾") | 2 |
| Arandela (⅜") | 2 |
Instale el protector de la TDF en la parte superior de la caja de engranajes, tal y como se muestra en la Figura 15.

El sensor y la placa de soporte del sensor deben tener un espacio de 6 mm entre ellos (Figura 16).

Si el espacio es incorrecto, realice estos pasos para ajustar el soporte del sensor:
Afloje las contratuercas que sujetan el interruptor al soporte del interruptor y ajústelo hasta que la distancia entre el sensor y la placa del sensor sea correcta.
Apriete las contratuercas del sensor a entre 19 y 21 N·m.
Ajuste la transferencia de peso del accesorio; consulte el Manual del operador de la unidad de tracción.
Asegúrese de que la caja de engranajes tenga la cantidad correcta de lubricante; consulte Comprobación del lubricante de la caja de engranajes.
Compruebe que los neumáticos de las ruedas giratorias tienen una presión de 2 – 3,5 bar; consulte Comprobación de la presión de los neumáticos de las ruedas giratorias.
Engrase la unidad de corte antes de utilizarla por primera vez; consulte Lubricación de la unidad de corte. Si la máquina no es engrasada correctamente habrá fallos prematuros de piezas críticas.
Utilice la pantalla de la unidad de tracción para accionar el modo de giro; consulte el Manual del operador de la unidad de tracción.
Important: Al usar el modo de giro con una segadora equipada con desbrozadora contribuye a evitar el desgaste prematuro del sistema de transmisión. Siempre debe accionar el modo de giro al segar con la desbrozadora.
Note: Con el modo de giro, puede elevar rápidamente la segadora desbrozadora por encima del césped al realizar un giro rápido al final de una pasada de corte (o mientras sortea obstáculos) sin desengranar la TDF.
Antes de accionar la TDF con una desbrozadora instalada, utilice el control del acelerador de la unidad de tracción para ajustar el motor a velocidad media. Una vez que accione la TDF, utilice el control del acelerador para aumentar la velocidad del motor a la velocidad máxima.
Important: Al reducir la velocidad del motor antes de accionar al TDF con la desbrozadora contribuye a evitar el desgaste prematuro del sistema de transmisión.
Utilice la pantalla de la unidad de tracción para accionar el modo TDF DE BAJAS REVOLUCIONES; consulte el Manual del operador de la unidad de tracción.
Note: El modo de TDF DE BAJAS REVOLUCIONES reduce automáticamente la velocidad del motor mientras la TDF está accionada y luego la eleva automáticamente a la velocidad máxima.
Important: Al usar el modo de TDF DE BAJAS REVOLUCIONES con la desbrozadora contribuye a evitar el desgaste prematuro del sistema de transmisión.
Piezas necesarias en este paso:
| Espaciador | 2 |
| Tornillo (¼" x 1¼") | 4 |
En las unidad de tracción equipadas con un kit de cabina y un kit de luces de carretera, la segadora desbrozadora podría entrar en contacto con las luces de carretera. Con el fin de evitar el contacto con las luces de carretera, instale los espaciadores para restringir el movimiento de los brazos de elevación.
Debajo del chasis delantero, retire los tornillos existentes (¼") y los bloques de goma del chasis (Figura 17).
Deseche los tornillos y conserve los bloques.
Utilice los tornillos nuevos (¼" x 1¼") para fijar los espaciadores y los bloques de goma al chasis (Figura 17).
Apriete los tornillos hasta que las cabezas queden enrasadas con los bloques de goma.

Note: Las especificaciones y diseños están sujetos a modificación sin previo aviso.
| Anchura de corte |
1,52 m |
| Altura de corte | Se puede ajustar de 19 a 102 mm en incrementos de 13 mm |
| Peso neto |
260 kg |
Se encuentra disponible una selección de aperos y accesorios homologados por el fabricante que se pueden utilizar con la máquina con el fin de potenciar y aumentar sus prestaciones. Póngase en contacto con su servicio técnico autorizado o con un distribuidor autorizado del fabricante, o bien visite www.Toro.com para obtener una lista de todos los aperos y accesorios homologados.
Para asegurar un rendimiento óptimo y mantener la certificación de seguridad de la máquina, utilice solamente piezas y accesorios genuinos Toro. Las piezas de repuesto y accesorios de otros fabricantes podrían ser peligrosos, y su uso podría invalidar la garantía del producto.
Mantenga las cuchillas desbrozadoras afiladas y en buenas condiciones de uso, para asegurar un buen rendimiento de corte, un consumo mínimo y una buena calidad de corte.
La unidad de corte flota para seguir los contornos del terreno.
Antes de accionar la unidad de corte, asegúrese de que el motor esté ajustado en una velocidad reducida:
Modelos 31900, 31901, 31907 y 31909 de la unidad de tracción: Consulte Reducción de la velocidad del motor antes del accionamiento de la TDF
Modelos 31902 y 31903 de la unidad de tracción: Consulte Accionamiento del modo de TDF de bajas revoluciones
Utilice la unidad de corte a velocidad máxima del motor. Ajuste la velocidad de avance según las condiciones del césped y para no sobrecargar la unidad de corte. Cuanto menor sea la velocidad de avance, mayor será la calidad de corte y del aspecto después del corte.
Important: Asegúrese siempre de que la altura de corte esté ajustada correctamente según estas instrucciones. Asegúrese de que la chapa de ajuste y los espaciadores de la horquilla de la rueda giratoria estén ajustados según la siguiente tabla. De lo contrario, se puede producir un desgaste prematuro del sistema de transmisión y una vibración excesiva.
Note: La altura de corte viene determinada por el rodillo trasero y las ruedas giratorias delanteras. El desgaste de las cuchillas, la presión de los neumáticos y los brazos de las ruedas giratorias doblados o dañados pueden afectar al ajuste de la altura de corte.

Coloque la máquina en una superficie nivelada, eleve la unidad de corte y apóyela sobre gatos fijos, pare el motor, ponga el freno de estacionamiento y retire la llave del interruptor de encendido.
Consulte la tabla de ajuste de altura de corte en la pegatina de altura de corte (Figura 19) para conocer las configuraciones de altura de corte habituales.

Para ajustar la posición de la chapa de ajuste de altura de corte, retire las tuercas y los pernos que fijan la chapa (Figura 20).
Instale los pernos en las posiciones especificadas en la Figura 19 para lograr la altura de corte deseada; apriete las tuercas a 60 N∙m.

Para ajustar la posición de la horquilla de la rueda giratoria, retire los casquillos de altura de corte de los ejes de las ruedas giratorias delanteras y ajuste la cantidad de espaciadores a cada lado del cubo de eje de rueda giratoria (Figura 19).
Note: Los espaciadores situados por encima del cubo del eje de la rueda giratoria reducen la altura de corte, mientras que los espaciadores por debajo del cubo aumentan la altura de corte.
Instale los casquillos tensores de altura de corte.
| Intervalo de mantenimiento y servicio | Procedimiento de mantenimiento |
|---|---|
| Cada vez que se utilice o diariamente |
|
| Cada 50 horas |
|
Important: En caso de que se dañe una sola cuchilla, tanto esa cuchilla como la opuesta deben retirarse y sustituirse como un par para mantener el equilibrio.
Aparque la máquina en una superficie nivelada, eleve la unidad de corte, accione el freno de estacionamiento, apague el motor y retire la llave del interruptor de encendido.
Sostenga la unidad de corte elevada con gatos fijos.
Inspeccione cada cuchilla en busca de daños, prestando especial atención a las fijaciones, el filo de corte y el orificio de sujeción (Figura 21). Sustituya cualquier cuchilla o fijación que esté dañada.

Inspeccione cada cuchilla en busca de desgaste excesivo usando la línea de desgaste (Figura 22). Si una cuchilla está desgastada hasta la línea de desgaste, cambie la cuchilla.

Asegúrese de que cada perno de las cuchillas está apretado a 45 N∙m.
Agarre cada cuchilla y asegúrese de que no haya más de 3 mm de holgura en total en cualquier dirección desde el rotor. Si hay más de 3 mm de holgura en total, cambie la cuchilla.
Compruebe el peso de cada par de cuchillas opuestas.
Note: La diferencia de peso entre dos cuchillas opuestas no debe ser superior a 10 gramos.
Una cuchilla desgastada o dañada puede romperse, y un trozo de la cuchilla podría ser arrojado hacia usted u otra persona, provocando lesiones personales graves o la muerte.
Inspeccione periódicamente las cuchillas, para asegurarse de que no están desgastadas ni dañadas.
Sustituya cualquier cuchilla desgastada o dañada.
Para mantener suficiente potencia para la máquina y la unidad de corte durante la siega, haga funcionar el motor en la posición Rápido del acelerador y ajuste la velocidad de avance según las condiciones. Reduzca la velocidad sobre el terreno a medida que aumente la carga en la unidad de corte. Aumente la velocidad sobre el terreno a medida que disminuya la carga en la unidad de corte.
Conviene alternar el sentido de la siega para evitar dejar surcos en el césped con el tiempo. De esta forma también se ayuda a dispersar mejor los recortes sobre el césped y se conseguirá una mejor descomposición y fertilización.
Para mejorar la calidad de corte, utilice una velocidad de avance más baja.
Si la anchura de corte de la unidad de corte es mayor que la de la segadora que usó anteriormente, eleve la altura de corte para asegurarse de no cortar el césped demasiado en terreno irregular.
Corte aproximadamente 25 mm o no más de un tercio de la hoja de hierba. Si la hierba es excepcionalmente densa y frondosa, es posible que tenga que reducir la velocidad de avance y/o elevar la altura de corte en una posición.
Si se deja crecer la hierba más de lo habitual, o si esta contiene un grado de humedad elevado, utilice una altura de corte superior al ajuste habitual y corte la hierba. A continuación, vuelva a cortar la hierba utilizando el ajuste habitual más bajo.
Limpie los recortes y la tierra de los bajos de la unidad de corte después de cada uso. Si se acumulan hierba y tierra en el interior de la unidad de corte, se deteriorará la calidad del corte.
Para reducir el riesgo de incendio, mantenga el motor, el silenciador, el compartimento de la batería, el freno de estacionamiento, la unidad de corte y el compartimento del depósito del combustible libres de hierba, hojas y exceso de grasa. Limpie cualquier aceite o combustible derramado.
Mantenga las cuchillas afiladas durante toda la temporada de corte, puesto que una cuchilla afilada corta limpiamente y sin rasgar o deshilachar las hojas de hierba. Si se rasgan o se deshilachan, los bordes de las hojas se secarán, lo cual retardará su crecimiento y favorecerá la aparición de enfermedades.
Compruebe cada día que las cuchillas de corte están afiladas y que no están desgastadas o dañadas. Afile las cuchillas siempre que sea necesario.
Si una cuchilla está desgastada o deteriorada, sustitúyala inmediatamente por una cuchilla de recambio genuina del fabricante. Consulte Sustitución de las cuchillas.
| Intervalo de mantenimiento y servicio | Procedimiento de mantenimiento |
|---|---|
| Después de las primeras 2 horas |
|
| Después de las primeras 10 horas |
|
| Cada vez que se utilice o diariamente |
|
| Cada 50 horas |
|
| Cada 250 horas |
|
| Cada 400 horas |
|
| Cada año |
|
Si deja la llave en el interruptor de encendido, alguien podría arrancar el motor accidentalmente y causar lesiones graves a usted o a otras personas.
Retire la llave de contacto antes de realizar cualquier operación de mantenimiento.
Duplique esta página para su uso rutinario.
| Elemento a comprobar | Para la semana de: | ||||||
|---|---|---|---|---|---|---|---|
| Lun. | Mar. | Miér. | Jue. | Vie. | Sáb. | Dom. | |
| Compruebe la condición de las cuchillasy de los rotores. | |||||||
| Compruebe el ajuste de la altura de corte. | |||||||
| Compruebe si hay residuos o daños en el deflector de residuos. | |||||||
| Limpie la unidad de corte. | |||||||
| Compruebe las aletas delanteras. | |||||||
| Lubrique todos los engrasadores.1 | |||||||
| Retoque cualquier pintura dañada. | |||||||
|
1. Inmediatamente después de cada lavado, aunque no corresponda a uno de los intervalos citados. |
|||||||
| Anotación para áreas problemáticas: | ||
| Inspección realizada por: | ||
| Elemento | Fecha | Información |
| Intervalo de mantenimiento y servicio | Procedimiento de mantenimiento |
|---|---|
| Cada vez que se utilice o diariamente |
|
Tipo de grasa: Grasa de litio Nº 2
Sustituya cualquier engrasador que esté dañado.
Consulte la Figura 23 para conocer la ubicación de cada par de engrasadores en la unidad de corte.

| Intervalo de mantenimiento y servicio | Procedimiento de mantenimiento |
|---|---|
| Cada 50 horas |
|
La caja de engranajes está diseñada para funcionar con lubricante para engranajes SAE 80W–90 sintético o a base de petróleo. Aunque la caja de engranajes viene de fábrica llena de lubricante, compruebe el nivel antes de utilizar la unidad de corte. La capacidad de la caja de engranajes es de 0,33 litros.
Aparque la máquina en una superficie nivelada, baje la unidad de corte, accione el freno de estacionamiento, apague el motor y retire la llave.
Retire el tapón del respiradero de la parte superior de la caja de engranajes (Figura 24) y compruebe que el lubricante está entre las marcas de llenado en la parte inferior del tapón del respiradero. Si el nivel de lubricante es bajo, añada suficiente lubricante para que el nivel quede entre las marcas.

Instale el tapón del respiradero y apriételo a 9 N·m.
| Intervalo de mantenimiento y servicio | Procedimiento de mantenimiento |
|---|---|
| Cada 400 horas |
|
Aparque la máquina en una superficie nivelada, baje la unidad de corte, accione el freno de estacionamiento, apague el motor y retire la llave.
Coloque un recipiente debajo del tapón de vaciado en el caja de engranajes (Figura 25).
Retire el tapón de vaciado en el lateral inferior izquierdo de la caja de engranajes y vacíe el fluido (Figura 25).

Instale el tapón de vaciado y apriételo a 20 – 27 N·m.
Retire el tapón del respiradero de la parte superior de la caja de engranajes.
Llene la caja de engranajes con el lubricante de engranajes correcto, comprobando periódicamente que el lubricante está entre las marcas de llenado inferiores del tapón del respiradero; consulte Comprobación del lubricante de la caja de engranajes.
Cuando el lubricante esté entre las marcas de llenado inferiores del tapón del respiradero, instale el tapón y apriételo a 9 N·m.
| Intervalo de mantenimiento y servicio | Procedimiento de mantenimiento |
|---|---|
| Cada 250 horas |
|
Aparque la máquina en una superficie nivelada, baje la unidad de corte, accione el freno de estacionamiento, apague el motor y retire la llave.
Afloje los 4 pernos cautivos que sujetan las secciones superior e inferior de la cubierta de la correa a la máquina (Figura 26).


Afloje pero no retire la tuerca de la polea tensora (Figura 27).
Note: Para aflojar la tuerca de la polea tensora, necesitará sostener el perno que la fija en su posición en el interior de la carcasa.
Ajuste la tuerca en el poste de la polea tensora para tensar la correa (Figura 27).
Con un medidor de tensión de un solo tambor, presione hacia abajo la correa para comprobar la tensión del siguiente modo (Figura 28):
Si la correa es nueva, debe poder presionar la correa 5 mm hacia abajo con una fuerza de 6 kg a 6,4 kg.
Si la correa es usada, debe poder presionar la correa 5 mm hacia abajo con una fuerza de 5,1 kg – 5,6 kg.

Ajuste la tuerca en el poste de la polea tensora cuanto sea necesario para apretar o soltar la correa.
Gire el rotor de forma manual un par de vueltas y vuelva a comprobar la tensión de la correa; si la tensión es incorrecta, compruebe y ajuste hasta que sea correcta.
Apriete la tuerca de la polea tensora a 100 N·m.
Coloque la cubierta de la correa (Figura 26).
| Intervalo de mantenimiento y servicio | Procedimiento de mantenimiento |
|---|---|
| Cada 250 horas |
|
Aparque la máquina en una superficie nivelada, baje la unidad de corte, accione el freno de estacionamiento, apague el motor y retire la llave.
Retire la cubierta de la correa (Figura 26).
Apriete los tornillos de fijación que fijan los casquillos cónicos de bloqueo a 30 N∙m.

Instale la cubierta de la correa.
Aparque la máquina en una superficie nivelada, baje la unidad de corte, accione el freno de estacionamiento, apague el motor y retire la llave.
Desconecte la horquilla del árbol de la TDF del eje de la caja de engranajes de la unidad de corte, tal y como se muestra en la Figura 13.
Important: Siempre que retire el árbol de la TDF de la caja de engranajes, utilice tornillos de caperuza y contratuercas nuevos para fijar el árbol a la caja de engranajes.
Retire las fijaciones que sujetan el deflector de residuos al soporte del eje delantero en la unidad de tracción (Figura 14).
Retire los pasadores de seguridad y los pasadores que fijan la unidad de corte a los brazos de elevación (Figura 30).

Aleje la máquina de la unidad de corte.
Los brazos de las ruedas giratorias tienen casquillos colocados a presión en las partes superior e inferior del tubo, que se desgastan después de muchas horas de uso.
Para comprobar los casquillos, mueva la horquilla hacia adelante y hacia atrás, y de un lado a otro. Si el eje tiene holgura dentro de los casquillos, los casquillos están desgastados; cámbielos.
Aparque la máquina en una superficie nivelada, eleve y apoye la unidad de corte con soportes fijos, ponga el freno de estacionamiento, apague el motor y retire la llave.
Retire el casquillo tensor, el/los suplemento(s) y la arandela de empuje de la parte superior del husillo de la rueda giratoria.
Retire el husillo del tubo de montaje. Deje la arandela de empuje y el/los suplemento(s) en la parte inferior del husillo.
Inserte un botador fino en la parte superior o inferior del tubo de montaje y dé golpes hasta retirar el casquillo del tubo (Figura 31). Retire también el otro casquillo del tubo. Limpie el interior de los tubos para eliminar toda suciedad.

Aplique grasa al interior y al exterior de los casquillos nuevos. Utilice un martillo y una chapa plana para introducir los casquillos nuevos en el tubo de montaje.
Inspeccione el husillo de la rueda giratoria para ver si está desgastado y cámbielo si está dañado.
Introduzca el eje de la rueda giratoria a través de los casquillos y del tubo de montaje, deslice la arandela de empuje y los espaciadores en el eje e instale el casquillo tensor en el eje.
| Intervalo de mantenimiento y servicio | Procedimiento de mantenimiento |
|---|---|
| Después de las primeras 2 horas |
|
| Después de las primeras 10 horas |
|
| Cada 50 horas |
|
Aparque la máquina en una superficie nivelada, eleve y apoye la unidad de corte con soportes fijos, ponga el freno de estacionamiento, apague el motor y retire la llave.
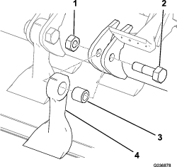
Retire la contratuerca del perno que sujeta el conjunto de la rueda giratoria en la horquilla (Figura 32). Sujete la rueda giratoria y retire el perno de la horquilla o del brazo de pivote.
Retire el cojinete de la rueda y deje que se caiga el suplemento del cojinete (Figura 32). Retire el cojinete del otro lado de la rueda.
Compruebe los cojinetes, el suplemento y el interior de la rueda por si estuvieran desgastados. Sustituya cualquier pieza dañada.
Para ensamblar la rueda giratoria, coloque el cojinete en el cubo de la rueda. Al instalar los cojinetes, empuje en el anillo de rodadura exterior de los mismos.

Deslice el suplemento del cojinete en el cubo de la rueda. Coloque el otro cojinete en la parte abierta del cubo de la rueda para fijar el suplemento dentro del cubo.
Instale el conjunto de la rueda giratoria entre la horquilla y fíjelo con el perno y la contratuerca.
| Intervalo de mantenimiento y servicio | Procedimiento de mantenimiento |
|---|---|
| Cada 50 horas |
|
Asegúrese de que todos los pernos de las cuchillas están apretados a 45 N·m.
| Intervalo de mantenimiento y servicio | Procedimiento de mantenimiento |
|---|---|
| Cada vez que se utilice o diariamente |
|
Asegúrese de que ninguna de las aletas presente daños y de que puedan girar libremente; sustituya las aletas que tengan daños.
La potencia residual en el sistema del rotor desbrozador podría causar lesiones debido al movimiento brusco de uno o varios rotores una vez retirada la obstrucción.
No intente nunca girar los rotores o despejar obstrucciones con la mano.
Siempre lleve guantes de protección y utilice una barra de madera.
Asegúrese de que la barra de madera cabe en el rotor desbrozador y de que tiene suficiente longitud para proporcionar la fuerza de palanca necesaria para eliminar la obstrucción.
Coloque el interruptor de la TDF en posición de DESCONECTADO.
Aparque la máquina en un terreno nivelado, mueva el control del acelerador del motor a la posición de velocidad lenta y accione el freno de estacionamiento.
Eleve la unidad de corte cuanto sea necesario para acceder a la obstrucción.
Apague el motor, retire la llave de encendido y espere a que se detengan todas las piezas.
Sostenga la unidad de corte elevada con gatos fijos.
Utilice una barra de madera para eliminar con cuidado la obstrucción.
Important: El rotor desbrozador puede girar una vez que se elimine la obstrucción.
Important: Evite aplicar una fuerza excesiva al eliminar la obstrucción.
Retire la barra de madera de la unidad de corte antes de arrancar el motor.
Repare o ajuste la unidad de corte si es necesario.
| Intervalo de mantenimiento y servicio | Procedimiento de mantenimiento |
|---|---|
| Cada 50 horas |
|
Compruebe que los neumáticos de las ruedas giratorias tienen una presión de 2 – 3,5 bar.
| Intervalo de mantenimiento y servicio | Procedimiento de mantenimiento |
|---|---|
| Cada vez que se utilice o diariamente |
|
Para comprobar que no haya vibraciones anormales en el rotor, ponga la unidad de corte en marcha a la velocidad máxima del motor.
Arranque el motor y mueva la máquina a una zona llana y abierta, alejada de otras personas.
Baje la unidad de corte y ponga el freno de estacionamiento.
Engrane la TDF y haga funcionar el motor a velocidad máxima; esté atento a cualquier vibración anormal del rotor.
Si la vibración del rotor es anormal, haga lo siguiente:
Ponga el acelerador en ralentí, apague la TDF y eleve la unidad de corte.
Apague el motor, retire la llave y espere a que se detengan todas las piezas en movimiento.
Compruebe si se presenta alguna de las condiciones siguientes en la unidad de corte:
Los residuos impiden que el rotor o las cuchillas funcionen correctamente; elimine cualquier obstrucción; consulte Limpieza de atascos en el rotor.
Algún cojinete del rotor está dañado o desgastado; consulte Comprobación de los cojinetes del rotor.
Faltan cuchillas, o las cuchillas están dañadas, desequilibradas o excesivamente desgastadas; consulte Afilado de las cuchillas y Sustitución de las cuchillas.
Important: Los pares de cuchillas opuestas deben tener un nivel de desgaste similar; las cuchillas desequilibradas pueden afectar al equilibrio del rotor.
Important: Si no puede corregir la causa de vibraciones anormales, póngase en contacto con su distribuidor autorizado Toro.
| Intervalo de mantenimiento y servicio | Procedimiento de mantenimiento |
|---|---|
| Cada 50 horas |
|
Important: Lleve guantes al revisar los cojinetes del rotor.
Aparque la máquina en una superficie nivelada y ponga el freno de estacionamiento.
Eleve la unidad de corte, apague el motor, retire la llave y espere a que se detengan todas las piezas en movimiento.
Apoye la unidad de corte sobre gatos fijos.
Agarre el rotor en cada extremo y compruebe que no hay holgura axial excesiva; si el rotor tiene un exceso de holgura axial, puede ser necesario cambiarlo; póngase en contacto con su distribuidor autorizado Toro.
| Intervalo de mantenimiento y servicio | Procedimiento de mantenimiento |
|---|---|
| Cada vez que se utilice o diariamente |
|
Inspeccione visualmente el deflector de residuos para comprobar si presenta daños y retire cualquier residuo en el deflector.
El uso inseguro de una amoladora podría causar lesiones personales graves o daños materiales.
Asegúrese de que la persona encargada de afilar las cuchillas ha recibido una formación adecuada en el uso seguro de una amoladora manual.
Use una amoladora manual para afilar la superficie de amolado en ángulo en la parte trasera de la cuchilla desbrozadora (Figura 33).
Important: No afile la cara delantera de la cuchilla.
Durante el afilado de la cuchilla, mantenga el filo de corte perfectamente horizontal y la superficie biselada paralela al suelo (Figura 33).
Utilice la amoladora con suavidad y asegúrese de que la cuchilla no se caliente; de lo contrario, el acero perdería su dureza.
No afile la cuchilla nunca más allá de la línea de desgaste indicada por los 5 puntos (Figura 33). Asegúrese de afilar uniformemente todas las cuchillas para mantener el equilibrio de cada rotor.
Tenga a mano una cuchilla nueva y utilícela como referencia durante el amolado.

| Intervalo de mantenimiento y servicio | Procedimiento de mantenimiento |
|---|---|
| Cada año |
|
Para mantener el equilibrio, cambie las cuchillas únicamente en pares opuestos, o sustituya todas las cuchillas del rotor al mismo tiempo. Cambie también el casquillo, el perno y la contratuerca al sustituir una cuchilla. Están disponibles dos kits de mantenimiento para la sustitución de las cuchillas; consulte el Catálogo de piezas.
Eleve la unidad de corte y asegúrela con gatos fijos.
Ponga el freno de estacionamiento, apague el motor y retire la llave.
Gire el rotor lentamente a mano para colocar cada fila de cuchillas en la posición deseada para que sea fácilmente accesible.
Retire los residuos de la cabeza del perno y la tuerca, y limpie las roscas que sobresalen con un cepillo de alambre.
Marque la posición de la cabeza del perno para poder colocar los pernos desde el mismo lado.
Sujeta la cuchilla con un trapo o un guante acolchado y retire la tuerca, el perno, el casquillo y la cuchilla (Figura 34).
Note: Si es necesario, aplique aceite penetrante a la rosca para facilitar la retirada de la tuerca.

Deseche la cuchilla, el casquillo, la tuerca y el perno.
Instale una cuchilla y casquillo nuevos con una tuerca nueva y un perno nuevo (Figura 34).
Note: Preste atención a la posición de las marcas de la cabeza de los pernos y coloque los pernos nuevos con la misma orientación.
Apriete las fijaciones a 45 N·m.
| Intervalo de mantenimiento y servicio | Procedimiento de mantenimiento |
|---|---|
| Cada vez que se utilice o diariamente |
|
Retire a diario cualquier acumulación de hierba debajo de la unidad de corte.
Aparque la máquina en una superficie nivelada, eleve la unidad de corte a la posición de TRANSPORTE, accione el freno de estacionamiento, apague el motor y retire la llave.
Limpie a fondo los bajos de la unidad de corte con agua.
Aparque la máquina en una superficie nivelada, eleve la unidad de corte a la posición de TRANSPORTE, accione el freno de estacionamiento, apague el motor y retire la llave.
Limpie a fondo la unidad de corte, prestando atención especial a estas zonas:
Debajo de la unidad de corte
Debajo de la cubierta de la correa de la unidad de corte
Conjunto del árbol de la TDF
Todos los puntos de engrase y pivote
Compruebe y ajuste la presión de los neumáticos delanteros y traseros de la unidad de tracción; consulte el Manual del operador de la unidad de tracción.
Afile todas las cuchillas y sustituya las que presenten daños cuanto sea necesario; consulte Afilado de las cuchillas y Sustitución de las cuchillas.
Compruebe que todos los herrajes están bien apretados; apriételos si es necesario.
Aplique grasa o aceite a todos los engrasadores y puntos de pivote y limpie cualquier exceso de lubricante; consulte Lubricación de la unidad de corte.
Lije suavemente y aplique pintura para retoques a cualquier zona pintada que esté rayada, desconchada u oxidada. Repare cualquier abolladura.