| 整備間隔 | 整備手順 |
|---|---|
| 使用するごとまたは毎日 |
|
| 50運転時間ごと |
|
このフレール式刈り込みデッキは、乗用型の装置に取り付けて使用する専門業務用の製品であり、そのような業務に従事するプロのオペレータが運転操作することを前提として製造されています。この製品は、集約的で高度な管理を受けているスポーツフィールドや商用目的で使用される芝生に対する刈り込み管理を行うことを主たる目的として製造されております。この機械は本来の目的から外れた使用をすると運転者本人や周囲の人間に危険な場合があります。
この説明書を読んで製品の運転方法や整備方法を十分に理解し、他人に迷惑の掛からない、適切で安全な方法でご使用ください。この製品を適切かつ安全に使用するのはお客様の責任です。
製品の安全や取り扱い講習、アクセサリなどに関する情報、代理店についての情報の入手、お買い上げ製品の登録などをネットで行っていただくことができます:www.Toro.com
整備について、また純正部品についてなど、分からないことはお気軽に弊社代理店またはカスタマーサービスにおたずねください。お問い合わせの際には、必ず製品のモデル番号とシリアル番号をお知らせください。図 1にモデル番号とシリアル番号を刻印した銘板の取り付け位置を示します。いまのうちに番号をメモしておきましょう。
Important: シリアル番号プレートに QR コードがついている場合は、スマートフォンやタブレットでスキャンすると、製品保証、パーツその他の製品情報にアクセスできます。

この説明書では、危険についての注意を促すための警告記号(図 2)を使用しております。これらは死亡事故を含む重大な人身事故を防止するための注意ですから、必ずお守りください。

この他に2つの言葉で注意を促しています。重要 は製品の構造などについての注意点を、注はその他の注意点を表しています。
この製品は、関連する全ての欧州指令に適合しています。詳細についてはこの冊子の末尾にあるDOI(適合宣誓書)をご覧ください。
カリフォルニア州
第65号決議による警告
米国カリフォルニア州では、この製品を使用した場合、ガンや先天性異常などを誘発する物質に触れる可能性があるとされております。
この機械は ANSI B71.4-2017 および Safety Directive 2006/46/EC 適合製品です。
この製品は手足を切断する能力がある。重大な人身事故を防ぐため、すべての注意事項を厳守してください。
本機をご使用になる前に必ずこのオペレーターズマニュアルをお読みになり、内容をよく理解してください。
この機械を運転する時は常に十分な注意を払ってください。運転中は運転操作に集中してください;注意散漫は事故の大きな原因となります。
機械の可動部の近くには絶対に手足を近づけないでください。
ガードなどの安全保護機器が正しく機能していない時は、運転しないでください。
排出口の近くに手足などを近づけないでください。
作業場所に、無用の大人、子供、ペットなどを近づけないでください。子供に運転させないでください。
運転席を離れる前に:
平らな場所に駐車する。
カッティングユニット下降
駆動系統をOFFにする。
駐車ブレーキを掛ける(装備車の場合)。
エンジンを止め、キーを抜き取る。
全ての動きが停止するのを待つ。
間違った使い方や整備不良は人身事故などの原因となります。事故を防止するため、以下に示す安全上の注意や安全注意標識
のついている遵守事項は必ずお守りください 「注意」、「警告」、および「危険」
の記号は、人身の安全に関わる注意事項を示しています。これらの注意を怠ると死亡事故などの重大な人身事故が発生する恐れがあります。
トラクションユニットに取り付けたカッティングユニットは、機械の一部となります。ですから、トラクションユニットのオペレーターズマニュアルもお読みになって、機械全体を安全に取り扱う方法を良く学んでください。
異物をはね飛ばしたときや機体に異常な振動を感じたときにはまずマシンを停止し、カッティングユニットを降下させてエンジンを止め、キー付きのマシンではキーを抜き取り、各部の動きが止まってからよく点検してください。異常を発見したら、作業を再開する前にすべて修理してください。
各部品が良好な状態にあり、ボルトナット類が十分にしまっているか常に点検してください。読めなくなったステッカーは貼り替えてください。
アクセサリ、アタッチメント、交換部品は、必ずメーカー純正品をお使いください。
磨耗の進んだブレードや破損したブレードは、回転中にちぎれて飛び出す場合があり、これが起こるとオペレータや周囲の人間に多大の危険を及ぼし、最悪の場合には死亡事故となる。
ブレードが磨耗や破損していないか定期的に点検すること。
ブレードを点検する時には安全に十分注意してください。ブレードをウェスでくるむか、安全手袋をはめ、十分に注意して取り扱ってください。ブレードは、研磨するか交換するか以外のことをしないでください。
![]() |
危険な部分の近くには、見やすい位置に安全ラベルや指示ラベルを貼付しています。破損したりはがれたりした場合は新しいラベルを貼付してください。 |









Note: 別途記載なき限り、外した部品はすべて保存してください。
平らな場所に駐車し、PTO を解除し、昇降アームを一番低い位置にし、駐車ブレーキを掛け、エンジンを停止させてキーを抜き取る。
また、必ず機械各部の動きが完全に停止し、機体の温度が十分に下がったのを確認してから、調整、洗浄、格納、修理などの作業に掛かってください。
カッティングユニットが取り付けられている場合はマシンの昇降アームから外す;カッティングユニットの オペレーターズマニュアルを参照。
PTO 駆動シャフトが正しい整列状態にあることを確認する;トラクションユニットのオペレーターズマニュアルの「PTO 駆動シャフトが整列手順」を参照。
Important: 整列させないと、負荷のバランスが崩れて駆動システムを損傷する恐れがあります。
トラクションユニットにロータリーカッティングユニット用の昇降アームが付いている場合は、以下の手順で取り外す:
この作業に必要なパーツ
| キャスタフォーク | 2 |
| キャスタボルト | 2 |
| ベアリング | 4 |
| ベアリングスペーサ | 2 |
| 大きいロックナット | 2 |
| キャスタアーム | 2 |
| キャリッジボルト(M10) | 12 |
| ロックナット(M10) | 12 |
| テンショニングキャップ | 2 |
| 刈高スペーサ | 14 |
| シム | 4 |
図 6のように、キャスタフォークにキャスタホイールを取り付ける。
Note: 上側のアクスルシャフト穴のみ使用すること;キャスタホイールの位置調整はしないこと。

カッティングユニットに各キャスタアームを取り付ける;キャリッジボルト(M10)6本、ロックナット(M10)6個を使用して図 7に取り付け、ロックナットを 47~57 N∙m(4.7~5.8 kg.m = 34~42 ft-lb)にトルク締めする。

カッティングユニットにキャスタを取り付ける;キャスタのシャフトのハブの両側にシムを入れて図 8のように取り付ける。
Note: 左右のキャスタシャフトハブのスペーサの数を変えることにより刈高を変えることができます;刈り高の調整を参照。

必ずデッキを水平にしてください;平らな床面にデッキを置き、デッキ上部を横断するように水準器を置いて水平を確認してください。
水平でない場合はキャスタシャフトアセンブリの下にシムを置くなどして調整してください。
この作業に必要なパーツ
| 昇降アーム | 2 |
| 大きいピン | 2 |
| 長いボルト(⅜ x 2¾") | 2 |
| ナット(⅜") | 6 |
| 小さいピン | 2 |
| ボルト(⅜" x 1¼") | 2 |
| キャリッジボルト(⅜ x 1¼") | 2 |
| ソケットヘッド、キャップスクリュ(⅜" x 2¼") | 2 |
| ワッシャ(⅜") | 2 |
| フランジロックナット(⅜") | 2 |
| 昇降アームのピン | 2 |
| リンチピン | 2 |
| センサーブラケット | 1 |
機体前部を床から浮かせて前タイヤを外す:トラクションユニットのオペレーターズマニュアルを参照。
昇降アームと大きいピンをマシンのフレームに取り付ける(図 10)。

ボルトとナットで、図 11のように、大きいピンを昇降アームに固定する。

各シリンダロッドの端部を、対応する昇降アームに取り付ける;小さいピン、ボルト(⅜ x 1¼")、ナット(⅜")で図 12のように取り付ける。
Note: 昇降アームを手で持ちあげてシリンダロッドの端に合わせてください。
右側昇降アームにセンサーブラケットを取り付ける;キャリッジボルト 2 本、ナット(⅜") 2 個で図 12のように取り付ける。

センサーブラケットがセンサーに干渉しないことを確認する;センサーブラケットを調整するを参照。
センサーブラケットを取り付ける時、ブラケットを上向きに(図 12のように)回してからクランプ固定する。
カッティングユニットを、期待正面に置き、フレームおよび PTO シャフトに合わせる。
以下の要領で、カッティングユニットに PTO を接続する:
図 13のように、PTO シャフトのヨークをカッティングユニットのギアボックスのシャフトに接続する。
ソケットヘッドキャップスクリュ(⅜ x 2¼")にワッシャ(⅜")を通し、駆動シャフトのヨークの穴(図 13)に通して、フランジロックナット(⅜")で固定する。
ソケットヘッドキャップスクリュ(⅜ x 2¼")にワッシャ(⅜")を通し、駆動シャフトのヨークの穴(図 13)に逆方向から通して、フランジロックナット(⅜")で固定する。
各ロックナットを交互に少しずつ、61 N∙m(6.2kg.m = 45 ft-lb)までトルク締めする。
Important: PTO シャフトのヨークボルトは必ず指定トルクに締め付けてください。この作業を怠ると重要部品の早期破損が発生しますから十分注意してください。
Important: ギアボックスから PTO シャフトを外した場合は、必ず新しいキャップスクリュとロックナットを使ってシャフトをギアボックスに取り付けてください。

昇降アームピンとリンチピンを使って、フレールを昇降アームに取り付ける(図 30)。
この作業に必要なパーツ
| フラップマウント | 1 |
| キャリッジボルト(M8) | 6 |
| フランジナット(MB) | 6 |
ごみ除けスカートをアクスルブラケットに取り付ける;キャリッジボルト(M8)6本、フランジナット(M8) 6 個、フラップマウントを使用する。
Note: 前輪を1個または両方外すと作業がしやすくなります。前輪の付け外し手順については、トラクションユニットのオペレーターズマニュアルの組み立ての章を参照。

センサーとセンサープレートとの間に 6 mm のすき間があることが必要です(図 16)。

すき間が正しくない場合には、以下の手順でセンサーブラケットを調整します:
スイッチをスイッチブラケットに固定しているロックナットをぬるめてスイッチの位置を調整し、適切なすき間を作る。
センサーのロックナットを 19-21 N·m(1.9-2.2 kg.m = 14-16 ft-lb)にトルク締めする。
フレールアタッチメント用の重量移動調整を行う;トラクションユニットのオペレーターズマニュアルを参照。
ギアボックスに適正量のオイルが入っていることを確認する;ギアボックスのオイルを点検するを参照。
キャスタタイヤの空気圧を 2-3.5 bar(2.1-3.5 kg/cm² = 30-50 psi)に調整する;キャスタタイヤの空気圧を点検するを参照。
初めて使用する前に、カッティングユニットのグリスアップを行ってください;カッティングユニットの潤滑を参照。この作業を怠るとマシンに急激な磨耗が発生しますから注意してください。
旋回モードを使用するにはトラクションユニットの表示画面を使います:トラクションユニットのオペレーターズマニュアルを参照。
Important: フレールモアを取り付けた場合、旋回モードを使用することにより、駆動ラインの寿命を延ばすことができます。フレールモアで作業する時は必ず旋回モードを使用するようにしてください。
Note: 旋回モードを有効にしておくことにより、刈り込み列の最後で旋回を行うときに、 PTO を接続したままの状態でモアをターフ面から軽く上昇させる(あるいは障害物を避ける)ことができます。
フレールモアを PTO を接続する時には、トラクションユニットのスロットルコントロールを「中速」に設定してください。そして PTO がつながったら、スロットルコントロールを「最高速」にしてください。
Important: フレールモアを PTO に接続する前にエンジン速度を下げることにより、駆動ラインの寿命を延ばすことができます。
LOW RPM PTO ENGAGE(低速回転 PTO 接続)を使用するには、トラクションユニットの表示画面を使います;トラクションユニットのオペレーターズマニュアルを参照。
Note: 低速回転 PTO 接続を使用すると、PTO 接続時に自動的にエンジン速度を下げ、接続終了後に自動的にエンジン速度を最高速度にします。
Important: フレールモアで作業する時に低速回転 PTO 接続モードを使用することにより、駆動ラインの寿命を延ばすことができます。
Note: 仕様および設計は予告なく変更される場合があります。
| 刈幅 |
1.52 m |
| 刈高 | 19-102 mm の範囲で 13 mm 刻みで調整可能 |
| 純重量 |
260 kg |
メーカーが認定した各種のアタッチメントやアクセサリがそろっており、マシンの機能をさらに広げることができます。詳細はメーカーの正規サービスディーラ、または代理店へお問い合わせください;弊社のウェブサイト www.Toro.com でもすべての認定アタッチメントとアクセサリをご覧になることができます。
いつも最高の性能と安全性を維持するために、必ずToroの純正部品をご使用ください。他社の部品やアクセサリを御使用になると危険な場合があり、製品保証を受けられなくなる場合がありますのでおやめください。
フレールブレードを鋭利に維持してください。刈りこみ性能を高く維持し、パワー消費を減らし、クオリティ高く刈り込むことができます。
カッティングユニットは地表面の凹凸に沿って上下(フロート)します。
カッティングユニットを駆動する前に、エンジン速度を落としてください:
トラクションユニット、モデル 31900, 31901, 31907, 31909 の場合;PTO を接続する前にエンジン速度を下げるを参照
トラクションユニット、モデル 31902, 31903 の場合;低速回転 PTO 接続モードの使用を参照
刈り込みは常にフルスロットルで行ってください。刈り込み速度は現場の状況に合わせて調整してください。ゆっくり刈り込むほど、刈りのクオリティも刈り込み後の見映えも向上します。
Important: いつでも必ず、以下の説明通りに正しく刈高が設定されていることを確認してください。アジャスタプレートとキャスタフォークの両方が表の通りに設定されていることを確認してください。これを怠ると、作業中に過度の振動が発生し駆動ラインの寿命が縮まります。.
Note: 刈高は後ローラと前キャスタで決まります。ブレードの摩耗、タイヤ空気圧、キャスタアームの曲がりや破損などで刈高が変わります。

平らな場所に駐車し、カッティングユニットを上昇させてジャッキスタンドで支持し、エンジンを停止させ、駐車ブレーキを掛けてキーを抜き取る。
通常の刈高設定については、刈高デカル(図 19)を参照のこと。

刈高調整プレートの位置の調整は、プレートを固定しているナットとボルトを外して行う(図 20)。
希望希望する刈高に合わせて図 19に示す位置にボルトを取り付け;ナットを 60 N∙m (23kg.m = 44 ft-lb)にトルク締めする。

キャスタフォークの調整を行うには、左右の前キャスタシャフトについている刈高キャップを取ってシャフトのハブについているスペーサの数を調整する(図 19)。
Note: ハブの上のスペーサを増やすと刈高が下がり、ハブの下のスペーサを増やすと刈高が上がります。
刈高テンショニングキャップを取り付ける。
| 整備間隔 | 整備手順 |
|---|---|
| 使用するごとまたは毎日 |
|
| 50運転時間ごと |
|
Important: ブレードが1枚だけ不良の場合、そのブレードの反対側にあるブレードも同時に一対で交換してください。重量バランスを維持するために必要です。
平らな場所に駐車し、カッティングユニットを上昇させ、駐車ブレーキを掛け、エンジンを停止させてキーを抜き取る。
上昇させたカッティングユニットをジャッキスタンドで支える。
ブレードを一本ずつ点検する。ボルトナット、刃先、取り付け穴の状態に特に注意する(図 21)。 問題のあるブレードや締結具はすべて交換する。

各ブレードの摩耗ラインを見て、摩耗の程度を確認する(図 22)。 摩耗ラインまで摩耗が進んだブレードは交換する。

各ブレードボルトを 45 N∙m(4.6 kg.m = 33 ft-lb)にトルク締めする。
各ブレードを手でしっかりと握り、ロータからどちらの方向にも合計で 3 mm 以上の遊びがないことを確認する。遊びの合計が 3 mm 以上の場合は、ブレードを交換する。
ペアになっているブレード同士の重量バランスが崩れていないか点検する。
Note: 各ペアにおける重量差は 10 g 以内とする。
磨耗の進んだブレードや破損したブレードは、回転中にちぎれて飛び出す場合があり、これが起こるとオペレータや周囲の人間に多大の危険を及ぼし、最悪の場合には死亡事故となる。
ブレードが磨耗や破損していないか定期的に点検すること。
磨耗したり破損したりしたブレードは交換すること。
芝刈り作業に必要なパワーを十分に引き出すために、エンジンは常にスロットル全開で使用し、コンディションに合わせて走行速度を調整してください。カッティングユニットに掛かる負荷が増えてきたら、走行速度を落とすようにしてください。カッティングユニットに掛かる負荷が減ってきたら、走行速度を上げても大丈夫です。
刈り込みの方向を変えるようにしましょう;同じルートで長期間刈り込むとターフにタイヤマークがついてしまいます。また、刈りかすの飛散方向も変わるので自然分解が促進され、栄養的にも有利です。
遅めの速度で刈り込むとカットの質が向上します。
いままで使っていた芝刈り機よりも広い刈り幅で刈る場合には、以前の刈り高より少し高目の設定で刈って、以前と同じ刈高に仕上がるか、凹凸面を削らないか、確認してください。
一度に切り取る長さは25 mm以内に抑えましょう。草丈の1/3 以上は刈り取らないのが原則です。成長期の密生している芝生では、刈り込み速度を遅くしたり、刈り高設定をさらに一目盛り上げる必要があるかもしれません。
草が少し伸びすぎてしまった場合や、芝生がぬれている場合には、通常よりも高い刈高で刈り込みを行ってください。その後に通常の刈り高に下げてもう一度刈るときれいに仕上がります。
芝刈り作業が終わったらホースと水道水でカッティングユニットの裏側を洗浄してください。カッティングユニットの内側に刈りかすやごみが溜まると切れ味が落ち、仕上がりが悪くなります。
火災防止のため、エンジンやマフラー、バッテリー、駐車ブレーキ、カッティングユニット、燃料タンクなどの周囲に、余分なグリス、草や木の葉、ほこりなどが溜まらないようご注意ください。こぼれたオイルや燃料はふきとってください。
芝草を引き裂いたり引きちぎったりせずにきれいな刈り込みができるように、シーズンを通じて鋭利な刃先を維持するようにしましょう。切れ味の悪い刃先は芝草を引きちぎるので、切り口が茶色に変色し、芝草の成長を悪くし、また病気にもかかりやすくなります。
刈り込みブレードに磨耗や破損が発生していないか毎回点検してください。必要に応じてブレードを研磨してください。
破損したり摩耗したりしたブレードはメーカー純正のブレードと交換してください。ブレードの交換を参照。
| 整備間隔 | 整備手順 |
|---|---|
| 使用開始後最初の 2 時間 |
|
| 使用開始後最初の 10 時間 |
|
| 使用するごとまたは毎日 |
|
| 50運転時間ごと |
|
| 250運転時間ごと |
|
| 400運転時間ごと |
|
| 1年ごと |
|
始動キーをつけたままにしておくと、誰でもいつでもエンジンを始動させることができ、危険である。
整備・調整作業の前には必ずエンジンを停止し、キーを抜いておくこと。
このページをコピーして使ってください。
| 点検項目 | 第週 | ||||||
|---|---|---|---|---|---|---|---|
| 月 | 火 | 水 | 木 | 金 | 土 | 日 | |
| 刈り込みブレードの状態を点検する。とロータ | |||||||
| 刈高の設定を確認する。 | |||||||
| ごみ除けスカートに汚れや破損がないか点検する。 | |||||||
| カッティングユニットを洗浄します。 | |||||||
| 前フラップを点検する。 | |||||||
| グリスアップを行なう。1 | |||||||
| 塗装傷のタッチアップ | |||||||
|
1. 車体を水洗いしたときは整備間隔に関係なく直ちにグリスアップする。 |
|||||||
| 要注意個所の記録 | ||
| 点検担当者名: | ||
| 内容 | 日付 | 記事 |
| 整備間隔 | 整備手順 |
|---|---|
| 使用するごとまたは毎日 |
|
グリスの種類:No. 2 汎用リチウム系グリス
破損しているグリスフィッティングは交換してください。
グリスポイントは図 23に示す通りです。

| 整備間隔 | 整備手順 |
|---|---|
| 50運転時間ごと |
|
ギアボックスに使用するオイルは石油系または合成の SAE 80W-90 ギア用潤滑油です。適量のオイルを入れて出荷していますが、カッティングユニットを使用する前に点検してください。ギアボックスのオイル量: 0.33 リットル
平らな場所に駐車し、カッティングユニットを降下させ、駐車ブレーキを掛け、エンジンを停止させてキーを抜き取る。
ギアボックスの上部についているブリーザプラグ(図 24)を取り、オイルの量が、ブリーザプラグについている2本の適量マークの間にあることを確認する。油量が少なければ2本のマークの中間まで補給する。

ブリーザプラグを取り付け、9 N·m(0.97 kg.m=84 in-lb)にトルク締めする。
| 整備間隔 | 整備手順 |
|---|---|
| 400運転時間ごと |
|
平らな場所に駐車し、カッティングユニットを降下させ、駐車ブレーキを掛け、エンジンを停止させてキーを抜き取る。
ギアボックスのドレンプラグの下にオイル受けを置く(図 25)。
ドレンプラグ(ギアボックスの左側)を外して、排出されるオイルを回収する(図 25)。

ドレンプラグを取り付け、20-27 N·m(2.1-2.7 kg.m=15-20 ft-lb)にトルク締めする。
ギアボックスの上部についているブリーザプラグを取る。
ギアボックスに適切なオイルを入れる。オイルの量を確認しながら入れること。ブリーザプラグの下側の2本のマークの間にくるまでオイルを入れる;ギアボックスのオイルを点検するを参照。
ブリーザプラグの下側の2本のマークの間にオイルがあることを確認したら、ブリーザプラグを取り付けて、9 N·m(0.97 kg.m=84 in-lb)にトルク締めする。
| 整備間隔 | 整備手順 |
|---|---|
| 250運転時間ごと |
|
平らな場所に駐車し、カッティングユニットを降下させ、駐車ブレーキを掛け、エンジンを停止させてキーを抜き取る。
ベルトカバーの上下を機体に固定している組み込みボルトをゆるめる(図 26)。


アイドラプーリのナットをゆるめる(外さない)(図 27)。
Note: ナットをゆるめるには、対応するボルト(デッキ内側)を押さえておく必要があります。
アイドラプーリのナットでベルトの張りを調整する(図 27)。
単筒式テンションメータを使ってベルトを押し、以下の手順でベルトの張りを点検する(図 28):
新しいベルトの場合:6.0-6.4 kgの力でベルトを押した時のたわみが 5 mm になる。
使用中のベルトの場合:5.1-5.6 kg の力でベルトを押した時のたわみが 5 mm になる。

必要に応じてプーリポストのナットでベルトの張りを調整する。
ロータを手で 2ー3 回転させてベルトの張りを再確認し、必要に応じて再調整する。
アイドラプーリのナットを100 N·m(10.2 kg.m = 74 ft-lb)にトルク締めする。
ベルトカバーを取り付ける(図 26)。
| 整備間隔 | 整備手順 |
|---|---|
| 250運転時間ごと |
|
平らな場所に駐車し、カッティングユニットを降下させ、駐車ブレーキを掛け、エンジンを停止させてキーを抜き取る。
ベルトカバー(図 26)を取り外す。
テーパロックの金具の固定ねじを 30 N∙m(3.8-5.6kg.m = 41 ft-lb)にトルク締めする。

ベルトカバーを取り付ける。
平らな場所に駐車し、カッティングユニットを降下させ、駐車ブレーキを掛け、エンジンを停止させてキーを抜き取る。
図 13のように、PTO シャフトのヨークをカッティングユニットのギアボックスのシャフトから外す。
Important: ギアボックスから PTO シャフトを外した場合は、必ず新しいキャップスクリュとロックナットを使ってシャフトをギアボックスに取り付けてください。
ごみ除けスカートをトラクションユニットの前アクスルブラケットに固定しているボルトナット類を外す(図 14)。
カッティングユニットを昇降アームに固定しているリンチピン等のピンを抜き取る(図 30)。

車両を移動させるとカッティングユニットが残る。
キャスタアームのチューブには上側と下側にブッシュがはめ込んでありますが、これらのブッシュは使用に伴って磨耗してきます。
ブッシュを点検するには、キャスタフォークを前後左右に揺り動かして見ます。ブッシュの中でキャスタのシャフトがぐらついているようならブッシュの磨耗が進んでいると判断し、交換してください。
平らな場所に駐車し、カッティングユニットを上昇させてジャッキスタンドで支え、駐車ブレーキを掛け、エンジンを停止させてキーを抜き取る。
キャスタスピンドルの上部から、テンショニングキャップ、スペーサ、スラストワッシャを抜き取る。
キャスタスピンドルを取り付けチューブから抜きとる。スラストワッシャとスペーサは、スピンドルの一番下に残しておく。
ピンポンチを使って、チューブの上または下からブッシュをたたき出す(図 31)。もう1個のブッシュについても同様にして取り出す。チューブの内部をきれいに清掃する。

新しいブッシュの内外面にグリスを塗る。ハンマーと平たい板を使って、ブッシュをチューブにたたき込む。
キャスタシャフトを点検し、必要に応じて交換する。
ブッシュと取り付けチューブにキャスタスピンドルを通し、もう 1 枚のスラストワッシャと残りのスペーサをスピンドルに取り付け、テンショニングキャップをキャスタスピンドルに取り付ける。
| 整備間隔 | 整備手順 |
|---|---|
| 使用開始後最初の 2 時間 |
|
| 使用開始後最初の 10 時間 |
|
| 50運転時間ごと |
|
平らな場所に駐車し、カッティングユニットを上昇させてジャッキスタンドで支え、駐車ブレーキを掛け、エンジンを停止させてキーを抜き取る。
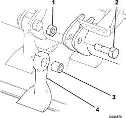
キャスタホイール・アセンブリをキャスタフォークに保持しているボルトからロックナットを外す(図 32)。キャスタホイールをしっかりと握り、ボルトをフォーク(またはピボットアーム)から抜き取る。
ホイールのハブからベアリングを外して、ベアリングスペーサを床に落とす(図 32)。ホイールハブの反対側にあるベアリングを取る。
ベアリング、スペーサ、ホイールハブの内側の状態を点検する。磨耗したり破損したりしている部品は交換する。
キャスタホイールを組み立てるには、まず、ホイールのハブにベアリングを押し込む。ベアリングを取り付ける時、ベアリングの外側のレース部分を押すように注意すること。

ホイールのハブにベアリングスペーサを入れる。もう一個のベアリングをホイールハブの空いている側に取り付けてハブ内部のスペーサを固定する。
キャスタホイールアセンブリをキャスタフォークに取り付け、ボルトとロックナットで固定する。
| 整備間隔 | 整備手順 |
|---|---|
| 50運転時間ごと |
|
各ブレードボルトを 45 N∙m(4.6 kg.m = 33 ft-lb)にトルク締めする。
| 整備間隔 | 整備手順 |
|---|---|
| 使用するごとまたは毎日 |
|
どのフラップも損傷していないこと、自由に回ることを確認する;壊れているフラップは交換する。
ロータの固着を解放すると、ロータが突然動いて怪我をする危険がある。
絶対に、素手でロータの固着を解放してはならない。
必ず丈夫な手袋を着用し、木の棒などを使って作業すること。
フレールロータに詰まっている異物を除去するのに適当な形状および、テコの原理を使用して十分な力を掛けられる棒を使用すること。
PTO スイッチを OFF 位置にする。
平らな場所に駐車し、スロットルを低速にセットし、駐車ブレーキを掛ける。
必要に応じてカッティングユニットを上昇させて、詰まりにアクセスできるようにする。
エンジンを止め、キーを抜き取り、可動部が完全に停止したのを確認する。
上昇させたカッティングユニットをジャッキスタンドで支える。
木の棒で注意深く詰まりを除去する。
Important: フレールロータが回転する場合がありますから注意してください。
Important: 無理な力を掛けないようにしてください。
除去に使用した棒をカッティングユニットから取り出してからエンジンを掛ける。
必要に応じてカッティングユニットの修理や調整を行う。
| 整備間隔 | 整備手順 |
|---|---|
| 50運転時間ごと |
|
キャスタタイヤの空気を 2-3.5 bar(2.1-3.5 kg/cm2 = 30-50 psi)に調整する。
| 整備間隔 | 整備手順 |
|---|---|
| 使用するごとまたは毎日 |
|
ロータの振動状態を確認するには、カッティングユニットを全速で作動させます。
エンジンを始動し、広くて平らな場所に移動し、周囲から人を遠ざける。
カッティングユニットを下降させ、駐車ブレーキを掛ける。
PTO を作動させ、エンジンフルスロットルで運転して、ロータに異常な振動が出ていないか確認する。
異常振動が見られる場合は以下を行う:
スロットルをアイドルにし、PTO を解除し、カッティングユニットを上昇させる。
エンジンを止め、キーを抜き取り、可動部が完全に停止したのを確認する。
カッティングユニットについて、以下を点検する:
異物が、ロータやブレードの回転が妨げていないか。あれば異物の詰まりを除去する;固着したロータの解放を参照。
ロータが破損していないか、ロータのベアリングが摩耗していないか点検する;ロータのベアリングの点検を参照。
ブレードの破損、紛失、アンバランス、過度な摩耗がないか点検する;ブレードの研磨とブレードの交換を参照。
Important: ペアになっているブレード同士の摩耗具合がほぼ同じ程度であることが必要;摩耗の程度が異なるとバランス狂っている可能性がある。
Important: 異常振動の原因を除去できない場合には、代理店にご連絡ください。
| 整備間隔 | 整備手順 |
|---|---|
| 50運転時間ごと |
|
Important: ロータベアリングの点検は手袋を着用して行ってください。
平らな場所に停車して駐車ブレーキを掛ける。
カッティングユニットを上昇させ、エンジンを止め、キーを抜き取り、可動部が完全に停止したのを確認する。
上昇させたカッティングユニットをジャッキスタンドで支える。
ロータの端部に過度の摩耗がないか、端の部分を一つづつ握って点検する。交換が必要と思われる時は弊社代理店に連絡する。
| 整備間隔 | 整備手順 |
|---|---|
| 使用するごとまたは毎日 |
|
ごみ除けスカートに汚れや破損がないか目視で点検し、スカートに付着しているごみを取り除く。
グラインダの不適切な使用は大けがの原因となる。器物を大破させる原因ともなる。
ブレードの研磨作業は、ハンドグラインダの使用に習熟した人が行うこと。
ブレードの背面の角度の付いている部分はアングルグラインダで研磨してください(図 33)。
Important: ブレードの前面は削らないでください。
刃先の水平を狂わせないように研磨してください。角度のついた面が地表面に対して平らなっていることが必要です(図 33)。
グラインダを当て続けるとブレードが高温になって刃先の硬度が失われますから、注意してください。
摩耗ライン(5 個の突起)に到達したブレードは使用しないでください(図 33)。バランスを崩さないように全部のブレードを同じように研磨してください。
研磨する時は、未使用のブレードを手元に置いて参考にするとよいでしょう。

| 整備間隔 | 整備手順 |
|---|---|
| 1年ごと |
|
ブレードは必ずペアで交換、またはロータ全部を交換してバランスを維持してください。ブレードを交換する時位は、ブッシュ、ボルト、ロックナットも交換してください。ブレードの交換用に、2 種類の整備キットを容易しています;パーツカタログを参照してください。
カッティングユニットを床から浮かせてジャッキスタンドで支持する。
駐車ブレーキを掛け、エンジンを停止させ、キーを抜き取る。
ロータを手でゆっくりと回転させ、フレールの列にアクセスしやすい位置を決める。
ボルトやナットについている汚れを落とし、ねじ山にたまっているごみをワイヤブラシで除去する。
取り付け時にボルトとナットの位置関係を間違えないようにボルト側にマーキングする。
厚いウェスか手袋でブレードをしっかり持ち、ナット、ボルト、ブッシュを外してボルトを取り出す(図 34)。
Note: 必要に応じてねじ山にオイルを塗ってナットを通す。

使用済みのブレード、ブッシュ、ナット、ボルトは廃棄する。
新しいブレードを取り付ける;新しい締結具を使用する(図 34)。
Note: ボルトの取り付け方向に注意してください。以前と同じ向きに取り付けてください。
締め具を 45 N·m(8.3 kg.m = 33 ft-lb)にトルク締めする。
| 整備間隔 | 整備手順 |
|---|---|
| 使用するごとまたは毎日 |
|
カッティングユニットの裏側にたまった刈りかすは毎日取り除いてください。
平らな場所に駐車し、カッティングユニットを移動走行位置まで上昇させ、駐車ブレーキを掛け、エンジンを停止させてキーを抜き取る。
カッティングユニットの裏側を水でていねいに清掃する。
平らな場所に駐車し、カッティングユニットを移動走行位置まで上昇させ、駐車ブレーキを掛け、エンジンを停止させてキーを抜き取る。
カッティングユニットをきれいに洗浄する。特に以下の部分を入念に清掃してください:
カッティングユニットの裏側
カッティングユニットのベルトカバーの裏側
PTO シャフトアセンブリ
グリス注入部やピボット部
トラクションユニットのタイヤ空気圧(前と後)を点検・調整する;トラクションユニットのオペレーターズマニュアルを参照。
ボルトナット類にゆるみながいか点検し、必要な締め付けを行う。
グリスフィッティングやピボットポイントのグリスアップを行い、はみ出てきたグリスを丁寧にふき取る;カッティングユニットの潤滑を参照。
塗装のはがれている部分に軽く磨きをかけ、タッチアップする。へこみを発見したら修理する。