Należy przeczytać uważnie poniższe informacje, aby poznać zasady właściwej obsługi i konserwacji urządzenia, nie uszkodzić go i uniknąć obrażeń ciała. Odpowiedzialność za prawidłowe i bezpieczne użytkowanie produktu spoczywa na użytkowniku.
Aby uzyskać informacje na temat urządzenia i akcesoriów, znaleźć dealera lub zarejestrować swoje urządzenie, skontaktuj się bezpośrednio z firmą Toro za pomocą witryny internetowej www.Toro.com.
Aby skorzystać z serwisu, zakupić oryginalne części firmy Toro lub uzyskać dodatkowe informacje, należy skontaktować się z autoryzowanym przedstawicielem serwisowym lub biurem obsługi klienta firmy Toro. Prosimy o przygotowanie numeru modelu i numeru seryjnego produktu. Rysunek 1 przedstawia lokalizację numeru modelu i numeru seryjnego na maszynie. Należy je zapisać w przeznaczonym do tego celu miejscu.

Niniejsza instrukcja zawiera opis potencjalnych zagrożeń, a zawarte w niej ostrzeżenia zostały oznaczone symbolem ostrzegawczym (Rysunek 2), który sygnalizuje niebezpieczeństwo, mogące spowodować poważne obrażenia lub śmierć w razie zlekceważenia zalecanych środków ostrożności.

W niniejszej instrukcji występują dwa słowa podkreślające wagę informacji. Ważne zwraca uwagę na istotne informacje techniczne, a Uwaga odnosi się do ogólnych informacji, które warto mieć na uwadze.
KALIFORNIA
Propozycja 65 ostrzeżenie
Użycie tego produktu może skutkować narażeniem się na działanie związków chemicznych uznanych w Stanie Kalifornia za wywołujące raka, uszkodzenia płodu lub działające szkodliwie dla rozrodczości.
Aby grabie działały w sposób prawidłowy, maszyna musi mieć właściwe ciśnienie w oponach. Upewnij się, że ciśnienie w oponach wynosi 0,48 bara (Rysunek 3).
Aby uzyskać dokładny odczyt, sprawdzaj ciśnienie w oponach, gdy są zimne.
Ciśnienie: 0,48 bara

Przed montażem grabi na nowej maszynie należy zdjąć płytę transportową z maszyny.
Odkręć nakrętki, śruby i podkładki mocujące płytę transportową z tyłu maszyny.

Wyrzuć elementy mocujące i płytę transportową.
Części potrzebne do tej procedury:
| Zespół centralny | 1 |
| Zespół prawy | 1 |
| Zespół lewy | 1 |
| Śruba (¾ x 3 ½ cala) | 2 |
| Przeciwnakrętka (¾ cala) | 2 |
| Rozpórka długa | 2 |
| Osłona linki | 2 |
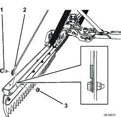
Ustaw zespoły tak, aby płyta górna zespołu centralnego była skierowana do przodu, natomiast płyty górne każdego z zespołów bocznych były skierowane do tyłu (Rysunek 5).

Włóż długą rozpórkę w otwór osi obrotu w każdym z zespołów bocznych (Rysunek 6).

Ustaw otwór osi obrotu w prawym zespole bocznym równo z otworem osi obrotu po prawej stronie zespołu centralnego.
Ułóż osłonę linki równo z otworem osi obrotu i połącz je za pomocą śruby (¾ x 3½ cala) i nakrętki zabezpieczającej (¾ cala) dokręconych z momentem od 163 do 217 N-m, patrz Rysunek 6.
Note: Upewnij się, że zespół boczny obraca się swobodnie. W razie potrzeby lekko poluzuj śruby i nakrętki. Upewnij się, że śruby podsadzane nie stykają się ze sobą w całym zakresie ruchu.
Ustaw otwór osi obrotu w lewym zespole bocznym równo z otworem osi obrotu po lewej stronie zespołu centralnego.
Ułóż osłonę linki równo z otworem osi obrotu i połącz je za pomocą śruby (¾ x 3½ cala) i nakrętki zabezpieczającej (¾ cala) dokręconych z momentem od 163 do 217 N-m, patrz Rysunek 6.
Note: Upewnij się, że zespół boczny obraca się swobodnie. W razie potrzeby lekko poluzuj śruby i nakrętki. Upewnij się, że śruby podsadzane nie stykają się ze sobą w całym zakresie ruchu.
Części potrzebne do tej procedury:
| Dyszel | 1 |
| Śruba (¾ x 3 ½ cala) | 1 |
| Przeciwnakrętka (¾ cala) | 1 |
| Rozpórka długa | 1 |
Włóż rozpórkę długą do otworu z tyłu dyszla (Rysunek 7).

Ustaw otwór z tyłu dyszla równo z otworem w zespole osi obrotu.
Włóż śrubę (¾ x 3½ cala) w celu zamocowania dyszla do zespołu osi obrotu.
Przykręć przeciwnakrętkę (¾ cala) na śrubę i dokręć ją z momentem od 163 do 217 N-m.
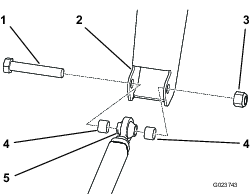
Części potrzebne do tej procedury:
| Zespół wysięgnika | 1 |
| Śruba podsadzana (⅜ x ¾ cala) | 2 |
| Nakrętka kołnierzowa (⅜ cala) | 2 |
| Śruba (¼ x ⅝ cala) | 1 |
Ustaw otwory w płycie na dolnym końcu zespołu wysięgnika równo z otworami w płycie w pobliżu tylnej części dyszla (Rysunek 8).

Wsuń 2 śruby podsadzane (⅜ x ¾ cala) w otwory i przykręć śruby 2 nakrętkami kołnierzowymi (⅜ cala).
Wkręć śrubę (¼ x 5/8 cala) w otwór z przodu płyt.
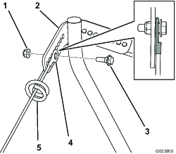
Części potrzebne do tej procedury:
| Linka | 2 |
| Śruba stopniowana | 4 |
| Nakrętka kołnierzowa (5/16 cala) | 4 |
Ustaw koniec każdej linki równo z otworem na końcu grabi (Rysunek 9).
Note: Aby zmniejszyć prawdopodobieństwo zaplątania, dopilnuj, aby końce linek były ustawione w sposób pokazany na Rysunek 9.

Zabezpiecz każdą linkę śrubą stopniowaną i nakrętką kołnierzową (5/16 cala).
Poprowadź drugi koniec każdej linki przez odpowiedni wspornik linki i ustaw je równo z otworami w górnej części zespołu wysięgnika (Rysunek 10).
Note: Aby zmniejszyć prawdopodobieństwo zaplątania, dopilnuj, aby końce linek były ustawione w sposób pokazany na Rysunek 10.

Zabezpiecz górną część każdej linki za pomocą śruby stopniowanej i nakrętki kołnierzowej (5/16 cala).
Note: Po zakończeniu instalacji wyreguluj położenie górnej linki, patrz Regulacja układu podnoszenia na zakrętach.
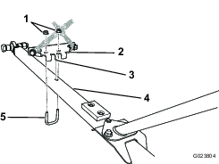
Części potrzebne do tej procedury:
| Zespół łańcucha ogranicznika | 1 |
| Śruba kabłąkowa | 1 |
| Nakrętka kołnierzowa (5/16 cala) | 2 |
Ustaw środkowy wypust wspornika dyszla równo z otworem na środku dyszla (Rysunek 11).

Załóż śrubę kabłąkową i przykręć ją 2 nakrętkami kołnierzowymi (5/16 cala).

Elastyczne grabie zębate wymagają 4 obciążników, które są dołączone do maszyny. Zawsze należy upewnić się, że maszyna ma odpowiednią liczbę obciążników.
W poniższej tabeli podano liczbę obciążników potrzebnych z przodu maszyny:
| Osprzęt | Wymagana liczba obciążników |
|---|---|
| Elastyczne grabie zębate | 4 |
| Elastyczne grabie zębate ze szczotką wykańczającą | 6 |
| Mata z bolcami | 6 |
| Mata z bolcami z matą wykańczającą | 8 |
Odkręć 2 śruby i 2 nakrętki mocujące istniejące obciążniki z przodu maszyny (Rysunek 13).
Note: Jeżeli maszyna jest wyposażona w zestaw oświetlenia, odkręć nakrętkę i śrubę mocującą przedni reflektor do maszyny. Zachowaj wszystkie części — patrz Instrukcja instalacji zestawu oświetlenia.

Załóż lub zdejmij obciążniki wedle potrzeb.
Zamocuj obciążniki za pomocą 2 śrub i 2 nakrętek.
Note: Jeżeli maszyna jest wyposażona w zestaw oświetlenia, załóż przedni reflektor, wsuwając śrubę przez obciążniki i przykręcając ją nakrętką (zob. Instrukcja instalacji zestawu oświetlenia).
Przesuń dyszel pod tylną część maszyny.
Poprowadź łańcuchy pod linkami.
Załóż szeklę na końcu każdego łańcucha podnoszenia.
Important: Upewnij się, że łańcuchy nie są skręcone.
Ustaw każdą szeklę po odpowiedniej stronie podnośnika osprzętu na maszynie (Rysunek 14).

Przykręć każdą szeklę przy pomocy przeciwnakrętki kołnierzowej (5/16 cala) i śruby (5/16 x 2½ cala).
Note: Upewnij się, że gwinty każdej śruby stykają się z wkładką nylonową przeciwnakrętki kołnierzowej oraz że każda szekla obraca się swobodnie.
Ustaw koniec tłoczyska dyszla równo z zaczepem ramy (Rysunek 15).

Ustaw rozpórkę po każdej stronie końca tłoczyska i wsuń śrubę (¾ x 4½ cala) przez zaczep ramy, koniec tłoczyska i rozpórki.
Przykręć śrubę przeciwnakrętką (¾ cala) z momentem od 163 do 217 N-m.
Odkręć nakrętkę i śrubę mocującą osłonę tłumika z tyłu maszyny (Rysunek 16).

Ustaw otwory na śruby we wsporniku ramy równo z otworami na śruby w ramie.
Note: Upewnij się, że łańcuchy są skrzyżowane w sposób pokazany na Rysunek 17.

Zamocuj wspornik ramy za pomocą 4 śrub (5/16 x 1 cal) i 4 nakrętek kołnierzowych (5/16 cala); patrz Rysunek 16.
Przestaw grabie na 1 stronę. Śruba ogranicznika powinna stykać się z dyszlem, gdy grabie znajdują się 51 mm od opony (Rysunek 18).
Jeżeli między grabiami a oponą pozostało 51 mm luzu, regulacja nie jest konieczna.

Sprawdź, czy między oponą a grabiami występuje odpowiedni luz.
W przypadku braku wystarczającego luzu, poluzuj przeciwnakrętkę kołnierzową.
W przypadku nadmiernego luzu, poluzuj nakrętkę zabezpieczającą.
Note: Kwadratową szyjkę śruby chwyć kluczem, aby uniemożliwić jej obracanie się.

Jeśli śruba ogranicznika znajduje się w takim położeniu, że pomiędzy grabiami a oponą występuje 51 mm luzu, dokręć odpowiednią nakrętkę.
Jeżeli poluzowałeś przeciwnakrętkę kołnierzową, dokręć ją teraz.
Jeżeli poluzowałeś nakrętkę zabezpieczającą, dokręć ją teraz.
Note: Kwadratową szyjkę śruby chwyć kluczem, aby uniemożliwić jej obracanie się.
Powtórz procedurę dla drugiej śruby ogranicznika.
Upewnij się, że grabie nie stykają się z oponami w całym zakresie ruchu.
Upewnij się, że opony są napompowane na 0,48 bara.
Jeśli to możliwe, wjedź maszyną na bunkier piaskowy z płaskim dnem.
Po ustawieniu grabi w pozycji opuszczonej skręć maszyną w lewo podczas jazdy, tak aby grabie zostały całkowicie odchylone.
Zatrzymaj maszynę, wyłącz silnik, załącz hamulec postojowy, wyjmij kluczyk i odczekaj, aż wszystkie części ruchome się zatrzymają.
Zejdź z maszyny i sprawdź lewą stronę zagrabionego piasku.
Note: Grabie powinny zagrabiać ślady kół, ale nie powinny stykać się z piaskiem poza śladami kół. Jeśli schemat grabienia jest nieprawidłowy, patrz Regulacja układu podnoszenia na zakrętach.
Powtórz tę procedurę po prawej stronie grabi.
Wykonaj kroki od 1 do 5 w Kontrola schematu grabienia.
Przestaw grabie całkowicie na 1 stronę.
Po wewnętrznej stronie zakrętu (na przykład lewa strona, jeżeli grabie są odchylone w lewo) sprawdź, czy grabie nie stykają się za bardzo z piaskiem i pracują poza śladami kół lub czy nie stykają się z piaskiem zbyt słabo i nie zagrabiają śladów kół.
Zapisz otwór, do którego zamocowana jest góra linki.
Odkręć śrubę stopniowaną i nakrętkę kołnierzową, a następnie przesuń koniec linki do odpowiedniego otworu.
Jeśli grabie zbyt mocno stykają się z piaskiem i pracują poza śladami kół, przesuń górną część linki do otworu znajdującego się bliżej środka wysięgnika.

Jeśli grabie nie stykają się z piaskiem na tyle głęboko, aby zagrabiać ślady kół, przesuń górną linkę do otworu znajdującego się dalej od środka wysięgnika.
Przykręć linkę śrubą stopniowaną i nakrętką kołnierzową.
Note: Aby zmniejszyć prawdopodobieństwo zaplątania, dopilnuj, aby koniec linki był ustawiony w sposób pokazany na Rysunek 20.
Powtórz tę procedurę po przeciwnej stronie.
Możesz wyregulować nachylenie grabi, aby zwiększyć lub zmniejszyć ilość mieszanego materiału. Jeżeli krawędź grabi jest nachylona do przodu (Rysunek 21), w kierunku maszyny, grabie przenoszą więcej materiału i mieszają materiał na większą głębokość. Jeżeli krawędź grabi jest nachylona do tyłu (Rysunek 23), z dala od maszyny, grabie przenoszą mniej materiału i mieszają materiał na mniejszą głębokość.



Odkręć przednie nakrętki i śruby mocujące zespół grabi do wspornika (Rysunek 24).

Poluzuj tylne nakrętki i śruby.
Ustaw nachylenie grabi, aż odpowiednie otwory będą ustawione równo względem siebie.
Note: Położenie środkowe wykorzystuje otwory bliżej tylnych śrub. W pozostałych 2 pozycjach otwory są oddalone od tylnych śrub.
Włóż śruby w otwory i przykręć nakrętkami.
Dokręć nakrętki śrub przednich i tylnych.
Do podnoszenia i opuszczania grabi służy przełącznik osprzętu na prawej dźwigni sterującej maszyny.
Naciśnij przełącznik w górę, aby podnieść grabie, naciśnij przełącznik w dół, aby opuścić grabie; patrz instrukcja obsługi maszyny.
Jazda maszyną bez zamontowanego osprzętu może spowodować przewrócenie maszyny i wyrządzenie szkód osobowych lub materialnych.
Nie wolno jechać maszyną bez zamontowanego osprzętu dopuszczonego przez firmę Toro.
Odłącz dyszel od zaczepu ramy.
Odłącz szekle od podnośnika osprzętu.
Zdejmij wspornik ramy z tyłu maszyny.
Przed przystąpieniem do grabienia piaskowej pułapki należy przeczytać cały rozdział dotyczący grabienia. Istnieją różne warunki określające konieczność przeprowadzenia regulacji. Struktura i głębokość piasku, zawartość wilgoci, obecność chwastów oraz stopień ubicia to czynniki, które mogą się różnić w zależności od pól, a nawet różnych bunkrów na tym samym polu. Należy dostosować ustawienia grabi w celu uzyskania najlepszych rezultatów na danym obszarze.
Grabienie należy przećwiczyć na dużej i poziomej pułapce na danym polu golfowym. Należy poćwiczyć ruszanie i zatrzymywanie się, skręcanie, podnoszenie i opuszczanie grabi, wjeżdżanie na obszar pułapki, wyjeżdżanie z niego itp. Próby wykonuj przy umiarkowanej prędkości obrotowej oraz niskiej prędkości jazdy. Ćwiczenia te pozwolą operatorowi poznać możliwości maszyny.
Zalecany schemat trasy przy zagrabianiu bunkrów jest pokazany na Rysunek 25. Schemat ten pozwala uniknąć niepotrzebnego nakładania się torów jazdy i ograniczy ubijanie do minimum, a ponadto umożliwia tworzenie starannych, atrakcyjnych motywów na powierzchni pułapki. Jest to najbardziej wydajna metoda zagrabiania, jednak należy pamiętać o tym, aby regularnie zmieniać schemat w celu zmniejszenia występowania efektu tarki.

Wjedź na pułapkę, jadąc na wprost wzdłuż dłuższego wymiaru od najłagodniejszej strony. Przejedź przez środek pułapki, dojeżdżając prawie do końca, skręć w dowolną stronę możliwie najostrzej i jedź z powrotem wzdłuż trasy pierwszego przejazdu. Prowadź maszynę po trasie rozszerzającej się spirali Rysunek 25 i wyjedź z pułapki pod kątem prostym na poziomy teren.
Strome, krótkie stoki i niewielkie zagłębienia grab ręcznie.
Podczas wjeżdżania do pułapki nie opuszczaj grabi, zanim nie znajdą się nad piaskiem. Zapobiegnie to wyrywaniu murawy lub nagarnianiu do pułapki ścinków trawy lub innych zanieczyszczeń. Opuść grabie, gdy maszyna się porusza.
Podczas wyjeżdżania rozpocznij unoszenie grabi, gdy przednie koła opuszczą obszar pułapki. Podczas wyjeżdżania grabie będą się unosić i nie będą wygarniać piasku z pułapki na trawę.
Dzięki zdobywanemu doświadczeniu i ćwiczeniom operator będzie w stanie wyczuć właściwy moment wjeżdżania do pułapki i wyjeżdżania z niej.
| Problem | Possible Cause | Corrective Action |
|---|---|---|
| Pozostaje obszar w kształcie kropli wody, który pozostaje niewygrabiony. |
|
|
| Wygląd grabionej powierzchni jest niedopuszczalny. |
|
|
| Grabie stykają się z oponami. |
|
|
| Zostają niewygrabione nierówności, na których zespoły boczne grabi odchylają się od zespołu środkowego. |
|
|
| Na wygrabionej powierzchni zostają widoczne ślady kół. |
|
|