Přečtěte si pečlivě následující informace. Dozvíte se, jak správně výrobek používat a jak jej udržovat. Dále získáte informace, jak zabránit poškození výrobku a úrazu při práci s ním. Za správný a bezpečný provoz výrobku nese odpovědnost majitel.
Společnost Toro můžete kontaktovat přímo na adrese www.Toro.com. Zde najdete informace o výrobcích a příslušenství, můžete zde vyhledat prodejce nebo zaregistrovat svůj výrobek.
Kdykoli budete potřebovat servis, originální náhradní díly Toro nebo další informace, kontaktujte autorizované servisní středisko nebo centrum zákaznických služeb Toro. Připravte si informace o názvu modelu a sériové číslo. Obrázek 1 znázorňuje umístění čísla modelu a sériového čísla na výrobku. Tyto údaje zapište do následujícího pole.

Tato příručka upozorňuje na potenciální rizika a obsahuje bezpečnostní sdělení s výstražným symbolem (Obrázek 2), který signalizuje nebezpečí vážného zranění nebo smrti v případě nedodržování doporučených bezpečnostních opatření.

Ke zdůraznění informací se v této příručce používají dva výrazy. Důležité upozorňuje na speciální technické informace a Poznámka zdůrazňuje obecné informace, kterým je třeba věnovat zvláštní pozornost.
CALIFORNIA
Důležité upozornění, poučka 65
Používání tohoto výrobku může způsobit vystavení účinkům chemikálií, které jsou státu Kalifornie známy jako karcinogenní, mutagenní nebo reprotoxické.
K zajištění správné funkce brány je důležité, aby byl nastaven správný tlak v pneumatikách stroje. Tlak v pneumatikách musí být 0,48 bar (48 kPa)(Obrázek 3).
Abyste naměřili správné údaje, je nutné tlak kontrolovat jen při studených pneumatikách.
Tlak: 0,48 bar (48 kPa)

Před montáží brány na nový stroj musíte ze stroje demontovat přepravní desku.
Demontujte matice, šrouby a podložky upevňující přepravní desku k zadní části stroje.

Upevňovací prvky a přepravní desku zlikvidujte.
Díly potřebné k provedení tohoto kroku:
| Středový montážní celek | 1 |
| Pravý montážní celek | 1 |
| Levý montážní celek | 1 |
| Šroub (¾ x 3 ½ in) | 2 |
| Pojistná matice (¾ in) | 2 |
| Dlouhá rozpěrná vložka | 2 |
| Kryt lanka | 2 |
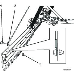
Montážní celky umístěte tak, aby vrchní deska středového montážního celku směřovala dopředu a vrchní desky obou bočních montážních celků směřovaly dozadu (Obrázek 5).

Do otvoru otočného čepu každého bočního montážního celku vložte dlouhou rozpěrnou vložku (Obrázek 6).

Vyrovnejte otvor otočného čepu v pravém montážním celku s otvorem otočného čepu na pravé straně středového montážního celku.
Vyrovnejte kryt lanka na otvoru otočného čepu a upevněte jej pomocí šroubu (¾ x 3 ½ in) a pojistné matice (¾ in); poté šroub utáhněte na utahovací moment 163 až 217 Nm, viz Obrázek 6.
Note: Přesvědčte se, zda se boční montážní celek volně otáčí. V případě potřeby matici a šroub mírně povolte. Přesvědčte se, zda se vratové šrouby navzájem nedotýkají v celém rozsahu pohybu.
Vyrovnejte otvor otočného čepu v levém montážním celku s otvorem otočného čepu na levé straně středového montážního celku.
Vyrovnejte kryt lanka na otvoru otočného čepu a upevněte jej pomocí šroubu (¾ x 3 ½ in) a pojistné matice (¾ in); poté šroub utáhněte na utahovací moment 163 až 217 Nm, viz Obrázek 6.
Note: Přesvědčte se, zda se boční montážní celek volně otáčí. V případě potřeby matici a šroub mírně povolte. Přesvědčte se, zda se vratové šrouby navzájem nedotýkají v celém rozsahu pohybu.
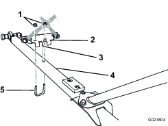
Díly potřebné k provedení tohoto kroku:
| Tažná tyč | 1 |
| Šroub (¾ x 3 ½ in) | 1 |
| Pojistná matice (¾ in) | 1 |
| Dlouhá rozpěrná vložka | 1 |
Dlouhou rozpěrnou vložku vložte do otvoru v zadní části tažné tyče (Obrázek 7).

Vyrovnejte otvor v zadní části tažné tyče s otvorem v montážním celku otočného čepu.
Zasuňte šroub (¾ x 3 ½ in) a zajistěte tažnou tyč k montážnímu celku otočného čepu.
Nasaďte pojistnou matici (¾ in) na šroub a utáhněte jej na utahovací moment 163 až 217 Nm.
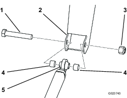
Díly potřebné k provedení tohoto kroku:
| Sestava výložníku | 1 |
| Vratový šroub (⅜ x ¾ in) | 2 |
| Přírubová matice (⅜ in) | 2 |
| Šroub (¼ x ⅝ in) | 1 |
Vyrovnejte otvory v desce na dolní straně sestavy výložníku s otvory v desce poblíž zadní části tažné tyče (Obrázek 8).

Vložte 2 vratové šrouby (⅜ x ¾ in) do otvorů a zajistěte je 2 přírubovými maticemi (⅜ in).
Vložte šroub (¼ x ⅝ in) do otvoru v přední části desek.
Díly potřebné k provedení tohoto kroku:
| Lanko | 2 |
| Lícovaný šroub | 4 |
| Přírubová matice (5/16 in) | 4 |
Vyrovnejte konec každého lanka s otvorem na konci brány (Obrázek 9).
Note: Aby nedocházelo k váznutí lanek, jejich konce musí být správně umístěny, viz Obrázek 9.

Zajistěte každé lanko lícovaným šroubem a přírubovou maticí (5/16 in).
Druhý konec každého lanka protáhněte příslušným vodítkem lanka a oba vyrovnejte s otvorem v horní části sestavy výložníku (Obrázek 10).
Note: Aby nedocházelo k váznutí lanek, jejich konce musí být správně umístěny, viz Obrázek 10.

Zajistěte horní stranu každého lanka lícovaným šroubem a přírubovou maticí (5/16 in).
Note: Po dokončení montáže podle potřeby upravte polohu horního lanka; viz Nastavení systému zvedání při otáčení.
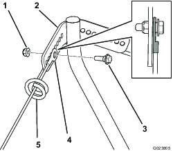
Díly potřebné k provedení tohoto kroku:
| Sestava pojistného řetězu | 1 |
| Třmenový šroub | 1 |
| Přírubová matice (5/16") | 2 |
Vyrovnejte středový jazyk na konzole tažné tyče s otvorem ve středu tažné tyče (Obrázek 11).

Namontujte třmenový šroub a zajistěte jej 2 přírubovými maticemi (5/16 in).

Na hřebovou bránu Flex je nutné nainstalovat 4 závaží, která jsou součástí stroje. Vždy se ujistěte, že na stroji je namontován odpovídající počet závaží.
V následující tabulce je uvedeno, kolik závaží je třeba na přední straně stroje:
| Přídavné zařízení | Potřebný počet závaží |
|---|---|
| Hřebová brána Flex | 4 |
| Hřebová brána Flex s dokončovacím kartáčem | 6 |
| Brána s trny | 6 |
| Brána s trny s dokončovací vlečnou rohoží | 8 |
Demontujte 2 šrouby a 2 matice upevňující stávající závaží na přední straně stroje (Obrázek 13).
Note: Pokud je stroj vybaven soupravou světel, demontujte matici a šroub upevňující přední světlo ke stroji. Všechny součásti si uschovejte; viz montážní pokyny pro soupravu světel.

Podle potřeby přidejte nebo odeberte závaží.
Závaží upevněte pomocí 2 šroubů a 2 matic.
Note: Pokud je stroj vybaven soupravou světel, namontujte přední světlo tak, že protáhnete šroub závažím a zajistíte jej maticí; viz montážní pokyny pro soupravu světel.
Zasuňte tažnou tyč pod zadní část stroje.
Veďte řetězy pod lanky.
Na konec každého zvedacího řetězu namontujte třmen.
Important: Dbejte na to, aby řetězy nebyly zkroucené.
Zarovnejte každý třmen s příslušnou stranou zvedacího zařízení příslušenství na stroji (Obrázek 14).

Každý třmen zajistěte pojistnou maticí s nákružkem (5/16 in) a šroubem (5/16 x 2 ½ in).
Note: Závity každého šroubu se musí dotýkat nylonové vložky pojistné matice s nákružkem a každý třmen se musí volně otáčet.
Vyrovnejte konec tažné tyče se závěsem rámu (Obrázek 15).

Vyrovnejte rozpěrnou vložku na obou stranách konce tyče a protáhněte šroub (¾ x 4 ½ in) závěsem rámu, koncem tyče a rozpěrnou vložkou.
Zajistěte šroub pojistnou maticí (¾ in) a utáhněte ji na utahovací moment 163 až 217 Nm.
Demontujte matici a šroub, které upevňují kryt tlumiče k zadní straně stroje (Obrázek 16).

Vyrovnejte otvory pro šrouby v konzole rámu s otvory pro šrouby v rámu.
Note: Zajistěte, aby řetězy byly orientovány do kříže, viz Obrázek 17.

Konzolu rámu upevněte 4 šrouby (5/16 x 1 in) a 4 přírubovými maticemi (5/16 in); viz Obrázek 16.
Otočte bránu k jedné straně. Dorazový šroub se musí dotýkat tažné tyče, když je brána ve vzdálenosti 51 mm od pneumatiky (Obrázek 18).
Pokud je mezi bránou a pneumatikou vzdálenost 51 mm, žádné seřizování není nutné.

Zkontrolujte, zda vzdálenost mezi pneumatikou a bránou není příliš malá nebo velká.
Pokud není vzdálenost dostatečná, povolte pojistnou matici s nákružkem.
Pokud je vzdálenost nadměrná, povolte pojistnou matici.
Note: Otáčení šroubu zabráníte tak, že nasadíte klíč na čtyřhranný dřík šroubu.

Příslušnou matici utáhněte, jakmile je dorazový šroub v poloze, ve které je mezi bránou a pneumatikou vzdálenost 51 mm.
Pokud jste povolili pojistnou matici s nákružkem, nyní utáhněte pojistnou matici.
Pokud jste povolili pojistnou matici, nyní utáhněte pojistnou matici s nákružkem.
Note: Otáčení šroubu zabráníte tak, že nasadíte klíč na čtyřhranný dřík šroubu.
Stejně postupujte u druhého dorazového šroubu.
Přesvědčte se, že se brána nedotýká pneumatik v celém rozsahu pohybu.
Přesvědčte se, zda je v pneumatikách tlak 0,48 bar (48 kPa).
Najeďte se strojem na písečný bunkr, pokud možno s rovným povrchem.
Spusťte bránu dolů a během jízdy zatočte se strojem doleva tak, aby se brána otočila do krajní polohy.
Zastavte stroj, vypněte motor, zatáhněte parkovací brzdu, vyjměte klíč a počkejte, až se zastaví všechny pohybující se součásti.
Vystupte ze stroje a zkontrolujte levou stranu dráhy uhrabování v písku.
Note: Brána musí upravovat povrch po stopách pneumatik, avšak nesmí přijít do styku s pískem na vnější straně stop pneumatik. Pokud není dráha uhrabování správná, postupujte podle pokynů v části Nastavení systému zvedání při otáčení.
Postup zopakujte na pravé straně brány.
Proveďte kroky 1 až 5 uvedené v části Kontrola vzoru uhrabování.
Otočte bránu nadoraz k jedné straně.
Na vnitřní straně zatáčky (například na levé straně, je-li brána otočena doleva) zkontrolujte, zda brána nesahá do písku nadměrně a neupravuje povrch na vnější straně stop pneumatik nebo zda nesahá do písku jen natolik, že neupravuje stopy pneumatik dostatečně.
Zapamatujte si otvor, do kterého je připevněn horní konec lanka.
Demontujte lícovaný šroub a přírubovou matici a přemístěte konec lanka do příslušného otvoru.
Pokud brána sahá do písku příliš hluboko a upravuje povrch na vnější straně stop pneumatik, přesuňte horní konec lanka do otvoru blíže ke středu výložníku.

Pokud brána sahá do písku jen natolik, že neupravuje povrch přes stopy pneumatik dostatečně, přesuňte horní konec lanka do otvoru dále od středu výložníku.
Zajistěte lanko lícovaným šroubem a přírubovou maticí.
Note: Aby nedocházelo k váznutí lanek, jejich konce musí být správně umístěny, viz Obrázek 20.
Stejně postupujte na druhé straně.
Úhel sklonu brány můžete nastavit podle toho, chcete-li zvýšit nebo snížit množství materiálu, který se má na povrchu promísit. Je-li hrana brány nakloněna dopředu (Obrázek 21) směrem ke stroji, bude se přenášet více materiálu a mísení bude probíhat do větší hloubky. Je-li hrana brány nakloněna dozadu (Obrázek 23) směrem od stroje, bude se přenášet méně materiálu a mísení bude probíhat do menší hloubky.



Demontujte přední matice a šrouby upevňující sestavu brány ke konzole (Obrázek 24).

Povolte zadní matice a šrouby.
Nastavte bránu na požadovaný úhel sklonu tak, aby byly zarovnány příslušné otvory.
Note: Pro střední polohu jsou určeny otvory blíže k zadním šroubům. Pro další 2 polohy jsou určeny otvory dále od zadních šroubů.
Namontujte šrouby do otvorů a zajistěte je maticemi.
Utáhněte matice na předních a zadních šroubech.
Chcete-li bránu zvednout nebo spustit dolů, použijte spínač přídavného zařízení na pravé ovládací páce stroje.
Stisknutím spínače nahoru bránu zvednete, stisknutím spínače dolů ji spustíte dolů; viz provozní příručka ke stroji.
Pokud pojedete se strojem bez připojeného přídavného zařízení, stroj se může převrhnout a způsobit zranění nebo poškození majetku.
Se strojem nejezděte bez připojeného přídavného zařízení schváleného společností Toro.
Odpojte tažnou tyč od závěsu rámu.
Odpojte třmeny od zvedacího zařízení příslušenství.
Ze zadní části stroje demontujte konzolu rámu.
Před hrabáním písečného bunkru si přečtěte celou tuto kapitolu. Existuje celá řada podmínek, jež určí potřebné nastavení. Struktura a hloubka písku, obsah vlhkosti, zaplevelení a míra zhutnění jsou faktory, jež se mohou na různých hřištích, nebo dokonce na různých bunkrech na stejném hřišti lišit. Provádějte taková nastavení brány, která zajistí optimální výsledky na vašem konkrétním prostoru.
Uhrabávání si nacvičte na velkém a rovném bunkru na hřišti. Nacvičte si rozjíždění a zastavování, otáčení, zvedání a spouštění brány, vjíždění do bunkru a jeho opouštění a podobné techniky. Nacvičujte při středních otáčkách motoru a nízké pojezdové rychlosti. Pomocí tohoto školení získá obsluha větší jistotu při ovládání stroje.
Doporučený vzor uhrabávání je uveden na obrázku, viz Obrázek 25. Pomocí tohoto vzoru předejdete nepotřebnému překrývání, zajistíte minimální zhutňování povrchu a vytvoříte čistý a vzhledný vzor na písku. Přestože se jedná o nejefektivnější způsob uhrabávání, je důležité pravidelně měnit vzor uhrabávání, aby se eliminovala možnost vytváření hrbolů.

Do bunkru vjíždějte v přímém podélném směru v místě, kde je jeho okraj nejméně strmý. Projeďte středem bunkru téměř až na jeho konec, co možná neostřeji zatočte jedním směrem tak, abyste se vraceli zpět těsně podél prvního průjezdu. Vytvořte spirálu, viz Obrázek 25, a opusťte bunkr v ostrém úhlu na rovném místě.
Vynechejte prudké, krátké okraje a malé kapsy, jež následně upravte pomocí ruční brány.
Při vjíždění do bunkru nespouštějte bránu, dokud nebude umístěna nad pískem. Tím předejdete poškození trávníku nebo vtažení posekané trávy nebo jiných nečistot do bunkru. Bránu spouštějte za jízdy se strojem.
Při opouštění bunkru zahajte zvedání brány v okamžiku, kdy přední kola opustí bunkr. Při vyjíždění stroje se bude brána zvedat a tím nedojde k vtažení písku do trávníku.
Po získání zkušeností a praxe obsluha brzy zjistí, jak úkon při vjíždění do bunkru a jeho opouštění správně načasovat.
| Problem | Possible Cause | Corrective Action |
|---|---|---|
| Plocha ve tvaru slzy zůstává neupravená. |
|
|
| Vzhled upravovaného povrchu není přijatelný. |
|
|
| Brána se dotýká pneumatik. |
|
|
| V místech, kde se boční montážní celky brány otáčejí od středního montážního celku, zůstávají neupravené hromádky. |
|
|
| V upravené oblasti jsou viditelné stopy pneumatik. |
|
|