Baca maklumat ini dengan teliti untuk mengetahui cara untuk mengendalikan dan menyelenggarakan produk anda dengan betul dan untuk mengelakkan kecederaan dan kerosakan produk. Anda bertanggungjawab untuk mengendalikan produk dengan betul dan selamat.
Anda boleh menghubungi Toro terus di www.Toro.com untuk maklumat produk dan aksesori, membantu mencari peniaga atau untuk mendaftarkan produk anda.
Apabila anda memerlukan servis, alat ganti Toro yang asli atau maklumat tambahan, hubungi Peniaga Perkhidmatan atau Perkhidmatan Pelanggan Toro Yang Dibenarkan dan sediakan butiran model dan nombor siri produk anda. Rajah 1 menunjukkan lokasi model dan nombor siri pada produk. Tuliskan nombor pada ruang yang disediakan.

Manual ini mengenal pasti bahaya yang mungkin berlaku dan mengandungi mesej keselamatan yang ditunjukkan melalui simbol isyarat keselamatan (Rajah 2), yang memberikan amaran tentang bahaya yang mungkin menyebabkan kecederaan serius atau kematian akan berlaku jika anda tidak mengikuti langkah berjaga-jaga yang disyorkan.

Manual ini menggunakan 2 perkataan untuk menyerlahkan maklumat. Penting memerlukan perhatian anda kepada maklumat mekanikal khas dan Perhatian menegaskan maklumat umum yang memerlukan perhatian khas.
CALIFORNIA
Amaran Peringatan 65
Penggunaan produk ini boleh menyebabkan pendedahan kepada bahan-bahan kimia yang diketahui boleh menyebabkan kanser, kecacatan kelahiran, atau bahaya pembiakan yang lain di Negeri California.
Untuk memastikan pencakar berfungsi dengan betul, mesin seharusnya mempunyai tekanan tayar yang betul. Pastikan tekanan tayar ialah 0.48 bar (7 psi)(Rajah 3).
Untuk mendapatkan pembacaan yang paling tepat, periksa tekanan tayar semasa tayar sejuk.
Tekanan: 0.48 bar (7 psi)

Sebelum anda boleh memasangkan pencakar pada mesin baharu, anda mestilah mengeluarkan papan pengiriman dari mesin.
Keluarkan nat, bolt dan sesendal yang mengunci papan pengiriman pada bahagian belakang mesin.

Buang kancing dan papan pengiriman.
Alat ganti yang diperlukan untuk prosedur ini:
| Pemasangan tengah | 1 |
| Pemasangan sisi kanan | 1 |
| Pemasangan sisi kiri | 1 |
| Bolt (¾ x 3½ inci) | 2 |
| Nat kunci (¾ inci) | 2 |
| Peregang panjang | 2 |
| Pelindung kabel | 2 |
Letakkan pemasangan agar plat bahagian atas pemasangan tengah menghadap ke hadapan dan plat bahagian atas setiap pemasangan sisi menghadap ke belakang (Rajah 5).

Masukkan peregang panjang ke dalam lubang pangsi setiap pemasangan sisi (Rajah 6).

Jajarkan lubang pangsi di dalam pemasangan sisi kanan dengan lubang pangsi pada sisi bahagian kanan pemasangan tengah.
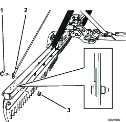
Jajarkan pelindung kabel di atas lubang pangsi dan kuncikan dengan bolt (¾ x 3½ inci) dan nat kunci (¾ inci), tork kepada 163~217 N∙m (120~160 kaki-lb); rujuk Rajah 6.
Note: Pastikan pemasangan sisi memangsi secara bebas. Longgarkan sedikit nat dan bolt jika diperlukan. Pastikan bolt pembawa tidak menyentuh satu sama lain sepanjang julat pergerakan.
Jajarkan lubang pangsi di dalam pemasangan sisi kiri dengan lubang pangsi pada sisi bahagian kiri pemasangan tengah.
Jajarkan pelindung kabel di atas lubang pangsi dan kuncikan dengan bolt (¾ x 3½ inci) dan nat kunci (¾ inci), tork kepada 163~217 N∙m (120~160 kaki-lb); rujuk Rajah 6.
Note: Pastikan pemasangan sisi memangsi secara bebas. Longgarkan sedikit nat dan bolt jika diperlukan. Pastikan bolt pembawa tidak menyentuh satu sama lain sepanjang julat pergerakan.
Alat ganti yang diperlukan untuk prosedur ini:
| Bar tarik | 1 |
| Bolt (¾ x 3½ inci) | 1 |
| Nat kunci (¾ inci) | 1 |
| Peregang panjang | 1 |
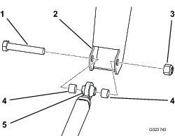
Masukkan peregang panjang ke dalam lubang di belakang bar tarik (Rajah 7).

Jajarkan lubang di belakang bar tarik dengan lubang di dalam pemasangan pangsi.
Masukkan bolt (¾ x 3½ inci) untuk menguncikan bar tarik pada pemasangan pangsi.
Pasangkan nat kunci (¾ inci) pada bolt dan tork kepada 163~217 N·m (120~160 kaki-lb).
Alat ganti yang diperlukan untuk prosedur ini:
| Pemasangan galang | 1 |
| Bolt pembawa (⅜ x ¾ inci) | 2 |
| Nat bebibir (⅜ inci) | 2 |
| Bolt (¼ x ⅝ inci) | 1 |
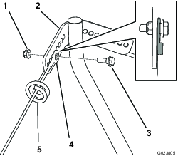
Jajarkan lubang di dalam plat di hujung bawah pemasangan galang dengan lubang di dalam plat berhampiran bahagian belakang bar tarik (Rajah 8).

Pasangkan 2 bolt pembawa (⅜ x ¾ inci) ke dalam lubang dan kuncikan bolt dengan 2 nat bebibir (⅜ inci).
Pasangkan bolt (¼ x ⅝ inci) ke dalam lubang di bahagian hadapan plat.
Alat ganti yang diperlukan untuk prosedur ini:
| Kabel | 2 |
| Bolt bahu | 4 |
| Nat bebibir (5/16 inci) | 4 |
Jajarkan hujung setiap kabel dengan lubang di hujung pencakar (Rajah 9).
Note: Untuk mengurangkan kemungkinan pengikatan, pastikan hujung setiap kabel diletakkan seperti yang ditunjukkan dalam Rajah 9.

Kuncikan setiap kabel dengan bolt bahu dan nat bebibir (5/16 inci).
Lilitkan hujung yang satu lagi pada setiap kabel melalui sokongan kabel yang bersesuaian dan jajarkan setiapnya dengan lubang di bahagian atas pemasangan galang (Rajah 10).
Note: Untuk mengurangkan kemungkinan pengikatan, pastikan hujung setiap kabel diletakkan seperti yang ditunjukkan Rajah 10.

Kuncikan bahagian atas setiap kabel dengan bolt bahu dan nat bebibir (5/16 inci).
Note: Jajarkan kedudukan kabel atas sebagaimana diperlukan selepas melengkapkan pemasangan; rujuk Melaraskan Sistem Angkat Bergilir.
Alat ganti yang diperlukan untuk prosedur ini:
| Pemasangan rantai henti | 1 |
| Bolt U | 1 |
| Nat bebibir (5/16 inci) | 2 |
Jajarkan tab tengah pada pendakap bar tarik dengan lubang di bahagian tengah bar tarik (Rajah 11).

Pasangkan bolt U-bolt dan kuncikan dengan 2 nat bebibir (5/16 inci).

Pencakar gigi lentur memerlukan 4 pemberat yang disertakan dengan mesin. Sentiasa pastikan mesin anda mempunyai bilangan pemberat yang bersesuaian.
Rujuk jadual yang berikut untuk mengetahui bilangan pemberat yang diperlukan pada bahagian hadapan mesin:
| Alat tambahan | Bilangan pemberat yang diperlukan |
|---|---|
| Pencakar gigi lentur | 4 |
| Pencakar gigi lentur dengan berus kemasan | 6 |
| Penyagat paku | 6 |
| Penyagat paku dengan alas penyagat kemasan | 8 |
Keluarkan 2 bolt dan 2 nat yang mengunci pemberat sedia ada pada bahagian hadapan mesin (Rajah 13).
Note: Jika mesin dilengkapi kit lampu, keluarkan nat dan bolt yang mengunci lampu hadapan pada mesin. Kekalkan semua bahagian lain; rujuk Arahan Pemasangan Kit Lampu.

Tambahkan atau keluarkan pemberat sebagaimana perlu.
Kuncikan pemberat dengan 2 bolt dan 2 nat.
Note: Jika mesin dilengkapi kit lampu, pasangkan lampu hadapan dengan memasukkan bolt melalui pemberat dan mengunci dengan nat; rujuk Arahan Pemasangan Kit Lampu.
Luncurkan bar tarik ke bawah bahagian belakang mesin.
Lilitkan rantai di bawah kabel.
Pasangkan belenggu pada hujung setiap rantai angkat.
Important: Pastikan rantai tidak terpiuh.
Jajarkan setiap belenggu pada sisi pengangkat alat tambahan yang bersesuaian pada mesin (Rajah 14).

Kuncikan setiap belenggu dengan nat kunci bebibir (5/16 inci) dan bolt (5/16 x 2½ inci).
Note: Pastikan ulir setiap bolt menyentuh sisipan nilon nat kunci bebibir dan setiap belenggu memangsi secara bebas.
Jajarkan hujung rod bar tarik dengan penyangkut rangka (Rajah 15).

Jajarkan peregang pada setiap sisi hujung rod dan masukkan bolt (¾ x 4½ inci) melalui penyangkut rangka, hujung rod dan peregang.
Kuncikan bolt dengan nat kunci (¾ inci) yang tork kepada 163~217 N·m (120~160 kaki-lb).
Keluarkan nat dan bolt yang mengunci pengadang peredam bunyi pada bahagian belakang mesin (Rajah 16).

Jajarkan lubang bolt di dalam pendakap rangka dengan lubang bolt di dalam rangka.
Note: Pastikan rantai disilangkan seperti yang ditunjukkan dalam Rajah 17.

Kuncikan pendakap rangka dengan 4 bolt (5/16 x 1 inci) dan 4 nat bebibir (5/16 inci); rujuk Rajah 16).
Pangsi pencakar kepada 1 sisi. Bolt henti seharusnya menyentuh bar tarik apabila pencakar berada 51 mm (2 inci) dari tayar (Rajah 18).
Jika terdapat 51 mm (2 inci) ruang lega di antara pencakar dengan tayar, pelarasan tidak diperlukan.

Tentukan sama ada tiada ruang lega yang mencukupi atau terlalu banyak ruang lega di antara tayar dengan pencakar.
Jika tiada ruang lega yang mencukupi, longgarkan nat kunci bebibir.
Jika terdapat terlalu banyak ruang lega, longgarkan nat penjepit.
Note: Gunakan perengkuh pada leher segi empat bolt untuk mengelakkan bolt berputar.

Apabila bolt henti diletakkan agar terdapat 51 mm (2 inci) ruang lega di antara pencakar dengan tayar, ketatkan nat yang berkenaan.
Jika anda telah melonggarkan nat kunci bebibir, maka ketatkan nat penjepit sekarang.
Jika anda telah melonggarkan nat penjepit, maka ketatkan nat kunci bebibir sekarang.
Note: Gunakan perengkuh pada leher segi empat bolt untuk mengelakkan bolt berputar.
Ulangi prosedur untuk bolt henti yang satu lagi.
Pastikan pencakar tidak menyentuh tayar sepanjang julat pergerakan.
Pastikan tayar diisi angin sehingga 0.48 bar (7 psi).
Pandu mesin ke jebak pasir – dengan dasar yang rata, jika boleh.
Dengan pencakar berada pada kedudukan diturunkan, belok mesin ke kiri semasa memandu agar pencakar dipangsi sepenuhnya.
Hentikan mesin, hentikan enjin, gunakan brek henti, keluarkan kunci dan tunggu sehingga semua bahagian yang bergerak untuk berhenti.
Turun dari mesin dan periksa sisi bahagian kiri laluan perataan di atas pasir.
Note: Pencakar seharusnya merapikan jejak tayar tetapi tidak seharusnya menyentuh bahagian pasir melepasi jejak tayar. Jika laluan perataan tidak betul, rujuk Melaraskan Sistem Angkat Bergilir.
Ulangi prosedur untuk sisi bahagian kanan pencakar.
Lengkapkan langkah 1 hingga 5 dalam Memeriksa Corak Perataan.
Pangsi pencakar dengan sepenuhnya kepada 1 sisi.
Pada bahagian dalam belokan (contohnya, sisi bahagian kiri jika pencakar dipangsi ke arah kiri), tentukan sama ada pencakar menyentuh terlalu banyak pasir dan merapi melepasi jejak tayar, atau tidak menyentuh pasir yang secukupnya untuk merapi melalui jejak tayar.
Ambil perhatian lubang yang mana bahagian atas kabel dilekapkan.
Keluarkan bolt bahu dan nat bebibir, dan alihkan hujung kabel ke lubang yang bersesuaian.
Jika pencakar menyentuh terlalu banyak pasir dan merapi melepasi jejak tayar, alihkan bahagian atas kabel ke lubang yang berhampiran dengan bahagian tengah galang.

Jika pencakar tidak menyentuh pasir yang secukupnya untuk merapi melalui jejak tayar, alihkan bahagian atas kabel ke lubang yang jauh dari bahagian tengah galang.
Kuncikan kabel dengan bolt bahu dan nat bebibir.
Note: Untuk mengurangkan kemungkinan pengikatan, pastikan hujung setiap kabel diletakkan seperti yang ditunjukkan dalam Rajah 20.
Ulangi prosedur untuk sisi yang satu lagi.
Anda boleh melaraskan pic pencakar untuk meningkatkan atau mengurangkan jumlah pengadukan bahan. Jika mata pencakar bersudut ke hadapan (Rajah 21), ke arah mesin, maka pencakar akan mengambil lebih banyak bahan dan mengaduk bahan pada paras yang lebih dalam. Jika mata pencakar bersudut ke belakang (Rajah 23), menjauhi mesin, maka pencakar akan mengambil kurang bahan dan mengaduk bahan pada paras yang lebih cetek.



Keluarkan nat dan bolt hadapan yang mengunci pemasangan pencakar pada pendakap (Rajah 24).

Longgarkan nat dan bolt belakang.
Laraskan pencakar kepada pic yang diutamakan sehingga lubang yang berkenaan terjajar.
Note: Kedudukan tengah menggunakan lubang yang berhampiran dengan bolt belakang. 2 kedudukan yang lain menggunakan lubang yang jauh dari bolt belakang.
Pasangkan bolt ke dalam lubang dan kuncikan dengan nat.
Ketatkan nat pada bolt hadapan dan belakang.
Untuk mengangkat dan menurunkan pencakar, gunakan suis alat tambahan pada hendal kawalan kanan pada mesin.
Tekan ke atas pada suis untuk mengangkat pencakar dan tekan ke bawah pada suis untuk menurunkan pencakar; rujuk Manual Pengendali mesin.
Jika anda memandu mesin tanpa pemasangan alat tambahan, mesin boleh terbalik dan mencederakan seseorang atau merosakkan harta.
Jangan pandu mesin yang tidak dipasangkan alat tambahan yang diluluskan oleh Toro.
Tanggalkan bar tarik dari penyangkut rangka.
Tanggalkan belenggu dari pengangkat alat tambahan.
Keluarkan pendakap rangka dari bahagian belakang mesin.
Baca seluruh bahagian tentang perataan ini sebelum meratakan jebak pasir. Terdapat banyak keadaan yang akan menentukan pelarasan yang diperlukan. Tekstur dan kedalaman pasir, kandungan lembapan, rumput dan jumlah pemadatan adalah semua faktor yang boleh berbeza-beza bagi setiap padang, malahan bagi setiap jebak di padang yang sama. Buat pelarasan pada pencakar untuk mendapatkan hasil yang optimum di kawasan yang tertentu.
Latih cara merata di jebak yang besar dan rata di padang. Latih cara bermula dan berhenti, membelok, mengangkat dan menurunkan pencakar, memasuki dan meninggalkan jebak dan sebagainya. Latih pada kelajuan enjin yang sederhana dan kelajuan di bumi yang perlahan. Latihan ini akan membantu pengendali membina keyakinan terhadap prestasi mesin.
Corak meratakan jebak yang disyorkan ditunjukkan dalam Rajah 25. Corak ini mengelakkan pertindihan yang tidak diperlukan, mengekalkan pemadatan pada tahap minimum dan meninggalkan corak yang kemas dan menarik di pasir. Kaedah ini ialah kaedah perataan yang paling efisien. Walau bagaimanapun, corak perataan seharusnya diubah-ubah secara kerap untuk mengurangkan kemungkinan pembentukan kesan papan basuh.

Masuki jebak terus ke dalam dimensi panjang, yang mana tambak tidak begitu curam. Pandu melalui bahagian tengah jebak hingga hampir ke penghujung, belok ke mana-mana arah dengan setajam boleh dan kembali di sebelah laluan yang pertama. Buat lingkaran ke arah luar seperti yang ditunjukkan dalam Rajah 25, dan tinggalkan jebak pada sudut tegak di kawasan yang rata.
Tinggalkan tambak yang curam dan pendek serta rongga kecil untuk dikemaskan dengan pencakar tangan.
Semasa memasuki jebak, jangan turunkan pencakar sehingga pencakar berada di atas pasir. Tindakan ini adalah untuk mengelakkan tanah rumput dipotong atau potongan rumput atau serpihan lain diheret masuk ke dalam jebak. Turunkan pencakar semasa mesin sedang bergerak.
Semasa meninggalkan jebak, mula angkat jebak semasa roda hadapan meninggalkan jebak. Semasa mesin bergerak keluar, pencakar akan diangkat dan tidak akan mengheret pasir keluar ke atas rumput.
Melalui pengalaman dan latihan, pengendali akan memahami masa yang diperlukan untuk memasuki dan meninggalkan jebak dengan betul.
| Problem | Possible Cause | Corrective Action |
|---|---|---|
| Terdapat kawasan berbentuk air mata yang tidak dirapikan. |
|
|
| Penampilan permukaan yang dirapikan tidak boleh diterima. |
|
|
| Pencakar menyentuh tayar. |
|
|
| Terdapat timbunan yang tidak dirapikan di tempat pemasangan sisi pencakar memangsi daripada pemasangan tengah. |
|
|
| Terdapat kesan tayar yang kelihatan di kawasan yang dirapikan. |
|
|