Внимательно изучите данное руководство, чтобы знать, как правильно использовать и обслуживать машину, не допуская ее повреждения и травмирования персонала. Вы несете ответственность за правильное и безопасное использование машины.
Вы можете напрямую обратиться в компанию Toro через сайт www.Toro.com для получения информации об изделии и приспособлениях, помощи в поиске дилера или для регистрации изделия.
Для выполнения технического обслуживания, приобретения оригинальных запчастей Toro или получения дополнительной информации обращайтесь в сервисный центр официального дилера или в отдел технического обслуживания компании Toro. Не забудьте при этом указать модель и серийный номер изделия. Рисунок 1 указывает место на машине, где представлена ее модель и серийный номер. Запишите номера в предусмотренном для этого месте.

В настоящем руководстве приведены потенциальные опасности и рекомендации по их предотвращению, обозначенные символом (Рисунок 2), который предупреждает об опасности серьезного травмирования или гибели в случае несоблюдения пользователем рекомендуемых мер безопасности.

Для выделения информации в данном руководстве используются два слова. Внимание — привлекает внимание к специальной информации, относящейся к механической части машины, и Примечание — выделяет общую информацию, требующую специального внимания.
КАЛИФОРНИЯ
Положение 65, Предупреждение
Лица, использующие данное вещество, должны иметь в виду, что, согласно информации, имеющейся в распоряжении компетентных органов штата Калифорния, оно содержит химическое соединение (соединения), отнесенные к категории канцерогенных, способных вызвать врождённые пороки и оказывающих вредное воздействие на репродуктивную систему человека.
Чтобы грабли работали правильно, очень важно поддерживать правильное давление в шинах машины. Убедитесь в том, что давление воздуха в шинах равно 48 кПа(Рисунок 3).
Для получения наиболее точных показаний проверяйте шины, когда они находятся в холодном состоянии.
Давление: 48 кПа

До установки грабель на новую машину необходимо снять с нее транспортировочный кожух.
Отверните гайки, снимите болты и шайбы, которые крепят транспортировочный кожух к задней части машины.

Удалите эти крепежные детали и транспортировочный кожух в отходы.
Детали, требуемые для этой процедуры:
| Центральный узел | 1 |
| Правый узел | 1 |
| Левый узел | 1 |
| Болт (3/4 x 3-1/2 дюйма) | 2 |
| Контргайка (¾ дюйма) | 2 |
| Длинная проставка | 2 |
| Ограждение троса | 2 |
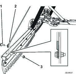
Расположите узлы таким образом, чтобы верхняя пластина центрального узла была направлена вперед и верхняя пластина каждого бокового узла была направлена назад (Рисунок 5).

Вставьте длинную проставку в отверстие оси поворота каждого бокового узла (Рисунок 6).

Совместите отверстие оси поворота в правом узле с отверстием оси поворота в правой части центрального узла.
Выровняйте ограждение троса над отверстием оси поворота и закрепите его с помощью болта (3/4 x 3-1/2 дюйма) и контргайки (3/4 дюйма), затянув их с моментом от 163 до 217 Н•м; см. Рисунок 6.
Note: Убедитесь в том, что боковой узел свободно поворачивается в оси поворота. При необходимости слегка ослабьте гайку и болт. Убедитесь в том, что каретные болты не касаются друг друга во всем диапазоне перемещения.
Совместите отверстие оси поворота в левом узле с отверстием оси поворота в левой части центрального узла.
Выровняйте ограждение троса над отверстием оси поворота и закрепите его с помощью болта (3/4 x 3-1/2 дюйма) и контргайки (3/4 дюйма), затянув их с моментом от 163 до 217 Н•м; см. Рисунок 6.
Note: Убедитесь в том, что боковой узел свободно поворачивается в оси поворота. При необходимости слегка ослабьте гайку и болт. Убедитесь в том, что каретные болты не касаются друг друга во всем диапазоне перемещения.
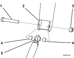
Детали, требуемые для этой процедуры:
| Буксировочная штанга | 1 |
| Болт (3/4 x 3-1/2 дюйма) | 1 |
| Контргайка (3/4 дюйма) | 1 |
| Длинная проставка | 1 |
Вставьте длинную проставку в отверстие в задней части буксировочной штанги (Рисунок 7).

Совместите отверстие в задней части буксировочной штанги с отверстием шарнира в сборе.
Вставьте болт (3/4 x 3-1/2 дюйма), чтобы прикрепить буксировочную штангу к шарниру в сборе.
Установите контргайку (3/4 дюйма) на болт и затяните ее с моментом от 163 до 217 Н•м.
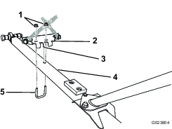
Детали, требуемые для этой процедуры:
| Стрела в сборе | 1 |
| Каретный болт (на 3/8 x 3/4 дюйма) | 2 |
| Фланцевая гайка (⅜ дюйма) | 2 |
| Болт (на 1/4 x 5/8 дюйма) | 1 |
Совместите отверстия в пластине в нижней части стрелы в сборе с отверстиями в пластине около задней части буксировочной штанги (Рисунок 8).

Вставьте два каретных болта (3/8 x 3/4 дюйма) в отверстия и закрепите болты двумя фланцевыми гайками (3/8 дюйма).
Вставьте болт (1/4 x 5/8 дюйма) в отверстие в передней части пластин.
Детали, требуемые для этой процедуры:
| Трос | 2 |
| Ступенчатый болт | 4 |
| Фланцевая гайка (5/16 дюйма) | 4 |
Совместите конец каждого троса с отверстием в конце грабель (Рисунок 9).
Note: Чтобы снизить вероятность изгиба, убедитесь в том, что концы тросов расположены, как показано на Рисунок 9.

Прикрепите каждый трос с помощью болта с буртиком и фланцевой гайки (5/16 дюйма).
Проложите другой конец каждого троса сквозь соответствующий держатель троса и совместите каждый трос с отверстием в верхней части стрелы в сборе (Рисунок 10).
Note: Чтобы снизить вероятность изгиба, убедитесь в том, что концы тросов расположены, как показано на Рисунок 10.

Прикрепите верхнюю часть каждого троса с помощью болта с буртиком и фланцевой гайки (5/16 дюйма).
Note: Отрегулируйте верхнее положение троса по мере необходимости после завершения установки; см. Регулировка системы подъема при повороте.
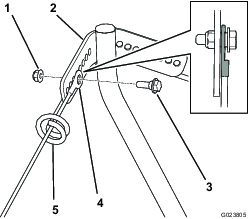
Детали, требуемые для этой процедуры:
| Узел стопорной цепи | 1 |
| П-образный болт | 1 |
| Фланцевая гайка (5/16 дюйма) | 2 |
Совместите центральный выступ на буксировочной штанге с отверстием в центре буксировочной штанги (Рисунок 11).

Установите П-образный болт и закрепите его с помощью 2 фланцевых гаек (5/16 дюйма).

Для грабель с гибкими зубьями необходимо 4 груза, которые входят в комплект поставки машины. Всегда необходимо убедиться, что на машине установлено правильное количество грузов.
В следующей таблице приведены сведения о том, сколько грузов необходимо установить в передней части машины:
| Навесное оборудование | Требуемое количество грузов |
|---|---|
| Грабли с гибкими зубьями | 4 |
| Грабли с гибкими зубьями и выравнивающей щеткой | 6 |
| Зубчатая борона | 6 |
| Зубчатая борона с выравнивающей сеткой | 8 |
Удалите 2 болта с 2 гайками, которые крепят имеющиеся грузы в передней части машины (Рисунок 13).
Note: Если машина оборудована комплектом осветительных приборов, удалите гайку и болт, которые крепят передний осветительный прибор к машине. Сохраните все детали; см. Инструкции по установке комплекта осветительных приборов.

При необходимости добавьте или удалите грузы.
Прикрепите грузы с помощью 2 болтов и 2 гаек.
Note: Если машина оборудована комплектом осветительных приборов, установите передний осветительный прибор, вставив болт сквозь грузы и закрепив его гайкой; см. Инструкции по установке комплекта осветительных приборов.
Проведите буксировочную штангу под задней частью машины.
Проложите цепи под тросами.
Установите скобу в конце каждой подъемной цепи.
Important: Убедитесь в том, что цепи не перекручены.
Совместите каждую скобу с соответствующей стороной подъемного устройства навесного орудия на машине (Рисунок 14).

Прикрепите каждую скобу с помощью фланцевой контргайки (5/16 дюйма) и болта (5/16 x 2-1/2 дюйма).
Note: Убедитесь в том, что резьбовые поверхности каждого болта касаются нейлоновой вставки фланцевой контргайки и что каждая серьга поворачивается свободно.
Выровняйте конец штока буксировочной штанги относительно сцепного устройства рамы (Рисунок 15).

Выровняйте проставку с каждой стороны конца штока и вставьте болт (3/4 x 4-1/2 дюйма) сквозь сцепное устройство рамы, конец штока и проставки.
Закрепите болт контргайкой (3/4 дюйма), затянув ее с моментом от 163 до 217 Н•м.
Отверните гайку и болт, которые крепят кожух глушителя к задней части машины (Рисунок 16).

Совместите отверстия под болты в кронштейне рамы с отверстиями под болты в раме.
Note: Проверьте, чтобы цепи были перекрещены, как показано на Рисунок 17.

Прикрепите кронштейн рамы с помощью 4 болтов (5/16 x 1 дюйм) и 4 фланцевых гаек (5/16 дюйма); см. Рисунок 16.
Поверните грабли в одну сторону. Упорный болт должен касаться буксировочной штанги, когда грабли находятся на расстоянии 51 мм от колеса (Рисунок 18).
Если зазор между граблями и колесом равен 51 мм, никаких регулировок не требуется.

Проверьте, не является ли зазор между граблями и колесом слишком малым или слишком большим.
Если зазор недостаточный, ослабьте фланцевую контргайку.
Если зазор слишком большой, ослабьте зажимную гайку.
Note: Установите ключ на квадратный конец болта, чтобы предотвратить его проворачивание.

Когда упорный болт будет в таком положении, что между граблями и шиной зазор равен 51 мм, затяните соответствующую гайку.
Если вы ослабили фланцевую контргайку, на данном этапе затяните зажимную гайку.
Если вы ослабили зажимную гайку, на данном этапе затяните фланцевую контргайку.
Note: Установите ключ на квадратный конец болта, чтобы предотвратить его проворачивание.
Повторите эту процедуру для другого упорного болта.
Убедитесь в том, что грабли не касаются шин во всем диапазоне перемещения.
Убедитесь в том, что давление воздуха в шинах равно 48 кПа.
Подведите машину к песчаной ловушке – по возможности с плоским дном.
При опущенных граблях поверните машину влево, одновременно двигаясь на машине, так, чтобы грабли полностью повернулись.
Остановите машину, заглушите двигатель, включите стояночный тормоз, выньте ключ из замка зажигания и дождитесь остановки всех движущихся частей.
Сойдите с машины и осмотрите левую часть пути, который прошли грабли по песку.
Note: Грабли должны разравнивать песок поверх следов проезда шин, но не должны касаться песка за пределами траектории проезда шин. Если траектория движения грабель неправильная, см. Регулировка системы подъема при повороте.
Повторите эту процедуру для правой стороны грабель.
Выполните действия, описанные в пунктах 1 – 5 в Проверка конфигурации разравнивания граблями.
Поверните грабли до упора в одну сторону.
На стороне поворота (например, на левой стороне, если грабли повернуты влево) определите, не является ли контакт грабель с песком слишком сильным, при котором грабли слишком глубоко разравнивают песок после движения шин, или слишком слабым, чтобы разровнять песок после проезда шин.
Заметьте отверстие, к которому крепится верхняя часть троса.
Отверните болт с буртиком и фланцевую гайку и переставьте конец троса в соответствующее отверстие.
Если грабли прижимаются к песку слишком сильно и разравнивают песок слишком глубоко после проезда шин, переставьте трос в отверстие ближе к центру стрелы.

Если грабли прижимаются к песку недостаточно сильно, чтобы разровнять песок после проезда шин, переставьте трос в отверстие дальше от центра стрелы.
Закрепите трос с помощью болта с буртиком и фланцевой гайки.
Note: Чтобы снизить вероятность изгиба, убедитесь в том, что конец троса расположен, как показано на Рисунок 20.
Повторите эти действия для другой стороны.
Угол наклона грабель можно отрегулировать, чтобы изменить степень перемешивания грунта. Если грабли наклонены вперед (Рисунок 21), в сторону машины, они переносят большее количество грунта, перемешивая его на более глубоком уровне. Если грабли наклонены назад (Рисунок 23), в сторону от машины, они переносят меньшее количество грунта, перемешивая его на менее глубоком уровне.



Отверните передние гайки и болты, которые крепят грабли в сборе к кронштейну (Рисунок 24).

Ослабьте затяжку задних гаек и болтов.
Отрегулируйте грабли на предпочтительный угол, чтобы соответствующие отверстия были совмещены.
Note: Для среднего положения используются отверстия, ближайшие к задним болтам. Для остальных 2 положений используйте отверстия, расположенные дальше от задних болтов.
Вставьте болты в отверстия и закрепите их гайками.
Затяните гайки на передних и задних болтах.
Чтобы поднять и опустить грабли, используйте переключатель навесного орудия на правой рукоятке управления машины.
Нажмите переключатель вверх, чтобы поднять грабли, и вниз, чтобы опустить их; см. Руководство оператора для данной машины.
Если вы поведете машину без установленного навесного орудия, она может опрокинуться и причинить травму или повредить имущество.
Запрещается вести машину без установленного навесного орудия, утвержденного компанией Toro.
Отсоедините буксировочную штангу от сцепного устройства рамы.
Отсоедините скобы от устройства подъема навесного орудия.
Снимите кронштейн рамы с задней части машины.
Изучите весь раздел, посвященный разравниванию граблями, прежде чем фактически разравнивать песчаную ловушку. Существует ряд условий, определяющих необходимые регулировки. Текстура и глубина песка, влагосодержание, сорняки, степень уплотнения – все эти условия могут меняться от поля к полю или даже от ловушки к ловушке на одном и том же поле. Отрегулируйте грабли для достижения оптимальных результатов на вашем конкретном поле.
Попрактикуйтесь в разравнивании граблями на одной из больших и горизонтальных песчаных ловушек на поле. Осваивайте пуск и остановку, повороты, подъем и опускание грабель, вход и выход из ловушки и т.п. Практикуйтесь на средней частоте вращения двигателя и на медленной скорости движения. Этот период обучения полезен для того, чтобы оператор стал доверять рабочим характеристикам машины.
Рекомендуемая конфигурация разравнивания ловушки граблями показана на Рисунок 25. При этом исключается ненужное перекрытие, сводится к минимуму уплотнение, а песок приобретает аккуратный, привлекательный вид. Это самый эффективный способ разравнивания граблями, однако важно помнить о необходимости регулярного изменения схемы разравнивания, чтобы снизить вероятность возникновения эффекта волнистой поверхности.

Входите в песчаную ловушку под прямым углом по длинному размеру там, где откос наименее крутой. Проведите машину через центр песчаной ловушки почти до конца, поверните в любом направлении как можно круче и двигайтесь назад рядом с первым проходом. Двигайтесь по спирали наружу, как показано на Рисунок 25, и покиньте ловушку под прямым углом в пологом месте.
Оставьте крутые короткие откосы и небольшие карманы для обработки ручными граблями.
При входе в ловушку не опускайте грабли, пока они не будут находиться над песком. Это исключит срезание травяного покрова или попадание в ловушку сухой травы или другого мусора. Опускайте грабли во время движения машины.
Выезжая из ловушки, начинайте поднимать грабли, когда из ловушки выедут передние колеса. Когда машина выезжает из ловушки, грабли должны быть подняты и не должны заносить песок на траву.
Путем проб и ошибок оператор быстро усвоит требуемые моменты правильного входа и выхода из ловушки.
| Problem | Possible Cause | Corrective Action |
|---|---|---|
| Имеется зона в форме капли, которая остается невыровненной граблями. |
|
|
| Внешний вид обработанной граблями поверхности не соответствует установленным требованиям. |
|
|
| Грабли касаются шин. |
|
|
| Имеются кучки невыровненной граблями земли в местах, где боковые узлы грабель поворачиваются в сторону от центрального узла. |
|
|
| В обработанной граблями зоне имеются заметные следы от шин. |
|
|