Læs denne vejledning omhyggeligt, så du kan lære at betjene og vedligeholde produktet korrekt samt undgå person- og produktskade. Det er dit ansvar at betjene produktet korrekt og sikkert.
Du kan kontakte Toro direkte på www.Toro.com for at få oplysninger om produkter og tilbehør, hjælp til at finde en forhandler og for at registrere dit produkt.
Når du har brug for service, originale Toro-dele eller yderligere oplysninger, bedes du kontakte en autoriseret serviceforhandler eller Toros kundeservice samt have produktets model- og serienummer parat. Figur 1 angiver, hvor model- og serienummeret er placeret på produktet. Skriv numrene, hvor der er gjort plads til dette.

Denne manual advarer dig om mulige farer og giver dig særlige sikkerhedsoplysninger ved hjælp af advarselssymbolet (Figur 2), der angiver en fare, som kan forårsage alvorlig personskade eller død, hvis du ikke følger de anbefalede forholdsregler.

Denne betjeningsvejledning bruger to ord til at fremhæve oplysninger. Vigtigt henleder opmærksomheden på særlige mekaniske oplysninger, og Bemærk angiver generel information, som det er værd at lægge særligt mærke til.
CALIFORNIEN
Advarsel i henhold til erklæring nr. 65
Brug af dette produkt kan medføre eksponering over for kemikalier, der ifølge staten Californien er kræftfremkaldende og giver medfødte defekter eller andre forplantningsskader.
Maskinen skal have det rette dæktryk, for at riven fungerer korrekt. Kontroller, at dæktrykket er på 0,48 bar(Figur 3).
Dæktrykket skal kontrolleres, når dækkene er kolde. På den måde opnås den mest præcise måling.
Tryk: 0,48 bar

Forsendelsesbrættet skal fjernes fra maskinen, før du kan montere riven på en ny maskine.
Fjern møtrikker, bolte og spændeskiver, der fastgør forsendelsesbrættet til maskinens bagende.

Kassér fastgørelsesboltene og forsendelsesbrættet.
Dele, der skal bruges til dette trin:
| Midterste enhed | 1 |
| Højre sideenhed | 1 |
| Venstre sideenhed | 1 |
| Bolt (3/4 x 3-1/2 tomme) | 2 |
| Låsemøtrik (¾ tomme) | 2 |
| Lang afstandsbøsning | 2 |
| Kabelafskærmning | 2 |
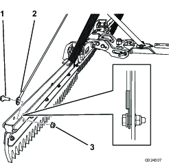
Placer enhederne, så toppladen på den midterste enhed peger fremad, og toppladen på hver sideenhed peger bagud (Figur 5).

Placer en lang afstandsbøsning i drejebeslagets hul på hver sideenheden (Figur 6).

Ret drejebeslagets hul på højre sideenhed ind efter drejebeslagets hul til højre på den midterste enhed.
Ret kabelafskærmningen ind efter drejetappens hul, og fastgør dem med en bolt (3/4 x 3-1/2 tomme) og en låsemøtrik (3/4 tomme) med et moment på 163 til 217 N·m. Se Figur 6
Note: Kontroller, at sideenheden kan dreje frit. Løsn om nødvendigt bolten og møtrikken en smule. Sørg for, at bræddeboltene ikke rører hinanden under hele bevægelsen.
Ret drejebeslagets hul på venstre sideenhed ind efter drejebeslagets hul til venstre på den midterste enhed.
Ret kabelafskærmningen ind efter drejetappens hul, og fastgør dem med en bolt (3/4 x 3-1/2 tomme) og en låsemøtrik (3/4 tomme) med et moment på 163 til 217 N·m. Se Figur 6
Note: Kontroller, at sideenheden kan dreje frit. Løsn om nødvendigt bolten og møtrikken en smule. Sørg for, at bræddeboltene ikke rører hinanden under hele bevægelsen.
Dele, der skal bruges til dette trin:
| Trækstang | 1 |
| Bolt (3/4 x 3-1/2 tomme) | 1 |
| Låsemøtrik (3/4 tomme) | 1 |
| Lang afstandsbøsning | 1 |
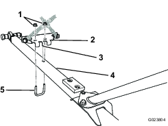
Placer en lang afstandsbøsning i hullet bagest på trækstangen (Figur 7).

Ret hullet bagest i trækstangen ind efter hullet i drejeledet.
Indsæt bolten (3/4 x 3-1/2 tomme) for at fastgøre trækstangen til drejeledet.
Monter låsemøtrikken (3/4 tomme) på bolten, og tilspænd den med et moment på 163 til 217 N·m.
Dele, der skal bruges til dette trin:
| Bomenhed | 1 |
| Bræddebolt (3/8 x 3/4 tomme) | 2 |
| Flangemøtrik (⅜") | 2 |
| Bolt (1/4 x 5/8 tomme) | 1 |
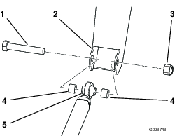
Ret hullerne i pladen nederst på bomenheden ind efter hullerne i pladen ved den bageste del af trækstangen (Figur 8).

Monter to bræddebolte (3/8 x 3/4 tomme) i hullerne, og fastgør boltene med to flangemøtrikker (3/8 tomme).
Monter bolten (1/4 x 5/8 tomme) i hullet forrest på pladerne.
Dele, der skal bruges til dette trin:
| Kabel | 2 |
| Ansatsbolt | 4 |
| Flangemøtrik (5/16") | 4 |
Ret enden af hvert kabel ind efter hullet i enden af riven (Figur 9).
Note: Du kan minimere risikoen for, at de binder, ved at sikre dig at enderne af kablerne er placeret som vist i Figur 9.

Fastgør hvert kabel med en ansatsbolt og en flangemøtrik (5/16 tomme).
Før den anden ende af hvert kabel gennem den relevante kabelunderstøtning, og ret hver af dem ind efter et hul øverst på bomenheden (Figur 10).
Note: Du kan minimere risikoen for at de binder, ved at sikre dig at enderne af kablerne er placeret som vist i Figur 10.

Fastgør det øverste af hvert kabel med en ansatsbolt og en flangemøtrik (5/16 tomme).
Note: Juster kablernes øverste placering efter behov, når de er monteret. Se Justering af løftesystemet.
Dele, der skal bruges til dette trin:
| Stopkædeenhed | 1 |
| Bøjleskrue | 1 |
| Flangemøtrik (5/16 tomme) | 2 |
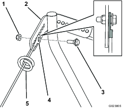
Ret den midterste tap på trækstangsbeslaget ind efter hullet midt på trækstangen (Figur 11).

Monter bøjleskruen, og fastgør den med to flangemøtrikker (5/16 tomme).

Flex-riven kræver fire vægtlodder, som følger med maskinen. Sørg altid for, at maskinen har det korrekte antal vægtlodder.
Se i tabellen nedenfor, hvor mange vægtlodder der kræves foran på maskinen:
| Redskab | Påkrævet antal vægtlodder |
|---|---|
| Flex-rive | 4 |
| Flex-rive med finish-børste | 6 |
| Trækrive | 6 |
| Trækrive med finish-trækmåtte | 8 |
Fjern de to bolte og de to møtrikker, der fastgør de eksisterende vægtlodder foran på maskinen (Figur 13).
Note: Hvis maskinen er udstyret med lygtesættet, skal du fjerne møtrikken og bolten, der fastgør forlygten til maskinen. Gem alle delene. Se monteringsvejledningen for lygtesættet.

Tilføj eller fjern det nødvendige antal vægtlodder.
Fastgør vægtlodderne med de to bolte og to møtrikker.
Note: Hvis maskinen er udstyret med lygtesættet, skal du montere forlygten ved at indsætte bolten gennem vægtlodderne og fastgøre den med møtrikken. Se monteringsvejledningen for lygtesættet.
Skub trækstangen ind under maskinens bagende.
Før kæderne ind under kablerne.
Monter en bøjle i enden af hver løftekæde.
Important: Sørg for, at kæderne ikke er snoet.
Ret hver bøjle ind efter den relevante side af redskabsløftet på maskinen (Figur 14).

Fastgør hver bøjle med en flangelåsemøtrik (5/16 tomme) og en bolt (5/16 x 2-1/2 tomme).
Note: Kontroller, at gevindene på alle bolte berører nylonindlæggene på flangemøtrikkerne, og at alle bøjlerne kan dreje frit.
Ret trækstangens ende ind efter rammetrækket (Figur 15).

Placer en afstandsbøsning på hver side af stangenden, og indsæt bolten (3/4 x 4-1/2 tomme) gennem rammetrækket, stangenden og afstandsbøsningerne.
Fastgør bolten med en låsemøtrik (3/4 tomme), og tilspænd til et moment på 163 til 217 N·m.
Fjern møtrikken og bolten, der fastgør lydpotteskjoldet til den bageste del af maskinen (Figur 16).

Ret bolthullerne i rammebeslaget ind efter bolthullerne i rammen.
Note: Kontroller, at kæderne er krydset som vist i Figur 17.

Fastgør rammebeslaget med fire bolte (5/16 x 1 tomme) og fire flangemøtrikker (5/16 tomme). Se Figur 16).
Drej riven til den ene side. Stopbolten bør røre trækstangen, når riven er 51 mm fra dækket (Figur 18).
Hvis der er en afstand på 51 mm mellem riven og dækket, er justering ikke nødvendig.

Vurder om afstanden mellem dækket og riven er for lille eller for stor.
Hvis afstanden er for lille, skal du løsne flangelåsemøtrikken.
Hvis afstanden er for stor, skal du løsne kontramøtrikken.
Note: Benyt en skruenøgle på boltens firkantede hals for at forhindre, at bolten roterer.

Når stopbolten er placeret således, at der er en afstand på 51 mm mellem riven og dækket, tilspændes den relevante møtrik.
Hvis du har løsnet flangelåsemøtrikken, skal du spænde kontramøtrikken nu.
Hvis du har løsnet kontramøtrikken, skal du spænde flangelåsemøtrikken nu.
Note: Benyt en skruenøgle på boltens firkantede hals for at forhindre, at bolten roterer.
Gentag proceduren på den anden stopbolt.
Kontroller at riven ikke rører dækkene under hele bevægelsen.
Kontroller at dæktrykket er på 0,48 bar.
Kør maskinen hen til en sandbunker – om muligt med et fladt underlag.
Drej maskinen til venstre, mens du kører med riven i sænket position, så riven er drejet helt ud.
Stop maskinen, stands motoren, aktiver parkeringsbremsen, tag nøglen ud og vent på, at alle bevægelige dele standser.
Stig af maskinen, og efterse venstre side af rivemønsteret i sandet.
Note: Riven skal rive hen over dæksporene, men ikke røre ved sandet uden for dæksporenes bane. Se Justering af løftesystemet, hvis rivemønsteret ikke er korrekt.
Gentag proceduren for rivens højre side.
Gennemfør trin 1 til 5 under Eftersyn af rivemønsteret.
Drej riven helt til den ene side.
Se på indersiden af svinget (f.eks. venstre side, hvis riven er drejet mod venstre), og vurder, om riven kommer for dybt ned i sandet og river uden for dæksporenes bane, eller om riven ikke kommer langt nok ned i sandet til at rive dæksporene væk.
Bemærk, hvilket hul den øverste ende af kablet er monteret i.
Fjern ansatsbolten og flangemøtrikken, og flyt kabelenden til det korrekte hul.
Hvis riven kommer for dybt ned i sandet og river uden for dæksporenes bane, skal du flytte den øverste ende af kablet til et hul tættere på midten af bommen.

Hvis riven ikke kommer langt nok ned i sandet til at rive dæksporene væk, skal du flytte den øverste ende af kablet til et hul længere væk fra midten af bommen.
Fastgør kablet med ansatsbolten og flangemøtrikken.
Note: Du kan minimere risikoen for, at det binder, ved at sikre dig at enden på kablet er placeret som vist i Figur 20.
Gentag proceduren på den anden side.
Du kan justere rivens hældning for at øge eller mindske mængden af materialeblanding. Hvis rivens kant er vinklet fremad (Figur 21), mod maskinen, vil riven bære mere materiale og blande materialet på et højere niveau. Hvis rivens kant er vinklet bagud (Figur 23), væk fra maskinen, vil riven bære mindre materiale og blande materialet på et lavere niveau.



Fjern de forreste møtrikker og bolte, som fastgør riveenheden til beslaget (Figur 24).

Løsn de bageste møtrikker og bolte.
Juster riven til den ønskede hældning, indtil hullerne flugter.
Note: Midterpositionen anvender de huller, som er tættest på de bageste bolte. De 2 andre positioner anvender huller, som er længere væk fra de bageste bolte.
Monter boltene i hullerne, og fastgør dem med møtrikkerne.
Stram møtrikkerne på de forreste og de bageste bolte.
Riven hæves og sænkes ved hjælp af værktøjskontakten på højre betjeningshåndtag på maskinen.
Tryk kontakten opad for at hæve riven, og tryk kontakten nedad for at sænke riven. Se maskinens betjeningsvejledning.
Hvis du kører maskinen uden et monteret redskab, kan den tippe, hvilket kan medføre person- eller tingsskade.
Kør ikke maskinen medmindre der er monteret et Toro-godkendt værktøj.
Kobl trækstangen fra rammens træk.
Kobl bøjlerne af redskabsliften.
Fjern rammebeslaget fra maskinens bagende.
Læs hele dette afsnit om rivning, før du river en sandbunker. Der er mange forhold, der afgør de nødvendige justeringer. Faktorer som sandets struktur og dybde, fugtindhold, ukrudt og kompaktering kan variere fra bane til bane og selv fra bunker til bunker på den samme bane. Foretag de nødvendige justeringer af riven for at opnå optimale resultater i dit område.
Øv dig i at rive på en stor, jævn bunker på banen. Øv dig i at starte og stoppe, dreje, hæve og sænke riven, køre ind og ud af bunkere osv. Du kan også øve dig i at ændre motorens hastighed og køre ved lav hastighed. Føreren kan via træningen lære at betjene maskinen på fortrolig vis.
Det anbefalede mønster for rivning i en bunker er vist i Figur 25. Dette mønster betyder, at unødvendige overlapninger undgås, at kompakteringen holdes nede på et minimum, og at der opnås et pænt og jævnt mønster i sandet. Dette er den mest effektive rivemetode, men det er dog vigtigt at variere rivemønsteret med jævne mellemrum for at reducere risikoen for, at der opstår en vaskebræteffekt.

Kør ind i den lange del af bunkeren, hvor skråningen er mindst stejl. Kør gennem midten af bunkeren og næsten helt ned til enden, drej så skarpt som muligt i en given retning, og kør tilbage, så du bevæger dig langs med det første spor. Foretag spiralformet kørsel udad som vist i Figur 25, og forlad bunkeren i en lige vinkel på et jævnt område.
Udbedr områder på stejle, korte skråninger og små fordybninger med en håndrive.
Når du kører ind i en bunker, må du ikke sænke riven, før den befinder sig over sandet. På den måde undgår du at rive op i plænen eller trække afklippet græs eller andet affald ned i bunkeren. Sænk riven, mens maskinen er i bevægelse.
Når du forlader bunkeren, skal du begynde at hæve riven, når forhjulet forlader bunkeren. I takt med, at maskinen bevæger sig ud af bunkeren, hæves riven og trækker ikke sand ud på græsset.
Føreren vil snart – med erfaring og øvelse – blive bekendt med den nødvendige timing for kørsel ind og ud af bunkeren.
| Problem | Possible Cause | Corrective Action |
|---|---|---|
| Der er et dråbeformet område, som ikke er blevet trimmet. |
|
|
| Den trimmede overflades udseende er uacceptabelt. |
|
|
| Riven rører ved dækkene. |
|
|
| Der er utrimmede bunker, hvor sideenhederne med rive er monteret på den midterste enhed. |
|
|
| Der er synlige dækaftryk på det trimmede område. |
|
|