Lees deze informatie zorgvuldig door, zodat u weet hoe u dit product op de juiste wijze moet gebruiken en onderhouden en om letsel en schade aan de machine te voorkomen. U bent verantwoordelijk voor het juiste en veilige gebruik van de machine.
U kunt op www.Toro.com rechtstreeks contact met Toro opnemen om informatie over producten en accessoires te verkrijgen, een verkoper te vinden of uw product te registreren.
Als u service, originele Toro onderdelen of aanvullende informatie nodig hebt, kunt u contact opnemen met een erkende servicedealer of met de klantenservice van Toro. U dient hierbij altijd het modelnummer en het serienummer van het product te vermelden. Figuur 1 geeft de plaats van het modelnummer en het serienummer van het product aan. U kunt de nummers noteren in de ruimte hieronder.

Er worden in deze handleiding een aantal mogelijke gevaren en een aantal veiligheidsberichten genoemd (Figuur 2) met de volgende veiligheidssymbolen, die duiden op een gevaarlijke situatie die zwaar lichamelijk letsel of de dood tot gevolg kan hebben wanneer de veiligheidsvoorschriften niet in acht worden genomen.

Er worden in deze handleiding twee woorden gebruikt om uw aandacht op bijzondere informatie te vestigen. Belangrijk attendeert u op bijzondere technische informatie en Opmerking duidt algemene informatie aan die bijzondere aandacht verdient.
CALIFORNIË
Proposition 65 Waarschuwing
Gebruik van dit product kan leiden tot blootstelling aan chemische stoffen waarvan de Staat Californië weet dat ze kanker, geboorteafwijkingen en andere schade aan het voortplantingssysteem veroorzaken.
Voor een juiste werking van de hark is het belangrijk dat de machine de correcte bandenspanning heeft. Zorg dat de bandenspanning 0,48 bar bedraagt(Figuur 3).
Controleer de bandenspanning als de banden koud zijn; op die manier is de meting het nauwkeurigst.
Druk: 0,48 bar

Voordat u de hark op een nieuwe machine kunt monteren, dient u de verzendingsplaat van de machine te nemen.
Verwijder de moeren, bouten en ringen waarmee de verzendingsplaat aan de achterkant van de machine is bevestigd.

Gooi het bevestigingsmateriaal en de verzendingsplaat weg.
Benodigde onderdelen voor deze stap:
| Centrale gedeelte | 1 |
| Rechtergedeelte | 1 |
| Linkergedeelte | 1 |
| Bout (3/4 x 3-1/2 inch) | 2 |
| Borgmoer (¾") | 2 |
| Lang afstandsstuk | 2 |
| Kabelbescherming | 2 |
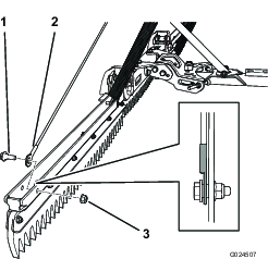
Plaats de gedeeltes zo dat de bovenplaat van het centrale gedeelte naar voren gericht is en de bovenplaat van de zijgedeelten naar achteren (Figuur 5).

Steek een lange afstandsbus in het scharnierpunt van de zijgedeelten (Figuur 6).

Lijn de scharnieropening van het rechtergedeelte uit met de scharnieropening aan de rechterkant van het middelste gedeelte.
Lijn een kabelbescherming uit over de scharnieropening en bevestig met een bout (3/4 x 3-1/2 inches) en een borgmoer (3/4 inch) die u aandraait met een torsie van 163 tot 217 N·m; zie Figuur 6.
Note: Controleer of het zijgedeelte soepel draait. Draai de bout en moer een beetje los indien nodig. Zorg dat de slotbouten elkaar op geen enkel punt in het draaibereik raken.
Lijn de scharnieropening van het linkergedeelte uit met de scharnieropening aan de linkerkant van het middelste gedeelte.
Lijn een kabelbescherming uit over de scharnieropening en bevestig met een bout (3/4 x 3-1/2 inches) en een borgmoer (3/4 inch) die u aandraait met een torsie van 163 tot 217 N·m; zie Figuur 6.
Note: Controleer of het zijgedeelte soepel draait. Draai de bout en moer een beetje los indien nodig. Zorg dat de slotbouten elkaar op geen enkel punt in het draaibereik raken.
Benodigde onderdelen voor deze stap:
| Trekstang | 1 |
| Bout (3/4 x 3-1/2 inch) | 1 |
| Borgmoer (3/4 inch) | 1 |
| Lange afstandsbus | 1 |
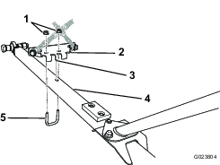
Steek een lange afstandsbus in de opening achteraan de trekstang (Figuur 7).

Lijn het gat achteraan de trekstang uit met het gat in de scharnierbeugel.
Breng de bout (3/4 x 3-1/2") aan om de trekstang te bevestigen aan de scharnierbeugel.
Monteer de borgmoer (3/4") op de bout en draai aan tot 163-217 N·m.
Benodigde onderdelen voor deze stap:
| Stang | 1 |
| Slotbout (3/8 x 3/4 inch) | 2 |
| Flensmoer (⅜") | 2 |
| Bout (¼" x ⅝") | 1 |
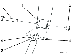
Lijn de gaten in de plaat onderaan de stang uit met de gaten in de plaat aan de achterzijde van de trekstang (Figuur 8).

Breng 2 slotbouten (3/8 x 3/4") aan in de gaten en bevestig de bouten met 2 flensmoeren (3/8").
Monteer de bout (1/4 x 5/8") in het gat aan de voorzijde van de platen.
Benodigde onderdelen voor deze stap:
| Kabel | 2 |
| Borstbout | 4 |
| Flensmoer (5/16") | 4 |
Lijn de uiteinden van de kabels uit met een gat aan het uiteinde van de hark (Figuur 9).
Note: Om de kans dat de kabels vast komen te zitten te verkleinen, monteert u de uiteinden van de kabels zoals wordt getoond in Figuur 9.

Bevestig de kabels met een borstbout en een flensmoer (5/16").
Leid het andere uiteinde van de kabels door de juiste kabelsteun en lijn uit met een gat in de bovenzijde van de stang (Figuur 10).
Note: Om de kans dat de kabels vast komen te zitten te verkleinen, monteert u de uiteinden van de kabels zoals wordt getoond in Figuur 10.

Bevestig het bovenste uiteinde van de kabels met een borstbout en een flensmoer (5/16").
Note: Pas na de montage de positie van de bovenste kabel aan als dat nodig is; zie Het hefsysteem voor bochten afstellen.
Benodigde onderdelen voor deze stap:
| Kettingstopper | 1 |
| U-bout | 1 |
| Flensmoer (5/16") | 2 |
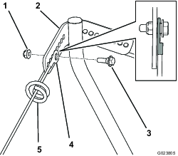
Lijn de middelste tong van de trekstangbeugel uit met de opening in het midden van de trekstang (Figuur 11).

Plaats de U-bout en bevestig deze met 2 flensmoeren van 5/16".

De hark met flexibele tanden vereist de montage van 4 gewichten die bij de machine worden geleverd. Zorg dat uw machine altijd uitgerust is met het juiste aantal gewichten.
Raadpleeg de volgende tabel om na te gaan hoeveel gewichten u vooraan de machine moet monteren:
| Werktuig | Aantal vereiste gewichten |
|---|---|
| Hark met flexibele tanden | 4 |
| Hark met flexibele tanden en egalisatieborstel | 6 |
| Sleephark | 6 |
| Sleephark met egalisatiesleepmat | 8 |
Verwijder de 2 bouten en 2 moeren waarmee de oude gewichten aan de voorkant van de machine zijn bevestigd (Figuur 13).
Note: Als de machine uitgerust is met de lichtenset, moet u de moer en de bout verwijderen waarmee het voorlicht bevestigd is aan de machine. Bewaar alle onderdelen; raadpleeg de Montage-instructies van de lichtenset.

Verwijder of monteer gewichten zoals vereist.
Zet de gewichten vast met de 2 bouten en 2 moeren.
Note: Als de machine uitgerust is met de lichtenset, dient u het voorlicht te monteren door de bout door de gewichten te steken en te bevestigen met de moer; raadpleeg de Montage-instructies voor de lichtenset.
Schuif de trekstang onder de achterkant van de machine.
Leid de kettingen onder de kabels.
Breng een schakel aan op het uiteinde van elke hefketting.
Important: Zorg ervoor dat de kettingen niet gedraaid worden.
Lijn de schakels uit aan de overeenkomende zijde van het werktuighefsysteem van de machine (Figuur 14).

Bevestig de schakels met een flensborgmoer (5/16") en een bout (5/16 x 2-1/2").
Note: Zorg dat de schroefdraad van de bouten het nylon inzetstuk van de flensborgmoer raakt, en dat de schakels vrij kunnen draaien.
Lijn het stanguiteinde van de trekstang uit met het trekpunt van het frame (Figuur 15).

Lijn een afstandsstuk uit aan beide zijden van het stanguiteinde en steek de bout (3/4 x 4-1/2") door het trekpunt van het frame, het stanguiteinde en de afstandsstukken.
Bevestig de bout met de borgmoer (3/4") aangedraaid tot 163-217 N·m.
Verwijder de moer en de bout waarmee de geluiddemper is vastgemaakt aan de achterzijde van de machine (Figuur 16).

Lijn de boutgaten in de framebeugel uit met de boutgaten in het frame.
Note: Zorg ervoor dat de kettingen gekruist lopen; zie Figuur 17.

Bevestig de framebeugel met 4 bouten (5/16 x 1 inch) en 4 flensmoeren (5/16 inch); zie Figuur 16).
Draai de hark naar 1 kant. De aanslagbout met de trekstang raken wanneer de hark 51 mm verwijderd is van de band (Figuur 18).
Als er 51 mm speling is tussen de hark en de band, is verder afstellen niet nodig.

Ga na of er te weinig of te veel speling is tussen de band en de hark.
Als er te weinig speling is, moet u de flensborgmoer losdraaien.
Als er te veel speling is, zet u de contramoer los.
Note: Zet een sleutel op het vierkant van de bout om te voorkomen dat deze draait.

Als de aanslagbout op haar plaats zit met 51 mm speling tussen de hark en de band, zet u de overeenkomende moer vast.
Als u de flensborgmoer losgedraaid hebt, zet u de contramoer nu vast.
Als u de contramoer losgedraaid hebt, zet u de flensborgmoer nu vast.
Note: Zet een sleutel op het vierkant van de bout om te voorkomen dat deze draait.
Doe hetzelfde met de andere aanslagbout.
Zorg dat de hark de banden op geen enkel punt in het draaibereik raakt.
Zorg dat de bandenspanning 0,48 bar bedraagt.
Rij de machine naar een bunker – bij voorkeur een met een vlakke bodem.
Draai de machine tijdens het rijden met neergelaten hark naar links. De hark moet volledig aan het einde van het scharnierbereik zijn.
Schakel de machine uit, stop de motor, stel de parkeerrem in werking, verwijder de contactsleutel en wacht tot alle bewegende delen stilstaan.
Stap van de machine en inspecteer de linkerkant van het harkspoor in het zand.
Note: De hark moet over de bandensporen gaan, maar mag het zand buiten de bandensporen niet raken. Als de hark niet correct spoort, raadpleeg dan Het hefsysteem voor bochten afstellen.
Doe hetzelfde aan de rechterkant van de hark.
Voer stap1 tot5 van Het harkpatroon controleren uit.
Draai de hark volledig naar 1 kant.
Ga in de binnenbocht na (bijvoorbeeld de linkerkant als de hark naar links is gedraaid) of de hark te veel contact maakt met het zand en buiten de bandensporen harkt, of net te weinig contact maakt met het zand en niet over de bandensporen harkt.
Controleer in welk gat het bovenste uiteinde van de kabel is bevestigd.
Verwijder de borstbout en de flensmoer, en bevestig het uiteinde van de kabel aan de juiste opening.
Als de hark te veel contact maakt met het zand en buiten de bandensporen harkt, bevestigt u het bovenste uiteinde van de kabel in een gat dichter bij het midden van de stang.

Als de hark niet genoeg contact maakt met het zand om over de bandensporen te harken, bevestigt u het bovenste uiteinde van de kabel in een gat verder weg van het midden van de stang.
Zet de kabel vast met de borstbout en de flensmoer.
Note: Om de kans dat de kabels vast komen te zitten te verkleinen, monteert u het uiteinde van de kabel zoals wordt getoond in Figuur 20.
Herhaal de stappen voor de andere kant.
U kunt de schuinte van de hark instellen om meer of net minder materiaal te bewegen. Stel de hoek van de hark naar voren in (Figuur 21), in de richting van de machine, om meer materiaal te verplaatsen en dieper in te werken. Stel de hoek van de hark naar achteren in (Figuur 23), weg van de machine, om minder materiaal te verplaatsen en minder diep in te werken.



Verwijder de voorste moeren en bouten waarmee de hark aan de beugel is bevestigd (Figuur 24).

Draai de achterste moeren en bouten los.
Stel schuinstand van de hark af tot de gewenste gaten uitgelijnd zijn.
Note: De middelste stand vereist de gaten dichter bij de achterste bouten. De andere 2 standen vereisen gaten verder van de achterste bouten.
Breng de bouten aan in de openingen en bevestig met de moeren.
Draai de moeren van de voorste en achterste bouten vast.
U kunt de hark omhoog en omlaag brengen met de werktuigschakelaar op de rechterbedieningshendel van de machine.
Druk de schakelaar naar boven om de hark omhoog te brengen, en druk de schakelaar naar beneden om de hark te laten zakken; raadpleeg de Gebruikershandleiding van de machine.
Als u de machine verplaatst zonder werktuig, kan ze kantelen en materiële schade of fysiek letsel veroorzaken.
Rij niet met de machine zonder een door Toro goedgekeurd werktuig.
Maak de trekstang los van het trekpunt van het frame.
Maak de schakels los van het hefsysteem van het werktuig.
Verwijder de framebeugel van de achterzijde van de machine.
Neem dit hoofdstuk over harken helemaal door voordat u een bunker gaat harken. Er zijn een groot aantal omstandigheden die de benodigde afstelling bepalen. De structuur en de diepte van het zand, het vochtgehalte, onkruid en de mate van compactie zijn allemaal factoren die per golfbaan kunnen verschillen, of zelfs per bunker op dezelfde golfbaan. Stel de hark af om optimale resultaten voor een specifieke bunker te behalen.
Oefen u in het gebruik van de hark in een grote, vlakke bunker op de golfbaan. Oefen u in het starten en stoppen, draaien, omhoog brengen en neerlaten van de hark, het in- en uitrijden van de bunker, enz. Doe dit bij een matig motortoerental en een lage rijsnelheid. Deze training helpt de bestuurder vertrouwd te raken met de bediening van de machine.
Het aanbevolen harkpatroon voor een bunker wordt getoond in Figuur 25. Deze werkwijze voorkomt onnodige overlapping, beperkt de compactie tot een minimum en zorgt voor een verzorgd en aantrekkelijk patroon op het zand. Dit is de meest efficiënte methode om te harken. Het is echter van belang het harkpatroon regelmatig aan te passen om de kans op een wasbordeffect te verkleinen.

Rij de bunker in met een rechte lijn in de lengterichting, op de plaats waar de helling het minst steil is. Rij door het midden van de bunker totdat u bijna het einde ervan hebt bereikt, maak een zo scherp mogelijke bocht in een van beide richtingen en rij in een rechte lijn terug naast de eerste baan. Werk in een spiraal naar buiten zoals wordt getoond in Figuur 25 en verlaat de bunker in een rechte hoek op een vlak stuk.
Sla steile, korte taluds en kleine holle stukken over en werk die naderhand bij met een handhark.
Als u de bunker inrijdt, mag u de hark pas neerlaten als deze zich boven het zand bevindt. Hiermee voorkomt u dat het gras wordt beschadigd of maaisel of andere rommel wordt meegesleept in de bunker. Laat de hark neer terwijl de machine in beweging is.
Als u de bunker uitrijdt, moet u beginnen met de hark omhoog te brengen zodra het voorwiel de bunker verlaat. Als de machine dan de bunker uitrijdt, wordt de hark omhoog gebracht zonder dat deze zand naar het gras meesleept.
De bestuurder zal door ervaring en oefening snel leren om de bunker met een correcte timing in en uit te rijden.
| Problem | Possible Cause | Corrective Action |
|---|---|---|
| Er blijft een druppelvormige oppervlakte onbewerkt. |
|
|
| Het groomresultaat is onaanvaardbaar. |
|
|
| De hark komt tegen de banden. |
|
|
| Er vormen zich onbehandelde stapels aan het scharnierpunt tussen de zijgedeelten van de hark en het middelste gedeelte. |
|
|
| Er zijn bandensporen in het behandelde gebied. |
|
|